Unveiling the Drivers of Global Logistics Efficiency: Insights from Cross-Country Analysis
Abstract
1. Introduction
2. Background and Literature Review
3. Research Methodology
3.1. The BCC Model
3.2. Malmquist Index
3.3. Measurement of the Input and Output Variables
3.4. Data and Sample
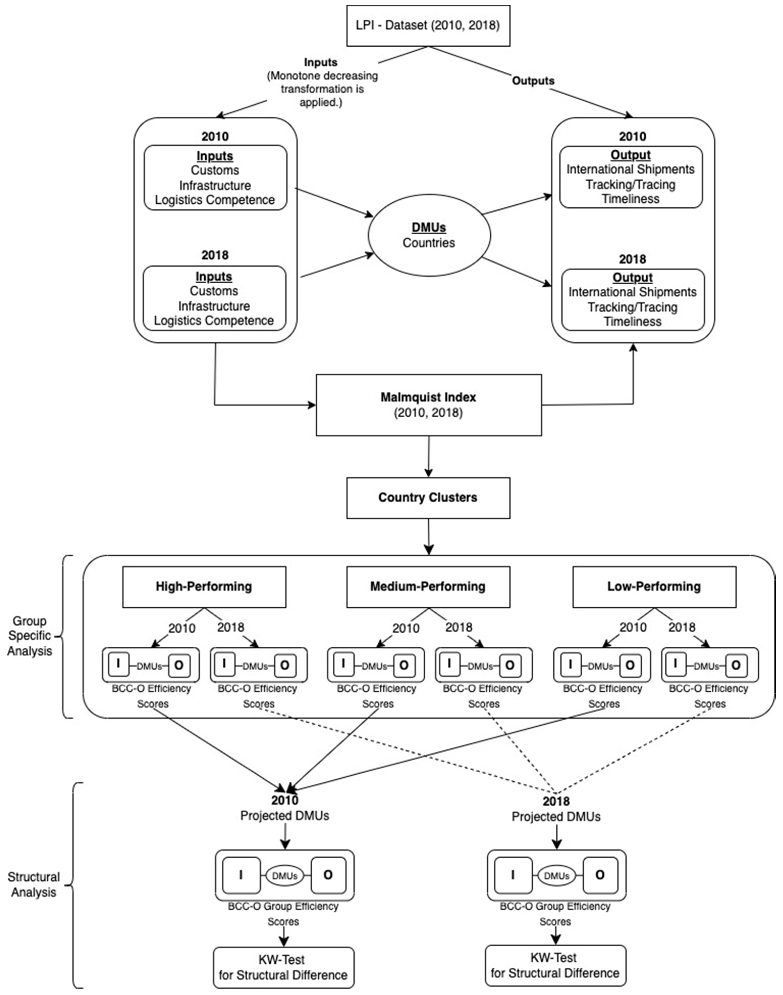
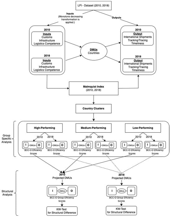
3.5. Research Framework
4. Analysis and Results
4.1. Country Clusters
4.2. Descriptive Analysis
4.3. Malmquist Index
4.4. Efficiency Scores of Logistics Performance Groups and Group-Specific Issues
4.5. Logistics Performance versus Efficiency
4.6. Structural Differences between Logistics Groups: Drivers of Logistics Performance
5. Conclusions
- Managerial Implications:
- Limitations and future studies:
Author Contributions
Funding
Institutional Review Board Statement
Informed Consent Statement
Data Availability Statement
Conflicts of Interest
References
- Rashidi, K.; Cullinane, K. Evaluating the sustainability of national logistics performance using Data Envelopment Analysis. Transp. Policy 2019, 74, 35–46. [Google Scholar] [CrossRef]
- Larson, P.D. Relationships between Logistics Performance and Aspects of Sustainability: A Cross-Country Analysis. Sustainability 2021, 13, 623. [Google Scholar] [CrossRef]
- De Souza, R.; Goh, M.; Gupta, S.; Lei, L. An Investigation into the Measures Affecting the Integration of ASEAN’s Priority Sectors (Phase 2): The Case of Logistics; REPSF Project No. 06/001d; ASEAN: Jakarta, Indonesia, 2007. [Google Scholar]
- Christopher, M. Logistics and supply chain management: Strategies for reducing cost and improving service (second edition). Int. J. Logist. Res. Appl. 1999, 2, 103–104. [Google Scholar] [CrossRef]
- International LPI. 2018. Available online: https://lpi.worldbank.org/international (accessed on 17 February 2023).
- Arvis, J.-F.; Mustra, M.; Panzer, J. Connecting to Compete: Trade Logistics in the Global Economy. World Bank. 2016. Available online: http://lpi.worldbank.org/international/global (accessed on 10 November 2022).
- Martí, L.; Puertas, R.; García, L. The importance of the Logistics Performance Index in international trade. Appl. Econ. 2014, 46, 2982–2992. [Google Scholar] [CrossRef]
- Mouzas, S. Efficiency versus effectiveness in business networks. J. Bus. Res. 2006, 59, 1124–1132. [Google Scholar] [CrossRef]
- Uca, N.; Civelek, M.E.; Çemberci, M. The effect of the components of logistics performance index on gross domestic product: Conceptual model proposal. Eurasian Bus. Econ. J. 2015, 1, 86–93. [Google Scholar] [CrossRef]
- Güngör, Ş.; Dursun, E.; Karaoğlan, A. Lojistik Faaliyetlerin Akdeniz Ülke Ekonomileri ile İlişkisi. J. Econ. Policy Res. 2019, 6, 91–106. [Google Scholar]
- Widiyanto, P.; Endri, E.; Sakti, R.F.J.; Setiawan, E.B.; Manfaluthy, M.; Suryaningsih, L.; Suryaningsih, P.; Ricardianto, K.; Kamar, K.; Limakrisna, N. The relationship between service quality, timeliness of arrival, departure flip ship logistics and people and customer satisfaction: A case in Indonesia. Acad. Entrep. J. 2021, 27, 1–10. [Google Scholar]
- Uvet, H. Importance of logistics service quality in customer satisfaction: An empirical study. Oper. Supply Chain Manag. Int. J. 2020, 13, 1–10. [Google Scholar] [CrossRef]
- Ho, J.S.Y.; Teik, D.O.L.; Tiffany, F.; Kok, L.F.; Teh, T.Y. Logistic service quality among courier services in Malaysia. Int. J. Trade Econ. Financ. 2012, 3, 113–117. [Google Scholar]
- Shamsuzzoha, A.H.M.; Helo, P.T. Real-time tracking and tracing system: Potentials for the logistics network. In Proceedings of the 2011 International Conference on Industrial Engineering and Operations Management, Kuala Lumpur, Malaysia, 22–24 January 2011. [Google Scholar]
- Shamsuzzoha, A.; Ehrs, M.; Tenkorang, R.A.; Nguyen, D.; Helo, P.T.P. Performance evaluation of tracking and tracing for logistics operations. Int. J. Shipp. Transp. Logist. 2013, 5, 31–54. [Google Scholar] [CrossRef]
- D’aleo, V.; Sergi, B.S. Does logistics influence economic growth? The European experience. Manag. Decis. 2017, 55, 1613–1628. [Google Scholar] [CrossRef]
- Mesjasz-Lech, A. Logistics performance of European Union markets: Towards the development of entrepreneurship in the transport and storage sector. Glob. J. Environ. Sci. Manag. 2019, 5, 122–130. [Google Scholar] [CrossRef]
- Liu, J.; Yuan, C.; Hafeez, M.; Yuan, Q. The relationship between environment and logistics performance: Evidence from Asian countries. J. Clean. Prod. 2018, 204, 282–291. [Google Scholar] [CrossRef]
- Millán, P.C.; Agüeros, M.; Hontañón, P.C.; Pesquera, M. Impact of logistics performance on world economic growth (2007–2012). World Rev. Intermodal Transp. Res. 2013, 4, 300–310. [Google Scholar] [CrossRef]
- Luttermann, S.; Kotzab, H.; Halaszovich, T. The impact of logistics performance on exports, imports and foreign direct investment. World Rev. Intermodal Transp. Res. 2020, 9, 27–46. [Google Scholar] [CrossRef]
- Martí, L.; Martín, J.C.; Puertas, R. A Dea-Logistics Performance Index. J. Appl. Econ. 2017, 20, 169–192. [Google Scholar] [CrossRef]
- Kabak, Ö.; Ülengin, F.; Önsel Ekici, Ş. Improving logistics performance by reforming the pillars of Global Competitiveness Index. Transp. Policy 2019, 81, 197–207. [Google Scholar] [CrossRef]
- Min, H.; Kim, I. Measuring supply chain efficiency from a green perspective. Manag. Res. Rev. 2011, 34, 1169–1189. [Google Scholar]
- Yu, M.-M.; Hsiao, B. Measuring the technology gap and logistics performance of individual countries by using a meta-DEA–AR model. Marit. Policy Manag. 2016, 43, 98–120. [Google Scholar] [CrossRef]
- Ekici, Ş.Ö.; Kabak, Ö.; Ülengin, F. Linking to compete: Logistics and global competitiveness interaction. Transp. Policy 2016, 48, 117–128. [Google Scholar] [CrossRef]
- Lu, M.; Xie, R.; Chen, P.; Zou, Y.; Tang, J. Green transportation and logistics performance: An improved composite index. Sustainability 2019, 11, 2976. [Google Scholar] [CrossRef]
- Kabak, Ö.; Ekici, Ş.Ö.; Ülengin, F. Analyzing two-way interaction between the competitiveness and logistics performance of countries. Transp. Policy 2020, 98, 238–246. [Google Scholar] [CrossRef]
- Stojanović, Đ.; Ivetić, J. Possibilities of using Incoterms clauses in a country logistics performance assessment and benchmarking. Transp. Policy 2020, 98, 217–228. [Google Scholar] [CrossRef]
- Göçer, A.; Özpeynirci, Ö.; Semiz, M. Logistics performance index-driven policy development: An application to Turkey. Transp. Policy 2022, 124, 20–32. [Google Scholar] [CrossRef]
- Cho, H.; Lee, J. Does transportation size matter for competitiveness in the logistics industry? The cases of maritime and air transportation. Asian J. Shipp. Logist. 2020, 36, 214–223. [Google Scholar] [CrossRef]
- Cui, Q.; Li, Y. Airline efficiency measures under CNG2020 strategy: An application of a Dynamic by-production model. Transp. Res. Part A Policy Pract. 2017, 106, 130–143. [Google Scholar] [CrossRef]
- Kotegawa, T.; Fry, D.; DeLaurentis, D.; Puchaty, E. Impact of service network topology on air transportation efficiency. Transp. Res. Part C Emerg. Technol. 2014, 40, 231–250. [Google Scholar] [CrossRef]
- Oum, T.H.; Fu, X.; Yu, C. New evidences on airline efficiency and yields: A comparative analysis of major North American air carriers and its implications. Transp. Policy 2005, 12, 153–164. [Google Scholar] [CrossRef]
- Kumar, A.; Anbanandam, R. Assessment of environmental and social sustainability performance of the freight transportation industry: An index-based approach. Transp. Policy 2022, 124, 43–60. [Google Scholar] [CrossRef]
- Cedillo-Campos, M.G.; Pérez-González, C.M.; Piña-Barcena, J.; Moreno-Quintero, E. Measurement of travel time reliability of road transportation using GPS data: A freight fluidity approach. Transp. Res. Part A Policy Pract. 2019, 130, 240–288. [Google Scholar] [CrossRef]
- Qu, W.; Rezaei, J.; Maknoon, Y.; Tavasszy, L. Hinterland freight transportation replanning model under the framework of synchromodality. Transp. Res. Part E Logist. Transp. Rev. 2019, 131, 308–328. [Google Scholar] [CrossRef]
- Rødseth, K.L. Productivity growth in urban freight transport: An index number approach. Transp. Policy 2017, 56, 86–95. [Google Scholar] [CrossRef]
- Smith, A.S.J.; Nash, C. Rail Efficiency: Cost Research and Its Implications for Policy; International Transport Forum Discussion Paper; International Transport Forum: Paris, France, 2014. [Google Scholar]
- Mandic, D.; Jovanovic, P.; Bugarinovic, M. Two-phase model for multi-criteria project ranking: Serbian Railways case study. Transp. Policy 2014, 36, 88–104. [Google Scholar] [CrossRef]
- Yan, B.; Zhu, X.; Lee, D.-H.; Jin, J.G.; Wang, L. Transshipment operations optimization of sea-rail intermodal container in seaport rail terminals. Comput. Ind. Eng. 2020, 141, 106296. [Google Scholar] [CrossRef]
- Heinold, A.; Meisel, F. Emission rates of intermodal rail/road and road-only transportation in Europe: A comprehensive simulation study. Transp. Res. Part D Transp. Environ. 2018, 65, 421–437. [Google Scholar] [CrossRef]
- Lai, Y.-C.; Barkan, C.P.; Önal, H. Optimizing the aerodynamic efficiency of intermodal freight trains. Transp. Res. Part E Logist. Transp. Rev. 2008, 44, 820–834. [Google Scholar] [CrossRef]
- Charnes, A.; Cooper, W.W.; Rhodes, E. Measuring the efficiency of decision making units. Eur. J. Oper. Res. 1978, 2, 429–444. [Google Scholar] [CrossRef]
- Apaydin, M.; Bayraktar, E.; Hossary, M. Achieving economic and social sustainability through hyperconnectivity: A cross-country comparison. Benchmarking Int. J. 2018, 25, 3607–3627. [Google Scholar] [CrossRef]
- Bayraktar, E.; Tatoglu, E.; Aydiner, A.S.; Delen, D. Business Analytics Adoption and Technological Intensity: An Efficiency Analysis. Inf. Syst. Front. 2023. [Google Scholar] [CrossRef]
- Banker, R.D.; Charnes, A.; Cooper, W.W. Some models for estimating technical and scale inefficiencies in data envelopment analysis. Manag. Sci. 1984, 30, 1078–1092. [Google Scholar] [CrossRef]
- Färe, R.; Grosskopf, S.; Norris, M.; Zhang, Z. Productivity growth, technical progress, and efficiency change in industrialized countries. Am. Econ. Rev. 1994, 84, 66–83. [Google Scholar]
- Tone, K. Malmquist productivity index. In Handbook on Data Envelopment Analysis; Springer: Berlin/Heidelberg, Germany, 2004; pp. 203–227. [Google Scholar]
- Tone, K. A slacks-based measure of super-efficiency in data envelopment analysis. Eur. J. Oper. Res. 2002, 143, 32–41. [Google Scholar] [CrossRef]
- Zhu, J. Data Envelopment Analysis with Preference Structure. J. Oper. Res. Soc. 1996, 47, 136–150. [Google Scholar] [CrossRef]
- Chen, Y. A non-radial Malmquist productivity index with an illustrative application to Chinese major industries. Int. J. Prod. Econ. 2003, 83, 27–35. [Google Scholar] [CrossRef]
- Beysenbaev, R.; Dus, Y. Proposals for improving the Logistics Performance Index. Asian J. Shipp. Logist. 2019, 36, 34–42. [Google Scholar] [CrossRef]
- Arvis, J.F.; Ojala, L.; Wiederer, C.; Shepherd, B.; Raj, A.; Dairabayeva, K.; Kiiski, T. Connecting to Compete 2018: Trade Logistics in the Global Economy; World Bank: Washington, DC, USA, 2018. [Google Scholar]
- Everitt, B.S.; Landau, S.; Leese, M. Cluster Analysis, 4th ed.; Hodder Arnold (A member of the Hodder Headline Group): London, UK, 2001; pp. 429–438. [Google Scholar]
- Tan, P.N.; Steinbach, M.; Kumar, V. Introduction to Data Mining; Pearson Education India: Noida, Uttar Pradesh, 2016; ISBN 9332586055. [Google Scholar]
- Tukey, J.W. Exploratory Data Analysis, 1st ed.; Pearson: Reading, MA, USA, 1977. [Google Scholar]
- Cooper, W.W.; Seiford, L.M.; Tone, K. Data Envelopment Analysis—A Comprehensive Text with Models, Applications, References and DEA-SoiverSofhuare; Springer: New York, NY, USA, 2000. [Google Scholar]
- Brockett, P.L.; Golany, B. Using rank statistics for determining programmatic efficiency differences in data envelopment analysis. Manag. Sci. 1996, 42, 466–472. [Google Scholar] [CrossRef]
- Sueyoshi, T.; Aoki, S. A use of a nonparametric statistic for DEA frontier shift: The Kruskal and Wallis rank test. Omega 2001, 29, 1–18. [Google Scholar] [CrossRef]

| Study | Scope | Used Data | Methodology | Outcomes |
|---|---|---|---|---|
| Min and Kim (2011) [23] | All countries | LPI + EPI | DEA | Develop a new composite logistics and sustainability index |
| Millán et al. (2013) [19] | All countries | LPI | Production function | Global economic growth impacts LPI |
| Martí et al. (2014) [7] | Developing countries | LPI + UN ComTrade | Gravity model | LPI is critical for international trade in African, South American, and Eastern European countries |
| Yu and Hsiao (2016) [24] | All countries | LPI | Meta-DEA–AR | Suggestions to improve the countries’ logistics performances |
| Önsel Ekici et al. (2016) [25] | Turkey | LPI + GCI | ANN + CBDs | The fixed broadband internet infrastructure is the most crucial factor in Turkey’s logistics performance |
| Martí et al. (2017) [21] | All countries | LPI + income and geographical area | DEA | The EU countries perform the best |
| D’Aleo and Sergi (2017) [16] | European countries | LPI + GCI | Linear regressions + panel analysis | LPI mediates the relationship between GCI and GDP |
| Liu et al. (2018) [18] | Asian countries | LPI + World Development Indicators | GMM | LPI impacts CO2 emissions |
| Lu et al. (2019) [26] | All countries | LPI | Panel analysis | Develop a new environmental LPI (ELPI) |
| Önsel Ekici et al. (2019) [22] | All countries | LPI + GCI | BN-TAN + PLS + IPMA | Digitalization and supply chain analytics improve LPI |
| Rashidi and Cullinane (2019) [1] | OECD countries | LPI | DEA | A new SOLP approach for a country’s logistics performance |
| Mesjasz-Lech (2019) [17] | European Union | LPI + entrepreneurship rate | Correlation analysis | The link between LPI and entrepreneurial activities is significant |
| Kabak et al. (2020) [27] | All countries | LPI + GCI | BN +PLS + IPMA | GCI components improve a country’s logistics performance |
| Stojanović and Ivetić (2020) [28] | Serbia | LPI + GCI + IS | Correlation + Gravity model | LPI impacts the national IS |
| Göçer et al. (2022) [29] | Turkey | LPI + various sources | Linear programming + regression analysis | Optimal logistics strategy selection |
| 2010 | 2018 | |||||||||||||||||
|---|---|---|---|---|---|---|---|---|---|---|---|---|---|---|---|---|---|---|
| All | High Performing | Medium Performing | Low Performing | F-Test * | All | High Performing | Medium Performing | Low Performing | F-Test * | |||||||||
| Mean | SD | Mean | SD | Mean | SD | Mean | SD | Mean | SD | Mean | SD | Mean | SD | Mean | SD | |||
| Logistics performance index | 2.87 | 0.57 | 3.87 | 0.15 | 2.91 | 0.27 | 2.31 | 0.22 | 380.47 | 2.87 | 0.57 | 3.87 | 0.17 | 2.88 | 0.37 | 2.43 | 0.24 | 174.28 |
| Inputs | ||||||||||||||||||
| Customs | 2.59 | 0.61 | 3.70 | 0.21 | 2.59 | 0.35 | 2.07 | 0.17 | 279.07 | 2.67 | 0.58 | 3.71 | 0.20 | 2.66 | 0.36 | 2.25 | 0.29 | 171.30 |
| Infrastructure | 2.64 | 0.73 | 3.95 | 0.23 | 2.65 | 0.40 | 2.00 | 0.23 | 287.09 | 2.72 | 0.67 | 3.95 | 0.23 | 2.71 | 0.42 | 2.23 | 0.28 | 190.00 |
| Quality of logistics services | 2.76 | 0.63 | 3.88 | 0.22 | 2.78 | 0.35 | 2.20 | 0.21 | 273.35 | 2.82 | 0.61 | 3.90 | 0.19 | 2.81 | 0.41 | 2.36 | 0.27 | 165.59 |
| Outputs | ||||||||||||||||||
| International shipments | 2.85 | 0.47 | 3.51 | 0.22 | 2.92 | 0.30 | 2.44 | 0.24 | 133.84 | 2.83 | 0.51 | 3.60 | 0.20 | 2.86 | 0.41 | 2.48 | 0.34 | 76.70 |
| Tracking and tracing | 2.92 | 0.65 | 4.01 | 0.17 | 2.95 | 0.38 | 2.37 | 0.28 | 214.13 | 2.90 | 0.61 | 3.96 | 0.18 | 2.92 | 0.40 | 2.43 | 0.33 | 152.83 |
| Timeliness | 3.41 | 0.57 | 4.24 | 0.18 | 3.49 | 0.35 | 2.92 | 0.34 | 139.82 | 3.24 | 0.57 | 4.15 | 0.20 | 3.28 | 0.42 | 2.83 | 0.28 | 112.09 |
| Total number of countries | 146 | 25 | 77 | 44 | 146 | 25 | 77 | 44 | ||||||||||
| Logistic Performance | Catch-Up Effect (2010–2018) | Frontier-Shift Effect (2010–2018) | Malmquist Index (2010–2018) | ||||||
|---|---|---|---|---|---|---|---|---|---|
| Mean | SD | KW | Mean | SD | KW | Mean | SD | KW | |
| High | 0.904 | 0.165 | 5.347 * | 1.114 | 0.029 | 30.176 ** | 1.009 | 0.193 | 4.450 |
| Medium | 0.896 | 0.187 | 1.091 | 0.021 | 0.979 | 0.207 | |||
| Low | 0.979 | 0.190 | 1.080 | 0.013 | 1.057 | 0.208 | |||
| Overall | 0.923 | 0.187 | 1.092 | 0.024 | 1.008 | 0.207 | |||
| Pairwise Comparison | Catch-Up Effect (2010–2018) | Frontier-Shift Effect (2010–2018) | ||
|---|---|---|---|---|
| Mean Rank Difference | KW | Mean Rank Difference | KW | |
| Low-Medium | 18.370 | 2.299 * | 23.933 | 2.995 ** |
| Low-High | 14.031 | 1.325 | 58.017 | 5.478 ** |
| Medium-High | 4.339 | 0.446 | 34.083 | 3.501 ** |
| 2010 | 2018 | |||||
|---|---|---|---|---|---|---|
| High Performing | Medium Performing | Low Performing | High Performing | Medium Performing | Low Performing | |
| Input deficits | ||||||
| Customs | 0.201 * | 0.698 ** | 0.034 ** | 0.343 ** | 0.530 ** | 0.526 ** |
| Infrastructure | 0.143 ** | 0.597 ** | 0.104 ** | 0.370 ** | 0.555 ** | 0.647 ** |
| Quality of logistics services | 0.307 ** | 0.485 ** | 0.121 ** | 0.360 ** | 0.875 ** | 0.852 ** |
| Output deficits | ||||||
| International shipments | 0.370 ** | 0.777 ** | 0.398 ** | 0.410 ** | 1.420 ** | 1.051 ** |
| Tracking and tracing | 0.304 ** | 0.920 ** | 0.562 ** | 0.442 ** | 1.280 ** | 0.994 ** |
| Timeliness | 0.238 ** | 1.004 ** | 0.242 ** | 0.421 ** | 1.390 ** | 0.756 ** |
| Group Efficiencies (Mean, SD) | 0.970 (0.030) | 0.888 (0.072) | 0.936 (0.065) | 0.953 (0.042) | 0.818 (0.100) | 0.867 (0.083) |
| No. of Efficient Countries | 6 | 9 | 13 | 5 | 5 | 2 |
| No. of Inefficient Countries | 19 | 68 | 31 | 20 | 72 | 42 |
| Return to Scale (RTS) | ||||||
| Increasing (IRTS) | 21 | 76 | 40 | 24 | 72 | 37 |
| Constant (CRTS) | 4 | 1 | 2 | 1 | 1 | 2 |
| Decreasing (DRTS) | 0 | 0 | 2 | 0 | 4 | 5 |
| LPI Scores | Efficiency Scores | |||||||
|---|---|---|---|---|---|---|---|---|
| 2010 | 2018 | 2010 | 2018 | |||||
| Best 5 | Worst 5 | Best 5 | Worst 5 | Efficient | Worst 5 | Efficient | Worst 5 | |
| High Performing | Germany | Spain | Germany | Ireland | Germany | Spain | Germany | Ireland |
| Singapore | UAE | Sweden | Taiwan | Singapore | UAE | Sweden | Luxembourg | |
| Sweden | Korea | Belgium | Korea | Sweden | Korea | Belgium | Taiwan | |
| Netherlands | Italy | Austria | Luxembourg | Netherlands | Italy | Finland | Korea/Rep | |
| Luxembourg | New Zealand | Japan | Norway | Luxembourg | New Zealand | Denmark | Canada | |
| Switzerland | ||||||||
| Medium Performing | Czech Republic | Moldova | Czech R. | Haiti | Czech R. | Iran | Czech R. | Yemen |
| China | Iran | Portugal | Guinea | China | Congo D. R. | China | Haiti | |
| South Africa | Ukraine | China | Venezuela | South Africa | Egypt | Portugal | Senegal | |
| Malaysia | Yemen | Poland | Senegal | Malaysia | Yemen | Hungary | Venezuela | |
| Poland | Nigeria | Qatar | Yemen | Poland | Guatemala | Slovenia | Syrian Arab R. | |
| Israel | ||||||||
| Lebanon | ||||||||
| Portugal | ||||||||
| Oman | ||||||||
| Low Performing | Cameroon | Sierra Leone | Côte d’Ivoire | Afghanistan | Cameroon | Iraq | Côte d’Ivoire | Afghanistan |
| Niger | Rwanda | Rwanda | Angola | Niger | Cuba | Rwanda | Niger | |
| Jamaica | Cuba | Montenegro | Niger | Jamaica | Sierra Leone | Sierra Leone | ||
| Côte d’Ivoire | Guinea-Bissau | Lao PDR | Sierra Leone | Côte d’Ivoire | Nepal | Cuba | ||
| Pakistan | Iraq | Maldives | Libya | Pakistan | Sudan | Papua New Guinea | ||
| Armenia | ||||||||
| Bolivia | ||||||||
| Gambia | ||||||||
| Turkmenistan | ||||||||
| Chad | ||||||||
| Congo R. | ||||||||
| Ghana | ||||||||
| Montenegro | ||||||||
| Logistics Performance Groups | 2010 | 2018 | ||
|---|---|---|---|---|
| Pure Technical Efficiency (BCC) | Pure Technical Efficiency (BCC) | |||
| Mean | SD | Mean | SD | |
| High | 0.949 | 0.050 | 0.879 | 0.070 |
| Medium | 0.845 | 0.089 | 0.801 | 0.097 |
| Low | 0.629 | 0.080 | 0.629 | 0.068 |
| Kruskal–Wallis Test | 94.539 * | 79.174 * | ||
| Pairwise Comparison | 2010 | 2018 | ||
|---|---|---|---|---|
| Mean Rank Difference | KW | Mean Rank Difference | KW | |
| Low-Medium | 59.544 | 7.451 ** | 57.974 | 7.254 ** |
| Low-High | 95.930 | 9.057 ** | 84.771 | 8.003 ** |
| Medium-High | 36.386 | 3.738 ** | 26.797 | 2.753 * |
| 2010 | 2018 | |||||||||
|---|---|---|---|---|---|---|---|---|---|---|
| All | High Performing | Medium Performing | Low Performing | F-Test | All | High Performing | Medium Performing | Low Performing | F-Test | |
| Input shortages | ||||||||||
| Customs | 0.378 *** | 0.000 | 0.032 *** | 1.199 *** | 2537 *** | 0.124 *** | 0.006 | 0.006 | 0.398 *** | 2398 *** |
| Infrastructure | 0.352 *** | 0.000 | 0.018 * | 1.138 *** | 1942 *** | 0.117 *** | 0.015 * | 0.007 | 0.367 *** | 1446 *** |
| Quality of logistics services | 0.298 *** | 0.000 | 0.022 | 0.950 *** | 1196 *** | 0.173 *** | 0.029 * | 0.035 ** | 0.498 *** | 288 *** |
| Output shortages | ||||||||||
| International shipments | 0.084 *** | 0.015 | 0.084 *** | 0.123 *** | 2.44 * | 0.097 *** | 0.084 ** | 0.119 *** | 0.067 *** | 2.54 * |
| Tracking and tracing | 0.114 *** | 0.005 | 0.083 *** | 0.232 *** | 7.47 *** | 0.064 *** | 0.031 | 0.057 *** | 0.094 *** | 1.99 |
| Timeliness | 0.347 *** | 0.001 | 0.241 *** | 0.727 *** | 81.24 *** | 0.173 *** | 0.027 | 0.069 *** | 0.437 *** | 178 *** |
| 2010 | 2018 | |||||
|---|---|---|---|---|---|---|
| Low-Medium ξ | Low-High ξ | Medium-High ξ | Low-Medium ξ | Low-High ξ | Medium-High ξ | |
| Input shortages | ||||||
| Customs | 1.167 *** | 1.199 *** | 0.032 *** | 0.391 *** | 0.391 *** | 0.000 |
| Infrastructure | 1.121 *** | 1.138 *** | 0.018 * | 0.360 *** | 0.352 *** | −0.008 |
| Quality of logistics services | 0.929 *** | 0.950 *** | 0.022 | 0.463 *** | 0.468 *** | 0.005 |
| Output shortages | ||||||
| Tracking and tracing | 0.149 ** | 0.231 *** | 0.082 *** | |||
| Timeliness | 0.487 *** | 0.723 *** | 0.236 *** | 0.368 *** | 0.410 *** | 0.042 * |
Disclaimer/Publisher’s Note: The statements, opinions and data contained in all publications are solely those of the individual author(s) and contributor(s) and not of MDPI and/or the editor(s). MDPI and/or the editor(s) disclaim responsibility for any injury to people or property resulting from any ideas, methods, instructions or products referred to in the content. |
© 2024 by the authors. Licensee MDPI, Basel, Switzerland. This article is an open access article distributed under the terms and conditions of the Creative Commons Attribution (CC BY) license (https://creativecommons.org/licenses/by/4.0/).
Share and Cite
Bayraktar, E.; Eryarsoy, E.; Kosanoglu, F.; Acar, M.F.; Zaim, S. Unveiling the Drivers of Global Logistics Efficiency: Insights from Cross-Country Analysis. Sustainability 2024, 16, 2683. https://doi.org/10.3390/su16072683
Bayraktar E, Eryarsoy E, Kosanoglu F, Acar MF, Zaim S. Unveiling the Drivers of Global Logistics Efficiency: Insights from Cross-Country Analysis. Sustainability. 2024; 16(7):2683. https://doi.org/10.3390/su16072683
Chicago/Turabian StyleBayraktar, Erkan, Enes Eryarsoy, Fuat Kosanoglu, Mehmet Fatih Acar, and Selim Zaim. 2024. "Unveiling the Drivers of Global Logistics Efficiency: Insights from Cross-Country Analysis" Sustainability 16, no. 7: 2683. https://doi.org/10.3390/su16072683
APA StyleBayraktar, E., Eryarsoy, E., Kosanoglu, F., Acar, M. F., & Zaim, S. (2024). Unveiling the Drivers of Global Logistics Efficiency: Insights from Cross-Country Analysis. Sustainability, 16(7), 2683. https://doi.org/10.3390/su16072683

