Evaluation of the Development Level of Integration of Culture and Tourism in China’s Provinces under the Perspective of Spatial Interaction and Study of Influence Paths
Abstract
1. Introduction
2. Theoretical Analysis
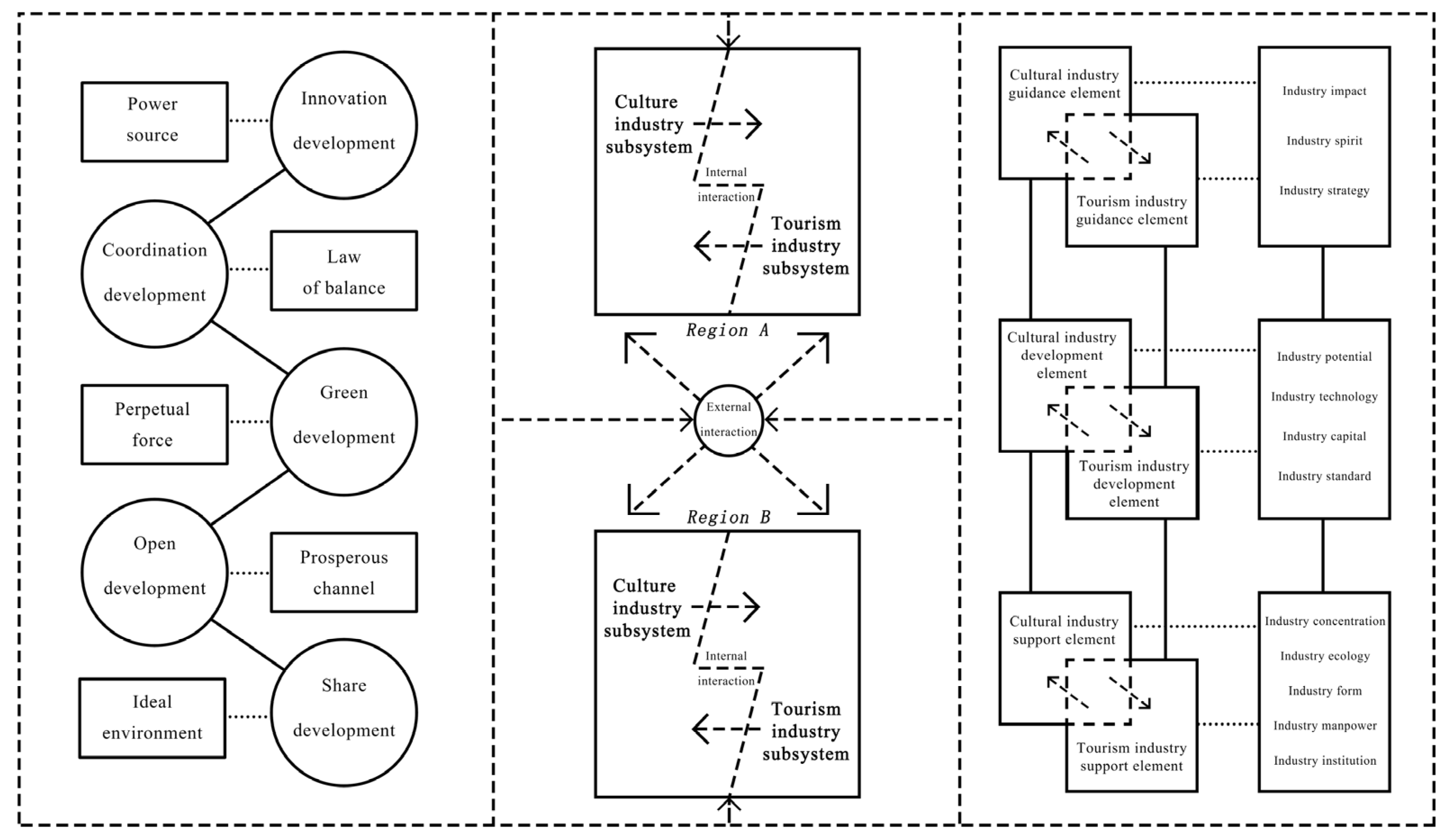
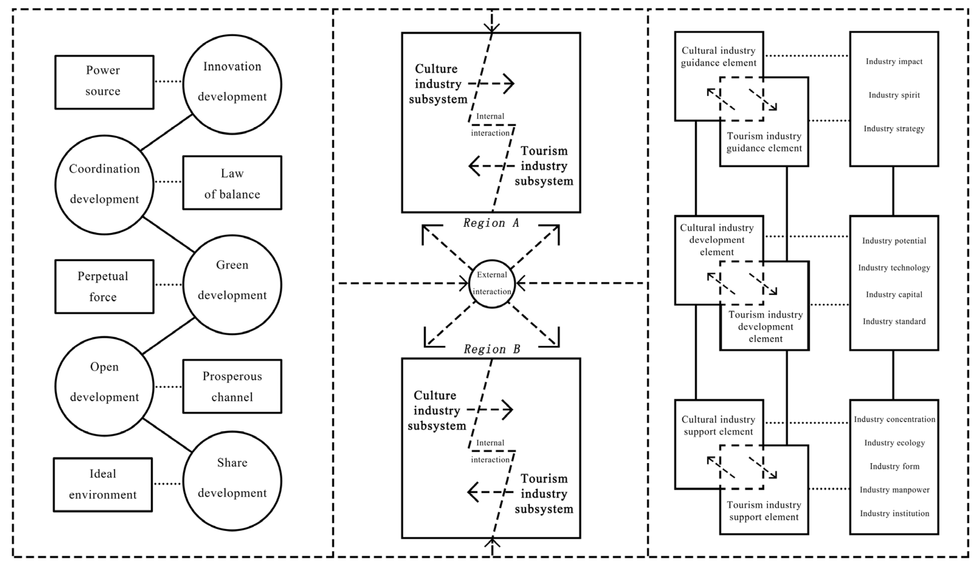
2.1. The Mechanism of the Integration System of Culture and Tourism from the Perspective of Systems Theory
2.2. Industrial Connections in the Integration of Culture and Tourism under the Spatial Interaction Effect
2.3. High-Quality Development of Integration of Culture and Tourism under the New Development Philosophy
3. Research Methods and Data Sources
3.1. Research Methods
3.1.1. Evaluation of the State of Development of the Culture and Tourism Industry and the Integration of Culture and Tourism
- Indicator System
- 2.
- Evaluation Model of the Development Status of the Cultural Tourism Industry
- 3.
- Comprehensive Index Method of Fully Arranged Polygons
- 4.
- Model of the Degree of Integration of Culture and Tourism
3.1.2. Analysis of the Influencing Factors and Path of Integration of Culture and Tourism
- 1.
- Indicator System
- 2.
- Fuzzy Set Qualitative Comparative Analysis Method
3.2. Data Sources
4. Results
4.1. Analysis of the State of Industrial Development
4.1.1. Analysis of Cultural and Tourism Industry Skewness and Industry Coordination Deviations
4.1.2. Cultural and Tourism Industry Index Analysis
4.2. Analysis of the Spatial Interaction and Integration of Culture and Tourism
4.2.1. Analysis of the Spatial and Temporal Evolution of Cultural and Tourism Spatial Interactions
- 1.
- Spatial Interaction within Provinces
- 2.
- Spatial Interactions between Provinces
4.2.2. Analysis of the Spatial and Temporal Evolution of Integration of Culture and Tourism
4.3. Analysis of Group Paths of Impact Factors of Integration of Culture and Tourism
4.3.1. Calibration and Analysis of Necessary Conditions
4.3.2. Configuration Analysis
5. Conclusions
6. Discussion
Author Contributions
Funding
Institutional Review Board Statement
Informed Consent Statement
Data Availability Statement
Acknowledgments
Conflicts of Interest
References
- Richards, G. The Development of Cultural Tourism in Europe. In Cultural Attractions and European Tourism; Cabi Publishing: Wallingford, UK, 2001; pp. 3–29. [Google Scholar]
- Bachleitner, R.; Zins, A.H. Cultural tourism in rural communities: The residents’ perspective. J. Bus. Res. 1999, 44, 199–209. [Google Scholar] [CrossRef]
- Yu, G.Y. Tourism and culture. Outlook 1986, 14, 35–36. [Google Scholar]
- Xu, F.F.; La, L.Q.; Yan, X.Y.; Han, L.; He, Y.M.; Zhong, X.Q. A review of researches on the integration of cultural industry and tourism industry in China. Tour. Sci. 2023, 37, 1–18. [Google Scholar]
- Fu, C.W. On the internal logic in the integration of culture and tourism. Wuhan Univ. J. (Philos. Soc. Sci.) 2020, 73, 89–100. [Google Scholar]
- Wang, X.W. From interaction to symbiosis: The structural dimensions, evolution logic and development trend of cultural and tourism integration. J. Southwest Minzu Univ. (Humanit. Soc. Sci. Ed.) 2021, 42, 29–36. [Google Scholar]
- Zhao, M.; Wang, R.Z. The dynamic mechanism and development evaluation of cultural and tourism industry integration in China. Ecol. Econ. 2022, 38, 121–129. [Google Scholar]
- Yin, W.H.; Liu, N.N.; Lu, F.Y. Cultural industry and tourism’s integrated development and its spatial evolution in the Yangtze River Economic Belt. World Reg. Stud. 2022, 31, 1009–1020. [Google Scholar]
- Zhang, X.C.; Wang, Y.L.; Song, X.; Zhao, Y. Evaluation of the quality of integration of culture and tourism in the Yellow River Basin and study of spatial spillover effects. Stat. Decis. 2022, 38, 51–55. [Google Scholar]
- Qin, Z.C.; Cong, H.Z. Research on the culture-tourism integration upgrading of Chinese cultural belt—A measurement based on Jiangsu section of the Grand Canal Cultural Belt. J. Shandong Univ. (Philos. Soc. Sci.) 2022, 6, 49–59. [Google Scholar]
- Fan, H.Y.; Xue, B.Q. Empirical study on coupling coordination of tourism industry and cultural industry in Henan province. Areal Res. Dev. 2016, 35, 104–109. [Google Scholar]
- Syafrini, D.; Fadhil, N.M.; Sugandi, Y.S.; Miko, A. The impact of multiethnic cultural tourism in an Indonesian former mining city. Tour. Recreat. Res. 2020, 45, 511–525. [Google Scholar] [CrossRef]
- Chen, J.; Wang, H.; Yang, Z.; Li, P.; Ma, G.; Zhao, X. Comparative Spatial Vitality Evaluation of Traditional Settlements Based on SUF: Taking Anren Ancient Town’s Urban Design as an Example. Sustainability 2023, 15, 8178. [Google Scholar] [CrossRef]
- Hong, X.T.; Huang, Z.F.; Yu, F.H.; Sheng, W.L. Coupling coordination between urban cultural resources and tourism industry in the Yangtze River Delta and cultural compensation. Econ. Geogr. 2020, 40, 222–232. [Google Scholar]
- Zhu, Y.Y.; Zhou, X.Q.; Gu, J.; Chen, J. Spatial effect and driving mechanism of the integrated development of culture-tourism industries in the middle Yangtze River Basin urban agglomeration. Prog. Geogr. 2022, 41, 785–796. [Google Scholar] [CrossRef]
- Cui, F.J.; Xu, N.N.; Chen, X.F. An empirical study of an evaluative index of integrated development of county culture and tourism. Gov. Stud. 2022, 38, 93–101. [Google Scholar]
- Qian, M.H.; Li, H.R.; Meng, T.T. Analysis and evaluation on the mode of cultural and tourism integration for Chinese modernization. Libr. Dev. 2023, 1–21. Available online: https://link.cnki.net/urlid/23.1331.G2.20230925.0953.004 (accessed on 2 January 2024).
- Tang, C.C.; Liu, Y.R.; Wan, Z.W.; Liang, W.Q. Evaluation system and influencing paths of the integration of culture and tourism of traditional villages. Acta Geogr. Sin. 2023, 78, 980–996. [Google Scholar] [CrossRef]
- Shi, Y.; Zhan, G.H. Index construction, influencing factors and promotion strategies of high-quality development of cultural tourism industry’ s integration: A case study of Jiangsu province. Nanjing J. Soc. Sci. 2021, 7, 165–172. [Google Scholar]
- Wu, L.; Liang, H.; Yu, H.J.; Huo, R.M. Spatial differentiation and driving factors of the integrated development of culture and tourism in China. Econ. Geogr. 2021, 41, 214–221. [Google Scholar]
- Li, L.; Xu, J. Measuring the level of integration of culture and tourism industry development and analysing its driving factors in China. Stat. Decis. 2020, 36, 49–52. [Google Scholar]
- Zheng, C.R.Y.; Yang, C.D.; Ren, W.X. Spatial-temporal evolution characteristics and influencing factors on integration of cultural industry and tourism industry in ethnic regions-taking lnner Mongolia as an example. World Reg. Stud. 2022, 31, 613–623. [Google Scholar]
- Wang, Z.F.; Liang, Z.Q. Spatio-temporal evolution and influencing factors of the integration development level of culture and tourism industry in the Yangtze River Economic Belt. J. Shaanxi Norm. Univ. (Nat. Sci. Ed.) 2023, 51, 97–110. [Google Scholar]
- Zeng, G.R. Systems Theory Cybernetics Information Theory and Philosophy; China South University of Technology Press: Guangzhou, China, 1988. [Google Scholar]
- Wei, H.S.; Zeng, G.P. Systems Theory: Philosophy of Systems Science; Tsinghua University Press: Beijing, China, 1995. [Google Scholar]
- Liu, J.S.; Ma, Y.F. The evolution and driving mechanism of the supply and demand coupling about tourism flow and destination system based on the genesis and system theory: Taking Xi’an as an example. Geogr. Res. 2017, 36, 1583–1600. [Google Scholar]
- Rui, M.J.; Hu, J.X. Research on the identification method of industrial convergence: A viewpoint based on systematology. Shanghai Manag. Sci. 2008, 3, 33–35. [Google Scholar]
- Li, R. Deep integration and synergistic development: Theoretical logic and practical path of integration of culture and tourism. Theory Mon. 2022, 1, 88–96. [Google Scholar]
- Zhang, S.B. The internal mechanism, basic model and industrial development logic of the in-depth integration of cultural industries and tourism. J. China Univ. Pet. (Ed. Soc. Sci.) 2019, 35, 94–99. [Google Scholar]
- Fang, S.M.; Wang, H.Y. Agriculture and tourism industry convergence based on system theory: A viewpoint of viscidity. Econ. Geogr. 2018, 38, 211–218. [Google Scholar]
- Ji, X.M.; Chen, J.H.; Fu, Y.Q. A study of the convergence and spatial spillover effects of Chinese in bound tourism flow. Tour. Sci. 2015, 29, 47–60. [Google Scholar]
- Zhang, K.; Mao, J.X. Industry co-agglomeration, regional innovation and spatial spillover: The empirical analysis based on the region of the Yangtze River Delta. J. Huazhong Univ. Sci. Technol. (Soc. Sci. Ed.) 2018, 32, 76–88. [Google Scholar]
- Chi, Y.; Fang, Y.; Liu, J. Spatial–temporal evolution characteristics and economic effects of China’s cultural and tourism industries’ collaborative agglomeration. Sustainability 2022, 14, 15119. [Google Scholar] [CrossRef]
- Kranioti, A.; Tsiotas, D.; Polyzos, S. The Topology of Cultural Destinations’ Accessibility: The Case of Attica, Greece. Sustainability 2022, 14, 1860. [Google Scholar] [CrossRef]
- Wang, D.S. New development philosophy and high-quality development. J. Beijing Technol. Bus. Univ. (Soc. Sci.) 2022, 37. 11–19+113. [Google Scholar]
- Ma, J. Review of industrial integration theory research. Econ. Perspect. 2002, 5, 78–81. [Google Scholar]
- Qi, X.; Chen, Y.Y.; Liu, H.G. lmplementing the new development philosophy to promote urban-rural integration: Logic and path. Comp. Econ. Soc. Syst. 2023, 2, 14–23. [Google Scholar]
- Zhang, J.G. Analysis on the Path of Realizing Common Prosperity: Production or Distribution. Contemp. Econ. Res. 2023, 1, 62–70. [Google Scholar]
- Xu, F.; Li, B. Measurement of cultural and tourism industry integration in Liaoning province based on coupling model. J. Liaoning Univ. (Philos. Soc. Sci. Ed.) 2021, 49, 70–78. [Google Scholar]
- Li, L.Y.; Weng, G.M. Research of integrational degree and spatial-temporal differences of tourism industry and cultural industry in China. Geogr. Geo-Inf. Sci. 2015, 31, 94–99. [Google Scholar]
- Zhang, A.Z. Evaluation of the level of high-quality development of cultural industry in the Yellow River Basin. Stat. Decis. 2023, 39, 127–131. [Google Scholar]
- Cui, S.Q.; Zhou, G.S.; Wu, G.H.; Bi, F.Z. The evaluation of urban-rural integration degree and its driving mechanism in Changsha-Zhuzhou-Xiangtan urban agglomeration from the perspective of spatial interaction. Geogr. Res. 2023, 42, 1029–1049. [Google Scholar]
- Sun, X.; Liu, X.S.; Li, F.; Tao, Y. Comprehensive evaluation of sustainable development for different scale cities in China. Acta Ecol. Sin. 2016, 36, 5590–5600. [Google Scholar]
- Yu, Y.; Tong, Y.; Hu, S.S.; Ke, Y.Y. Metropolitan area spatio-temporal evolution of spatial interaction among cities of Wuhan. Resour. Environ. Yangtze Basin 2017, 26, 1784–1794. [Google Scholar]
- Wang, W.; Fan, Z.P.; Qin, Y.G. Construction of economic high-quality development indicator system and empirical measurement. Stat. Decis. 2022, 38, 124–128. [Google Scholar]
- Zhang, Y.; Hao, F.; Li, J.W. The spatial distribution of coupling and coordination of China’s gigh-quality development level based on the new development philosophy. J. Guizhou Univ. Financ. Econ. 2022, 2, 23–34. [Google Scholar]
- Shan, Q.Q.; Li, Z. Regional differences and spatiotemporal convergence of high-quality economic development. Econ. Geogr. 2022, 42, 50–58. [Google Scholar]
- Ding, C.H.; Tian, Z.; Song, X.M.; Wang, W. Research on high-quality development of china’s regional economy under the new development concept: Level measurement, spatial and temporal differentiation and dvnamic evolution. J. Tech. Econ. Manag. 2022, 12, 3–9. [Google Scholar]
- Zhang, M.; Du, Y.Z. Qualitative comparative analysis (QCA) in management and organization research: Position, tactics, and directions. Chin. J. Manag. 2019, 16, 1312–1323. [Google Scholar]
- Rihoux, B. Qualitative comparative analysis (QCA) and related systematic comparative methods: Recent advances and remaining challenges for social science research. Int. Sociol. 2006, 21, 679–706. [Google Scholar] [CrossRef]
- Greckhamer, T.; Gur, F.A. Disentangling combinations and contingencies of generic strategies: A set-theoretic configurational approach. Long Range Plan. 2021, 54, 101951. [Google Scholar] [CrossRef]
- Chen, H.C.; Liang, C.; Fan, J.H.; He, Z.M. The influence of organizational characteristics and institutional distance on the social responsibility performance of foreign enterprises in China: A research based on fsQCA and NCA Methods. Manag. Rev. 2023, 35, 280–293. [Google Scholar]








| Elementary Layer | Comprehensive Indicator | Specific Indicators | Indicator Interpretation | |
|---|---|---|---|---|
| Cultural Industry | Tourism Industry | |||
| Support elements | Industry institution | Number of major institutions in the cultural industry (C1) | Number of major institutions in the tourism industry (T1) | Characterizes the basic scale state of the industry |
| Industry manpower | Number of employees in major institutions of the cultural industry (C2) | Number of employees in major institutions of the tourism industry (T2) | Characterizes the human resource status of the industry | |
| Industry form | Cultural industry structure rationalization index (C3) | Tourism industry structure rationalization index (T3) | Characterizes the equilibrium development state of the industry | |
| Industry ecology | Cultural industry structure upgrading index (C4) | Tourism industry structure upgrading index (T4) | Characterize the optimization and upgrading state of the industry | |
| Industry concentration | Location entropy of the cultural industry (C5) | Location entropy of the tourism Industry (T5) | Characterizes the agglomeration development state of industry | |
| Development elements | Industry standard | Number of local standards related to the cultural industry (C6) | Number of local standards related to the tourism industry (T6) | Characterizes the normative development state of the industry |
| Industry capital | Cultural industry fixed asset investment (C7) | Tourism industry fixed asset investment (T7) | Characterizes the capital size state of the industry | |
| Industry technology | Number of valid patents related to the cultural industry (C8) | Number of valid patents related to the tourism industry (T8) | Characterizes the scientific and technological innovation capacity of the industry | |
| Industry potential | Number of master’s and doctoral theses on the theme “Culture” (C9) | Number of master’s and doctoral theses on the theme “Tourism” (T9) | Characterizes the talent reserve status of the industry | |
| Guidance elements | Industry strategy | Number of policies related to the cultural industry (C10) | Number of policies related to the tourism industry (T10) | Characterizes the policy support of the industry |
| Industry spirit | Protection of cultural resources (C11) | Per capita tourism carbon emissions (T11) | Characterizes the spirit development ability of the industry | |
| Industry impact | “Culture” Baidu search index (C12) | “Tourism” Baidu search index (T12) | Characterize the social concerns of the industry | |
| Element Structure | Indicators Involved | Industry Deflection | Formula |
|---|---|---|---|
| Distribution structure of support elements | C1, T1, C2, T2, C3, T3, C4, T4, C5, T5 | Cultural industry deflection of support elements (Sic) | |
| Tourism industry deflection of support elements (Sit) | |||
| Distribution structure of development elements | C6, T6, C7, T7, C8, T8, C9, T9 | Cultural industry deflection of development elements (Dic) | |
| Tourism industry deflection of development elements (Dit) | |||
| Distribution structure of guidance elements | C10, T10, C11, T11, C12, T12 | Cultural industry deflection of guidance elements (Lic) | |
| Tourism industry deflection of guidance elements (Lit) |
| Development Philosophy | Form of Expression | Specific Indicator |
|---|---|---|
| Innovation development | Science and technology investment | Financial expenditure on science and technology |
| R&D intensity | Research and development (R&D) investment intensity | |
| Talent scale | Full-time equivalents of research and development personnel | |
| Coordination development | Industry coordination | Tertiary industry output value as a proportion of total output value |
| Urban–rural coordination | Rate of urbanisation | |
| Regional coordination | GDP per capita as a proportion of national GDP per capita | |
| Green development | Pollution control | Ratio of investment in industrial pollution control to value added of industry |
| Low carbon development | Public trams per 10,000 people | |
| Ecological construction | Green space per capita | |
| Open development | Foreign investment | Foreign direct investment |
| Domestic market | Retail sales of consumer goods | |
| Foreign market | Total import and export of goods | |
| Shared development | Facility support | Road network density |
| Public service | Fiscal expenditure on general public services | |
| Improvement in people’s livelihood | Per capita disposable income |
| Variable | Calibration | |||
|---|---|---|---|---|
| Complete Unaffiliated Point | Crossover Point | Complete Affiliation Point | ||
| Outcome variable | Integration of culture and tourism | 0.213 | 0.449 | 0.637 |
| Antecedent variable | Innovation development | 0.035 | 0.148 | 0.310 |
| Coordination development | 0.063 | 0.152 | 0.271 | |
| Green development | 0.102 | 0.198 | 0.262 | |
| Open development | 0.035 | 0.167 | 0.278 | |
| Shared development | 0.088 | 0.210 | 0.320 | |
| Antecedent Condition | Consistency | Coverage |
|---|---|---|
| Innovation development | 0.842720 | 0.826819 |
| ~Innovation development | 0.291896 | 0.280343 |
| Coordination development | 0.541896 | 0.534915 |
| ~Coordination development | 0.532280 | 0.508197 |
| Green development | 0.572802 | 0.545098 |
| ~Green development | 0.536401 | 0.531292 |
| Open development | 0.816621 | 0.808294 |
| ~Open development | 0.285714 | 0.272073 |
| Shared development | 0.782967 | 0.792217 |
| ~Shared development | 0.335852 | 0.313261 |
| Path and Configuration | Raw Coverage | Unique Coverage | Consistency | |
|---|---|---|---|---|
| M1: Innovation development*~coordination development*~green development*open development | 0.265797 | 0.191621 | 0.977273 | |
| M2: ~Coordination development*green development*open development*share development | 0.138736 | 0.0157966 | 0.990196 | |
| M3: Innovation development*green development*open development*share development | 0.441621 | 0.318681 | 0.955423 | |
| M4: Innovation development*~coordination development*green development*~open development*~shared development | 0.0982143 | 0.032967 | 0.916667 | |
| Solution coverage: 0.684753 | Solution consistency: 0.955896 | |||
Disclaimer/Publisher’s Note: The statements, opinions and data contained in all publications are solely those of the individual author(s) and contributor(s) and not of MDPI and/or the editor(s). MDPI and/or the editor(s) disclaim responsibility for any injury to people or property resulting from any ideas, methods, instructions or products referred to in the content. |
© 2024 by the authors. Licensee MDPI, Basel, Switzerland. This article is an open access article distributed under the terms and conditions of the Creative Commons Attribution (CC BY) license (https://creativecommons.org/licenses/by/4.0/).
Share and Cite
Zhu, H.; Xie, C.; Zhang, J. Evaluation of the Development Level of Integration of Culture and Tourism in China’s Provinces under the Perspective of Spatial Interaction and Study of Influence Paths. Sustainability 2024, 16, 1756. https://doi.org/10.3390/su16051756
Zhu H, Xie C, Zhang J. Evaluation of the Development Level of Integration of Culture and Tourism in China’s Provinces under the Perspective of Spatial Interaction and Study of Influence Paths. Sustainability. 2024; 16(5):1756. https://doi.org/10.3390/su16051756
Chicago/Turabian StyleZhu, Hai, Chaowu Xie, and Jiangchi Zhang. 2024. "Evaluation of the Development Level of Integration of Culture and Tourism in China’s Provinces under the Perspective of Spatial Interaction and Study of Influence Paths" Sustainability 16, no. 5: 1756. https://doi.org/10.3390/su16051756
APA StyleZhu, H., Xie, C., & Zhang, J. (2024). Evaluation of the Development Level of Integration of Culture and Tourism in China’s Provinces under the Perspective of Spatial Interaction and Study of Influence Paths. Sustainability, 16(5), 1756. https://doi.org/10.3390/su16051756
