Abstract
Due to its special material composition, formation environment, and special structure, loess usually shows different engineering and dynamic characteristics from ordinary soil. Based on previous research results, this paper studies the Haiyuan loess. It is found that: (1) the variation coefficients of various physical properties (except for the liquid index) of loess in the region are relatively stable, but the mechanical properties are relatively discrete; (2) the correlation among natural water content, void ratio, and density is high, but the correlation between mechanical properties is poor; (3) the consolidation ratio, effective confining pressure, and dynamic shear modulus ratio change in direct proportion, while the damping ratio changes in the opposite direction with increasing shear strain; and (4) in this paper, the recommended model of shear wave velocity and burial depth of loess in the study area is given. Compared with the example, the error is smaller and more reliable. (5) The characteristic period of the seismic response spectrum of the loess soil layer is not sensitive to the change in the damping ratio, and the change amplitude is small.
1. Introduction
Loess is a kind of special soil with unique overhead pores and a cemented structure that provide strong dynamic flexibility and unique water sensitivity characteristics that are different from those of ordinary soil. Loess is a typical Quaternary loose sediment that is widely distributed around the world. The coverage area of loess and loess-like soil accounts for approximately 2.5% of the global continental area. The most widely distributed, thickest, and most complicated loess area in the world is located in China, spanning 640,000 km2, mainly on the Loess Plateau [1,2,3].
The Loess Plateau is located in the North-South seismic belt and on the northeastern margin of the Qinghai-Tibet Plateau. The area is characterized by strong neotectonic movement, high seismic intensity, and a complex geological structure; it is an area prone to strong earthquakes and is also one of the main areas where major geological disasters develop. The national standard “China Earthquake Parameter Zoning Map” [4] (GB18306-2015) shows that areas with a peak ground acceleration of 0.1 g (equivalent to seismic intensity VII) on the Loess Plateau account for 54.21% of the total plateau area. Several strong earthquakes in history have caused extremely serious geological disasters, causing vast economic losses and numerous casualties. With the in-depth recommendations of the “One Belt, One Road” initiative, the Loess Plateau has become a key area for the strategic shift of China’s social and economic development centres, and large-scale engineering construction has emerged [5]. Therefore, studying the dynamic characteristics of loess provides important scientific significance and application value for improving the level of engineering construction and avoiding disasters in loess areas.
Collapsibility is a special engineering property of loess. It refers to the phenomenon that the soil structure is rapidly destroyed and significant additional subsidence and liquefaction are caused by water intrusion under a certain pressure. Gao Guoru [3] studied the mineral composition of loess and found that there is a certain degree of negative correlation between the mineral content and distribution uniformity of loess and the degree of collapsibility. Li Baoxiong [6] and others studied Malan loess through in situ tests and indoor tests, and found that when Malan loess transitioned from a dry state to a natural water content state, the internal friction angle was relatively reduced, and the cohesion was relatively increased, which was mutually confirmed by the research results of Amir Akbari Garakani [7]. Puri [8] and Shannon [9] took loess in the eastern part of the United States as the research object, conducted indoor dynamic triaxial tests, explored the liquefaction characteristics of loess in this area, and analysed the impact of the consolidation stress ratio and other factors on loess liquefaction. Seed [10] explored the liquefaction characteristics of loess in different regions and believed that when the water content of loess is greater than 85%, it can be determined that it can be liquefied. By comparing the liquefaction characteristics of Chinese loess, American loess, and Russian loess, Wang Lanmin and others [11] found that the liquefaction characteristics of the three kinds of loess are different, but the residual strain produced by liquefaction can reach approximately 4%. Fattah, M. Y. team [12,13] studied and analysed the effect of consolidation time on soil deformation. Mosallamy [14] studied Egyptian loess through tests and found that the effective confining pressure and water content are factors affecting the dynamic shear modulus and damping ratio of loess. Wang Qian [15] selected loess from different sites in the Loess Plateau to conduct indoor dynamic triaxial tests. The research results show that the difference in the dynamic shear modulus ratio among saturated loess in different regions is small, while the difference in the damping ratio is large.
Loess is characterized by a diverse genesis process, a complex composition, and a wide distribution. Additionally, the properties of loess in different regions vary. Since 2015, the School of Disaster Prevention Science and Technology has conducted systematic and in-depth investigations of the geological disasters associated with Haiyuan earthquakes and accumulated considerable amounts of data. Therefore, the loess in the Haiyuan area of the Ningxia Hui Autonomous Region is selected for analysis in this study.
Data from 40 actual boreholes in the Haiyuan area were obtained and assessed, and drilling data from 2 boreholes were used as supplements, for a total of 42 borehole data sets. Through the classification of borehole data and the application of Statistical Product and Service Solution (SPSS) software, the physical properties and dynamics of the loess in the Haiyuan area were analysed. Moreover, two different loess models were established to study different ground motion intensities, and considering the dynamics of parameters, the difference between the characteristic parameters based on the designed response spectrum and those under peak acceleration conditions is given, and recommended values are presented. A comparative analysis indicates that the research results in this paper provide certain reference significance for further research on the seismic response characteristics of loess sites.
2. Statistics of Conventional Engineering Indicators
2.1. Overview of Physical and Mechanical Properties
In this paper, various physical and mechanical properties of the loess in the Haiyuan area are classified and statistically analysed. The results are listed in Table 1 and Table 2.
Table 1.
Summary table of physical and mechanical properties.
Table 2.
Correlation coefficient table of physical and mechanical properties index.
In Table 1, the natural water content refers to the ratio of the mass of water in the soil to the mass of soil particles in the natural state ω and is expressed as a percentage (%), which is obtained by the common indoor drying method. The void ratio refers to the ratio of the void mass in the soil to the volume of solid particles, and is an index to describe the structural characteristics of the soil, expressed by e. Density refers to the mass of unit volume of soil ρ is expressed in grams per cubic centimetre (g/cm3), and is mainly divided into natural density and dry density. The soil mass density in this paper is the natural density of the soil mass, which is usually measured by the ring knife method with an internal diameter of 79.8 mm. The liquid limit refers to the boundary water content between the plastic state and flowing state ωL and is expressed as a percentage (%). The plastic limit refers to the boundary water content between the plastic state and the semisolid state. The ωP is expressed as a percentage (%) and is commonly used in indoor photoelectric liquid-plastic limit joint testing. The liquidity index is an indicator of the relative relationship between the natural water content and the limit water content, expressed by IL, . The plasticity index is an important index to characterize the physical properties of fine-grained soil, expressed by IP, . The compression modulus, the ratio of the vertical stress to the total vertical strain of the soil under the condition of complete lateral deformation, expressed as ES, in megapascals (MPa), can be obtained through an indoor compression test. The internal friction angle is the shear strength line σ-τ inclination in the coordinate plane, using φ, and is expressed in degrees (°), which can reflect the size of internal friction between particles in the soil mass. Cohesion refers to the mutual attraction of adjacent parts in the soil mass, expressed in c, and expressed in kilopascals (kPa). Both are obtained through indoor triaxial consolidated undrained tests. The meaning of the same symbol in the following is the same.
In statistics, the coefficient of variation is commonly used to indicate the degree of dispersion of a set of data. Generally, the larger the coefficient of variation is, the greater the degree of data dispersion; conversely, the smaller the coefficient of variation is, the smaller the degree of dispersion. Table 1 shows that except for the liquidity index, the coefficients of variation of the other physical variables of the loess in the Haiyuan area are close to approximately 0.10, with a relatively stable trend. Notably, the coefficient of variation of the plasticity index is the smallest at 0.06, and that of the liquidity index is 1.72, which is a potential outlier. The coefficient of variation of the mechanical property index is obviously larger than that of the physical property index. This may be related to the many complicated factors that affect the mechanical property index, such as the compressive modulus and viscosity of the soil. The coefficient of variation of cohesion is approximately 0.60, which is relatively high, and the coefficient of variation of the internal friction angle is 0.30, with a relatively stable trend throughout the study area.
In statistics, the correlation coefficient R is often used to express the correlation between two variables, according to Formula (1), and it falls within the range of [−1, 1]. A value of |R| close to 1 indicates a high correlation between the two selected variables, and vice versa as |R| approaches 0. According to the value range of the correlation coefficient, the correlation degree of two variables can be divided into four cases [16]: when |R| falls in the interval of [0.8, 1], the two variables are highly correlated; when |R| falls in the interval of [0.5, 0.8), the two variables are moderately correlated; when |R| falls in the interval of [0.3, 0.5), the two variables are slightly correlated; and when |R| falls in the interval of [0.0, 3), the correlation between the two variables is weak and can be regarded as irrelevant.
where R is the correlation coefficient; x and y are statistics; and n is the number of statistical samples.
From Table 2, it is not difficult to find that there is a significant correlation among five indicators in the Haiyuan area: the natural water content, void ratio, density, liquid limit, and plastic limit of loess. Among them, the natural water content, void ratio, and density are highly correlated, and the correlation coefficients are all within the interval of [−0.95, 0.95]. There are moderate correlations among the liquidity index, plasticity index and natural water content and between the void ratio and density. The liquid limit and plastic limit display a correlation coefficient of 0.734, which is a moderate correlation. In other cases, the correlation coefficients between the various physical and mechanical indicators are all below 0.5, which is a low degree of correlation, with no correlation observed in some cases.
2.2. Correlation Analysis between Various Physical and Mechanical Properties
In actual analyses, problems such as sudden changes in test conditions, improper operation of test equipment by personnel, or unstable performance of test instruments may occur, among other issues. Thus, abnormal data may be obtained. Outliers will adversely affect the results of data analysis; therefore, the outliers that may exist in data must be eliminated before statistical analyses are performed [17]. In statistics, significance testing is often used to determine whether there are outliers in a set of data. The following methods are commonly used to identify low-probability events and treat them as outliers. In this paper, the double variance principle based on the normal distribution is used to screen the physical and mechanical index values of 181 loess samples in the Haiyuan area and eliminate the abnormal values. The screening results are listed in Table 3. In this paper, the selected statistics are used to assess the relationships between physical and mechanical properties.
Table 3.
Screening list of abnormal values of physical and mechanical properties.
Based on the classification standard of the correlation coefficient, the correlations among various physical and mechanical indexes of loess in the Haiyuan area are calculated. Notably, for variables with a correlation coefficient between 0.5 and 1 or −1 and −0.5, with a medium to high degree of correlation, regression fitting analysis was performed after outliers were eliminated, and the correlations between different indicators were analysed. In this paper, SPSS software(SPSS version 10.0 SPSS Inc., Chicago, IL, USA) is used to compare the goodness of fit of various regression equations and select the regression equation with the best regression fitting effect as the recommended fitting model for the corresponding physical and mechanical indicators. In cases in which the degrees of fitting are similar, the model with fewer parameters and a simpler form is selected. The relevant statistical results are listed in Table 4, and the corresponding scatter diagram is shown in the Appendix A.
Table 4.
Analysis of the correlations between indicators.
There are usually three methods applied to test the significance of results obtained with a unary regression equation. In the first approach, a scatter plot with a linear distribution is established. In the second method, the correlation coefficient of the two regressors is used. In the third approach, precise mathematical methods are applied for hypothesis testing, including linear relationship testing (F Test) and regression coefficient testing (t test) [16,18]. The F test and t test are equivalent in some ways. For example, if there is a linear relationship between the independent variable and the dependent variable, the regression coefficient between the two must not be equal to 0. In this study, the F test is used to assess the significance of the regression equation.
The F test is divided into 3 steps: (1) Propose the hypothesis that the two indicators are not correlated; (2) Calculate the F statistic; and (3) Determine the significance level α according to the number of degrees of freedom of the numerator (in this case, 1) and the denominator n − 2, as obtained from the F distribution table) to calculate Fα. If F is greater than Fα(1, n − 2), then the null hypothesis is rejected; that is, the two indicators are considered to be correlated. If F is less than Fα(1, n − 2), then the original hypothesis is not rejected, which means that there is no correlation between the two indicators.
In this paper, under the condition that the significance levels α are 0.05, 0.01, and 0.001, the hypothesis test is performed on the fitting formulas in Table 4, and the F value of each fitting formula is calculated and compared with the corresponding Fα in the F distribution table. The results show that there are correlations between the physical and mechanical properties in Table 4. For details, see Table 5.
Table 5.
Correlation test results between physical and mechanical properties.
In statistics, when F is greater than Fα(1, n − 2), the regression effect of the fitting formula is considered significant [19]. When α = 0.05, the regression effect is considered mildly significant; when α = 0.01, the regression effect is considered significant; and when α = 0.001, the regression effect is considered extremely significant. The above method was used to test the regression effect of each fitting formula in Table 4, and the results show that FIP-ω, FIL-ρ, and FIP-ρ are all greater than F0.05 but less than F0.01; therefore, the data regression effect is significant. Additionally, FIL-e is greater than F0.01 but less than F0.001, reflecting a significant regression effect. The F values in other cases are greater than F0.001, and the regression effect is extremely significant.
By comparing the goodness of fit and statistical results for various fitting formulas, it is found that there is a proportional relationship between the two types of properties. The closer the goodness of fit is to 1, the stronger this relationship is.
3. Dynamic Shear Modulus Ratio and Damping Ratio
3.1. Influencing Factors of Dynamic Shear Modulus Ratio and Damping Ratio
There are many factors that influence the dynamic shear modulus ratio and damping ratio in laboratory tests. In addition, the consolidation time, consolidation ratio, and effective confining pressure of the soil sample will all affect the test results [20]. In response to this problem, the loess in the Haiyuan area is selected to conduct indoor dynamic triaxial tests to study the effects of the consolidation time, consolidation ratio, and effective confining pressure on the dynamic shear modulus ratio and damping ratio of loess. It has been verified by experiments that the consolidation time has little effect on the dynamic shear modulus ratio and damping ratio of loess, so only the effect of the consolidation ratio and effective confining pressure are discussed.
The experimental device used was the electrohydraulic servocontrolled bidirectional dynamic triaxial instrument produced by the American GCTS company, model STX-200, which can provide load control or displacement control for the cyclic loading of samples. The basic parameters of the instrument are as follows: the maximum axial loading force is 100 kN, the maximum axial loading frequency is 10 Hz, the standard confining pressure safety value is 1000 kPa, the axial strain range is 10−4 to 10−2, and the sample diameters are 38 mm, 50 mm, and 70 mm.
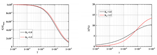
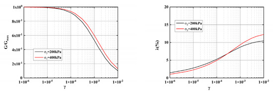
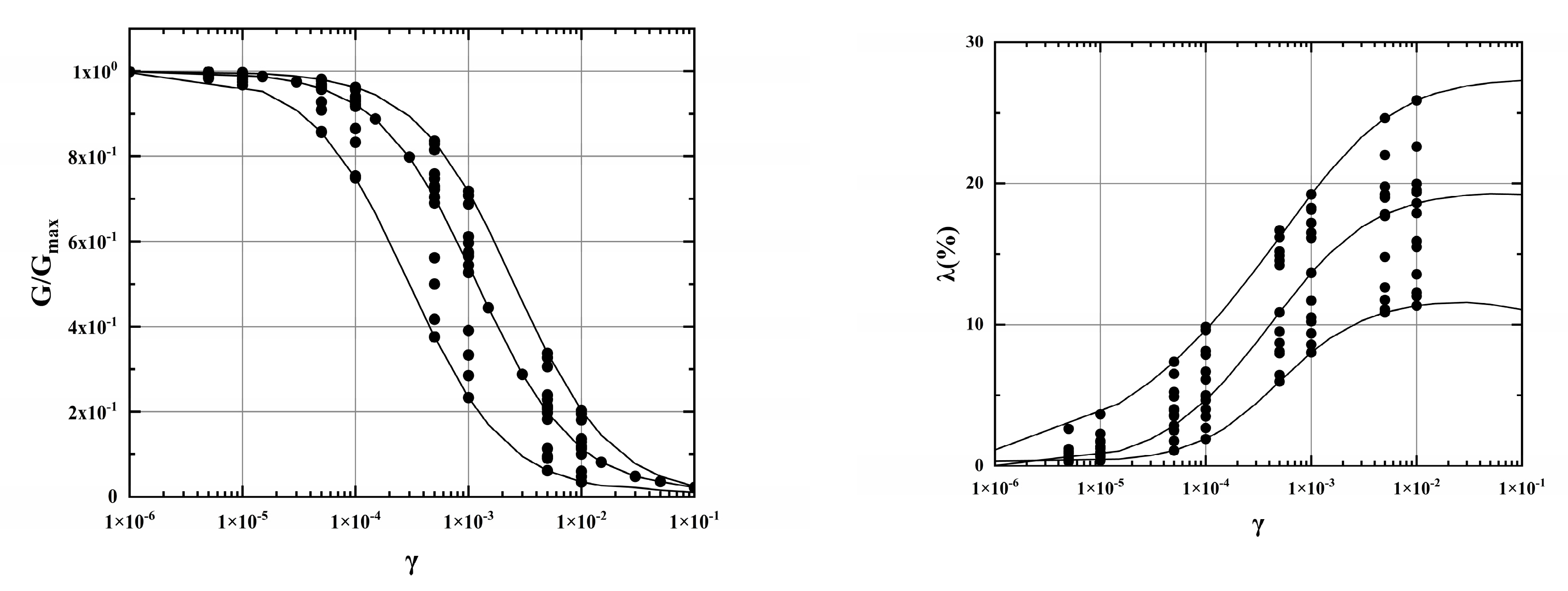
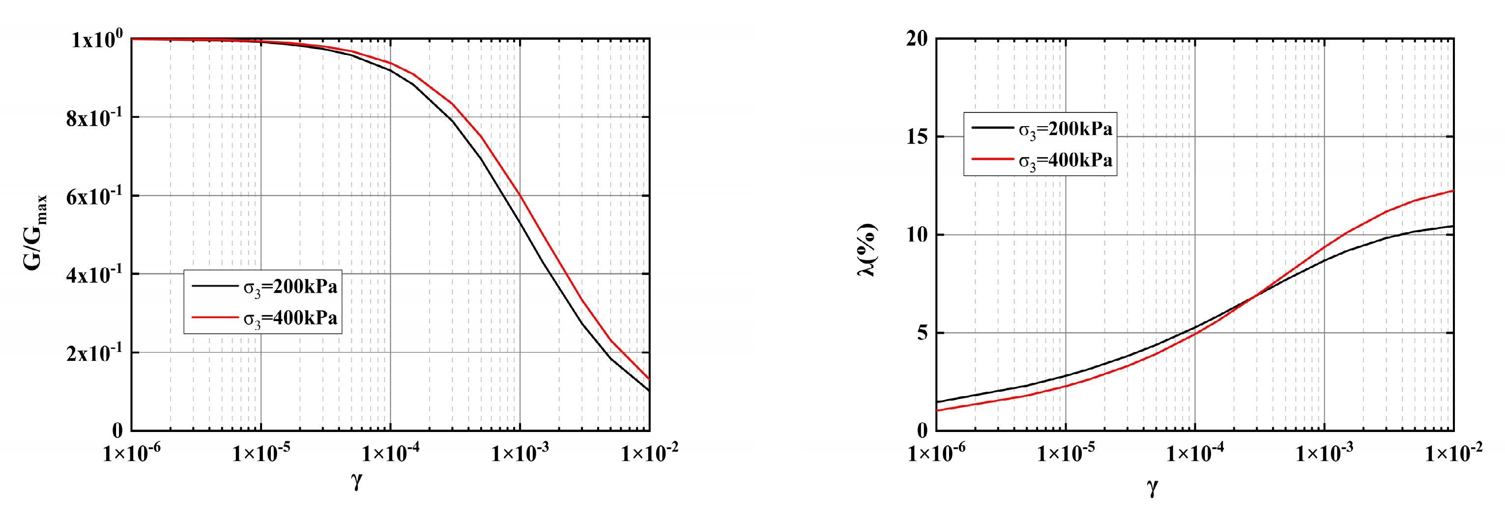
Test steps: (1) Considering the effect of the consolidation ratio, under the conditions of a consolidation time of 4 h and an effective confining pressure of 200 kPa, two loess samples with consolidation ratios of 1.0 and 1.5 were selected to compare the difference between the dynamic shear modulus ratio and damping ratio. (2) Considering the influence of the effective confining pressure, under the conditions of a consolidation time of 4 h and a consolidation ratio of 1.0, two effective confining pressures of 200 kPa and 400 kPa were selected for the loess samples to compare the differences in the dynamic shear modulus ratio and damping ratio.
In Figure 1, G/Gmax refers to the dynamic shear modulus ratio; λ is the damping ratio; γ is the dynamic shear strain; KC is the consolidation ratio; and σ3 refers to the consolidation pressure, in kPa. The meaning of the same symbol in the following is the same as that in Figure 1.
Figure 1.
G/Gmax-γ and λ-γ curves with different consolidation ratio conditions.
Figure 1 and Figure 2 show the changes in the dynamic shear modulus ratio and damping ratio of loess under different consolidation ratio and effective confining pressure conditions. Notably, (1) the dynamic shear modulus ratio is proportional to the consolidation ratio and the effective confining pressure and increases with increasing consolidation ratio and effective confining pressure. (2) The influence of the damping ratio is more complicated. When the shear strain is lower than 0.0005, the damping ratio is inversely proportional to the consolidation ratio, and when the shear strain is higher than 0.0005, the damping ratio is directly proportional to the consolidation ratio. When the shear strain is lower than 0.0003, the damping ratio is inversely proportional to the effective confining pressure; when the shear strain is higher than 0.0003, the damping ratio is directly proportional to the effective confining pressure.
Figure 2.
G/Gmax-γ and λ-γ curves with different effective confining pressure conditions.
3.2. Statistical Results
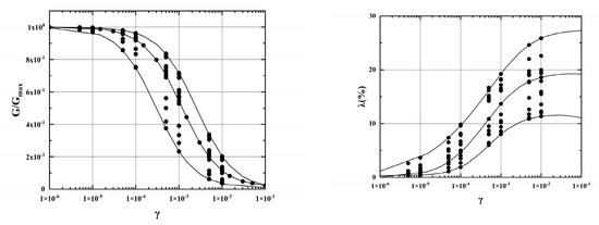
In this paper, 40 measured borehole data points in the Haiyuan area are supplemented with 2 borehole drilling data points. A total of 42 borehole data points are sorted and analysed, and the ranges of the dynamic shear modulus ratio and damping ratio of loess in the study area are calculated (see Table 6 and Figure 3 for details).
Table 6.
Dynamic shear modulus ratios and damping ratio ranges.
Figure 3.
Dynamic shear modulus ratio and damping ratio variation range scatter plot, envelope curve, and average curve.
Table 7 gives a list of abnormal values of the dynamic shear modulus ratio and damping ratio of the loess in the Haiyuan area. After removing the possible outliers, SPSS software was used to analyse the relations between the shear strain, the dynamic shear modulus ratio, and damping ratio of the loess in the Haiyuan area. Regression fitting was performed, and the results are shown in Figure 4 and Table 8.
Table 7.
Abnormal value table of dynamic shear modulus ratios and damping ratios.
Figure 4.
Fitting curves of dynamic shear modulus ratios and damping ratios with shear strains.
Table 8.
Correlation table of dynamic shear modulus ratio and damping and shear strain.
Through calculations, we obtained the fitting values between the shear strain of loess and the dynamic shear modulus ratio and damping ratio in the Haiyuan area. Details are shown in Table 9.
Table 9.
Recommended values of dynamic shear modulus ratio and damping ratio with shear strain.
4. Shear Wave Velocity
Shear wave velocity is one of the important parameters in soil seismic response analysis, and it is also an important index for site division. Different site types have different platform values and characteristic periods of design response spectra [21,22]. The shear wave velocity in the soil is generally obtained from onsite borehole wave velocity tests. These include the single-hole method, cross-hole method, and surface wave method.
The single-hole method has the advantages of fast test speed, low cost, simple test method, and convenient model establishment and calculation, but this method requires artificial excitation and limited energy transmission to the deep soil layer and is greatly affected by human error. The cross-hole method generally requires two or more boreholes. Generally, one borehole is excited first, and the other borehole is received. The trigger device and the signal receiving device maintain the same horizontal height. Since the cross-hole method has high requirements for instrument layout, borehole verticality, and borehole location, this method is rarely used in engineering to test shear wave velocity. The surface wave method has the advantages of high resolution, wide application, and less impact by the site environment. However, the surface wave method requires more measuring points. In addition, the greater the test depth is, the larger the range of the instrument layout, and the later data processing is more complex. Therefore, at present, the single hole method is still the most common method for testing shear wave velocity in the engineering field.
This paper collects the seismic safety evaluation report and the measured borehole data in the study area, and the ranges of the loess shear wave velocity and burial depth in the Haiyuan area are determined, as shown in Table 10 and Figure 5. Then, SPSS software is used to establish the optimal correlation model.
Table 10.
The range of shear wave velocity and depth.
Figure 5.
Shear wave velocity and buried depth scatter plot.
Table 10 and Figure 5 show that the coefficient of variation of the shear wave velocity of loess in the Haiyuan area is 0.12, which is relatively stable; additionally, the correlation coefficient between the shear wave velocity and burial depth is 0.84, which reflects a high correlation.
4.1. Determination of the Fitted Mode
The abnormal values in the statistical sample data were identified (Table 11), and after removing the possible abnormal values, the correlation between the shear wave velocity and the buried depth of the loess in the Haiyuan area was further analysed. SPSS software was used to select multiple fitting equations to perform a fitting analysis of the loess data in Figure 5, and fitting equations and the goodness of fit were obtained for different regression models, as listed in Table 12.
Table 11.
Shear wave velocity abnormal value table.
Table 12.
Comparison of fitted models.
As shown in Table 12, the fitting effects of the quadratic function model and the cubic function model are both good, and the goodness of fit of the two models is the same. These models are based on a simple modelling principle. The quadratic function is selected for fitting the correlation between the shear wave velocity and the buried depth of the loess in the Haiyuan area, and the fitting formula is . The goodness of fit is 0.82.
4.2. Instance Verification
To verify the accuracy and reliability of the recommended regression model in this article, two measured borehole data points from an engineering project in the Haiyuan area are selected as examples to assess the prediction results of the recommended regression model of the shear wave velocity. The corresponding error value for each layer is given in Table 13 and Table 14. It should be noted that only the regression model of the correlation between the shear wave velocity and the buried depth of the loess in the Haiyuan area is discussed in this section; therefore, only the loess data from the example boreholes are selected for verification.
Table 13.
Example 1: Shear wave velocity prediction.
Table 14.
Example 2: Shear wave velocity prediction.
As shown in Table 13 and Table 14 and Figure 6, for the loess in the Haiyuan area, the difference between the predicted shear wave velocity given by the recommended model and the measured shear wave velocity is small, and the error is less than 10%. This finding indicates that the recommended model can effectively predict the shear wave velocity of loess in the Haiyuan area, and the calculation results are relatively reliable and acceptable.
Figure 6.
Comparison of the model and measured data in this paper.
5. Earthquake Response Analysis
5.1. Single Uniform Soil Layer Profile
In this paper, a single loess layer model is established, and the El Centro wave is selected for amplitude modulation. The amplitude of the seismic wave is adjusted to 0.05 g, 0.1 g, 0.2 g, and 0.4 g (seismic waves A, B, C, and D, respectively,) corresponding to different earthquake magnitudes. The acceleration time history of the seismic intensity is considered, with intensities of VI, VII, VIII, and IX. Data for the first 15 s, which include strong ground motions, are processed with the SOILQUAKE program to quantitatively analyse the dynamic shear modulus ratio, damping ratio, and shear wave velocity. Then, the degrees of influence on the characteristic period and plateau value of the design response spectrum are determined. According to the needs of the seismic response calculations for different soil layers, Table 15 and Table 16 give the required soil layer parameters.
Table 15.
List of soil physical and mechanical parameters.
Table 16.
List of dynamic shear modulus ratios and damping ratios.
Seven groups of values that change from a maximum to a minimum of the dynamic shear modulus ratio, damping ratio, and shear wave velocity of the loess in the Haiyuan area are selected to replace the corresponding values in Table 16. Figure 7 shows the results for the dynamic shear modulus ratio and damping ratio. Table 17 gives the results for the shear wave velocity.
Figure 7.
Loess grouping curves.
Table 17.
List of special soil shear wave velocity grouping (m/s).
In the SOILQUAKE soil layer response analysis software, the time step is 0.02 s, the acceleration unit is gal, the input peak amplitude modulation is half of the proportional amplitude modulation, the calculated seismic response spectrum is calibrated with a differential evolution algorithm, and the design response is output. The spectral characteristic parameters and the calculation results are shown in Figure 8, Figure 9 and Figure 10.
Figure 8.
Characteristic periods and platform values for different dynamic shear modulus ratios.
Figure 9.
Characteristic periods and platform values for different damping ratios.
Figure 10.
Characteristic periods and platform values for different shear wave velocities.
In Figure 8, Tg refers to the characteristic period of seismic response spectrum, unit: s; β refers to the platform value of the seismic response spectrum. The meaning of the same symbol in the following is the same as that in Figure 8.
In Figure 8, Figure 9 and Figure 10, the following trend can be observed: When the input ground motion intensity is constant, the characteristic period of the loess design response spectrum is inversely proportional to the dynamic shear modulus ratio and the shear wave velocity but does not respond to changes in the damping ratio. In terms of sensitivity, the platform value is proportional to the dynamic shear modulus ratio and the shear wave velocity and inversely proportional to the damping ratio. When the local vibration parameters are held constant, the characteristic parameters of the loess vary in proportion to the input seismic intensity; that is, the stronger the intensity is, the larger the characteristic period and platform value.
5.2. Actual Soil Profile
To further research the dynamic responses of loess sites, the measured borehole data from typical sites in the Haiyuan area and Liuzhou area are selected to establish a soil layer seismic response analysis and calculation model. Table 18 and Table 19 give the required soil layer parameters used in the calculations.
Table 18.
List of soil physical and mechanical parameters.
Table 19.
List of dynamic shear modulus ratios and damping ratios.
In this paper, the actual soil profile is used in the model, El Centro waves of different intensities are applied as input ground motions, and the maximum, minimum, average, and recommended values of the dynamic shear modulus ratio and damping ratio of loess are compared. The dynamic shear modulus ratio and damping ratio values are given in Figure 9 based on repeated statistical fittings and are hereinafter referred to as “recommended values.” Measured values refer to the actual dynamic shear modulus ratios and soil layer parameters measured in borehole sections. The damping ratios are compared, and the peak acceleration and design response spectrum characteristic parameters are compared and analysed. Finally, the proposed value table of the dynamic shear modulus ratio and damping ratio of the loess in the Haiyuan area is given. Table 20 shows a list of values of the dynamic shear modulus ratio and damping ratio for specific soils.
Table 20.
List of dynamic shear modulus ratios and damping ratios.
SOILQUAKE is used to perform grouping calculations. The time step is 0.02 s, the acceleration unit is gal, and the peak amplitude modulation of the input ground motion acceleration is half of the proportional amplitude modulation. The seismic response spectrum obtained is calibrated with a differential evolution algorithm. The calculation results are listed in Table 21.
Table 21.
List of deviations between the values of different kinetic parameters and the results given by the measured values.
Table 21 shows that for different dynamic parameter values, the deviation between the peak acceleration and the characteristic parameters of the design response spectrum is generally between -10% and 10%, and the deviation from the actual measured values is typically small. Therefore, in the absence of measured data, the minimum values of the dynamic parameters of loess based on statistical ranges should not be used in calculations; notably, as the input seismic intensity increases, the deviation value will also increase. If the actual project is located in an area where the seismic intensity is high (degrees VIII and IX) and loess is present, the dynamic parameters of the loess layer should not be statistically estimated, and the corresponding values should be obtained through experiments.
According to the deviation in peak acceleration for different dynamic parameter values and for characteristic parameters of the design response spectrum established from actual measured values, the recommended values of the dynamic shear modulus ratio and damping ratio of the loess in the Haiyuan area are given, as shown in Table 22 and Figure 11.
Table 22.
List of recommended kinetic parameters.
Figure 11.
Suggested curves of the dynamic shear modulus ratio and damping ratio with shear strain.
6. Conclusions
In this paper, the physical and mechanical properties, dynamic characteristics, and seismic response characteristics of the loess in the Haiyuan area are explored based on an established set of loess data. The results are as follows.
- (1)
- Based on the statistical analysis of the physical and mechanical properties of loess in the Haiyuan area, all indicators basically conform to the existing understanding of loess. Except for the liquid index, the coefficient of variation of each physical property index is less than 0.2, which is relatively stable, and the coefficient of variation of each mechanical property index is more than 0.5, which is relatively discrete.
- (2)
- The correlation between various physical and mechanical properties of loess in the Haiyuan area was analysed. The results showed that there was a significant correlation between the five indicators of physical properties, including natural water content, void ratio, density, liquid limit, and plastic limit. The absolute value of the correlation coefficient between the natural water content, void ratio, and density was above 0.95, which was highly correlated. The correlation coefficient between the liquid limit and plastic limit was 0.734, which was moderate. In other cases, the correlation coefficient between various physical indicators was below 0.5, and the correlation was poor. In terms of mechanical properties, the absolute value of the correlation coefficient between the cohesion internal friction angle and compression modulus was between 0.3 and 0.4, indicating a low correlation.
- (3)
- The influence of the consolidation ratio and effective confining pressure on the dynamic shear modulus ratio and damping ratio of loess was analysed by using a dynamic triaxial test in the laboratory. The results show that the dynamic shear modulus ratio increases with increasing consolidation ratio and effective confining pressure; the damping ratio was different. When the shear strain was lower than 0.0005, the damping ratio was inversely proportional to the consolidation ratio. When the shear strain was higher than 0.0005, the damping ratio was directly proportional to the consolidation ratio; when the shear strain was lower than 0.0003, the damping ratio was inversely proportional to the effective confining pressure. When the shear strain was higher than 0.0003, the damping ratio was directly proportional to the effective confining pressure.
- (4)
- Through statistical analysis, this paper gives a recommended fitting model for the correlation between shear wave velocity and buried depth of loess soil in the Haiyuan area and selects two measured borehole data points in the area to verify the accuracy and reliability of the recommended model. The results show that the predicted shear wave velocity of the model recommended in this paper was close to the measured shear wave velocity, and the error was less than 10%.
- (5)
- A single loess soil layer model is established, and the effects of different dynamic shear modulus ratios, damping ratios, shear wave velocities, and different strength ground motions on the characteristic period of the design response spectrum and platform value are compared using the SOILQUAKE program. The results show that the characteristic period was inversely proportional to the dynamic shear modulus ratio and the shear wave velocity and was directly proportional to the input ground motion intensity; it was insensitive to the change in the damping ratio, and the change amplitude was less than 3%. The platform value is directly proportional to the dynamic shear modulus ratio, shear wave velocity, and input ground motion intensity, and inversely proportional to the damping ratio.
Due to its special material composition, formation environment, and special structure, loess usually shows different engineering and dynamic characteristics from ordinary soil. China is one of the countries with the most serious earthquake disasters in the world. Loess developed in high-intensity areas can sometimes cause serious earthquake disasters. Therefore, it is of great practical significance to study the dynamic characteristics of loess for engineering construction and disaster prevention in the loess area. Based on the test and data collection, this paper establishes a database of the physical and mechanical parameters of loess to provide data support for the study of loess engineering characteristics. Based on the database data, the characteristics of the conventional physical and mechanical properties of loess are statistically analysed, and the relationship between the physical and mechanical properties of loess is established, which provides convenience for the application of loess engineering. At the same time, based on the test and collected data, the dynamic characteristics of loess are studied, the dynamic parameters of loess in typical areas are given, and the variation in shear wave velocity with depth is calculated, which provides a reference for the seismic response analysis of soil layers in loess areas. Finally, using the method of soil layer seismic response analysis, the difference in the dynamic response of loess is compared and studied. Based on the research results of this paper, the recommended values of parameters related to the dynamic response calculation of loess are given, which enrich the research results of the dynamic parameters of soil.
Author Contributions
Conceptualization, F.Q.; writing—original draft preparation, C.C.; visualization, J.B.; data curation, L.W.; validation—formal Analysis, J.W. All authors have read and agreed to the published version of the manuscript.
Funding
This study was financed by Supported by the Earthquake Technology Spark Program of China, Code number XH22023YA.
Institutional Review Board Statement
Not applicable.
Informed Consent Statement
Not applicable.
Data Availability Statement
Not applicable.
Conflicts of Interest
The authors declare no conflict of interest.
Appendix A


References
- Wang, Y. Chinese Loess; Shaanxi People’s Fine Arts Publishing House: Shaanxi, China, 1980. [Google Scholar]
- GB50025-2004; Standard for Building Construction in Collapsible Loess Regions. Ministry of Housing and Urban-Rural Development of the People’s Republic of China; State Administration for Market Regulation: Beijing, China, 2004.
- Gao, G. The Distribution and Geotechnical Properties of Loess Soils, Lateritic Soils and Clayey Soils in China. Eng. Geol. 1996, 42, 95–98. [Google Scholar] [CrossRef]
- Wang, L.-m.; Wang, H.; Lin, Y. Comparison of liquefaction of loess in China, USA and Russia. In Proceedings of the 4th International Conference on Recent Progress on Earthquake Engineering and Soil Dynamics, San Diego, CA, USA, 24–29 May 2007. [Google Scholar]
- Qiao, J.; Zheng, J.; Liu, Z. The distribution and major engineering problems of special soil and rock along One Belt One Road. J. Catastrophol. 2019, 34, 65–71. [Google Scholar]
- Li, B.; Miao, T. Research on Water Sensitivity of Loess Shear Strength. Chin. J. Rock Mech. Eng. 2006, 25, 1003–1008. [Google Scholar]
- Garakani, A.A.; Haeri, S.M.; Khosravi, A.; Habibagahi, G. Hydro-Mechanical Behavior of Undisturbed Collapsible Loessial Soils under Different Stress State Conditions. Eng. Geol. 2015, 195, 28–41. [Google Scholar] [CrossRef]
- Puri, V.K. Liquefaction Behavior and Dynamic Properties of Loessial (Silty) Soils. Ph.D. Thesis, University of Missouri-Rolla, Columbia, MO, USA, 1984. [Google Scholar]
- Shannon, S. Liquefaction and Settlement Characteristics of Silt Soils. Ph.D. Thesis, University of Missouri-Rolla, Columbia, MO, USA, 1989. [Google Scholar]
- Seed, H.B.; Cetin, K.O.; Moss, R.E.S. Recent advances in soil liquefaction engineering: A unified and consistent framework. In Proceedings of the 26th Annual ASCE Los Angeles Geotechnical Spring Seminar, Long Beach, CA, USA, 30 April 2003; pp. 1–71. [Google Scholar]
- Wang, J.; Wang, L.M.; Wang, P.; Wang, Q.; Wei, M. A study of liquefaction characterisitcs of saturated loess in different regions. Hydrogeol. Eng. Geol. 2011, 38, 54–57. [Google Scholar]
- Fattah, M.Y.; Al-Shakarchi, Y.J.; Al-Numani, H.N. Effect of Time History on Long-Term Deformation of Gypseous Soils. Stud. Geotech. Mech. 2022, 1–13. [Google Scholar] [CrossRef]
- Al-Gharbawi, A.S.A.; Fattah, M.Y.; Mahmood, M.R. Effect of Carbonation on the Collapse Potential of Magnesium Oxide Treated Gypseous Soil. Int. J. Eng. Trans. A Basics 2022, 35, 706–714. [Google Scholar] [CrossRef]
- Mosallamy, M.E.; Fattah, T.T.A.E.; Mohammed, K.E. Experimental study on the determination of small strain-shear modulus of loess soil. HBRC J. 2016, 12, 181–190. [Google Scholar] [CrossRef]
- Wang, Q.; Jinlian, M.A.; Haiping, M.A.; Wang, J.; Wang, L.M.; Gao, Z.N. Dynamic shear modulus and damping ratio of saturated loess. Chin. J. Rock Mech. Eng. 2019, 38, 1919–1927. [Google Scholar]
- Jia, J.; He, X.; Jin, Y. Statistics; China Renmin University Press: Beijing, China, 2014. [Google Scholar]
- Li, B. Probability and Statistics; Tongji University Press: Shanghai, China, 1994. [Google Scholar]
- Zhang, K.; Liu, S. Soil Mechanics; China Architecture and Building Press: Beijing, China, 2010. [Google Scholar]
- Liu, H. Fundamentals of Applied Mathematical Statistics; Shanxi Science Education Press: Xian, China, 1987. [Google Scholar]
- DB001-94; Evaluation of Seismic Safety for Engineering Sites. People’s Republic of China Earthquake Industry Standard: Beijing, China, 1994.
- Liao, Z. Seismic Microzonation: Theory and Practice; Earthquake Press: Beijing, China, 1989. [Google Scholar]
- Lan, J.-Y.; BO, J.-S.; LV, Y.-J. Study on the Effect of Shear Wave Velocity on the Design Spectrum. Technol. Earthq. Disaster Prev. 2007, 1, 19–24. [Google Scholar]
Disclaimer/Publisher’s Note: The statements, opinions and data contained in all publications are solely those of the individual author(s) and contributor(s) and not of MDPI and/or the editor(s). MDPI and/or the editor(s) disclaim responsibility for any injury to people or property resulting from any ideas, methods, instructions or products referred to in the content. |
© 2023 by the authors. Licensee MDPI, Basel, Switzerland. This article is an open access article distributed under the terms and conditions of the Creative Commons Attribution (CC BY) license (https://creativecommons.org/licenses/by/4.0/).