Rough-Set-Based Rule Induction with the Elimination of Outdated Big Data: Case of Renewable Energy Equipment Promotion
Abstract
:1. Introduction
- Considerations of how to handle data deletion in a Big Data system;
- An effective analysis of renewable energy data to improve the renewable energy market;
- The generation of decision rules used in an assessment scheme to promote renewable energy and proposed managerial implications.
2. Literature Review
2.1. Renewable Energy
2.2. Rough Set Theory
2.3. Research Gap
3. Solution Approach
3.1. Customer Analysis Rules
- Customer characteristic attributes are customer data that enterprises apply to customer composition analysis, such as customer type, gender and annual income.
- Government data attributes are data acquired from government agencies and integrated with customer data, such as residential electricity consumption, electricity change, regional tariff and regional payroll.
- Customer behavior and experience attributes are customer data based on customer feedback and the evaluations of their prior purchase factors.
- For the DAREA methodology, every conditional attribute is given a weight to calculate the strength index (SI), and the third-category attributes are given higher weights. Adjusting the weights is a key process of the DAREA developed in this study. The summary of all attributes is shown in Table 1.
3.2. Rule Change
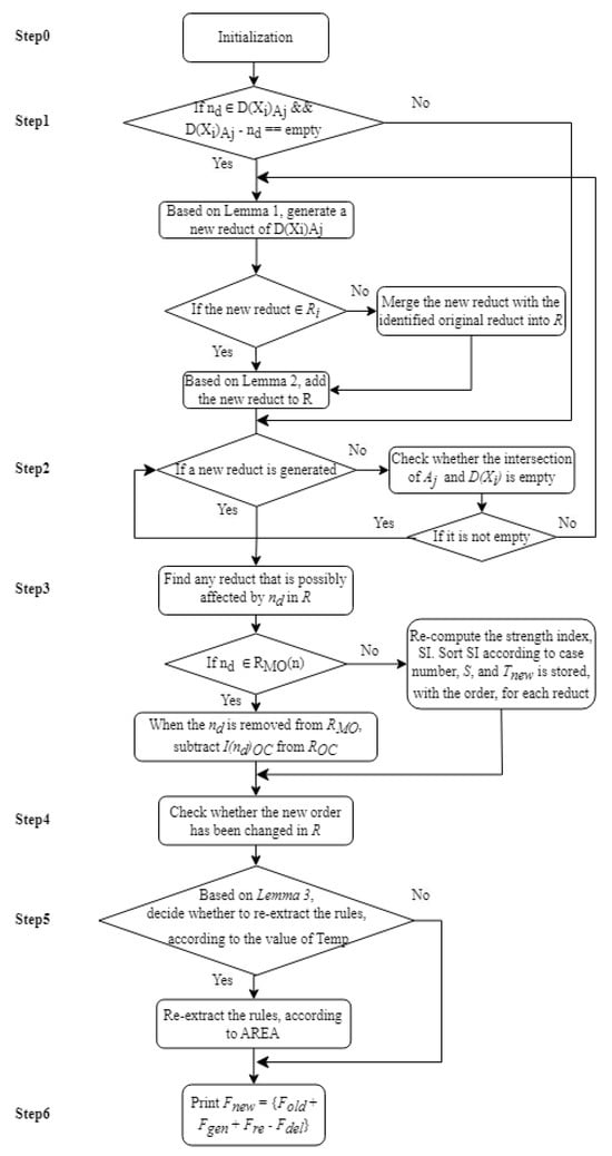
3.3. Algorithms
| Algorithm 1: DAREA |
| Input: The number of a removed object, nd. Output: The set of decision rules and alternative rules, Fnew. Step 0. Initialization (i). When an object is removed, set the object number to be nd. (ii). Set S = 1, l = 1, Fold = original rules set, Fnew = Ø, Fgen = Ø, Fre = Ø, Fdel = Ø. Step 1. For i = 1 to q For j = 1 to r If nd ∈ D(Xi)Aj && D(Xi)Aj − nd == empty Based on Lemma 1, go to step 1.1. Else go to step 2 End If Endfor Endfor Step 1.1. Apply the reduct generation procedure of Pawlak to generate a new reduct of D(Xi)Aj. Step 1.2. Check whether the new reduct exists in the R. For i = 1 to k If the new reduct ∈ Ri Based on Lemma 2, go to step 1.2.1. Else go to step 1.2.2. End If Endfor Step 1.2.1. Add the new reduct to R. Step 1.2.2. Merge the new reduct with the identified original reduct into R. The new reduct of object number joins RMO and the cardinality is also added to ROC. Step 2. Check whether the new reduct is better than the original. For l = 1 to L If a new reduct is generated, Go to step 2.1. Else go to step 3. End If Endfor Step 2.l. Check whether the intersection of Aj and D(Xi) is empty. If it is empty Go to Step 1.1. Else go to step 2. End If Step 3. Find any reduct that is possibly affected by nd in R. For n = 1 to k If nd ∈ RMO(n) Go to step 3.1. End If Endfor Go to step 3.2. Step 3.1. When the nd is removed from RMO, subtract I(nd)OC from ROC. Step 3.2. Re-compute the strength index, SI. Sort SI according to case number, S, and Tnew is stored, with the order, for each reduct. Step 4. Check whether the new order has been changed in R. Temp = 0 For n = 1 to k If Tnew(n) != Told(n) Temp = 1 End If Endfor Step 5. Decide whether to re-extract the rules, according to the value of Temp. Based on Lemma 3, if Temp = 1, the rules must be re-extracted, so go To Step 5.1, else go To Step 6. Step 5.1. Re-extract the rules, according to AREA Set Fold = the original rules, Fgen = the new rules, Fre = the replaced rules, Fdel = the deleted rules. Step 6. Print Fnew = {Fold + Fgen + Fre − Fdel}. |
3.4. Time Complexity and Comparison
4. Case Study
4.1. Background
4.2. Data Analysis
4.3. Managerial Implication
5. Conclusions
Author Contributions
Funding
Institutional Review Board Statement
Informed Consent Statement
Data Availability Statement
Conflicts of Interest
Abbreviations
| U | Set of objects; |
| A | Set of attributes; |
| d | Set of decision attributes; |
| i | Object index; |
| j | Attribute index; |
| n | Reduct index; |
| l | Value of new level; |
| L | Number of original levels; |
| q | Number of object data; |
| r | Number of attributes; |
| k | Number of reducts in “reduct set of table”; |
| S | Case number; |
| Tnew | Number of sort SI according to case number S in the new reduct set of tables; |
| Told | Number of sort SI according to case number S in the original reduct set of tables; |
| Temp | The order number of SI that has changed and is different from the original; |
| Xi | The i-th object; |
| aij | The j-th value set of attributes for object Xi; |
| nd | Number of removed objects; |
| I() | The original information table; |
| Aj | The j-th attribute; |
| I(Xi)Aj | The j-th attribute for object Xi column in I, the original information table; |
| D() | The difference set of each attribute Aj (the equivalent class of each object) and attribute d (the equivalent class of each object corresponding to decisive) of the table; |
| D(Xi)Aj | The j-th attribute for object Xi column in the difference set; |
| E | Extended table; |
| R | Reduct set; |
| Reductnew | The new reduct set; |
| Reductold | The old reduct set; |
| F | Final rule table; |
| Fold | The set of rules (reducts) selected from old rules; |
| Fnew | The set of rules (reducts) selected from new rules; |
| Fgen | The set of rules (reducts) selected from generating rules; |
| Fre | The set of rules (reducts) selected from replacing rules; |
| Fdel | The set of rules (reducts) selected from new deleting rules; |
| OC | Column of object cardinality; |
| MO | Column of merged object; |
| ROC | Index set of columns of object cardinality in the reduct set of tables; |
| RMO | Index set of columns of merged object no in the reduct set of tables; |
| SO | Column of support object. |
| n | Total number of original objects; |
| m | Total number of attributes; |
| r | Total number of rules; |
| q | Total number of reducts after being removed; |
| k | Total number of objects after being removed; |
| Ncor | Total number of original reducts from the object that generates the rule (or reduct); |
| Nnr | Total number of reducts from new data set; |
| Nr | Total number of rules from rule set. |
References
- Czúcz, B.; Gathman, J.P.; McPherson, G.R. The impending peak and decline of petroleum production: An underestimated challenge for conservation of ecological integrity. Conserv. Biol. 2010, 24, 948–956. [Google Scholar] [CrossRef] [PubMed]
- Fantazzini, D.; Höök, M.; Angelantoni, A. Global oil risks in the early 21st century. Energy Policy 2011, 39, 7865–7873. [Google Scholar] [CrossRef]
- Oncel, S.S. Green energy engineering: Opening a green way for the future. J. Clean. Prod. 2017, 142, 3095–3100. [Google Scholar] [CrossRef]
- Dincer, I. Renewable energy and sustainable development: A crucial review. Renew. Sustain. Energy Rev. 2000, 4, 157–175. [Google Scholar] [CrossRef]
- George, G.; Howard-Grenville, J.; Joshi, A.; Tihanyi, L. Understanding and tackling societal grand challenges through management research. Acad. Manag. J. 2016, 59, 1880–1895. [Google Scholar] [CrossRef]
- Bhowmik, C.; Bhowmik, S.; Ray, A.; Pandey, K.M. Optimal green energy planning for sustainable development: A review. Renew. Sustain. Energy Rev. 2017, 71, 796–813. [Google Scholar] [CrossRef]
- Wüstenhagen, R.; Bilharz, M. Green energy market development in Germany: Effective public policy and emerging customer demand. Energy Policy 2006, 34, 1681–1696. [Google Scholar] [CrossRef]
- SGDs. United Nations. 2015. Available online: https://sdgs.un.org/goals (accessed on 28 April 2023).
- COP26. 2021. Available online: https://ukcop26.org/cop26-goals/ (accessed on 28 April 2023).
- Awan, U. Green marketing: Marketing strategies for the Swedish energy companies. Int. J. Ind. Mark. 2011, 1, 1. [Google Scholar] [CrossRef]
- Dwivedi, Y.K.; Hughes, L.; Kar, A.K.; Baabdullah, A.M.; Grover, P.; Abbas, R.; Andreini, D.; Abumoghli, I.; Barlette, Y.; Bunker, D. Climate change and COP26: Are digital technologies and information management part of the problem or the solution? An editorial reflection and call to action. Int. J. Inf. Manag. 2022, 63, 102456. [Google Scholar] [CrossRef]
- Papagiannidis, S.; Marikyan, D. Environmental Sustainability: A technology acceptance perspective. Int. J. Inf. Manag. 2021, 63, 102445. [Google Scholar] [CrossRef]
- Singh, M.; Sahu, G.P. Towards adoption of Green IS: A literature review using classification methodology. Int. J. Inf. Manag. 2020, 54, 102147. [Google Scholar] [CrossRef]
- de la Rue du Can, S.; Leventis, G.; Phadke, A.; Gopal, A. Design of incentive programs for accelerating penetration of energy-efficient appliances. Energy Policy 2014, 72, 56–66. [Google Scholar] [CrossRef]
- Lee, C.W.; Zhong, J. Top down strategy for renewable energy investment: Conceptual framework and implementation. Renew. Energy 2014, 68, 761–773. [Google Scholar] [CrossRef]
- Lee, S.-C.; Shih, L.-H. Renewable energy policy evaluation using real option model—The case of Taiwan. Energy Econ. 2010, 32, S67–S78. [Google Scholar] [CrossRef]
- Pee, L.; Pan, S.L. Climate-intelligent cities and resilient urbanisation: Challenges and opportunities for information research. Int. J. Inf. Manag. 2021, 63, 102446. [Google Scholar] [CrossRef]
- Mohamad Radzi, P.N.L.; Akhter, M.N.; Mekhilef, S.; Mohamed Shah, N. Review on the Application of Photovoltaic Forecasting Using Machine Learning for Very Short-to Long-Term Forecasting. Sustainability 2023, 15, 2942. [Google Scholar] [CrossRef]
- Ceci, M.; Corizzo, R.; Fumarola, F.; Ianni, M.; Malerba, D.; Maria, G.; Masciari, E.; Oliverio, M.; Rashkovska, A. Big data techniques for supporting accurate predictions of energy production from renewable sources. In Proceedings of the 19th International Database Engineering Applications Symposium, Yokohama, Japan, 13–15 July 2015. [Google Scholar]
- Yao, Q.; Wu, Z.; Zhu, C.; Song, S.; Qiu, X.; Liu, S. Architecture Design and Application of Global Renewable Energy Reserves Evaluation and planning Platform. In Proceedings of the 2019 IEEE Sustainable Power and Energy Conference (iSPEC), Beijing, China, 21–23 November 2019. [Google Scholar]
- Devaraj, J.; Madurai Elavarasan, R.; Shafiullah, G.; Jamal, T.; Khan, I. A holistic review on energy forecasting using big data and deep learning models. Int. J. Energy Res. 2021, 45, 13489–13530. [Google Scholar] [CrossRef]
- Li, R.; Wen, H.; Huang, X.; Liu, Y. Renewable Energy: A Curse or Blessing—International Evidence. Sustainability 2023, 15, 11103. [Google Scholar] [CrossRef]
- Duić, N.; da Graça Carvalho, M. Increasing renewable energy sources in island energy supply: Case study Porto Santo. Renew. Sustain. Energy Rev. 2004, 8, 383–399. [Google Scholar] [CrossRef]
- Alharthi, M.; Hanif, I.; Alamoudi, H. Impact of environmental pollution on human health and financial status of households in MENA countries: Future of using renewable energy to eliminate the environmental pollution. Renew. Energy 2022, 190, 338–346. [Google Scholar] [CrossRef]
- Kandpal, T.C.; Broman, L. Renewable energy education: A global status review. Renew. Sustain. Energy Rev. 2014, 34, 300–324. [Google Scholar] [CrossRef]
- Yang, J.; Zheng, C.; Liu, H. Digital Transformation and Rule of Law Based on Peak CO2 Emissions and Carbon Neutrality. Sustainability 2022, 14, 7487. [Google Scholar] [CrossRef]
- Welch, T.F.; Widita, A. Big data in public transportation: A review of sources and methods. Transp. Rev. 2019, 39, 795–818. [Google Scholar] [CrossRef]
- Fazelpour, F.; Vafaeipour, M.; Rahbari, O.; Rosen, M.A. Intelligent optimization to integrate a plug-in hybrid electric vehicle smart parking lot with renewable energy resources and enhance grid characteristics. Energy Convers. Manag. 2014, 77, 250–261. [Google Scholar] [CrossRef]
- Venetsanos, K.; Angelopoulou, P.; Tsoutsos, T. Renewable energy sources project appraisal under uncertainty: The case of wind energy exploitation within a changing energy market environment. Energy Policy 2002, 30, 293–307. [Google Scholar] [CrossRef]
- Lee, I.; Mangalaraj, G. Big data analytics in supply chain management: A systematic literature review and research directions. Big Data Cogn. Comput. 2022, 6, 17. [Google Scholar] [CrossRef]
- Menegaki, A. Valuation for renewable energy: A comparative review. Renew. Sustain. Energy Rev. 2008, 12, 2422–2437. [Google Scholar] [CrossRef]
- Duan, Y.; Edwards, J.S.; Dwivedi, Y.K. Artificial intelligence for decision making in the era of Big Data–evolution, challenges and research agenda. Int. J. Inf. Manag. 2019, 48, 63–71. [Google Scholar] [CrossRef]
- Cohen, J.; Dolan, B.; Dunlap, M.; Hellerstein, J.M.; Welton, C. MAD skills: New analysis practices for big data. Proc. VLDB Endow. 2009, 2, 1481–1492. [Google Scholar] [CrossRef]
- Karasuyama, M.; Takeuchi, I. Multiple incremental decremental learning of support vector machines. IEEE Trans. Neural Netw. 2010, 21, 1048–1059. [Google Scholar] [CrossRef]
- Brewer, E.A. Combining systems and databases: A search engine retrospective. Read. Database Syst. 2005, 4, 247–261. [Google Scholar]
- Al Ayub Ahmed, A.; Rajesh, S.; Lohana, S.; Ray, S.; Maroor, J.P.; Naved, M. Using Machine Learning and Data Mining to Evaluate Modern Financial Management Techniques. In Proceedings of the Second International Conference in Mechanical and Energy Technology: ICMET 2021, Greater Noida, India, 28–29 October 2021. [Google Scholar]
- Pawlak, Z. Rough sets. Int. J. Comput. Inf. Sci. 1982, 11, 341–356. [Google Scholar] [CrossRef]
- Pawlak, Z.; Skowron, A. Rudiments of rough sets. Inf. Sci. 2007, 177, 3–27. [Google Scholar] [CrossRef]
- Huang, B.; Wei, D.-K.; Li, H.-X.; Zhuang, Y.-L. Using a rough set model to extract rules in dominance-based interval-valued intuitionistic fuzzy information systems. Inf. Sci. 2013, 221, 215–229. [Google Scholar] [CrossRef]
- Abed-Elmdoust, A.; Kerachian, R. Wave height prediction using the rough set theory. Ocean Eng. 2012, 54, 244–250. [Google Scholar] [CrossRef]
- Liu, Y.; Huang, W.; Jiang, Y.; Zeng, Z. Quick attribute reduct algorithm for neighborhood rough set model. Inf. Sci. 2014, 271, 65–81. [Google Scholar] [CrossRef]
- Lingras, P.; Yao, Y. Data mining using extensions of the rough set model. J. Am. Soc. Inf. Sci. 1998, 49, 415–422. [Google Scholar] [CrossRef]
- Swiniarski, R.W.; Skowron, A. Rough set methods in feature selection and recognition. Pattern Recognit. Lett. 2003, 24, 833–849. [Google Scholar] [CrossRef]
- Tseng, T.-L.B.; Huang, C.-C. Rough set-based approach to feature selection in customer relationship management. Omega 2007, 35, 365–383. [Google Scholar] [CrossRef]
- Morley, C.L. A dynamic international demand model. Ann. Tour. Res. 1998, 25, 70–84. [Google Scholar] [CrossRef]
- Huang, C.C.; Tseng, T.L.B.; Jiang, F.; Fan, Y.N.; Hsu, C.H. Rough set theory: A novel approach for extraction of robust decision rules based on incremental attributes. Ann. Oper. Res. 2014, 216, 163–189. [Google Scholar] [CrossRef]
- Liang, J.; Wang, F.; Dang, C.; Qian, Y. A group incremental approach to feature selection applying rough set technique. IEEE Trans. Knowl. Data Eng. 2014, 26, 294–308. [Google Scholar] [CrossRef]
- Yong, L.; Congfu, X.; Yunhe, P. An incremental rule extracting algorithm based on Pawlak reduction. In Proceedings of the 2004 IEEE International Conference on Systems, Man and Cybernetics, The Hague, The Netherlands, 10–13 October 2004; Volume 6, pp. 5964–5968. [Google Scholar]
- Zhang, J.; Li, T.; Chen, H. Composite rough sets for dynamic data mining. Inf. Sci. 2014, 257, 81–100. [Google Scholar] [CrossRef]
- Luo, C.; Li, T.; Chen, H.; Liu, D. Incremental approaches for updating approximations in set-valued ordered information systems. Knowl. Based Syst. 2013, 50, 218–233. [Google Scholar] [CrossRef]
- Li, S.; Li, T.; Liu, D. Incremental updating approximations in dominance-based rough sets approach under the variation of the attribute set. Knowl. Based Syst. 2013, 40, 17–26. [Google Scholar] [CrossRef]
- Zhang, Z. Model building strategy for logistic regression: Purposeful selection. Ann. Transl. Med. 2016, 4, 111. [Google Scholar] [CrossRef] [PubMed]
- Shu, W.; Qian, W.; Xie, Y. Incremental feature selection for dynamic hybrid data using neighborhood rough set. Knowl. Based Syst. 2020, 194, 105516. [Google Scholar] [CrossRef]
- Yang, X.; Li, M.; Fujita, H.; Liu, D.; Li, T. Incremental rough reduction with stable attribute group. Inf. Sci. 2022, 589, 283–299. [Google Scholar] [CrossRef]
- Huang, W.; She, Y.; He, X.; Ding, W. Fuzzy Rough Sets-Based Incremental Feature Selection for Hierarchical Classification. IEEE Trans. Fuzzy Syst. 2023, 31, 3721–3733. [Google Scholar] [CrossRef]
- Liu, D.; Li, T.; Zhang, J. A rough set-based incremental approach for learning knowledge in dynamic incomplete information systems. Int. J. Approx. Reason. 2014, 55, 1764–1786. [Google Scholar] [CrossRef]
- Fan, Y.N.; Tseng, T.L.B.; Chern, C.C.; Huang, C.C. Rule induction based on an incremental rough set. Expert Syst. Appl. 2009, 36, 11439–11450. [Google Scholar] [CrossRef]
- Tseng, T.L.B. Quantitative Approaches for Information Modeling; The University of Iowa: Iowa City, IA, USA, 1999. [Google Scholar]
- Huang, C.C.; Tseng, T.L.B.; Fan, Y.N.; Hsu, C.H. Alternative rule induction methods based on incremental object using rough set theory. Appl. Soft Comput. 2013, 13, 372–389. [Google Scholar] [CrossRef]
- Pawlak, Z. Rough Sets; Kluwer Academic Publishers: Dordrecht, The Netherlands, 1991. [Google Scholar]
- Sun, B.; Morwitz, V.G. Stated intentions and purchase behavior: A unified model. Int. J. Res. Mark. 2010, 27, 356–366. [Google Scholar] [CrossRef]
- Hallowell, R. The relationships of customer satisfaction, customer loyalty, and profitability: An empirical study. Int. J. Serv. Ind. Manag. 1996, 7, 27–42. [Google Scholar] [CrossRef]
- Bowen, J.T.; Chen, S.L. The relationship between customer loyalty and customer satisfaction. Int. J. Contemp. Hosp. Manag. 2001, 13, 213–217. [Google Scholar] [CrossRef]
- Shirazi, F.; Mohammadi, M. A big data analytics model for customer churn prediction in the retiree segment. Int. J. Inf. Manag. 2019, 48, 238–253. [Google Scholar] [CrossRef]
- LaValle, S.; Lesser, E.; Shockley, R.; Hopkins, M.S.; Kruschwitz, N. Big data, analytics and the path from insights to value. MIT Sloan Manag. Rev. 2011, 52, 21–32. [Google Scholar]



| Customer Characteristic Attributes | Government Data Attributes | Customer Behavior and Experience Attributes | Output | ||||||||
|---|---|---|---|---|---|---|---|---|---|---|---|
| Object | Gender | Age | Revenue | … | Kilowatt | Electricity Growth | … | Purchase Factors | Purchase Time | Satisfaction | Cardinality |
| 1 | M | 20 | 23 k | … | 200 | 1% | … | Cost | 1 year | H | 20 |
| 2 | F | 40 | 50 k | … | 300 | 3% | … | Environmental | 2 years | M | 15 |
| 3 | M | 35 | 100 k | … | 500 | −1% | … | Environmental | Over 5 years | L | 5 |
| … | … | … | … | … | … | … | … | … | … | … | … |
| Weight | 0.1 | 0.2 | 0.5 | … | 0.4 | 0.6 | … | 0.7 | 0.8 | ||
| Generate New Rule | Replace Old Rule | Delete Old Rule | ||
|---|---|---|---|---|
| Case 1 | ---- | ---- | ---- | |
| Case 2 | ---- | ---- | ✓ | |
| Case 3 | ---- | ✓ | ---- | |
| Case 4 | ✓ | ---- | ---- | |
| Case 5 | Case 5.1 | ✓ | ✓ | ---- |
| Case 5.2 | ✓ | ---- | ✓ | |
| Case 5.3 | ---- | ✓ | ✓ | |
| Case 5.4 | ✓ | ✓ | ✓ | |
| Case No. | Time Complexity |
|---|---|
| Case 1 | O(nm(Ncor)) |
| Case 2 | O(nm(Ncor) + r(Nr)) |
| Case 3 | O(nm(Ncor) + q(Nnr) + r(Nr)) |
| Case 4 | O(nm(Ncor) + q(Nnr)) |
| Case 5 | O(nm(Ncor) + q(Nnr) + r(Nr)) |
| AREA | O(m2 k (Ncor) + qk(Nnr) + r(Nr)) |
| Attribute Name | 1 | 2 | 3 | 4 | 5 | 6 | |
|---|---|---|---|---|---|---|---|
| A1 | Customer Type | General public | Company | Government | Other | - | - |
| A2 | Gender | Male | Female | another | - | - | - |
| A3 | Age | <24 | 25~34 | 35~44 | 45~54 | 55~64 | >65 |
| A4 | Revenue/Year | <25 K | 26~50 | 51~75 | 76~100 | >101 | - |
| A5 | Education level | Junior high | Senior high | Universities and colleges | Above | - | - |
| A6 | Marital | Married | Unmarried | - | - | - | - |
| A7 | Willingness | Yes | No | - | - | - | - |
| A8 | Age of house | <5 | 6~30 | >30 | - | - | - |
| A9 | House area (m2) | <75 | 75~200 | >201 | - | - | - |
| A10 | Floors | <5 | 6~15 | >16 | - | - | - |
| A11 | Area | The first three digits of the zip code | |||||
| A12 | Using green power | Yes | No | - | - | - | - |
| A13 | Monthly electricity consumption | <300 | 301~600 | 601~1000 | >1001 | - | - |
| A14 | Average monthly electricity bill | <1000 | 1001~2000 | 2001~5000 | >5001 | - | - |
| A15 | Electricity growth rate/year | <1% | 1~3% | >3% | - | - | - |
| A16 | Time from the last purchase products (year) | <1 | 1~2 | 2~5 | >5 | - | - |
| A17 | Product ID | The purchased product ID | |||||
| A18 | Purchase intentions | Cost | Social and environmental | Brand | Policy | Other | - |
| Outcome | Customer satisfaction | Very bad | Bad | Normal | Good | Very good | - |
| Object | A1 | A2 | A3 | A4 | A5 | A6 | A7 | A8 | A9 | A10 | A11 | A12 | A13 | A14 | A15 | A16 | A17 | A18 | O | Cardinal Number |
|---|---|---|---|---|---|---|---|---|---|---|---|---|---|---|---|---|---|---|---|---|
| 1 | 1 | 2 | 2 | 2 | 2 | 3 | 2 | 1 | 2 | 1 | 3 | 2 | 2 | 2 | 2 | 1 | 7 | 2 | 3 | 3 |
| 2 | 1 | 1 | 2 | 3 | 3 | 2 | 1 | 2 | 2 | 2 | 2 | 1 | 1 | 1 | 1 | 1 | 4 | 1 | 3 | 9 |
| 3 | 2 | 2 | 3 | 2 | 2 | 1 | 2 | 1 | 1 | 1 | 2 | 2 | 2 | 2 | 2 | 4 | 5 | 2 | 1 | 15 |
| 4 | 2 | 2 | 1 | 2 | 2 | 1 | 3 | 1 | 3 | 1 | 2 | 2 | 3 | 3 | 3 | 3 | 3 | 3 | 2 | 11 |
| 5 | 2 | 1 | 4 | 2 | 3 | 1 | 3 | 1 | 2 | 2 | 2 | 1 | 1 | 1 | 1 | 4 | 1 | 4 | 4 | 17 |
| 6 | 2 | 1 | 3 | 2 | 3 | 2 | 2 | 2 | 1 | 1 | 2 | 2 | 3 | 3 | 3 | 3 | 3 | 3 | 4 | 2 |
| 7 | 2 | 1 | 3 | 3 | 3 | 1 | 2 | 1 | 3 | 2 | 2 | 1 | 3 | 3 | 3 | 3 | 10 | 2 | 5 | 53 |
| 8 | 1 | 3 | 1 | 2 | 2 | 1 | 2 | 1 | 1 | 2 | 3 | 2 | 1 | 1 | 3 | 1 | 1 | 2 | 1 | 13 |
| 9 | 3 | 1 | 4 | 3 | 3 | 2 | 2 | 2 | 2 | 1 | 2 | 2 | 2 | 2 | 2 | 2 | 4 | 2 | 3 | 12 |
| 10 | 3 | 1 | 3 | 2 | 2 | 2 | 2 | 1 | 2 | 2 | 3 | 1 | 3 | 3 | 3 | 4 | 3 | 3 | 2 | 7 |
| 11 | 2 | 2 | 3 | 1 | 3 | 2 | 1 | 1 | 2 | 2 | 2 | 1 | 3 | 3 | 3 | 3 | 8 | 3 | 3 | 12 |
| 12 | 1 | 2 | 2 | 4 | 2 | 1 | 2 | 2 | 1 | 1 | 3 | 2 | 2 | 2 | 2 | 2 | 2 | 1 | 2 | 27 |
| 13 | 2 | 1 | 3 | 2 | 3 | 1 | 2 | 1 | 3 | 2 | 3 | 2 | 3 | 3 | 3 | 4 | 3 | 3 | 5 | 22 |
| 14 | 4 | 2 | 1 | 2 | 3 | 1 | 2 | 1 | 3 | 2 | 3 | 1 | 3 | 3 | 3 | 3 | 9 | 4 | 4 | 8 |
| 15 | 2 | 3 | 2 | 1 | 3 | 2 | 1 | 1 | 2 | 1 | 3 | 2 | 3 | 3 | 3 | 3 | 6 | 3 | 2 | 11 |
| …… | ||||||||||||||||||||
| 500 | 1 | 2 | 3 | 5 | 2 | 1 | 4 | 2 | 3 | 3 | 2 | 1 | 3 | 4 | 2 | 2 | 7 | 2 | 4 | 6 |
| wj | 0.75 | 0.28 | 0.75 | 0.92 | 0.61 | 0.25 | 0.67 | 0.65 | 0.6 | 0.4 | 0.65 | 0.67 | 0.82 | 0.81 | 0.79 | 0.32 | 1.0 | 0.91 |
| Rule | A1 | A2 | A3 | A4 | A5 | A6 | A7 | A8 | A9 | A10 | A11 | A12 | A13 | A14 | A15 | A16 | A17 | A18 | O |
|---|---|---|---|---|---|---|---|---|---|---|---|---|---|---|---|---|---|---|---|
| 1 | 1 | 1 | 2 | 1 | 2 | 5 | |||||||||||||
| 2 | 3 | 1 | 1 | 1 | 2 | 5 | |||||||||||||
| 3 | 2 | 3 | 3 | 106 | 9 | 1 | 3 | ||||||||||||
| 4 | 1 | 3 | 1 | 4 | 8 | 1 | |||||||||||||
| 5 | 2 | 4 | 2 | 4 | 1 | ||||||||||||||
| 6 | 2 | 5 | 110 | 4 | 4 | 8 | 5 | ||||||||||||
| 7 | 1 | 2 | 1 | 2 | 1 | 4 | |||||||||||||
| 8 | 3 | 3 | 4 | 1 | 2 | 4 | |||||||||||||
| 9 | 2 | 2 | 3 | 3 | 12 | 5 | |||||||||||||
| 10 | 3 | 2 | 2 | 3 | 3 | 2 | |||||||||||||
| 11 | 4 | 2 | 1 | 4 | 3 | ||||||||||||||
| 12 | 2 | 3 | 1 | 2 | 4 | 4 | |||||||||||||
| 13 | 1 | 1 | 1 | 8 | 1 | 5 | |||||||||||||
| 14 | 2 | 1 | 2 | 9 | 3 | ||||||||||||||
| 15 | 1 | 3 | 2 | 1 | 3 | 4 | |||||||||||||
| …. |
| Object | A1 | A2 | A3 | A4 | A5 | A6 | A7 | A8 | A9 | A10 | A11 | A12 | A13 | A14 | A15 | A16 | A17 | A18 | O | Cardinal Number |
|---|---|---|---|---|---|---|---|---|---|---|---|---|---|---|---|---|---|---|---|---|
| 1 | 1 | 2 | 2 | 2 | 2 | 3 | 2 | 1 | 2 | 1 | 3 | 2 | 2 | 2 | 2 | 1 | 7 | 2 | 3 | 3 |
| 2 | 1 | 1 | 2 | 3 | 3 | 2 | 1 | 2 | 2 | 2 | 2 | 1 | 1 | 1 | 1 | 1 | 4 | 1 | 3 | 9 |
| 3 | 2 | 2 | 3 | 2 | 2 | 1 | 2 | 1 | 1 | 1 | 2 | 2 | 2 | 2 | 2 | 4 | 8 | 2 | 1 | 15 |
| 4 | 2 | 2 | 1 | 2 | 2 | 1 | 3 | 1 | 3 | 1 | 2 | 2 | 3 | 3 | 3 | 3 | 3 | 3 | 2 | 11 |
| 5 | 2 | 1 | 4 | 2 | 3 | 1 | 3 | 1 | 2 | 2 | 2 | 1 | 1 | 1 | 1 | 4 | 1 | 4 | 4 | 17 |
| 6 | 2 | 1 | 3 | 2 | 3 | 2 | 2 | 2 | 1 | 1 | 2 | 2 | 3 | 3 | 3 | 3 | 3 | 3 | 4 | 2 |
| 7 | 2 | 1 | 3 | 3 | 3 | 1 | 2 | 1 | 3 | 2 | 2 | 1 | 3 | 3 | 3 | 3 | 10 | 2 | 5 | 53 |
| 8 | 1 | 3 | 1 | 2 | 2 | 1 | 2 | 1 | 1 | 2 | 3 | 2 | 1 | 1 | 3 | 1 | 1 | 2 | 1 | 13 |
| 9 | 3 | 1 | 4 | 3 | 3 | 2 | 2 | 2 | 2 | 1 | 2 | 2 | 2 | 2 | 2 | 2 | 4 | 2 | 3 | 12 |
| 10 | 3 | 1 | 3 | 2 | 2 | 2 | 2 | 1 | 2 | 2 | 3 | 1 | 3 | 3 | 3 | 4 | 3 | 3 | 2 | 7 |
| 11 | 2 | 2 | 3 | 1 | 3 | 2 | 1 | 1 | 2 | 2 | 2 | 1 | 3 | 3 | 3 | 3 | 8 | 3 | 3 | 12 |
| 12 | 1 | 2 | 2 | 4 | 2 | 1 | 2 | 2 | 1 | 1 | 3 | 2 | 2 | 2 | 2 | 2 | 2 | 1 | 2 | 27 |
| 13 | 2 | 1 | 3 | 2 | 3 | 1 | 2 | 1 | 3 | 2 | 3 | 2 | 3 | 3 | 3 | 4 | 3 | 3 | 5 | 22 |
| 14 | 4 | 2 | 1 | 2 | 3 | 1 | 2 | 1 | 3 | 2 | 3 | 1 | 3 | 3 | 3 | 3 | 9 | 4 | 4 | 8 |
| 15 | 2 | 3 | 2 | 1 | 3 | 2 | 1 | 1 | 2 | 1 | 3 | 2 | 3 | 3 | 3 | 3 | 6 | 3 | 2 | 11 |
| …… | ||||||||||||||||||||
| 500 | 1 | 2 | 3 | 5 | 2 | 1 | 4 | 2 | 3 | 3 | 2 | 1 | 3 | 4 | 2 | 2 | 7 | 2 | 4 | 6 |
| wj | 0.33 | 0.28 | 0.75 | 0.88 | 0.61 | 0.25 | 0.67 | 0.65 | 0.6 | 0.4 | 0.85 | 0.67 | 0.92 | 0.81 | 0.79 | 0.32 | 1.0 | 0.62 |
| Object | A1 | A2 | A3 | A4 | A5 | A6 | A7 | A8 | A9 | A10 | A11 | A12 | A13 | A14 | A15 | A16 | A17 | A18 | O | Cardinal Number |
|---|---|---|---|---|---|---|---|---|---|---|---|---|---|---|---|---|---|---|---|---|
| 1 | 1 | 2 | 2 | 2 | 2 | 3 | 2 | 1 | 2 | 1 | 3 | 2 | 2 | 2 | 2 | 1 | 7 | 2 | 3 | 3 |
| 2 | 1 | 1 | 2 | 3 | 3 | 2 | 1 | 2 | 2 | 2 | 2 | 1 | 1 | 1 | 1 | 1 | 4 | 1 | 3 | 9 |
| 3 | 2 | 2 | 1 | 2 | 2 | 1 | 3 | 1 | 3 | 1 | 2 | 2 | 3 | 3 | 3 | 3 | 3 | 3 | 2 | 11 |
| 4 | 2 | 1 | 3 | 2 | 3 | 2 | 2 | 2 | 1 | 1 | 2 | 2 | 3 | 3 | 3 | 3 | 3 | 3 | 4 | 2 |
| 5 | 2 | 1 | 3 | 3 | 3 | 1 | 2 | 1 | 3 | 2 | 2 | 1 | 3 | 3 | 3 | 3 | 10 | 2 | 5 | 53 |
| 6 | 1 | 3 | 1 | 2 | 2 | 1 | 2 | 1 | 1 | 2 | 3 | 2 | 1 | 1 | 3 | 1 | 1 | 2 | 1 | 13 |
| 7 | 3 | 1 | 4 | 3 | 3 | 2 | 2 | 2 | 2 | 1 | 2 | 2 | 2 | 2 | 2 | 2 | 4 | 2 | 3 | 12 |
| 8 | 2 | 2 | 3 | 1 | 3 | 2 | 1 | 1 | 2 | 2 | 2 | 1 | 3 | 3 | 3 | 3 | 8 | 3 | 3 | 12 |
| 9 | 1 | 2 | 2 | 4 | 2 | 1 | 2 | 2 | 1 | 1 | 3 | 2 | 2 | 2 | 2 | 2 | 2 | 1 | 2 | 27 |
| 10 | 4 | 2 | 1 | 2 | 3 | 1 | 2 | 1 | 3 | 2 | 3 | 1 | 3 | 3 | 3 | 3 | 9 | 4 | 4 | 8 |
| 11 | 2 | 3 | 2 | 1 | 3 | 2 | 1 | 1 | 2 | 1 | 3 | 2 | 3 | 3 | 3 | 3 | 6 | 3 | 2 | 11 |
| …… | ||||||||||||||||||||
| 430 | 1 | 2 | 3 | 5 | 2 | 1 | 4 | 2 | 3 | 3 | 2 | 1 | 3 | 4 | 2 | 2 | 7 | 2 | 4 | 6 |
| wj | 0.75 | 0.28 | 0.75 | 0.92 | 0.61 | 0.25 | 0.67 | 0.65 | 0.6 | 0.4 | 0.85 | 0.67 | 0.92 | 0.81 | 0.79 | 0.32 | 1.0 | 0.62 |
| Rule | A1 | A2 | A3 | A4 | A5 | A6 | A7 | A8 | A9 | A10 | A11 | A12 | A13 | A14 | A15 | A16 | A17 | A18 | O |
|---|---|---|---|---|---|---|---|---|---|---|---|---|---|---|---|---|---|---|---|
| 1 | 1 | 1 | 2 | 1 | 2 | 5 | |||||||||||||
| 2 | 3 | 1 | 1 | 1 | 2 | 5 | |||||||||||||
| 3 | 2 | 3 | 3 | 106 | 9 | 1 | 3 | ||||||||||||
| 4 | 1 | 3 | 1 | 4 | 8 | 1 | |||||||||||||
| 5 | 2 | 4 | 2 | 4 | 1 | ||||||||||||||
| 6 | 2 | 5 | 110 | 4 | 4 | 8 | 5 | ||||||||||||
| 7 | 1 | 2 | 1 | 2 | 1 | 4 | |||||||||||||
| 8 | 3 | 3 | 4 | 1 | 2 | 4 | |||||||||||||
| 9 | 2 | 2 | 3 | 3 | 12 | 5 | |||||||||||||
| 10 | 3 | 2 | 2 | 3 | 3 | 2 | |||||||||||||
| 11 | 4 | 2 | 1 | 4 | 3 | ||||||||||||||
| 12 | 2 | 3 | 1 | 2 | 4 | 4 | |||||||||||||
| 13 | 1 | 1 | 1 | 8 | 1 | 5 | |||||||||||||
| 14 | 2 | 1 | 2 | 9 | 3 | ||||||||||||||
| 15 | 1 | 3 | 2 | 1 | 3 | 4 | |||||||||||||
| …. |
Disclaimer/Publisher’s Note: The statements, opinions and data contained in all publications are solely those of the individual author(s) and contributor(s) and not of MDPI and/or the editor(s). MDPI and/or the editor(s) disclaim responsibility for any injury to people or property resulting from any ideas, methods, instructions or products referred to in the content. |
© 2023 by the authors. Licensee MDPI, Basel, Switzerland. This article is an open access article distributed under the terms and conditions of the Creative Commons Attribution (CC BY) license (https://creativecommons.org/licenses/by/4.0/).
Share and Cite
Huang, C.-C.; Liang, W.-Y.; Gung, R.R.; Wang, P.-A. Rough-Set-Based Rule Induction with the Elimination of Outdated Big Data: Case of Renewable Energy Equipment Promotion. Sustainability 2023, 15, 14984. https://doi.org/10.3390/su152014984
Huang C-C, Liang W-Y, Gung RR, Wang P-A. Rough-Set-Based Rule Induction with the Elimination of Outdated Big Data: Case of Renewable Energy Equipment Promotion. Sustainability. 2023; 15(20):14984. https://doi.org/10.3390/su152014984
Chicago/Turabian StyleHuang, Chun-Che, Wen-Yau Liang, Roger R. Gung, and Pei-An Wang. 2023. "Rough-Set-Based Rule Induction with the Elimination of Outdated Big Data: Case of Renewable Energy Equipment Promotion" Sustainability 15, no. 20: 14984. https://doi.org/10.3390/su152014984
APA StyleHuang, C.-C., Liang, W.-Y., Gung, R. R., & Wang, P.-A. (2023). Rough-Set-Based Rule Induction with the Elimination of Outdated Big Data: Case of Renewable Energy Equipment Promotion. Sustainability, 15(20), 14984. https://doi.org/10.3390/su152014984

