Investigating Multidimensional Factors Influencing Switching Intention on School Bus among Chinese Parents—A Push–Pull–Mooring Framework
Abstract
1. Introduction
2. Research Background
2.1. Comparison of School Bus Development Status
2.2. Research Model and Hypotheses
2.2.1. Push Effect
2.2.2. Mooring Effect
2.2.3. Pull Effect
3. Survey Design
4. Results
4.1. Measurement Model
4.1.1. Reliability and Validity Analysis
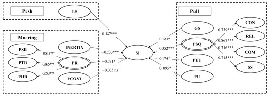
4.1.2. Structure Model and Hypothesis Tests
4.2. Bayesian Network Analysis
4.2.1. Model Construction
4.2.2. Model Performance
4.2.3. Prediction and Diagnosis
5. Discussion
5.1. Theoretical Implications
5.1.1. Factors Influencing Parental Switching Intention
5.1.2. Effects of Perceived Service Quality and Perceived Risk
5.2. Practical Implications
6. Conclusions
Author Contributions
Funding
Institutional Review Board Statement
Informed Consent Statement
Data Availability Statement
Acknowledgments
Conflicts of Interest
Appendix A. Questionnaire Items Used in This Research
| Constructs | Items | Sources |
| Perceived Security Risk (PSK) | PSK1: I am concerned that my child could be bullied or bullying by other children on the way to the school bus or on the school bus. | [56] |
| PSK2: I am concerned that my child could be harassed or hurt by other children on the way to or on the school bus. | ||
| PSK3: I am concerned that my child could be molested or abducted by an adult on the way to the school bus. | ||
| Perceived Traffic Risk (PTR) | PTR1: I am concerned that school bus drivers may be speeding, fatigued driving, drunk driving, and other violations that may threaten the safety of children | [30,99] |
| PTR2: I am concerned that the school bus will break down in a way that threatens the safety of the children. | ||
| PTR3: I am concerned that the school bus will collide with another vehicle while in motion and cause injury to the children. | ||
| Perceived Health Risk (PHR) | PHR1: I am concerned that my child may be infected with an epidemic by traveling with other students on the school bus. | [52,100] |
| PHR2: I am concerned that my child may be at risk of contracting infectious diseases such as COVID-19 by riding the school bus. | ||
| PHR3: I am concerned that the air in the school bus is not well-ventilated and that the children may catch epidemic diseases. | ||
| Perceived Cost (PCOST) | PCOST1: I think the fare of the school bus is unreasonable. | [29] |
| PCOST2: I think the cost is higher for the children’s commute to take the school bus. | ||
| PCOST3: I think the school bus fare is too high. | ||
| Inertia (INERTIA) | INERTIA 1: I think it would be a hassle to have children switch to taking the school bus to and from school after providing school buses. | [26] |
| INERTIA 2: Even though the school provides buses, I still used to let my children travel to and from school in the current way. | ||
| INERTIA 3: I do not plan to make changes that switching from the current way to using the school bus to commute after the school provides it. | ||
| Convenience (CON) | CON1: The school bus is a convenient way to get around the school without the need for a midway transfer. | [99] |
| CON2: The school bus can take children directly to school which is very convenient. | ||
| CON3: The route of the school bus will be reasonably planned to save children’s time to and from school. | ||
| Reliability (REL) | PBC1: The school bus departs at a reasonable time that would not delay the children’s classes or their return home. | |
| PBC2: The school bus is able to escort my child to the station on time as specified. | ||
| PBC3: The school bus can follow the prescribed route and has a fixed pick-up and drop-off place. | ||
| Comfort (COM) | COM1: I think the school bus is not crowded and the ride is very comfortable. | |
| COM2: I think the school bus can ensure one seat for each student and there is no shortage of seats. | ||
| COM3: I think the environment inside the school bus is neat and comfortable. | ||
| Staff Service (SS) | SS1: The school bus has special staff to follow who will provide timely and reasonable care when children have an accident (e.g., seasickness, physical discomfort, etc.) | |
| SS2: The special staff can inform me of my child’s arrival when the school bus arrives at the school. | ||
| SS3: The special staff can promptly remind my child to get on or off the bus when the school bus arrives at a station. | ||
| Government Support (GS) | GS1: I think the government will make substantial subsidies (e.g., fare subsidies) to promote the usage of school buses. | [101] |
| GS2: I think the government will strengthen the management of school buses and improve the laws and regulations related to the operation of school buses. | ||
| GS3: I think the government will subsidize the purchase and operation of school buses. | ||
| Switching Intention (SI) | SI1: I would like to let my child use the school bus to get to and from school instead of after the school provides a school bus. | [26] |
| SI2: I want to change the current mode of transportation for children to and from school and switch to school buses after the school provides school buses. | ||
| SI3: I plan to let my children use the school bus to and from school after the school provides a bus. | ||
| Perceived Usefulness (PU) | PU1: The school bus could help me solve the problem of children traveling to and from school (e.g., parents can’t pick up their children but worry about the safety of their children going to and from school by themselves), which is a very practical way to travel. | [90] |
| PU2: Taking a school bus is an effective way to improve the safety and comfort of school travel. | ||
| PU3: Overall, school buses could be a very practical way to travel to school. | ||
| Perceived Ease of Use (PEU) | PEU1: My child could easily learn how to ride the school bus to and from school. | [102] |
| PEU2: I think children could easily master the school bus ride (e.g., finding the stop, finding their seat, etc.). | ||
| PEU3: The school bus is an easy way to get around with special staff to remind children to get on and off the bus on time. | ||
| Low Satisfaction (LS) | LS1: I am not satisfied with the current way my children travel to and from school. | [103] |
| LS2: I think the current way of traveling to and from school for my children is problematic in terms of safety and comfort, which makes me dissatisfied. | ||
| LS3: I think the current way of traveling to and from school for my children does not meet my expectations in terms of safety, comfort, etc. |
References
- Choudhury, C.F. Modeling Preference for School Bus Service in Dhaka: An SP Based Approach. In Proceedings of the TRB 2011 Annual Meeting, Washington, DC, USA, 23–27 January 2011; Volume 21. [Google Scholar]
- McDonald, N.; Aalborg, A. Why Parents Drive Children to School: Implications for Safe Routes to School Programs. J. Am. Plan. Assoc. 2009, 75, 331–342. [Google Scholar] [CrossRef]
- Donnellan, N.; Egli, V.; Smith, M. ‘I’d Paint Rainbows and Unicorns on It’: Understanding Children’s School Travel Behaviours and the Impact of a New Shared Path. J. Transp. Health 2020, 17, 100838. [Google Scholar] [CrossRef]
- Ourcecn Nine out of 10 Parents Surveyed Have Trouble Picking up and Dropping off Their Children. Available online: https://baijiahao.baidu.com/s?id=1697696784791772899&wfr=spider&for=pc (accessed on 22 April 2021).
- Liu, Y.; Ji, Y.; Liu, Q.; He, M.; Ma, X. Investigating Electric Bicycles as a Travel Mode Choice for Escorting Children to School: A Case Study in Kunming, China. Transp. Res. Rec. 2017, 2634, 8–16. [Google Scholar] [CrossRef]
- Marshall, J.D.; Wilson, R.D.; Meyer, K.L.; Rajangam, S.K.; McDonald, N.C.; Wilson, E.J. Vehicle Emissions during Children’s School Commuting: Impacts of Education Policy. Environ. Sci. Technol. 2010, 44, 1537–1543. [Google Scholar] [CrossRef]
- Modern Express. We Will Promote School Buses to Ensure Children’s Access to School. Available online: https://m.thepaper.cn/baijiahao_11533647 (accessed on 3 March 2021).
- Wilson, E.J.; Wilson, R.; Krizek, K.J. The Implications of School Choice on Travel Behavior and Environmental Emissions. Transp. Res. Part D Transp. Environ. 2007, 12, 506–518. [Google Scholar] [CrossRef]
- Zhang, S.; Jing, P.; Yuan, D.; Yang, C. On Parents’ Choice of the School Travel Mode during the COVID-19 Pandemic. MBE 2022, 19, 9412–9436. [Google Scholar] [CrossRef]
- Ermagun, A.; Levinson, D. Intra-Household Bargaining for School Trip Accompaniment of Children: A Group Decision Approach. Transp. Res. Part A Policy Pract. 2016, 94, 222–234. [Google Scholar] [CrossRef]
- Ma, L.; Xiong, H.; Wang, Z.; Xie, K. Impact of Weather Conditions on Middle School Students’ Commute Mode Choices: Empirical Findings from Beijing, China. Transp. Res. Part D Transp. Environ. 2019, 68, 39–51. [Google Scholar] [CrossRef]
- School Bus Traveling School Bus Alliance|Domestic School Bus Services Facing Problems. Available online: https://baijiahao.baidu.com/s?id=1680050646835347515&wfr=spider&for=pc (accessed on 9 October 2020).
- School Bus Traveling School Bus Market Potential Is Huge, But the Operation Has Always Restricted the Development of the Industry. Available online: https://baijiahao.baidu.com/s?id=1674239056206320015&wfr=spider&for=pc (accessed on 6 August 2020).
- Halawani, A.T.M.; Rehimi, F. Evaluation of the Intention to Shift to Public Transit in Saudi Arabia. Transp. Res. Part D Transp. Environ. 2021, 94, 102809. [Google Scholar] [CrossRef]
- Hao, J.; Zhang, L.; Ji, X.; Tang, J. Modeling and Analyzing of Family Intention for the Customized Student Routes: A Case Study in China. Phys. A Stat. Mech. Its Appl. 2020, 542, 123399. [Google Scholar] [CrossRef]
- Deka, D. An Explanation of the Relationship between Adults’ Work Trip Mode and Children’s School Trip Mode through the Heckman Approach. J. Transp. Geogr. 2013, 31, 54–63. [Google Scholar] [CrossRef]
- Ermagun, A.; Levinson, D. Public Transit, Active Travel, and the Journey to School: A Cross-Nested Logit Analysis. Transp. A Transp. Sci. 2017, 13, 24–37. [Google Scholar] [CrossRef]
- Jing, P.; Wang, J.; Chen, L.; Zha, Q. Incorporating the Extended Theory of Planned Behavior in a School Travel Mode Choice Model: A Case Study of Shaoxing, China. Transp. Plan. Technol. 2018, 41, 119–137. [Google Scholar] [CrossRef]
- Vitale, M.; Millward, H.; Spinney, J. School Siting and Mode Choices for School Travel: Rural–Urban Contrasts in Halifax, Nova Scotia, Canada. Case Stud. Transp. Policy 2019, 7, 64–72. [Google Scholar] [CrossRef]
- Lidbe, A.; Li, X.; Adanu, E.K.; Nambisan, S.; Jones, S. Exploratory Analysis of Recent Trends in School Travel Mode Choices in the U.S. Transp. Res. Interdiscip. Perspect. 2020, 6, 100146. [Google Scholar] [CrossRef]
- Han, H.; Hyun, S.S. Image Congruence and Relationship Quality in Predicting Switching Intention: Conspicuousness of Product Use as a Moderator Variable. J. Hosp. Tour. Res. 2013, 37, 303–329. [Google Scholar] [CrossRef]
- Cheng, S. An Empirical Investigation of Users’ Voluntary Switching Intention for Mobile Personal Cloud Storage Services Based on the Push-Pull-Mooring Framework. Comput. Hum. Behav. 2019, 92, 198–215. [Google Scholar] [CrossRef]
- Jung, J.; Han, H.; Oh, M. Travelers’ Switching Behavior in the Airline Industry from the Perspective of the Push-Pull-Mooring Framework. Tour. Manag. 2017, 59, 139–153. [Google Scholar] [CrossRef]
- Nimako, S.G. Consumer Switching Behaviour: A Theoretical Review and Research Agenda. Int. J. Res. J. Soc. Sci. Manag. 2012, 2, 74–82. [Google Scholar]
- Sajjad, A.; Chu, J.; Anwar, M.A.; Asmi, F. Between Green and Gray: Smog Risk and Rationale behind Vehicle Switching. J. Clean. Prod. 2020, 244, 118674. [Google Scholar] [CrossRef]
- Wang, S.; Wang, J.; Yang, F. From Willingness to Action: Do Push-Pull-Mooring Factors Matter for Shifting to Green Transportation? Transp. Res. Part D Transp. Environ. 2020, 79, 102242. [Google Scholar] [CrossRef]
- Li, F.; Lee, E.S.; Zhou, B.; Liu, J.; Zhu, Y. Effects of the Window Openings on the Micro-Environmental Condition in a School Bus. Atmos. Environ. 2017, 167, 434–443. [Google Scholar] [CrossRef]
- Li, C.-Y. Consumer Behavior in Switching between Membership Cards and Mobile Applications: The Case of Starbucks. Comput. Hum. Behav. 2018, 84, 171–184. [Google Scholar] [CrossRef]
- Chang, H.H.; Wong, K.H.; Li, S.Y. Applying Push-Pull-Mooring to Investigate Channel Switching Behaviors: M-Shopping Self-Efficacy and Switching Costs as Moderators. Electron. Commer. Res. Appl. 2017, 24, 50–67. [Google Scholar] [CrossRef]
- Nguyen-Phuoc, D.Q.; Phuong Tran, A.T.; Nguyen, T.V.; Le, P.T.; Su, D.N. Investigating the Complexity of Perceived Service Quality and Perceived Safety and Security in Building Loyalty among Bus Passengers in Vietnam—A PLS-SEM Approach. Transp. Policy 2021, 101, 162–173. [Google Scholar] [CrossRef]
- Yang, J.; Peek-Asa, C.; Cheng, G.; Heiden, E.; Falb, S.; Ramirez, M. Incidence and Characteristics of School Bus Crashes and Injuries. Accid. Anal. Prev. 2009, 41, 336–341. [Google Scholar] [CrossRef]
- Adar, S.D.; Davey, M.; Sullivan, J.R.; Compher, M.; Szpiro, A.; Sally Liu, L.-J. Predicting Airborne Particle Levels Aboard Washington State School Buses. Atmos. Environ. 2008, 42, 7590–7599. [Google Scholar] [CrossRef]
- Mindell, J.S.; Ergler, C.; Hopkins, D.; Mandic, S. Taking the Bus? Barriers and Facilitators for Adolescent Use of Public Buses to School. Travel Behav. Soc. 2021, 22, 48–58. [Google Scholar] [CrossRef]
- Beck, L.F.; Nguyen, D.D. School Transportation Mode, by Distance between Home and School, United States, ConsumerStyles 2012. J. Saf. Res. 2017, 62, 245–251. [Google Scholar] [CrossRef]
- Wilson, E.J.; Marshall, J.; Wilson, R.; Krizek, K.J. By Foot, Bus or Car: Children’s School Travel and School Choice Policy. Env. Plan A 2010, 42, 2168–2185. [Google Scholar] [CrossRef]
- National Association of State Directors of Pupil Transportation Services. Position Paper Non-Conforming Vans Used for School Transportation; National Association of State Directors of Pupil Transportation Services: Arlington, VA, USA, 2017; p. 4. [Google Scholar]
- Yang, X.; Xu, S.; Zhang, J.; Ma, C. Comparison of National Standards for School Buses in China and the United States and Dynamic Test of School Bus Seats. J. Automot. Saf. Energy Sav. 2013, 4, 152–160. [Google Scholar]
- Bansal, H.S. “Migrating” to New Service Providers: Toward a Unifying Framework of Consumers’ Switching Behaviors. J. Acad. Mark. Sci. 2005, 33, 96–115. [Google Scholar] [CrossRef]
- Chen, Y.-H.; Keng, C.-J. Utilizing the Push-Pull-Mooring-Habit Framework to Explore Users’ Intention to Switch from Offline to Online Real-Person English Learning Platform. INTR 2019, 29, 167–193. [Google Scholar] [CrossRef]
- Shiv, B.; Huber, J. The Impact of Anticipating Satisfaction on Consumer Choice. J. Consum. Res. 2000, 27, 202–216. [Google Scholar] [CrossRef]
- Johnson, S.S.; Paiva, A.L.; Cummins, C.O.; Johnson, J.L.; Dyment, S.J.; Wright, J.A.; Prochaska, J.O.; Prochaska, J.M.; Sherman, K. Transtheoretical Model-Based Multiple Behavior Intervention for Weight Management: Effectiveness on a Population Basis. Prev. Med. 2008, 46, 238–246. [Google Scholar] [CrossRef]
- Hou, A.C.Y.; Chern, C.-C.; Chen, H.-G.; Chen, Y.-C. ‘Migrating to a New Virtual World’: Exploring MMORPG Switching through Human Migration Theory. Comput. Hum. Behav. 2011, 27, 1892–1903. [Google Scholar] [CrossRef]
- De Vos, J. The Effect of COVID-19 and Subsequent Social Distancing on Travel Behavior. Transp. Res. Interdiscip. Perspect. 2020, 5, 100121. [Google Scholar] [CrossRef]
- Sakellariou, A.; Kotoula, K.M.; Morfoulaki, M.; Mintsis, G. Identification of Quality Indexes in School Bus Transportation System. Transp. Res. Procedia 2017, 24, 212–219. [Google Scholar] [CrossRef]
- Polites, G.L.; Karahanna, E. Shackled to the Status Quo: The Inhibiting Effects of Incumbent System Habit, Switching Costs, and Inertia on New System Acceptance. MIS Q. 2012, 36, 21. [Google Scholar] [CrossRef]
- Dogra, N.; Bakshi, S.; Gupta, A. Exploring the Switching Intention of Patients to E-Health Consultations Platforms: Blending Inertia with Push–Pull–Mooring Framework. J. Asia Bus. Stud. 2022. ahead-of-print. [Google Scholar] [CrossRef]
- Cox, D.F.; Rich, S.U. Perceived Risk and Consumer Decision-Making—The Case of Telephone Shopping. J. Mark. Res. 1964, 1, 32–39. [Google Scholar]
- Nguyen, M.H.; Nguyen-Phuoc, D.Q.; Johnson, L.W. Why Do Parents Intend to Permit Their Children to Ride E-Bikes? Empirical Evidence from Vietnam. Travel Behav. Soc. 2023, 32, 100586. [Google Scholar] [CrossRef]
- Carver, A.; Timperio, A.; Hesketh, K.; Crawford, D. Are Children and Adolescents Less Active If Parents Restrict Their Physical Activity and Active Transport Due to Perceived Risk? Soc. Sci. Med. 2010, 70, 1799–1805. [Google Scholar] [CrossRef] [PubMed]
- Chang, K.; Vits, C.; Seely, B. School Bus Safety: Evaluating the Evolution of Compartmentalization and Seat Belt Restraints. Transp. Res. Rec. 2015, 2513, 72–79. [Google Scholar] [CrossRef]
- Neira-Munoz, E.; Smith, J.; Cockcroft, P.; Basher, D.; Abubakar, I. Extensive transmission of mycobacterium tuberculosis among children on a school bus. Pediatr. Infect. Dis. J. 2008, 27, 836–837. [Google Scholar] [CrossRef]
- Zheng, D.; Luo, Q.; Ritchie, B.W. Afraid to Travel after COVID-19? Self-Protection, Coping and Resilience against Pandemic ‘Travel Fear. Tour. Manag. 2021, 83, 104261. [Google Scholar] [CrossRef]
- Sinha, I.P.; Harwood, R.; Semple, M.G.; Hawcutt, D.B.; Thursfield, R.; Narayan, O.; Kenny, S.E.; Viner, R.; Hewer, S.L.; Southern, K.W. COVID-19 Infection in Children. Lancet Respir. Med. 2020, 8, 446–447. [Google Scholar] [CrossRef]
- Nguyen, M.H.; Pojani, D.; Nguyen, T.C.; Ha, T.T. The Impact of COVID-19 on Children’s Active Travel to School in Vietnam. J. Transp. Geogr. 2021, 96, 103191. [Google Scholar] [CrossRef]
- Wang, Y.; Douglas, M.; Hazen, B. Diffusion of Public Bicycle Systems: Investigating Influences of Users’ Perceived Risk and Switching Intention. Transp. Res. Part A Policy Pract. 2021, 143, 1–13. [Google Scholar] [CrossRef]
- Scheiner, J.; Huber, O.; Lohmüller, S. Children’s Mode Choice for Trips to Primary School: A Case Study in German Suburbia. Travel Behav. Soc. 2019, 15, 15–27. [Google Scholar] [CrossRef]
- Lee, C.; Zhu, X.; Yoon, J.; Varni, J.W. Beyond Distance: Children’s School Travel Mode Choice. Ann. Behav. Med. 2013, 45, 55–67. [Google Scholar] [CrossRef] [PubMed]
- Hu, X.; Wu, J.; Bai, Y.; Xin, Y. Quantitative Analysis of School Safety Events in China. J. Saf. Sci. Resil. 2020, 1, 73–79. [Google Scholar] [CrossRef]
- Machogu, A.M.; Okiko, L. The Perception of Bank Employees Towards Cost of Adoption, Risk of Innovation, and Staff Training’s Influence on The Adoption of Information and Communication Technology in The Rwandan Commercial Banks. J. Internet Bank. Commer. 1970, 17, 1–15. [Google Scholar]
- AlSoufi, A.; Ali, H. Customers’ perception of m-banking adoption in kingdom of bahrain: An empirical assessment of an extended tam model. Int. J. Manag. Inf. Technol. 2014, 13-26, 13–26. [Google Scholar]
- Kuo, R.-Z. Why Do People Switch Mobile Payment Service Platforms? An Empirical Study in Taiwan. Technol. Soc. 2020, 62, 101312. [Google Scholar] [CrossRef]
- Ding, L.; Zhang, N. A Travel Mode Choice Model Using Individual Grouping Based on Cluster Analysis. Procedia Eng. 2016, 137, 786–795. [Google Scholar] [CrossRef]
- Ministry of Education of the People’s Republic of China. What Are the Rates for School Bus Transfers to Elementary School Students?—Ministry of Education of the People’s Republic of China. Available online: http://www.moe.gov.cn/jyb_hygq/hygq_zczx/moe_1346/moe_1352/201410/t20141009_175749.html (accessed on 10 March 2022).
- The People’s Government of Jiangyong County. Approval of Adjusting the Charging Standard of School Bus Operation Service of He Yonghua School Bus Company Limited—The People’s Government of Jiangyong County. Available online: http://www.jiangyong.gov.cn/jiangyong/jgsf/201408/da8ad32473f54bb489154d3f591ac812.shtml (accessed on 10 March 2022).
- McDonald, N.C.; McGrane, A.B.; Rodgman, E.A.; Steiner, R.L.; Palmer, W.M.; Lytle, B.F. Assessing Multimodal School Travel Safety in North Carolina. Accid. Anal. Prev. 2015, 74, 126–132. [Google Scholar] [CrossRef]
- Jain, N.K.; Bhaskar, K.; Jain, S. What Drives Adoption Intention of Electric Vehicles in India? An Integrated UTAUT Model with Environmental Concerns, Perceived Risk and Government Support. Res. Transp. Bus. Manag. 2021, 42, 100730. [Google Scholar] [CrossRef]
- Cao, J.; Liu, F.; Shang, M.; Zhou, X. Toward Street Vending in Post COVID-19 China: Social Networking Services Information Overload and Switching Intention. Technol. Soc. 2021, 66, 101669. [Google Scholar] [CrossRef]
- Ramanathan, S.; O’Brien, C.; Faulkner, G.; Stone, M. Happiness in Motion: Emotions, Well-Being, and Active School Travel. J. Sch. Health 2014, 84, 516–523. [Google Scholar] [CrossRef]
- Eboli, L.; Mazzulla, G. A Stated Preference Experiment for Measuring Service Quality in Public Transport. Transp. Plan. Technol. 2008, 31, 509–523. [Google Scholar] [CrossRef]
- Ratanavaraha, V.; Jomnonkwao, S.; Khampirat, B.; Watthanaklang, D.; Iamtrakul, P. The Complex Relationship between School Policy, Service Quality, Satisfaction, and Loyalty for Educational Tour Bus Services: A Multilevel Modeling Approach. Transp. Policy 2016, 45, 116–126. [Google Scholar] [CrossRef]
- Agyeman, S.; Cheng, L. Analysis of Barriers to Perceived Service Quality in Ghana: Students’ Perspectives on Bus Mobility Attributes. Transp. Policy 2020, 99, 63–85. [Google Scholar] [CrossRef]
- Díez-Mesa, F.; de Oña, R.; de Oña, J. Bayesian Networks and Structural Equation Modelling to Develop Service Quality Models: Metro of Seville Case Study. Transp. Res. Part A Policy Pract. 2018, 118, 1–13. [Google Scholar] [CrossRef]
- Lai, W.-T.; Chen, C.-F. Behavioral Intentions of Public Transit Passengers—The Roles of Service Quality, Perceived Value, Satisfaction and Involvement. Transp. Policy 2011, 18, 318–325. [Google Scholar] [CrossRef]
- Khan, M.; Choudhury, C.F.; Wang, J. Modeling Preference for School Bus Service in Dhaka, Bangladesh: Stated Preference Approach. Transp. Res. Rec. 2011, 2239, 64–73. [Google Scholar] [CrossRef]
- Park, J.; Kim, B.-I. The School Bus Routing Problem: A Review. Eur. J. Oper. Res. 2010, 202, 311–319. [Google Scholar] [CrossRef]
- Nayati, M.A.K. School Bus Routing and Scheduling Using GIS. Environ. Anal. Constr. Inf. Technol. 2008, 547, 92. [Google Scholar]
- Cui, B.; Boisjoly, G.; Miranda-Moreno, L.; El-Geneidy, A. Accessibility Matters: Exploring the Determinants of Public Transport Mode Share across Income Groups in Canadian Cities. Transp. Res. Part D Transp. Environ. 2020, 80, 102276. [Google Scholar] [CrossRef]
- Friman, M.; Lättman, K.; Olsson, L.E. Public Transport Quality, Safety, and Perceived Accessibility. Sustainability 2020, 12, 3563. [Google Scholar] [CrossRef]
- Ermagun, A.; Samimi, A. Promoting Active Transportation Modes in School Trips. Transp. Policy 2015, 37, 203–211. [Google Scholar] [CrossRef]
- Davis, F.D. Perceived Usefulness, Perceived Ease of Use, and User Acceptance of Information Technology. MIS Q. 1989, 13, 319. [Google Scholar] [CrossRef]
- Marangunić, N.; Granić, A. Technology Acceptance Model: A Literature Review from 1986 to 2013. Univ. Access Inf. Soc. 2015, 14, 81–95. [Google Scholar] [CrossRef]
- Ramayah, T.; Ignatius, J. Impact of Perceived Usefulness, Perceived Ease of Use and Perceived Enjoyment on Intention to Shop Online. ICFAI J. Syst. Manag. (IJSM) 2005, 16, 36–51. [Google Scholar]
- Singh, S.; Srivastava, P. Social Media for Outbound Leisure Travel: A Framework Based on Technology Acceptance Model (TAM). J. Tour. Futur. 2019, 5, 43–61. [Google Scholar] [CrossRef]
- Tang, D.; Yang, Y.; Yan, Y.; Zhou, M. What Determines Online Consumers to Migrate from PC to Mobile Terminals?—An Empirical Research on Consumers’ online Channel-Migration Behaviors. Int. J. Serv. Technol. Manag. 2014, 10, 46–62. [Google Scholar]
- Subramanian, G.H. A Replication of Perceived Usefulness and Perceived Ease of Use Measurement*. Decis. Sci. 1994, 25, 863–874. [Google Scholar] [CrossRef]
- Lin, C.-L.; Jin, Y.Q.; Zhao, Q.; Yu, S.-W.; Su, Y.-S. Factors Influence Students’ Switching Behavior to Online Learning under COVID-19 Pandemic: A Push–Pull–Mooring Model Perspective. Asia-Pac. Educ. Res. 2021, 30, 229–245. [Google Scholar] [CrossRef]
- Zeng, Z.; Li, S.; Lian, J.-W.; Li, J.; Chen, T.; Li, Y. Switching Behavior in the Adoption of a Land Information System in China: A Perspective of the Push–Pull–Mooring Framework. Land Use Policy 2021, 109, 105629. [Google Scholar] [CrossRef]
- Fornell, C.; Larcker, D.F. Evaluating Structural Equation Models with Unobservable Variables and Measurement Error. J. Mark. Res. 1981, 18, 39–50. [Google Scholar] [CrossRef]
- Ghekiere, A.; Deforche, B.; De Bourdeaudhuij, I.; Clarys, P.; Mertens, L.; Cardon, G.; de Geus, B.; Nasar, J.; Van Cauwenberg, J. An Experimental Study Using Manipulated Photographs to Examine Interactions between Micro-Scale Environmental Factors for Children’s Cycling for Transport. J. Transp. Geogr. 2018, 66, 30–34. [Google Scholar] [CrossRef]
- Dirsehan, T.; Can, C. Examination of Trust and Sustainability Concerns in Autonomous Vehicle Adoption. Technol. Soc. 2020, 63, 101361. [Google Scholar] [CrossRef]
- Wieringa, J.E.; Verhoef, P.C. Understanding Customer Switching Behavior in a Liberalizing Service Market: An Exploratory Study. J. Serv. Res. 2007, 10, 174–186. [Google Scholar] [CrossRef]
- Mohammadfam, I.; Ghasemi, F.; Kalatpour, O.; Moghimbeigi, A. Constructing a Bayesian Network Model for Improving Safety Behavior of Employees at Workplaces. Appl. Ergon. 2017, 58, 35–47. [Google Scholar] [CrossRef]
- Fuster-Parra, P.; García-Mas, A.; Ponseti, F.J.; Palou, P.; Cruz, J. A Bayesian Network to Discover Relationships between Negative Features in Sport: A Case Study of Teen Players. Qual. Quant. 2014, 48, 1473–1491. [Google Scholar] [CrossRef]
- de Oliveira, M.A.; Possamai, O.; Dalla Valentina, L.V.O.; Flesch, C.A. Applying Bayesian Networks to Performance Forecast of Innovation Projects: A Case Study of Transformational Leadership Influence in Organizations Oriented by Projects. Expert Syst. Appl. 2012, 39, 5061–5070. [Google Scholar] [CrossRef]
- Li, J.; Chen, Y.; Tang, Z.; Jiao, C. Study on Key Factors Affecting School Bus Choices by Multinomial Logit Model. Road Traffic Saf. 2015, 15, 32–37. [Google Scholar] [CrossRef]
- Xian, D. A MNL Model on Usage Intention and Mode Choice of Primary and Secondary School Trips. Master’s Thesis, Dalian University of Technology, Dalian, China, 2018. [Google Scholar]
- Cheng, X.; Fu, S.; Yin, G. Does subsidy work? An investigation of post-adoption switching on car-hailing apps. J. Electron. Commer. Res. 2016, 24-48, 24–48. [Google Scholar]
- Bögl, M.; Doerner, K.F.; Parragh, S.N. The School Bus Routing and Scheduling Problem with Transfers. NETWORKS 2015, 65, 180–203. [Google Scholar] [CrossRef]
- Zhang, T.; Tao, D.; Qu, X.; Zhang, X.; Lin, R.; Zhang, W. The Roles of Initial Trust and Perceived Risk in Public’s Acceptance of Automated Vehicles. Transp. Res. Part C Emerg. Technol. 2019, 98, 207–220. [Google Scholar] [CrossRef]
- Joo, D.; Xu, W.; Lee, J.; Lee, C.-K.; Woosnam, K.M. Residents’ Perceived Risk, Emotional Solidarity, and Support for Tourism amidst the COVID-19 Pandemic. J. Destin. Mark. Manag. 2021, 19, 100553. [Google Scholar] [CrossRef]
- Lai, J.-Y.; Wang, J. Switching Attitudes of Taiwanese Middle-Aged and Elderly Patients toward Cloud Healthcare Services: An Exploratory Study. Technol. Forecast. Soc. Chang. 2015, 92, 155–167. [Google Scholar] [CrossRef]
- Moore, G.C.; Benbasat, I. Development of an Instrument to Measure the Perceptions of Adopting an Information Technology Innovation. Inf. Syst. Res. 1991, 2, 192–222. [Google Scholar] [CrossRef]
- Chuang, S.-S.; Lai, H.-M. Understanding Consumers’ Continuance Intention toward Self-Service Stores: An Integrated Model of the Theory of Planned Behavior and Push-Pull-Mooring Theory. In Knowledge Management in Organizations; Uden, L., Ting, I.-H., Corchado, J.M., Eds.; Communications in Computer and Information Science; Springer International Publishing: Cham, Switzerland, 2019; Volume 1027, pp. 149–164. ISBN 978-3-030-21450-0. [Google Scholar]








| Demographic Variables | Description | Sample Size | Percentage |
|---|---|---|---|
| Children gender | Male | 252 | 54.4% |
| Female | 211 | 45.6% | |
| Children age | 5–7 years old | 119 | 25.7% |
| 8–11 years old | 244 | 52.7% | |
| 12–15 years old | 100 | 21.6% | |
| Car number | 0 | 31 | 6.7% |
| ≥1 | 432 | 93.3% | |
| Annual income (CNY) | <150,000 | 134 | 28.9% |
| 150,000–250,000 | 191 | 41.3% | |
| >250,000 | 138 | 29.8% | |
| Unreasonable pick-up and drop-off times | No | 213 | 46.0% |
| Yes | 250 | 54.0% |
| Potential Variable | Reliability | Convergent Validity | |
|---|---|---|---|
| Cronbach’s α | CR | AVE | |
| CON | 0.73 | 0.731 | 0.573 |
| REL | 0.7 | 0.707 | 0.548 |
| COM | 0.79 | 0.79 | 0.557 |
| SS | 0.81 | 0.811 | 0.589 |
| PSR | 0.87 | 0.877 | 0.704 |
| PTR | 0.88 | 0.886 | 0.722 |
| PHR | 0.91 | 0.91 | 0.770 |
| PCOST | 0.86 | 0.866 | 0.685 |
| PEU | 0.79 | 0.788 | 0.651 |
| LS | 0.83 | 0.839 | 0.630 |
| PU | 0.76 | 0.774 | 0.535 |
| INERTIA | 0.86 | 0.859 | 0.671 |
| GS | 0.76 | 0.765 | 0.521 |
| SI | 0.92 | 0.925 | 0.754 |
| Construct | CON | REL | COM | SS | PSR | PTR | PHR | PCOST | PEU | LS | PU | INERTIA | GS | SI |
|---|---|---|---|---|---|---|---|---|---|---|---|---|---|---|
| CON | 0.757 | |||||||||||||
| REL | 0.678 | 0.740 | ||||||||||||
| COM | 0.450 | 0.579 | 0.746 | |||||||||||
| SS | 0.425 | 0.668 | 0.624 | 0.767 | ||||||||||
| PSR | −0.218 | −0.208 | −0.260 | −0.234 | 0.839 | |||||||||
| PTR | −0.166 | −0.265 | −0.139 | −0.187 | 0.692 | 0.850 | ||||||||
| PHR | −0.104 | −0.115 | −0.170 | −0.095 | 0.593 | 0.681 | 0.877 | |||||||
| PCOST | −0.225 | −0.139 | −0.159 | −0.151 | 0.391 | 0.272 | 0.219 | 0.828 | ||||||
| PEU | 0.485 | 0.332 | 0.263 | 0.206 | −0.159 | −0.124 | −0.119 | −0.212 | 0.807 | |||||
| LS | 0.149 | 0.187 | 0.154 | 0.101 | 0.049 | 0.045 | 0.047 | 0.151 | 0.177 | 0.794 | ||||
| PU | 0.693 | 0.605 | 0.523 | 0.450 | −0.230 | −0.164 | −0.131 | −0.202 | 0.492 | 0.231 | 0.731 | |||
| INERTIA | −0.340 | −0.224 | −0.134 | −0.081 | 0.331 | 0.204 | 0.149 | 0.401 | −0.397 | −0.249 | −0.469 | 0.819 | ||
| GS | 0.450 | 0.486 | 0.441 | 0.435 | −0.154 | −0.114 | −0.142 | −0.167 | 0.352 | 0.174 | 0.606 | −0.181 | 0.722 | |
| SI | 0.602 | 0.618 | 0.506 | 0.466 | −0.308 | −0.257 | −0.225 | −0.253 | 0.507 | 0.387 | 0.718 | −0.536 | 0.558 | 0.868 |
| Index | χ2/df | RMSEA | CFI | TLI | SRMR |
|---|---|---|---|---|---|
| Check critical value | <3 | <0.08 | >0.9 | >0.9 | <0.08 |
| Model parameter value | 1.73 | 0.039 | 0.954 | 0.949 | 0.043 |
| Whether to accept | accept | accept | accept | accept | accept |
| Hypothesis | Causal Relationship | Estimate | S.E. | p-Value |
|---|---|---|---|---|
| H1 | LS→SI | 0.187 | 0.037 | 0.000 *** |
| H2 | INERTIA→SI | −0.233 | 0.049 | 0.000 *** |
| H3 | PR→SI | −0.091 | 0.039 | 0.019 * |
| H4 | PCOST→SI | −0.005 | 0.040 | 0.902 |
| H5 | GS→SI | 0.123 | 0.049 | 0.012 * |
| H6 | PSQ→SI | 0.352 | 0.074 | 0.000 *** |
| H7 | PU→SI | 0.174 | 0.078 | 0.025 * |
| H8 | PEU→SI | 0.095 | 0.042 | 0.023 * |
| Dimension estimation | PSR←PR | 0.813 | 0.030 | 0.000 *** |
| PTR←PR | 0.865 | 0.028 | 0.000 *** | |
| PHR←PR | 0.753 | 0.030 | 0.000 *** | |
| CON←PSQ | 0.739 | 0.040 | 0.000 *** | |
| REL←PSQ | 0.867 | 0.034 | 0.000 *** | |
| COM←PSQ | 0.716 | 0.036 | 0.000 *** | |
| SS←PSQ | 0.715 | 0.036 | 0.000 *** |
| Confusion Matrix | Error Rate | Total Error Rate | ||
|---|---|---|---|---|
| Predicted | Actual | |||
| Low | High | |||
| 15 | 0 | Low | 0% | 15.98% |
| 13 | 57 | High | 18.57% | |
Disclaimer/Publisher’s Note: The statements, opinions and data contained in all publications are solely those of the individual author(s) and contributor(s) and not of MDPI and/or the editor(s). MDPI and/or the editor(s) disclaim responsibility for any injury to people or property resulting from any ideas, methods, instructions or products referred to in the content. |
© 2023 by the authors. Licensee MDPI, Basel, Switzerland. This article is an open access article distributed under the terms and conditions of the Creative Commons Attribution (CC BY) license (https://creativecommons.org/licenses/by/4.0/).
Share and Cite
Jing, P.; Zha, Y.; Pan, K.; Xue, Y. Investigating Multidimensional Factors Influencing Switching Intention on School Bus among Chinese Parents—A Push–Pull–Mooring Framework. Sustainability 2023, 15, 7770. https://doi.org/10.3390/su15107770
Jing P, Zha Y, Pan K, Xue Y. Investigating Multidimensional Factors Influencing Switching Intention on School Bus among Chinese Parents—A Push–Pull–Mooring Framework. Sustainability. 2023; 15(10):7770. https://doi.org/10.3390/su15107770
Chicago/Turabian StyleJing, Peng, Ye Zha, Kewen Pan, and Ying Xue. 2023. "Investigating Multidimensional Factors Influencing Switching Intention on School Bus among Chinese Parents—A Push–Pull–Mooring Framework" Sustainability 15, no. 10: 7770. https://doi.org/10.3390/su15107770
APA StyleJing, P., Zha, Y., Pan, K., & Xue, Y. (2023). Investigating Multidimensional Factors Influencing Switching Intention on School Bus among Chinese Parents—A Push–Pull–Mooring Framework. Sustainability, 15(10), 7770. https://doi.org/10.3390/su15107770

