Experimental Investigation of Consolidated Undrained Shear Behavior on Peaty Soil in Dian-Chi, China
Abstract
1. Introduction
2. Experimental Program
2.1. Field Site
2.2. Peat Mineralogy Composition and Index Properties
2.3. Test Procedure
3. Experimental Results and Analyses
3.1. Back Pressure Saturation
3.2. Isotropic Consolidation
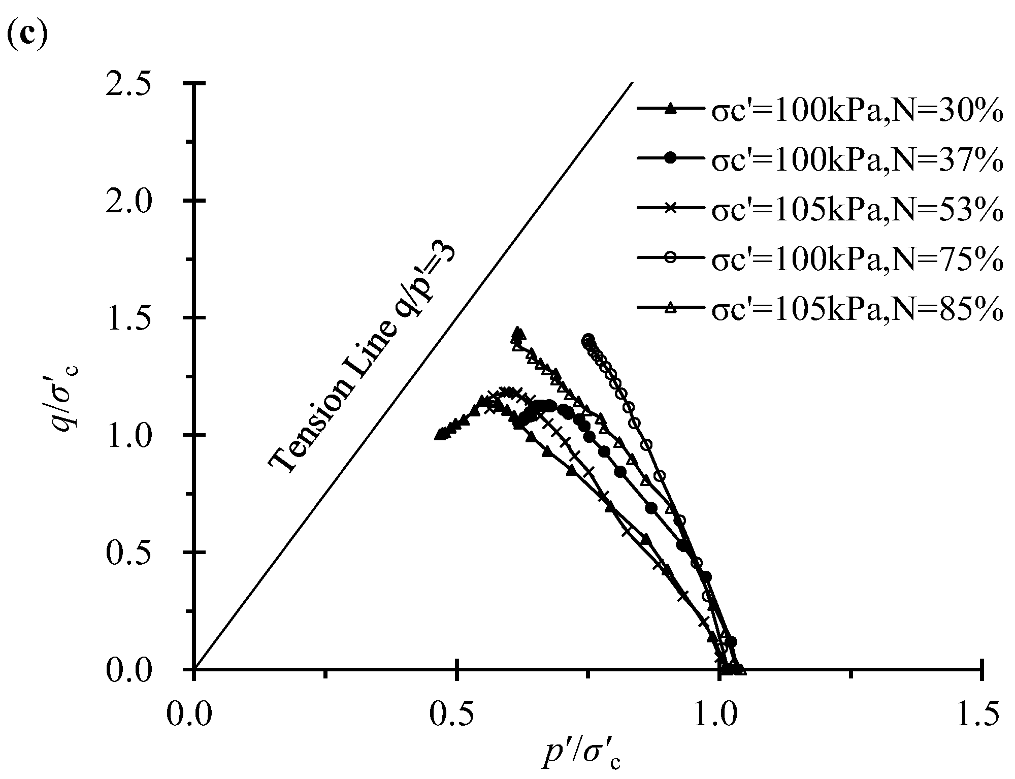
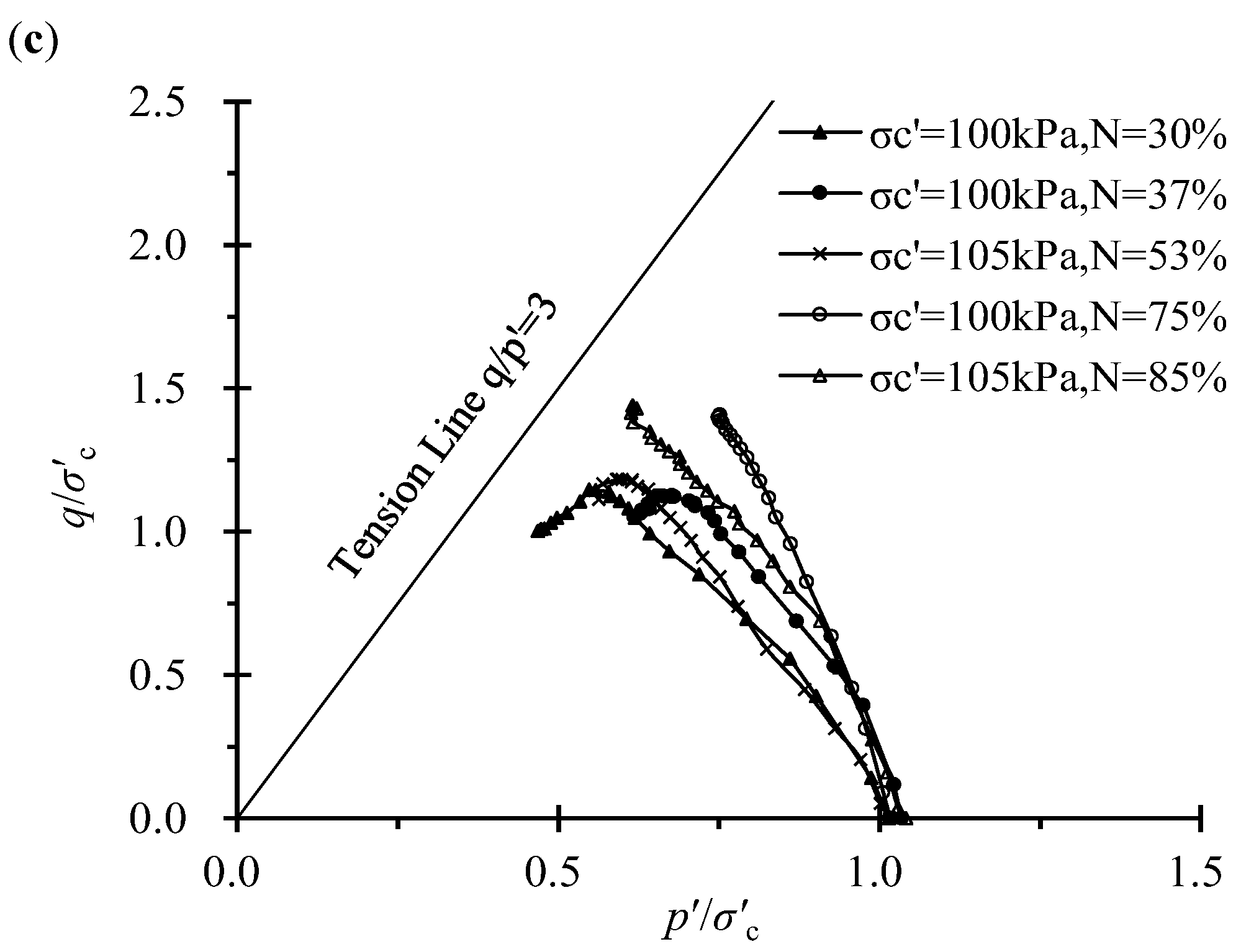
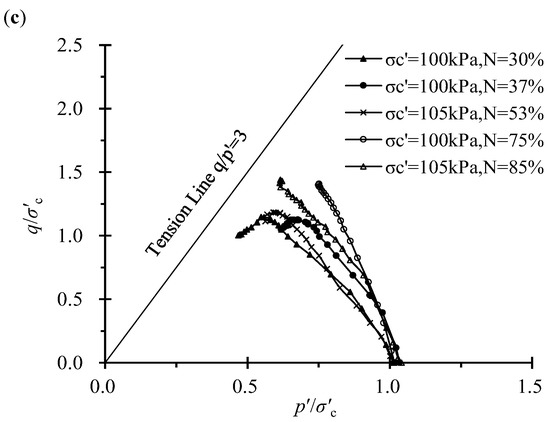
3.3. Undrained Triaxial Compression Tests
3.4. Influence of Organic Content
3.5. Undrained Strength Parameters
4. Conclusions
- (1)
- The back pressure saturation process indicates that the B-value is only related to the back pressure and unrelated to the saturation time for a certain level of pressure, and it suggested that, to ensure that B is greater than 0.98, the average back pressure for Dian-Chi peaty soils should be at least 150 kPa.
- (2)
- During isotropic consolidation, the volumetric strain for soils with high organic matter content is generally larger than that for soils with low organic matter content. Compared with the existing results of the research group, the values of both Cv and mv under the oedometer and isotropic consolidation conditions were not significantly different, and the variation trend of the consolidation coefficient decreased with increasing effective stress and was not greatly affected by the organic matter content under the same stress conditions.
- (3)
- The failure behavior was contraction, and the corresponding average strain, εf, at failure was in the range of 9–15% for the investigated normally consolidated specimens, except for the specimens with effective stress of 25 kPa. Based on the experimental results, the authors discovered an empirical relationship between εf and N. However, in the overconsolidated state, the shearing process was generally contraction and then dilation.
- (4)
- The average effective angle of internal friction is 43.8°, which is greater than the maximum internal friction angle of 35° for typical soft clay and silt soils. Combined with experimental data, this finding indicated a certain regression relationship between φ′/N and N and that the regression coefficient reached 0.99. The value of the normalized undrained strength, Su/σc′, varied from 0.56 to 0.84, which is larger than the range of 0.3~0.35 and 0.2~0.28 for inorganic soft clay and silt deposits, respectively.
Author Contributions
Funding
Conflicts of Interest
Nomenclature
| D | Diameter of the specimen |
| L | Length of the specimen |
| N | Organic matter content |
| e | Void ratio |
| w | Water content |
| Gs | Specific gravity |
| Gsm | Specific gravity of inorganic solids |
| σc′ | Effective confining stress |
| σv′ | Vertical effective stress |
| U | Degree of consolidation |
| ∆Vc | Change in volume of the specimen |
| V0 | Original specimen volume |
| u | Excess pore pressure reading at time t |
| ui | Pore pressure at the start of the consolidation stage |
| uc | Pore pressure at the end of consolidation |
| ub | Back pressure at the start of the consolidation |
| Cv | Coefficient of consolidation |
| mv | Volume compressibility |
| kv | Coefficient of vertical permeability |
| p′ | Effective mean stress |
| q | Deviator stress |
| εa | Axial strain |
| εf | Failure axial strain |
| qf | Peak deviator stress |
| pf′ | Mean effective stress at the yield point |
| φ′ | Effective cohesion |
| c′ | Effective internal friction angle |
| Mc | Inclination of the yield line in q–p′ space |
| m | Vertical intercept of the yield line in q–p′ space |
| Su | Undrained shear strength qf/2 |
References
- Mesri, G.; Ajlouni, M. Engineering Properties of Fibrous Peats. J. Geotech. Geoenviron. Eng. 2007, 133, 850–866. [Google Scholar] [CrossRef]
- Dhowian, A.W.; Edil, T.B. Consolidation Behavior of Peats. Geotech. Test. J. 1980, 3, 105. [Google Scholar] [CrossRef]
- Mesri, G.; Stark, T.D.; Members, A.; Ajlouni, M.A.; Chen, C.S. Secondary compression of peat with or without surcharging. J. Geotech. Geoenviron. Eng. 1997, 123, 411–421. [Google Scholar] [CrossRef]
- O’Kelly, B.C. Compression and consolidation anisotropy of some soft soils. Geotech. Geol. Eng. 2006, 24, 1715–1728. [Google Scholar] [CrossRef]
- Gofar, N.; Sutejo, Y. Long term compression behavior of fibrous peat. Malays. J. Civ. Eng. 2007, 19, 104–116. [Google Scholar]
- Haan, E.D.; Feddema, A. Deformation and strength of embankments on soft Dutch soil. Proc. Inst. Civ. Eng. Geotech. Eng. 2013, 166, 239–252. [Google Scholar] [CrossRef]
- Sarkar, S.; Mukhopadhyay, A.; Mukherjee, I. A laboratory study on adsorption–desorption behavior of flupyradifurone in two Indian soils: Effect of soil properties and organic amendment. J. Soils Sediments 2022, 22, 2022–2035. [Google Scholar] [CrossRef]
- Skempton, A.W. The pore-pressure coefficients A and B. Géotechnique 1954, 4, 143–147. [Google Scholar] [CrossRef]
- ASTM D4767-11; Standard Test Method for Consolidated Undrained Triaxial Compression Test for Cohesive Soils. ASTM: West Conshohocken, PA, USA, 1995. [CrossRef]
- BS1377-8; Methods of Test for Soils for Civil Engineering Purposes. Shear Strength Tests (Effective Stress). British Standards Institution (BSI): London, UK, 1990.
- GB50021-2001; National Standard of the People’s Republic of China: Geotechnical Engineering Survey Specification: GB50021-2001. China Planning Press: Beijing, China, 2001.
- Shen, J.-H.; Hu, M.-J.; Wang, X.; Zhang, C.Y.; Xu, D.-S. SWCC of calcareous silty sand under different fines contents and dry densities. Front. Environ. Sci. 2021, 9, 682907. [Google Scholar] [CrossRef]
- Chen, X.; Shen, J.-H.; Wang, X.; Yao, T.; Xu, D.-S. Effect of saturation on shear behavior and particle breakage of coral sand. J. Mar. Sci. Eng. 2022, 10, 1280. [Google Scholar] [CrossRef]
- Couling, C.; Tolooiyan, A.; Mackay, R.; Xue, J. Measurement of Pore Water Pressure Properties of Unsaturated Brown Coal Using Triaxial Test; CRC Press: Boca Raton, FL, USA, 2014. [Google Scholar]
- Yang, M.; Liu, K. Deformation behaviors of peat with influence of organic matter. Springerplus 2016, 5, 573. [Google Scholar] [CrossRef] [PubMed]
- Liu, K.; Xue, J.; Yang, M. Deformation behaviour of geotechnical materials with gas bubbles and time dependent compressible organic matter. Eng. Geol. 2016, 213, 98–106. [Google Scholar] [CrossRef]
- Li, W.; O’Kelly, B.C.; Yang, M.; Fang, K. Compressibility behaviour and properties of peaty soils from Dian-Chi Lake area, China. Eng. Geol. 2020, 277, 105778. [Google Scholar] [CrossRef]
- Zhang, F.G.; Liu, K.; Yang, M. Study on Consolidation Behaviors of Peaty Soils Using a Viscoelastic Rheological-Consolidation Model in Kunming, China. KSCE J. Civ. Eng. 2020, 24, 752–761. [Google Scholar] [CrossRef]
- He, P.; Wang, W.; Xu, Z. Empirical correlations of compression index and swelling index for Shanghai clay. Geotech. Mech. 2018, 39, 3773–3782. (In Chinese) [Google Scholar] [CrossRef]
- Li, X.; Yang, M.; Li, W.; Shangguan, S.; Wan, J. Correlation between deformation index and initial void ratio of soft clay. J. Yangtze River Acad. Sci. 2022, 39, 104–110. (In Chinese) [Google Scholar] [CrossRef]
- O’Kelly, B.C.; Zhang, L. Consolidated-Drained Triaxial Compression Testing of Peat. Geotech. Test. J. 2013, 36, 20120053. [Google Scholar] [CrossRef]
- Hanrahan, E.T. An Investigation of Some Physical Properties of Peat. Géotechnique 1954, 4, 108–123. [Google Scholar] [CrossRef]
- Adams, J.I. The engineering behaviour of a Canadian Muskeg. In Proceedings of the 6th International Conference on Soil Mechanics and Foundation Engineering, Montreal, QC, Canada, 8–15 September 1965. [Google Scholar]
- Landva, A.O.; Rochelle, P.L. Compressibility and Shear Characteristics of Radforth Peats; Astm Special Technical Publication: West Conshohawken, PA, USA, 1983; pp. 157–191. [Google Scholar]
- Hendry, M.T.; Sharma, J.S.; Martin, C.D.; Barbour, S.L. Effect of fibre content and structure on anisotropic elastic stiffness and shear strength of peat. Can. Geotech. J. 2012, 49, 403–415. [Google Scholar] [CrossRef]
- Yamaguchi, H.; Yoshinori, O.; Kogure, k.; Mori, S. Undrained shear characteristics of normal consolidated peat under triaxial compression and extension conditions. Soil Found. 1985, 25, 1–18. [Google Scholar] [CrossRef]
- Edil, T.B.; Wang, X. Shear Strength and Ko of Peats and Organic Soils. In Geotechnics of High Water Content Materials; West Conshohocken: American Society for Testing and Materials; STM Special Technical Publication: Minneapolis, MN, USA, 2000. [Google Scholar]
- Hebib, S. Experimental Investigation on the Stabilisation of Irish Peat. Ph.D. Thesis, University of Dublin, Dublin, Ireland, 2001. [Google Scholar]
- Long, M. Review of peat strength, peat characterisation and constitutive modelling of peat with reference to landslides. Stud. Geotech. Mech. 2005, 27, 67–90. [Google Scholar]
- Dhowian, A.W. Consolidation Effects on Properties of Highly Compressive Soils-Peats. Ph.D. Thesis, The University at Madison, Madison, WI, USA, 1978. [Google Scholar]
- Yamaguchi, H.; Ohira, Y.; Kogure, K.; Mori, S. Deformation and strength properties of peat. In Proceedings of the Eleventh International Conference on Soil Mechanics and Foundation Engineering, San Francisco, CA, USA, 12–16 August 1985; Volume 11, pp. 985–991. [Google Scholar]
- Lechowicz, Z. An Evaluation of the Increase in Shear Strength of Organic Soils; International Workshop: Delft, The Netherlands, 1994. [Google Scholar]
- Li, W.; O’Kelly, B.C.; Fang, K.; Yang, M. Briefing: Water content determinations of peaty soils using the oven-drying method. Environ. Geotech. 2018, 9, 3–11. [Google Scholar] [CrossRef]
- Li, W.; O’Kelly, B.C.; Yang, M.; Fang, K.; Li, X.; Li, H. Briefing: Specific gravity of solids relationship with ignition loss for peaty soils. Geotech. Res. 2020, 7, 134–145. [Google Scholar] [CrossRef]
- Farrell, E.R. Chapter 35 Organics/Peat Soils; Thomas Telford: London, UK, 2012; pp. 463–479. [Google Scholar]
- O’Kelly, B.C.; Sivakumar, V. Water Content Determinations for Peat and Other Organic Soils Using the Oven-Drying Method. Dry. Technol. 2014, 32, 631–643. [Google Scholar] [CrossRef]
- BS1377; Methods of Test for Soils for Civil Engineering Purposes (Classification Tests). British Standards Institution: Milton Keynes, UK, 1990.
- O’Kelly, B.C. Accurate Determination of Moisture Content of Organic Soils Using the Oven Drying Method. Dry. Technol. 2004, 22, 1767–1776. [Google Scholar] [CrossRef]
- O’Kelly, B.C. Method to compare water content values determined on the basis of different oven-drying temperatures. Geotechnique 2005, 55, 329–332. [Google Scholar] [CrossRef]
- ASTM D2974; Standard Test Methods for Moisture, Ash, and Organic Matter of Peat and Other Organic Soils. ASTM International: West Conshohocken, PA, USA, 2014; American Society for Testing and Materials.
- ASTM D4531-15; Standard TEST methods for Bulk and Dry Density of Peat and Peat Products. ASTM: West Conshohocken, PA, USA, 2015. [CrossRef]
- West Conshohocken, PA, USA; Standard Test Methods for Specific Gravity of Soil Solids by Water Pycnometer. ASTM International: West Conshohocken, PA, USA, 2014.
- Black, D.K.; Lee, K.L. Saturating Laboratory Samples by Back Pressure. ASCE Soil Mech. Found. Div. J. 1973, 99, 75–93. [Google Scholar] [CrossRef]
- Ishihara, K.; Tatsuoka, F.; Yasuda, S. Undrained deformation and liquefaction of sand under cyclic stress. Soils Found. 1975, 15, 29–44. [Google Scholar] [CrossRef]
- Cola, S.; Cortellazzo, G. The Shear Strength Behavior of Two Peaty Soils. Geotech. Geol. Eng. 2005, 23, 679–695. [Google Scholar] [CrossRef]
- Badv, K.; Sayadian, T. An investigation into the geotechnical characteristics of Urmia peat. Iran. J. Sci. Technol.—Trans. Civ. Eng. 2012, 36, 167–180. [Google Scholar]
- Tillis, R.K.; Meyer, M.R.; Hultgren, E.M. Performance of Test Fill Constructed on Soft Peat. In Stability & Performance of Slopes & Embankments II; ASCE: Reston, VA, USA, 2010. [Google Scholar]
- Tsushima, M.; Miyakawa, I.; Iwasaki, T. Some investigations on shear strength of organic soil. Tsuchi-Kiso J. SoilMech Found. Eng. 1977, 235, 13–18. [Google Scholar]
- Tsushima, M.; Oikawa, H. Shear Strength and Dilatancy of Peat. J. Jpn. Soc. Soil Mech. Found. Eng. 1982, 22, 133–141. [Google Scholar] [CrossRef]
- Farrell, E.R.; Hebib, S. The Determination of the Geotechnical Parameters of Organic Soils. In Problematic Soils; Yanagisawa, E., Moroto, N., Mitachi, T., Eds.; Balkema: Rotterdam, The Netherlands, 1998. [Google Scholar]
- Tsushima, M. Method for Predicting In-Situ Undrained Strength of Highly Organic Soil Based on the Value of Suction and Unconfined Compression Strength. In Proceedings of the International Symposium on Problematic Soils, Sendai, Japan, 28–30 October 1998. [Google Scholar]
- Magnan, J.P. Construction on peat: State of the art in France. In Proceedings of the International Workshop on Advances in Understanding and Modeling the Mechanical Behavior of Peat, Delft, The Netherlands, 16–18 June 1993. [Google Scholar]
- Ulusay, R.; Tuncay, E.; Hasancebi, N. Geo-engineering properties and settlement of peaty soils at an industrial site (Turkey). Bull. Eng. Geol. Environ. 2010, 69, 397–410. [Google Scholar] [CrossRef]
- Hendry, M.T.; Barbour, S.L.; Martin, C.D. Evaluating the Effect of Fiber Reinforcement on the Anisotropic Undrained Stiffness and Strength of Peat. J. Geotech. Geoenviron. Eng. 2014, 140, 04014054. [Google Scholar] [CrossRef]
- Kanmuri, H.; Kato, M.; Suzuki, O.; Hirose, E. Shear Strength of Ko Consolidated Undrained Peat. In Problematic Soil; Balkema: Rotterdam, The Netherlands, 1998. [Google Scholar]
- Adams, J.I. Laboratory Compression Test on Peat; Ontario Hydro Research News: Toronto, ON, Canada, 1962; pp. 35–40. [Google Scholar]
- Hu, Y. Equivalent Timeline Shear Rheological Model of Soft Soil. J. Harbin Inst. Technol. 2018, 50, 84–90. [Google Scholar]
- Ladd, C.C. Stability Evaluation during Staged Construction. J. Geotech. Eng. 1991, 117, 540–615. [Google Scholar] [CrossRef]
- Terzaghi, K.; Peck, R.B.; Mesri, G. Soil Mechanics in Engineering Practice. Soil Sci. Soc. Am. J. 1996, 68, 149–150. [Google Scholar]


















| Depth, h/m | Natural Water Content, w/% | Initial Dry Density, ρ0 (g/cm3) | Initial Void Ratio, e0 | Specific Gravity, Gs | Specific Gravity of Inorganic Solids, Gsm | Organic Content, N/% |
|---|---|---|---|---|---|---|
| 6.7–7.7 | 179–439 | 1.011–1.337 | 2.93–5.55 | 1.93–2.81 | 2.78–2.95 | 30–85 |
| Test No. | h/m | Organic Content, N (%) | σc′ (kPa) | εf (%) | Mc | m (kPa) | c′ (kPa) | φ′ (°) | Su/σc′ | State of Destruction |
|---|---|---|---|---|---|---|---|---|---|---|
| S1-A | 7.1 | 30 | 25 | 10.16 | 1.69 | 22.43 | 11.64 | 41 | 1.23 | contraction/dilation |
| S1-B | 50 | 6.99 | 0.72 | contraction | ||||||
| S1-C | 75 | 10.73 | 0.64 | contraction | ||||||
| S1-D | 100 | 8.16 | 0.58 | contraction | ||||||
| S2-A | 7.0 | 75 | 25 | 18.31 | 1.76 | 6.83 | 3.61 | 43 | 1.04 | contraction/dilation |
| S2-B | 50 | 11.05 | 0.73 | contraction | ||||||
| S2-C | 100 | 11.63 | 0.71 | contraction | ||||||
| S3-A | 7.7 | 37 | 25 | 22.24 | 1.63 | 1.12 | 0.57 | 40 | 0.82 | contraction/dilation |
| S3-B | 50 | 10.84 | 0.56 | contraction | ||||||
| S3-C | 100 | 10.31 | 0.57 | contraction | ||||||
| S4-A | 7.1 | 53 | 30 | 10.04 | 1.44 | 39.95 | 19.80 | 35 | 1.17 | contraction/dilation |
| S4-B | 55 | 9.69 | 0.83 | contraction | ||||||
| S4-C | 105 | 13.04 | 0.59 | contraction | ||||||
| S5-A | 6.7 | 85 | 30 | 8.66 | 2.44 | 7.83 | 5.61 | 60 | 0.92 | contraction/dilation |
| S5-B | 55 | 13.03 | 0.84 | contraction | ||||||
| S5-C | 105 | 16.18 | 0.72 | contraction | ||||||
| S5-D | 205 | 10.91 | 0.52 | no destruction |
| Source of Samples | Description | Water Content w (%) | Organic Matter Content N (%) | Test Type | Normalized Undrained Strength Su/σc′ | Effective Friction Angle φ′ (°) | Reference |
|---|---|---|---|---|---|---|---|
| Dian-Chi | peat | 179–439 | 30–85 | ICU | 0.52–0.85 | 31.7–43 | Test data |
| Middleton | fibrous peat | 500–600 | ICU | 0.62–0.75 | 57 | Dhowian (1978) [30] | |
| Ohmiya | fibrous peat | 71–73 | ICU | 0.5–0.63 | 52 | Yamaguchi et al. (1985) [26] | |
| Sacramento San | fibrous peat | 146–783 | 42–72 | ICU | 0.6 | Tillis et al. (2010) [47] | |
| Muck | amorphous peat | 57 | ICU | 0.54 | 52 | Tsushima et al. (1977) [48] | |
| MuckJapan | amorphous peat amorphous peat | 58 | ICU | 0.52 | 60 | Tsushima et al. (1977) [48] Tsushima et al. (1982) [49] | |
| 56–67 | ICU | 0.63 | |||||
| Raheenmore | amorphous peat | 800–900 | 80 | ICU | 0.5 | 55(38) | Farrell et al. (1998) [50] |
| Akita | amorphous peat | 560–680 | 60–70 | ICU | 0.54 | 57 | Tsushima (1998) [51] |
| France | peat | >30 | ICU | 0.5 | Magnan (1994) [52] | ||
| Turkey SK | peat | 322.6 | 58 | ICU | 16.2 | Ulusay et al. (2010) [53] | |
| Anzac | fibrous peat | 81 | 87 | ICU | 40 | Hendry et al. (2014) [54] | |
| Madison | fibrous peat | 175–655 | 31–88 | ICU | 0.41–0.75 | 30.8–64.3 | Edil et al. (2000) [27] |
| Madison | organic soil | 153–321 | 3–25 | ICU | 0.42–0.74 | 36.8–44.7 | Edil et al. (2000) [27] Kanmuri, H. et al. (1998) [55] |
| Madison | fibrous peat | 81–88 | KCU | 0.69–0.75 | 53.8–57.4 | ||
| Kamedago | fibrous peat | 58 | KCU | 0.61 | 66.5 | ||
| Canada | fibrous peat | 375–401 | 78–89 | KCU | 0.59 | 50–51 | Adams (1962) [56] |
| Canada | fibrous peat | 200–600 | KCU | 48 | Adams (1965) [23] | ||
| Japan | amorphous peat | 57–68 | KCU | 51.5 | Tsushima et al. (1977) [48] | ||
| Japan | amorphous peat | 56 | KCU | 50.2 (51.1) | Tsushima et al. (1982) [49] |
Publisher’s Note: MDPI stays neutral with regard to jurisdictional claims in published maps and institutional affiliations. |
© 2022 by the authors. Licensee MDPI, Basel, Switzerland. This article is an open access article distributed under the terms and conditions of the Creative Commons Attribution (CC BY) license (https://creativecommons.org/licenses/by/4.0/).
Share and Cite
Li, X.; Yang, M.; Li, W.; Zhang, H. Experimental Investigation of Consolidated Undrained Shear Behavior on Peaty Soil in Dian-Chi, China. Sustainability 2022, 14, 14618. https://doi.org/10.3390/su142114618
Li X, Yang M, Li W, Zhang H. Experimental Investigation of Consolidated Undrained Shear Behavior on Peaty Soil in Dian-Chi, China. Sustainability. 2022; 14(21):14618. https://doi.org/10.3390/su142114618
Chicago/Turabian StyleLi, Xuemei, Min Yang, Weichao Li, and Haowen Zhang. 2022. "Experimental Investigation of Consolidated Undrained Shear Behavior on Peaty Soil in Dian-Chi, China" Sustainability 14, no. 21: 14618. https://doi.org/10.3390/su142114618
APA StyleLi, X., Yang, M., Li, W., & Zhang, H. (2022). Experimental Investigation of Consolidated Undrained Shear Behavior on Peaty Soil in Dian-Chi, China. Sustainability, 14(21), 14618. https://doi.org/10.3390/su142114618

