Microplastics as Vectors of Chromium and Lead during Dynamic Simulation of the Human Gastrointestinal Tract
Abstract
1. Introduction
2. Materials and Methods
2.1. Materials and Chemical Agents
2.2. Methods
2.2.1. Contamination of Microplastics in Laboratory
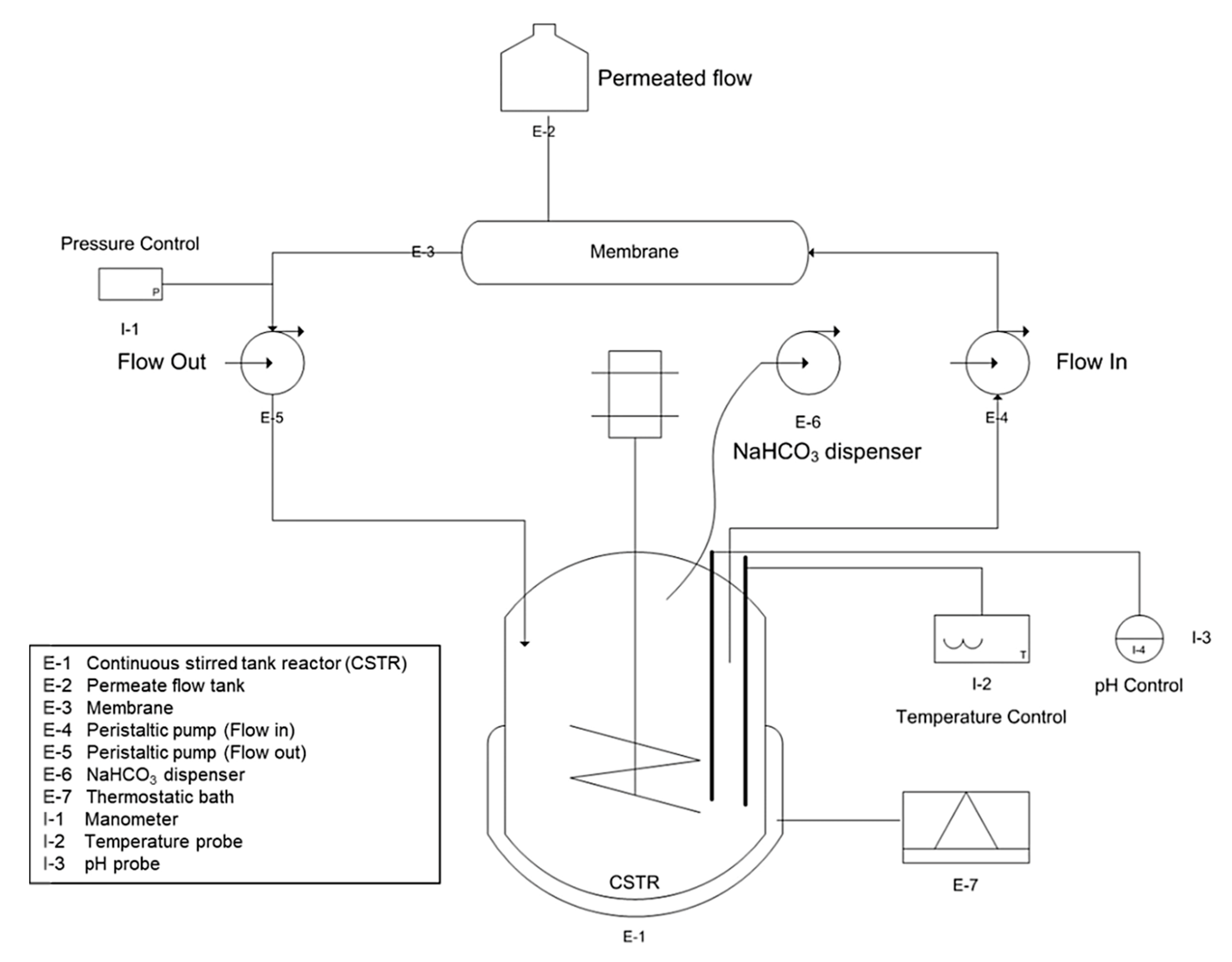
2.2.2. Gastrointestinal-Tract-Simulating Membrane Bioreactor (GITSMB)—SimuGIT
2.2.3. GITSMB Conditions
2.2.4. Analysis of the Samples
3. Results
3.1. Characterization of Microplastics after the In-Vitro Tests
3.2. Metal Amount Adsorbed by Microplastics in the Previous Adsorption Tests
3.3. In-Vitro Simulating Assay PE-Cr
3.4. In-Vitro Simulating Assay PP-Pb
3.5. Evolution of pH, Temperature, and Pressure along the Assays
4. Conclusions
Supplementary Materials
Author Contributions
Funding
Conflicts of Interest
References
- Cole, M.; Lindeque, P.; Halsband, C.; Galloway, T.S. Microplastics as contaminants in the marine environment: A review. Mar. Pollut. Bull. 2011, 62, 2588–2597. [Google Scholar] [CrossRef] [PubMed]
- De Falco, F.; Gullo, M.P.; Gentile, G.; Di Pace, E.; Cocca, M.; Gelabert, L.; Brouta-Agnésa, M.; Rovira, A.; Escudero, R.; Villalba, R.; et al. Evaluation of microplastic release caused by textile washing processes of synthetic fabrics. Environ. Pollut. 2018, 236, 916–925. [Google Scholar] [CrossRef] [PubMed]
- Sommer, F.; Dietze, V.; Baum, A.; Sauer, J.; Gilge, S.; Maschowski, C.; Gieré, R. Tire Abrasion as a Major Source of Microplastics in the Environment. Aerosol Air Qual. Res. 2018, 18, 2014–2028. [Google Scholar] [CrossRef]
- Shahul Hamid, F.; Bhatti, M.S.; Anuar, N.; Anuar, N.; Mohan, P.; Periathamby, A. Worldwide distribution and abundance of microplastic: How dire is the situation? Waste Manag. Res. 2018, 36, 873–897. [Google Scholar] [CrossRef] [PubMed]
- Frias, J.P.G.L.; Nash, R. Microplastics: Finding a consensus on the definition. Mar. Pollut. Bull. 2019, 138, 145–147. [Google Scholar] [CrossRef] [PubMed]
- Bergmann, M.; Mützel, S.; Primpke, S.; Tekman, M.B. White and wonderful? Microplastics prevail in snow from the Alps to the Arctic. Sci. Adv. 2019, 5. [Google Scholar] [CrossRef] [PubMed]
- Allen, S.; Allen, D.; Phoenix, V.R.; Le Roux, G.; Jiménez, P.D.; Simonneau, A.; Binet, S.; Galop, D. Atmospheric transport and deposition of microplastics in a remote mountain catchment. Nat. Geosci. 2019, 12, 339–344. [Google Scholar] [CrossRef]
- Dris, R.; Gasperi, J.; Tassin, B. Sources and Fate of Microplastics in Urban Areas: A Focus on Paris Megacity. In Freshwater Microplastics—The Handbook of Environmental Chemistry; Wagner, M., Lambert, S., Eds.; Springer: New York, NY, USA, 2018; p. 69. Available online: http://www.springer.com/series/698 (accessed on 14 April 2020).
- Rochman, C.M.; Hoh, E.; Kurobe, T.; The, S.J. Ingested plastic transfers hazardous chemicals to fish and induces hepatic stress. Sci. Rep. 2013, 3, 3263. [Google Scholar] [CrossRef]
- Karbalaei, S.; Hanachi, P.; Walker, T.R.; Cole, M. Occurrence, sources, human health impacts and mitigation of microplastic pollution. Environ. Sci. Pollut. Res. 2018, 25, 36046–36063. [Google Scholar] [CrossRef]
- Ashton, K.; Holmes, L.; Turner, A. Association of metals with plastic production pellets in the marine environment. Mar. Pollut. Bull. 2010, 60, 2050–2055. [Google Scholar] [CrossRef]
- Brennecke, D.; Duarte, B.; Paiva, F.; Caçador, I.; Canning-Clode, J. Microplastics as vector for heavy metal contamination from the marine environment. Estuar. Coast Shelf Sci. 2016, 178, 189–195. [Google Scholar] [CrossRef]
- Holmes, L. Interactions of Trace Metals with Plastic Production Pellets in the Marine Environment; University of Plymouth: Plymouth, UK, 2013. [Google Scholar]
- Godoy, V.; Blázquez, G.; Calero, M.; Quesada, L.; Martín-Lara, M.A. The potential of microplastics as carriers of metals. Environ. Pollut. 2019, 255. [Google Scholar] [CrossRef] [PubMed]
- Lusher, A. Microplastics in the Marine Environment: Distribution, Interactions and Effects. In Marine Anthropogenic Litter; Bergmann, M., Gutow, L., Klages, M., Eds.; Springer: New York, NY, USA, 2015; pp. 245–307. [Google Scholar]
- Novotna, K.; Cermakova, L.; Pivokonska, L.; Cajthaml, T.; Pivokonsky, M. Microplastics in drinking water treatment—Current knowledge and research needs. Sci. Total Environ. 2019, 667, 730–740. [Google Scholar] [CrossRef] [PubMed]
- Cox, K.D.; Covernton, G.A.; Davies, H.L.; Dower, J.F.; Juanes, F.; Dudas, S.E. Human Consumption of Microplastics. Environ. Sci. Technol. 2019, 53, 7068–7074. [Google Scholar] [CrossRef]
- Ma, P.; Wei Wang, M.; Liu, H.; Feng Chen, Y.; Xia, J. Research on ecotoxicology of microplastics on freshwater aquatic organisms. Environ. Pollut. Bioavailab. 2019, 31, 131–137. [Google Scholar] [CrossRef]
- Schwabl, P.; Köppel, S.; Königshofer, P.; Bucsics, T.; Trauner, M.; Reiberger, T.; Liebmann, B. Detection of Various Microplastics in Human Stool: A Prospective Case Series. Ann. Intern. Med. 2019, 171, 453. [Google Scholar] [CrossRef]
- Liao, Y.; Yang, J. Science of the Total Environment Microplastic serves as a potential vector for Cr in an in-vitro human digestive model. Sci. Total Environ. 2020, 703, 134805. [Google Scholar] [CrossRef]
- Campanale, C.; Massarelli, C.; Savino, I.; Locaputo, V. A Detailed Review Study on Potential Effects of Microplastics and Additives of Concern on Human Health. Int. J. Environ. Res. Public Health 2020, 17, 1212. [Google Scholar] [CrossRef]
- Cima, F. Tin: Environmental Pollution and Health Effects. In Reference Module in Earth Systems and Environmental Sciences; Elsevier: Amsterdam, The Netherlands, 2011; pp. 351–359. [Google Scholar] [CrossRef]
- Darbre, P.D. Metalloestrogens: An emerging class of inorganic xenoestrogens with potential to add to the oestrogenic burden of the human breast. J. Appl. Toxicol. 2006, 26, 191–197. [Google Scholar] [CrossRef] [PubMed]
- Dupont, D.; Mackie, A.R. Static and dynamic in vitro digestion models to study proteins stability in the gastrointestinal tract. Drug Discov. Today Dis. Model. 2016, 17–18, 23–27. [Google Scholar] [CrossRef]
- Thuenemann, E.C. Dynamic Digestion Models: General Introduction. In The Impact of Food Bio-Actives on Gut Health; Verhoeckx, K., Ed.; Springer: Cham, Switzerland, 2015; pp. 33–36. [Google Scholar] [CrossRef]
- Molly, K.; Woestyne MVande Smet IDe Verstraete, W. Validation of the simulator of the human intestinal microbial ecosystem (SHIME) reactor using microorganism-associated activities. Microb. Ecol. Health Dis. 1994, 7, 191–200. [Google Scholar] [CrossRef]
- Minekus, M.; Marteau, P.; Havenaar, R. Multicompartmental dynamic computer-controlled model simulating stomach and small intestine. Altern. Lab. Anim. 1995, 23, 197–209. [Google Scholar]
- Barroso, E.; Cueva, C.; Peláez, C.; Martínez-Cuesta, M.C.; Requena, T. Development of human colonic microbiota in the computer-controlled dynamic SIMulator of the GastroIntestinal tract SIMGI. LWT Food Sci. Technol. 2015, 61, 283–289. [Google Scholar] [CrossRef]
- Ménard, O.; Cattenoz, T.; Guillemin, H.; Souchon, I.; Deglaire, A.; Dupont, D.; Picque, D. Validation of a new in vitro dynamic system to simulate infant digestion. Food Chem. 2014, 145, 1039–1045. [Google Scholar] [CrossRef]
- Mainville, I.; Arcand, Y.; Farnworth, E.R. A dynamic model that simulates the human upper gastrointestinal tract for the study of probiotics. Int. J. Food Microbiol. 2005, 99, 287–296. [Google Scholar] [CrossRef] [PubMed]
- Rivas-Montoya, E.; Ochando-Pulido, J.M.; López-Romero, J.M.; Martinez-Ferez, A. Application of a novel gastrointestinal tract simulator system based on a membrane bioreactor (SimuGIT) to study the stomach tolerance and effective delivery enhancement of nanoencapsulated macelignan. Chem. Eng. Sci. 2016, 140, 104–113. [Google Scholar] [CrossRef]
- Sumeri, I. The Study of Probiotic Bacteria in Human Gastrointestinal Tract Simulator. In Competence Center of Food and Fermentation Technologies; TUT Press: Toyohashi, Japan, 2011. [Google Scholar]
- Brodkorb, A.; Egger, L.; Alminger, M.; Alvito, P.; Assunção, R.; Ballance, S.; Bohn, T.; Bourlieu-Lacanal, C.; Boutrou, R.; Carrière, F.; et al. INFOGEST static in vitro simulation of gastrointestinal food digestion. Nat. Protoc. 2019, 14, 991–1014. [Google Scholar] [CrossRef]
- Abad, P.; Arroyo-Manzanares, N.; García-Campa, A.M.; Martinez-Ferez, A. Effects of different vehiculization strategies for the allium derivative propyl propane thiosulfonate during dynamic simulation of the pig gastrointestinal tract. Can. J. Anim. Sci. 2019, 99, 244–253. [Google Scholar] [CrossRef]
- González, E.; Gómez-Caravaca, A.M.; Giménez, B.; Cebrián, R.; Maqueda, M.; Martinez-Ferez, A.; Segura-Carretero, A.; Robert, P. Evolution of the phenolic compounds profile of olive leaf extract encapsulated by spray-drying during in vitro gastrointestinal digestion. Food Chem. 2018, 279, 40–48. [Google Scholar] [CrossRef]
- Ariza, M.T.; Rodríguez, P.R.; Cervantes, L.; Soria, C.; Martínez-Ferri, E.; González-Barreiro, C.; Cancho-Grande, B.; Battino, M.; Simal-Gandara, J. Bioaccessibility and potential bioavailability of phenolic compounds from achenes as a new target for strawberry breeding programs. Food Chem. 2018, 248, 155–165. [Google Scholar] [CrossRef]
- Bakir, A.; Rowland, S.J.; Thompson, R.C. Transport of persistent organic pollutants by microplastics in estuarine conditions. Estuar. Coast Shelf Sci. 2014, 140, 14–21. [Google Scholar] [CrossRef]
- Rochman, C.M.; Hentschel, B.T.; The, S.J. Long-term sorption of metals is similar among plastic types: Implications for plastic debris in aquatic environments. PLoS ONE 2014, 9. [Google Scholar] [CrossRef] [PubMed]
- Göpferich, A. Mechanisms of polymer degradation and erosion. Biomaterials 1996, 17, 103–114. [Google Scholar] [CrossRef]
- Holmes, L.A.; Turner, A.; Thompson, R.C. Interactions between trace metals and plastic production pellets under estuarine conditions. Mar. Chem. 2014, 167, 25–32. [Google Scholar] [CrossRef]
- Abu-zurayk, R.A.; Al, R.Z.; Hamadneh, I.; Al-dujaili, A.H. Adsorption of Pb (II), Cr (III) and Cr (VI) from aqueous solution by surfactant-modified diatomaceous earth: Equilibrium, kinetic and thermodynamic modeling studies. Int. J. Miner. Process. 2015, 140, 79–87. [Google Scholar] [CrossRef]
- Zhang, W.; Zhang, L.; Hua, T.; Li, Y.; Zhou, X. The mechanism for adsorption of Cr (VI) ions by PE microplastics in ternary system of natural water environment. Environ. Pollut. 2019, 113440. [Google Scholar] [CrossRef]
- Alemu, A.; Lemma, B.; Gabbiye, N. Adsorption of chromium (III) from aqueous solution using vesicular basalt rock. Cogent. Environ. Sci. 2019, 5. [Google Scholar] [CrossRef]
- Turner, A.; Holmes, L.A. Adsorption of trace metals by microplastic pellets in fresh water. Environ. Chem. 2015, 12, 600–610. [Google Scholar] [CrossRef]
- Qiang, T.; Fan, G.; Yufeng, G.; Toru, I.; Takeshi, K. Desorption characteristics of Cr (III), Mn (II), and Ni (II) in contaminated soil using citric acid and citric acid-containing wastewater. Soils Found 2018, 58, 50–64. [Google Scholar] [CrossRef]
- Deitsch, J.J.; Rockaway, E.J. Surfactant-Enhanced Desorption of Organic Pollutants from Natural Soil. In Physicochemical Groundwater Remediation; Springer: Boston, MA, USA, 2001; Volume 217, pp. 217–243. [Google Scholar]
- Hartmann, N.B.; Rist, S.; Bodin, J.; Jensen, L.H.S.; Schmidt, S.N.; Mayer, P.; Meibom, A.; Baun, A. Microplastics as vectors for environmental contaminants: Exploring sorption, desorption, and transfer to biota. Integr. Environ. Assess. Manag. 2017, 13, 488–493. [Google Scholar] [CrossRef]
- Gorny, J.; Billon, G.; Noiriel, C.; Dumoulin, D.; Lesven, L.; Madé, B. Chromium behavior in aquatic environments: A review. Environ. Rev. 2016, 24, 503–516. [Google Scholar] [CrossRef]
- Fendorf, S.E. Surface reactions of chromium in soils and waters. Geoderma 1995, 67, 55–71. [Google Scholar] [CrossRef]
- Rai, D.; Sass, B.M.; Moore, D.A. Chromium (III) hydrolysis constants and solubility of chromium (III) hydroxide. Inorg. Chem. 1987, 26, 345–349. [Google Scholar] [CrossRef]
- Alvarado-Gámez, A.; Blanco-Sáenz, R.; Mora-Morales, E. El cromo como elemento esencial en los humanos. Rev. Costarric. Cienc. Méd. 2002, 23, 55–68. [Google Scholar]
- Yang, J.Y.; Yang, X.E.; He, Z.L.; Li, T.Q.; Shentu, J.L.; Stoffella, P.J. Effects of pH, organic acids, and inorganic ions on lead desorption from soils. Environ. Pollut. 2006, 143, 9–15. [Google Scholar] [CrossRef] [PubMed]
- Deng, L.; Su, Y.; Su, H.; Wang, X.; Zhu, X. Sorption and desorption of lead (II) from wastewater by green algae Cladophora fascicularis. J. Hazard. Mater. 2007, 143, 220–225. [Google Scholar] [CrossRef]
- Hahladakis, J.N.; Velis, C.A.; Weber, R.; Iacovidou, E.; Purnell, P. An overview of chemical additives present in plastics: Migration, release, fate and environmental impact during their use, disposal and recycling. J. Hazard. Mater. 2018, 344, 179–199. [Google Scholar] [CrossRef]
- Bayo, J.; Martínez, A.; Guillén, M.; Olmos, S.; Roca, M.-J.; Alcolea, A. Microbeads in Commercial Facial Cleansers: Threatening the Environment. CLEAN Soil Air Water 2017, 45, 1600683. [Google Scholar] [CrossRef]
- Teuten, E.L.; Saquing, J.M.; Knappe, D.; Barlaz, M.A.; Jonsson, S.; Björn, A.; Rowland, S.J.; Thompson, R.C.; Galloway, T.S.; Yamashita, R.; et al. Transport and release of chemicals from plastics to the environment and to wildlife. Philos. Trans. R. Soc. B: Boil. Sci. 2009, 364, 2027–2045. [Google Scholar] [CrossRef]
- Escudero, R.; Espinoza, E.; Tavera, F.J. Precipitation of Lead Species in a Pb—H2O System. Res. J. Recent. Sci. 2013, 2, 1–8. [Google Scholar]
- Poma, P.A. Intoxicación por Plomo en Humanos. In Anales de la Facultad de Medicina; UNMSM. Facultad de Medicina: Lima, Peru, 2008; Volume 69, pp. 120–126. [Google Scholar]
- Moore, J.H.; Christie, W.W. Chapter 6: Digestion, Absorption and Transport of Fats in Ruminant Animals. In Fats in Animal Nutrition; Wiseman, J., Ed.; Butterworths: New York, NY, USA, 1984; pp. 123–149. [Google Scholar]
- Kim, Y.; Lee, G.; Park, S.; Kim, B.; Park, J.; Cho, J. Pressure Monitoring System in Gastro-Intestinal Tract. In Proceedings of the International Conference on Robotics and Automation, Barcelona, Spain, 18–22 April 2005; pp. 1333–1338. [Google Scholar]
- Hasler, W.I. Small Intestinal Motility. In Physiology of the Gastro-Intestinal Tract, 4th ed.; Elsevier: Cambridge, MA, USA, 2006. [Google Scholar]





| Plastic and Metal | qe (mg·g−1) | mg in microplastic |
|---|---|---|
| PE-Cr | 2.31 | 1.16 |
| PP-Pb | 4.92 | 2.46 |
| Phase | Time (min) | Milligrams of Cr Precipitated 1 | % of Cr Precipitated |
|---|---|---|---|
| End of gastric phase | 27 | 0.62 | 61.98 |
| End of duodenal phase | 62 | 0.66 | 65.64 |
| Phase | Time (min) | Milligrams of Pb Precipitated 1 | % of Pb Precipitated |
|---|---|---|---|
| End of gastric phase | 27 | 0.053 | 6.61 |
| End of duodenal phase | 56 | 0.20 | 25.22 |
© 2020 by the authors. Licensee MDPI, Basel, Switzerland. This article is an open access article distributed under the terms and conditions of the Creative Commons Attribution (CC BY) license (http://creativecommons.org/licenses/by/4.0/).
Share and Cite
Godoy, V.; Martínez-Férez, A.; Martín-Lara, M.Á.; Vellido-Pérez, J.A.; Calero, M.; Blázquez, G. Microplastics as Vectors of Chromium and Lead during Dynamic Simulation of the Human Gastrointestinal Tract. Sustainability 2020, 12, 4792. https://doi.org/10.3390/su12114792
Godoy V, Martínez-Férez A, Martín-Lara MÁ, Vellido-Pérez JA, Calero M, Blázquez G. Microplastics as Vectors of Chromium and Lead during Dynamic Simulation of the Human Gastrointestinal Tract. Sustainability. 2020; 12(11):4792. https://doi.org/10.3390/su12114792
Chicago/Turabian StyleGodoy, Verónica, Antonio Martínez-Férez, María Ángeles Martín-Lara, José Antonio Vellido-Pérez, Mónica Calero, and Gabriel Blázquez. 2020. "Microplastics as Vectors of Chromium and Lead during Dynamic Simulation of the Human Gastrointestinal Tract" Sustainability 12, no. 11: 4792. https://doi.org/10.3390/su12114792
APA StyleGodoy, V., Martínez-Férez, A., Martín-Lara, M. Á., Vellido-Pérez, J. A., Calero, M., & Blázquez, G. (2020). Microplastics as Vectors of Chromium and Lead during Dynamic Simulation of the Human Gastrointestinal Tract. Sustainability, 12(11), 4792. https://doi.org/10.3390/su12114792

