Next Article in Journal
Spatial and Temporal Variations in Grassland Production from 2006 to 2015 in Mongolia Along the China–Mongolia Railway
Previous Article in Journal
Environmental Optimization of Precast Concrete Beams Using Fibre Reinforced Polymers
Previous Article in Special Issue
Measurement of Social Networks for Innovation within Community Disaster Resilience
 
 
Font Type:
Arial Georgia Verdana
Font Size:
Aa Aa Aa
Line Spacing:
Column Width:
Background:
Article

Multi-Conflicts between the Government, the Non-Profit Organisation and the People after a Serious Landslide Disaster Based Upon Qualitative Analysis

Department of Urban Industrial Management and Marketing, University of Taipei, Taipei City 11153, Taiwan
Sustainability 2019, 11(7), 2175; https://doi.org/10.3390/su11072175
Submission received: 3 March 2019 / Revised: 30 March 2019 / Accepted: 8 April 2019 / Published: 11 April 2019

Abstract

Due to the increasing number of intensified extreme events, post-recovery has become a serious challenge worldwide. The common issues faced during the recovery process are fragmentation and coordination problems, the lack of capacity and commitment and the variations in recovery. This study explores the conflicts between various stakeholders via NVivo, based upon the recovery process in Typhoon Morakot. A qualitative analysis was conducted with the software NVivo 10; the findings showed the following: the stakeholders include the government t, the non-profit organisations (NPOs) (mainly charity funds) and the people. For short-term sheltering and long-term settlement, the government plays the leading role in the rebuilding work, supported by NPOs. However, this study discovers that people are disappointed with the government’s rebuilding efforts. As a result, people opt to self-rescue management. Furthermore, the supplementary NPOs sometimes play leading roles in the rebuilding, resulting in conflicts between people. Overall, the government does not take quick and proper actions, resulting in the delay of the rebuilding progress and the dilemma of role misallocation of various stakeholders. As a whole, post-disaster recovery should take the local victims’ preferences into consideration and this might be helpful to speed up the recovery process.

1. Introduction

Post-disaster recovery has become a serious challenge worldwide, as global environmental change has intensified extreme events and had a dramatic impact. The four phases of the disaster model—mitigation, preparedness, response and recovery—help a country prepare for and respond to a disaster. Recovery is the last phase of the disaster but it is perhaps the most critical phase for reconstruction issues [1]. The recovery can be divided into two types: short-term recovery and long-term recovery. Short-term recovery starts right after the disaster and provides critical sustained resources and shelter for the victims [2]. Long-term recovery might continue for months and years and involve many different stakeholders to reconstitute services, housing and community restoration [3]. Recovery processes are complicated and varied and the overall recovery framework might confront various challenges, particularly with the increase in the intensity and number of disasters. The most common issues faced during the recovery process are fragmentation and coordination problems, a lack of capacity and commitment and variations in recovery [4].
During the long-term recovery phase, communities must access and deploy a range of public and private resources and such process could involve multiple stakeholders, as groups and organizations have some responsibility to act [5]. The common stakeholders during the recovery process might be the government, non-profit organisations (NPOs) and the people [6]. There is a vast body of literature that discusses government–non-profit relations including supplementary, complementary and adversarial relations [7]. The four particular features of government–non-profit sector relations that were identified in Young’s study include multilayer, dynamic, complementary and traditional contexts. The government–non-profit sector relations are multi-layered and such relations have to explore based upon a diversity point of view [8]. The relations might change from complementary to adversarial over time. Every country emphasizes that the government–non-profit sector relation is complementary for some particular types of work that must rely on the government or the non-profit sector. Last but not least, the combination of such government–non-profit relations might vary depending on the historical and traditional backgrounds [9,10].
Governments and non-profit actors might predominantly drive most of the decisions during the recovery process and this can be regarded as multi-level urban governance [11]. Multi-level urban governance is derived from the traditional concept of urban governance, while the main difference between the two lies in the emphasis of multi-level urban governance on collective actors and the implementations of decisions. The principles of multi-level urban governance include destabilization of policy making, deinstitutionalization of policy making and challenge to parliamentary democracy. Governance means a diversified and complex decision-making alliance. The government should not be the only actor to make a decision. In fact, the function of the government is participatory rather than authoritarian leadership. The transformation of ruling to governance can be interpreted as the transformation from highly institutionalized and centralized to improvisational and co-operative. Multi-level urban governance can help to form a more democratic society [12].
In 2009, Typhoon Morakot brought serious floods and landslides in the southern and eastern parts of Taiwan. The dramatic disaster not only revealed the limitations of the national planning and preservation strategy but also exposed the inadequate reconstruction ability. During the recovery phase, many arguments and complaints came from the bottom and such conflicts extended to fights in the end. According to the survey conducted by Delta Electronics Foundation in 2010, over 50% of people were unsatisfied with the government’s work during the recovery phase. Therefore, the current study attempts to identify the influential stakeholders and the contradictory events happened during the recovery process and further propose potential improvements for the future. This study applies NVivo 10 to explore the conflicts that occurred between various stakeholders during the recovery process after Typhoon Morakot based upon the multi-level urban governance concept. Section 2 presents the literature review regarding the government–non-profit relations. The following section presents the research design and the conceptual model and methods are explained. Section 3 presents the dataset including the data source and data selection. Section 4 presents the results based upon the findings from NVivo 10 and Section 5 presents the discussion. The paper then gives the conclusion in the last section.

The Relations between the Government, the NPOs and the People

The study uses the stakeholder theory, government–non-profit relation and multi-level urban governance to explore the disagreements between multiple stakeholders during the recovery process.
The discussion among stakeholders has arisen attention in various fields such as public and management, medical, environmental planning and so forth. [13,14,15]. The definition of a stakeholder is quite similar in these fields. According to Freeman, the definition of a stakeholder is any individual or group who can affect or be affected by the outcome of the organization’s objectives [16]. Bryson defined the term stakeholder as any person or organization that might demand the organization’s attention or be affected by its achievements [17]. Eden and Ackermann proposed that stakeholders are people or groups with the ability to respond to, negotiate with or change the outcome of the organization [18]. There are similar elements from the definitions mentioned above, namely, that they involve people or groups. In addition, both people and groups might have the power to affect or be affected by the organization. In the reality, all three parties—individuals, groups and organizations—are involved or affected or have partial responsibility to act, as no one is fully in charge [19].
The government and non-profit sectors might predominantly drive most of the decisions during the recovery process and become the key to the success of the recovery process [11]. There are three kinds of partner relationship between the government and non-profit relations: supplementary, complementary and adversarial [7]. Within the supplementary relation, both NPOs and people are regarded as fulfilling the demand for public goods left unsatisfied by the government [20,21]. There is a significant inverse relation between the government and the non-profit sector, as the more responsibility taken by the government, the less demand there is for the collective voluntary group. Within the complementary relation, there is a partnership between the government and the non-profit sector and the expenditure of both grow in the same direction [22]. Within the adversarial relation, the non-profit sectors tend to force the government to make improvements to further maintain its accountability to the public [23].
In order to explore the government–non-profit relation, this study applies the “bases of power–directions of interest diagram” and “stakeholder–issue interrelationship diagram” in the following investigation [19]. The bases of power–directions of interest diagram is built on the power versus interest grid and includes a stakeholder influence diagram and involves looking more closely at each of the stakeholder groups, including the most influential or central stakeholders. The purpose of the bases of power–directions of interest diagram is to identify the most influential or central stakeholders through examining each involved stakeholder [24]. On the other hand, the application of the stakeholder–issue interrelationship diagram can identify each stakeholder’s particular issue of interest and the relationships between the stakeholders within the issue [25]. Based on the two diagrams, the actual or potential areas for cooperation or conflict can be determined.
In addition, there are increasing discussions related to global climate change and multi-level urban governance. According to the case studies in England and Germany, there are four types of multi-level urban governance for dealing with global environmental change: self-governing, provision, authority and enabling [26]. Self-governing indicates that the local governments have complete power in the decision-making process. Provision indicates that the local governments play the role of supplying goods and labour. Authority indicates that ruling is the main approach, while enabling indicates a public–private partnership. However, the power that affects the decision-making process is still undetermined [27,28,29]. In addition, the interactions between the cross levels have not been explored yet [30,31,32]. Under the severe changes in the global environment and institutions, the interactions between formal and informal power might be critical in disaster management [33].
According to Pahl-Wostl [34], multi-level urban governance can be divided into three aspects based upon the actors involved: hierarchical style, network style and market style. Within the hierarchical style, the ruling procedure is based upon formal regulations and sanctions, which can be regarded as authoritarian. Therefore, the motivation of subordinate is based on the fear of punishment and the dominant actor type is the government. Network style is operated by non-official institutions based upon the trust and volunteering agreement and the dominant actor type is NPOs. Within the network style, the government becomes one of the partners in a network society. The market style is right in the middle of the hierarchical style and the network style and is based upon the material benefits and the dominant actor type is the private sectors. Conflicts have been identified between various aspects of multi-level urban governance [35,36].

2. Research Design

2.1. Conceptual Model

This study was based upon the various theories, frameworks and models to investigate government–NPO relations during the recovery process. This study aimed to identify the powerful and influential stakeholders during the recovery process after Typhoon Morakot based upon the conflicts between the stakeholders. Based on past studies, the key stakeholders might include the government, NPOs and the people. Therefore, this paper applied NVivo 10 to analyse conflicts within the various government–NPO sector relations, including between the government and the people, the people themselves and the NPOs and the people (Figure 1).

2.2. Methods

This study applied the “non-numerical unstructured data indexing, searching and theorizing” function of NVivo 10 to gather various decisions (the governments, the NPO and the people) after Typhoon Morakot. In NVivo 10, there are five functions: code-and-retrieve, the rule-based theory-building system, an index-based approach, logic-based systems and the conceptual network system [37]. This study only applied the code-and-retrieve and rule-based theory-building system functions to analyse the relationships between different stakeholders. The concept of code-and-retrieve is able to cut a long paragraph into sections and further categorizes the same words, while the rule-based theory-building system is able to link various words and further establishes a hierarchical framework and removes propositions or assertions.
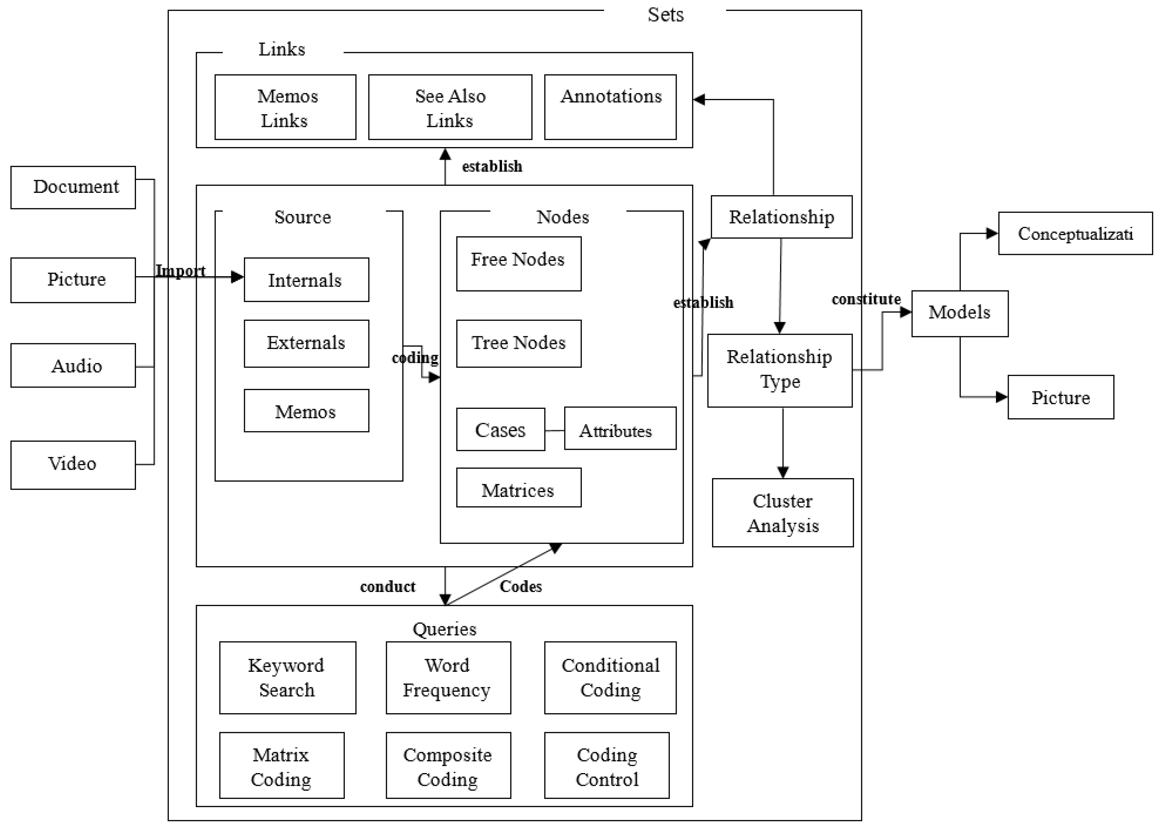
The processes ‘code-and-retrieve’ and the rule-based theory-building system can be divided into six parts, including imported resources, links, nodes, queries, relationships and models (Figure 2). The imported resources can be divided into four kinds: documents, pictures, audio and video. In the very beginning, all imported resources were regarded as original codes and were then categorized into tree nodes. Afterwards, the query provided various functions for the further analysis of texts including keyword search, word frequency, conditional coding, matrix coding, composite coding and coding control. The results were based upon the relationships found between the texts.

3. Dataset

In August 2009, Typhoon Morakot brought more than 60% of the average rainfall (about 2440–3270 mm) and hit both the southern and the eastern parts of Taiwan. The super-large torrential rainstorm caused the largest flooding event of the past 50 years. The railway and highway traffic were interrupted, the river embankment collapsed and farmlands, fields and houses were washed away. The most tragic event was the landslide that buried Xiaolin village in southern Taiwan. Xiaolin village can be divided into two parts, the north and the south. The landslide wiped out the northern part, as it was located at a relatively low elevation. According to the statistical data, over 600 residents were buried alive while 150 residents were transported to safety after the disaster. After the hit, the recovery challenged every stakeholder in Taiwan, including the government, the NPOs and the people. The resettlement was done from February 2010 to December 2011. In order to analyse the outcomes of the recovery process appropriately, this study applied data mining to independent media data to perform the following analyses.

3.1. Data Source

In Taiwan, “Morakot’s Independent News” (www.88news.org) is a Web 2.0 Internet-based method that was developed right after Typhoon Morakot to speed up information exchange and cooperation. News reported in “Morakot’s Independent News” focuses on reconstruction processes in disaster areas. Therefore, this study believes that this media source can provide abundant information regarding the decision-making processes involved in reconstruction.

3.2. Data Selection

Typhoon Morakot happened from 6–10 August 2009 and had serious impacts, causing serious flood disasters and landslides in middle and southern Taiwan. In order to carry out a comparative analysis between different stakeholders, this study applied data mining on the dates between August 2009 and August 2010. This study analysed all the data reported in “Morakot’s Independent News.” Each report was regarded as one particular event. In this study, 581 articles reported in “Morakot’s Independent News” were included.

3.3. Coding Process

Each reported article was regarded as one data point and was coded as an eight-bit including year + month + date. Due to multiple articles being reported in each month, the coding then added up two-bits. For example, there were 35 articles reported in September 2009 and a particular one was number 7, which was reported on 16 September. Therefore, the coder coded that article as 2009091607. Due to there being many kinds of articles reported in the media, particular categories were made to categorize the topics more efficiently, including governmental governance, people self-management, NPO governance, disaster status, mood expression, deliberative democracy, post-disaster reconstruction, institutional principle and others (Figure 3).

4. Results

According to the data processing results, the 581 articles can be divided into topics including governmental governance, people self-management, NPO governance, disaster status, frustration expression, deliberative democracy, institutional principle and others. Among all the topics, disaster status was reported the most with 212 articles (36%). The second most reported topic was people self-management (23%) and following this were governmental governance (17%) and NPO governance (13%) (Figure 4).
During data processing, most the nodes showed correlations between each other due to the conflict of interest between the stakeholders. Therefore, this study further categorized the following conflicts of interest: “conflict between the government and the people,” “conflict between the people,” “conflict between the NPO and the people” and “tripartite conflict.”

4.1. Conflict between the Government and The People

The conflict between the government and the people happens mainly in regard to the basic living subsistence and such could be divided into three kinds of issues: “short-term and long-term settlement” and “resettlement.”

4.1.1. Short-Term and Long-Term Settlement

Three programs were announced by the government regarding short-term settlement: subsidies for the relatives or for housing or for resettlement. The first two programs offer a subsidy to the victims for accommodation during home reconstruction. The third one, resettlement, offers a place for victims to stay without paying any living expense. If any victims do not receive a short-term settlement program, they will not receive any help afterwards. Such short-term settlement programs result in issues regarding living space, school attendance and employment.
There are articles related to such concerns:
“The short-term settlement programs may not be applied to aboriginal families for both school attendance for the young and the elders are used to a gregarious living style. In addition, there is special cultivation for the aboriginals and the settlement place is too far away from their farmlands. Therefore, some aboriginal people make the final decision to stay in tents located right at the elementary school (2009092829)”
“Although some aboriginal accept to stay in the settlement place, employment is the serious issue they are concerned with the most. For aboriginals, the final goal is to go back to the mountains and cultivate farmland in the mountains. Therefore, temporary employment is what they need the most right after the disaster. However, there might not be enough temporary job openings in the short-term settlement place (2010070910)”
In terms of long-term settlement, the government provides three programs: rental subsidy, new house purchase (the government allows the victims to borrow 3.5 million NT dollars and the interest rate can be negotiated with the bank itself) and permanent housing (provided by NPO which cannot be sold in the future). The allocation of permanent housing is based on the house address and household register. However, the aboriginal living style is quite different and this difference might result in a qualification issue when applying for permanent housing.

4.1.2. Resettlement

The most serious impact of Typhoon Morakot was the landslide that buried a whole village—Xiaolin Village. In order to evacuate villages located in relatively high-risk areas, the government proposed a policy to delineate high-risk areas and help the residents to resettle in other relatively safe areas. The residents qualified to apply for permanent housing if their living area was delineated as a high-risk area. However, most the residents were against this policy, as such resettlement might dramatically affect the aboriginal culture. In Taiwan, there are sixteen indigenous tribes and they have all developed specific living styles. However, the resettlement policy overlooks the differences among indigenous people and forces them to stay in the same living space.
“The tribe confronts the issue of not only extreme events but also tribe culture preservation. The population of aboriginal people is relatively less than that of Taiwanese people and this minority might be easily influenced by mainstream culture. Therefore, the living style and the traditional culture have to be preserved. In addition, the tribes need to live close to their ancestors to maintain their culture (2010040405)”

4.2. Conflict between The People

There are two kinds of conflict that happened between the people: the investigation of the village buried by landslides and the main cause of this disaster. The official investigation report made by the academics indicates that the torrential rain was the main cause of the landslide. However, local residents believe the rain should not be blamed for the landslide, for the total rain amount did not exceed the critical threshold.
“The village was buried on the morning of 9 August and in the two days (August 7 to August 9) the rain amount was less than 1500 mm. Therefore, the torrential rain should not be the main cause of the landslide (2010020307)”
Besides the official report, the conflict between people happened during the reconstruction process. People begin to think that the victims were responsible for the tragedy, for they are the ones cultivating and developing in the mountains.
“Who should be responsible for the tragedy? The indigenous people insist on living in the mountains and plant betel nut palm, which resulted in the landslide. In addition, the indigenous people require road development to the deep mountains for cultivation and such development might have further caused the disaster to be more serious. Is it really rational for the victims to ask for national compensation? (2010060508)”
Of course, fights began right after the conflict between people arose. The indigenous people tried to defend themselves and stated that the disaster was caused by greedy Chinese people.
“In the past decades, the Chinese government has spent years cutting down the undisturbed woodlands and such overcutting destroyed the soil and water conservation. In addition, the inter-basin water diversion physically changed the ecological environment in the mountains. The Chinese farmers cultivated betel nuts palm, tea leaves and fruits in the mountains and such over-cultivation should be blamed for the landslide (2010080304).”

4.3. Conflict between the NPO and The People

Tzu-Chi was the main NPO responsible for the reconstruction after Typhoon Morakot, as the governments entrusted Tzu-Chi with the allocation of permanent housing. The cooperation between the government and Tzu-Chi resulted in serious conflicts among the indigenous people. For example, some people did not agree with the religious or standpoint of Tzu-Chi. The permanent housing was built on public owned land and Tzu-Chi took care of all the construction costs. The victims had to exchange their landownership to Tzu-Chi to get permanent housing. Therefore, some people accused Tzu-Chi of accumulating wealth by unfair means.
“The cooperation between the government and Tzu-Chi is beyond understanding for Tzu-Chi enjoys undeserved reputation. In fact, the people might not agree with Tzu-Chi’s work. In addition, there are so many unreasonable rules that regulate the residents in the permanent housing (2010040506)”
“In order to have permanent housing, the residents have to give up their landownership. Such landownership giving up might destroy the relationship between the existing people and their ancestors. Tzu-Chi is destroying the valuable culture and religious values of indigenous people (2010032843)”
Another conflict is based upon the differences in religious beliefs between Tzu-Chi and the indigenous people. There are 400 households (including three different kinds of indigenous people) resettled in Tzu-Chi’s permanent housing. A community convention regulated by Tzu-Chi restricts the indigenous people to hold rituals inside the community. In fact, most of the indigenous people have particular religious, such as ancestral spirits, Catholicism and Christianity.

5. Discussion

In the past, absolute authority was the common impression of the government. However, there has been a dramatic change in this view of absolute authority in past decades and there has been increased participation by the NPOs and the people. However, regarding the recovery work, the government has to take full authority to guide the reconstruction after serious disasters. However, due to financial feasibility, it is quite common for the government to entrust the construction work to an NPO and to let an NPO run the construction. The data mining results show that there have been multiple conflicts between the stakeholders, including conflicts between the government and the people, conflicts between the people themselves and conflicts between the NPOs and the people. People were disappointed with the government and they adopted self-management to recover from the disaster. The NPOs became the subjective promoters during the reconstruction and this resulted in serious conflicts between the NPOs and the people.
According to the results, both negotiation and cooperation should be emphasized among the stakeholders to further help various actors contribute. In fact, the purpose of multi-level urban governance is to help with the coordination of complex issues between actors to achieve more diversified governance. Berardo and Lubell [38] identified that the combination of bottom-up and top-down approaches and the effective connections between formal and informal institutions influence the outcomes of urban governance. In fact, multi-level urban governance is critical in post-disaster recovery, as the recovery might involve complicated actors and events. Effective negotiation and cooperation between actors might speed up the recovery process [39,40,41]. Therefore, examination of the conflicts between multi-level actors including the government, the NPOs and the people might help improve the governance process during post-disaster recovery [42].
The following text presents the potential improvements for future reconstruction based upon the data mining results.
Reconstruction after serious disaster is a social contract between the government and the people. The people have the fundamental right to request care from the government, while the government has the responsibility to take care of the minority. Therefore, the government has to become the planner, the leader and the executer during the reconstruction process. It is impossible to replace it by private organizations or NPOs. The results of data mining show that the government entrusted permanent housing allocation to an NPO and this resulted in varied conflicts. In addition, it is necessary for local governments to cooperate to ensure local demand is taken into consideration.
The NPOs play important roles in the disaster prevention framework. The NPOs help to construct the member list to make sure the population living in the mountains in taken care of. In addition, the NPOs also provide educational propaganda to help the residents prepare for disasters. In fact, educational training can improve the self-management of local residents during or after a disaster.
As a whole, the participation of people in the reconstruction after a disaster should be complimentary and experimental. Although public participation is the most valuable social asset, the government should provide the indicative service. Therefore, NPO and public participation should be regulated by contracts and the government should still be the main executer to make sure the orientation of reconstruction is accurate and appropriate to the local context.

6. Conclusions

Three attributes of stakeholders have been identified: “power,” “legitimacy” and “urgency.” Based upon such features, the government can be regarded as having power and legitimacy and the NPOs can be regarded as having legitimacy and urgency and the people can be regarded as having urgency. The varied features have resulted in serious contradictions among various actors. Typhoon Morakot impacted Taiwan severely and resulted in a long recovery process and the recovery resulted in multiple contradictions between different stakeholders. It is a common approach to apply the public–private partnership to speed up recovery after a serious disaster. However, in this case study, disagreement with the NPO resulted in numerous contradictions and the decisive stakeholder was the government. Landslide events happened rarely and some of the residents in the Xiaolin are indigenous people. Although the findings might be applied to every recovery process, the identification of contradictions between various stakeholders can provide a reference for future recovery.

Author Contributions

M.-T.C. contributed to the conceptual design of the study, drafted the article and gave final approval.

Funding

This research was supported with funding from M.-T. Chuang’s 2016 project (MOST 105-2410-H-845 -026), which was funded by Ministry of Science and Technology, Republic of China.

Acknowledgments

We are grateful to the editors of the journal, the contributors to this Special Issue and the reviewers for their support and work throughout the process.

Conflicts of Interest

The authors declare no conflict of interest.

References

  1. Smith, G.; Wenger, D. Sustainable Disaster Recovery: Operationalizing an Existing Framework. In Handbook of Disaster Research; Rodriguez, H., Quarantelli, E., Dynes, R., Eds.; Springer: New York, NY, USA, 2006; pp. 234–257. [Google Scholar]
  2. Haddow, G.; Bullock, J.; Damon Coppola, P. Introduction to Emergency Management, 4th ed.; Elsevier, Inc.: Atlanta, GA, USA, 2011. [Google Scholar]
  3. Rubin, H. Collaborative Leadership: Developing Effective Partnerships for Communities and Schools; Corwin Press: Thousand Oaks, CA, USA, 2009. [Google Scholar]
  4. Esnard, A.-M.; Sapat, A. Displaced by Disaster: Recovery and Resilience in a Globalizing World; Routledge: New York, NY, USA, 2014. [Google Scholar]
  5. Kettl, D. The Transformation of Governance: Public Administration for Twenty-First Century America Baltimore; Johns Hopkins University Press: Baltimore, MD, USA, 2002. [Google Scholar]
  6. Smith, A. Emerging in between: The multi-level governance of renewable energy in the English regions. Energy Policy 2007, 35, 6266–6280. [Google Scholar] [CrossRef]
  7. Young, D.R. Alternative models of government–non-profit sector relations: Theoretical and international perspectives. Nonprofit Volunt. Sect. Q. 2000, 29, 149–172. [Google Scholar] [CrossRef]
  8. Piattoni, S. The Theory of Multi-Level Governance. Conceptual, Empirical and Normative Challenges; Oxford University Press: Oxford, UK, 2010. [Google Scholar]
  9. Yamamoto, T. The state and the non-profit sector in Japan. In The Non-Profit Sector in Japan; Yamamoto, T., Ed.; Manchester University Press: Manchester, UK; New York, NY, USA, 1998; pp. 119–144. [Google Scholar]
  10. Amenomori, T. Japan. In Defining the Non-Profit Sector; Salamon, L.M., Anheier, H.K., Eds.; Manchester University Press: Manchester, UK; New York, NY, USA, 1997; pp. 188–214. [Google Scholar]
  11. Giersig, N. Multilevel Urban Governance and the European City: Discussing Metropolitan Reforms in Stockholm and Helsinki; VS Research: Hackensack, NJ, USA, 2008. [Google Scholar]
  12. Pierre, J. Models of Urban Governance—The Institutional Dimension of Urban Political. Urban Aff. Rev. 1999, 34, 372–396. [Google Scholar] [CrossRef]
  13. Hayes, J.E.; Fisher, R.M.; Richard, J. Investigation of non-community stakeholders regarding community engagement and environmental malodour. Sci. Total Environ. 2019, 665, 546–556. [Google Scholar] [CrossRef] [PubMed]
  14. Conca, K. Prospects for a multi-stakeholder dialogue on climate engineering. Environ. Politics 2019, 28, 417–440. [Google Scholar] [CrossRef]
  15. Kazmerski, T.M.; Miller, E.; Sawicki, G.S.; Phaedra, T.; Prushinskaya, O.; Nelson, E.; Hill, K.; Miller, A.; Emans, S.J. Developing sexual and reproductive health educational resources for young women with cystic fibrosis: A structured approach to stakeholder engagement. Patient 2019, 12, 267–276. [Google Scholar] [CrossRef] [PubMed]
  16. Freeman, R.E. Strategic Management: A Stakeholder Approach; Pitman: Boston, MA, USA, 1984. [Google Scholar]
  17. Bryson, J.M. Strategic Planning for Public and Nonprofit Organizations; Revised Edition; Jossey-Bass: San Francisco, CA, USA, 1995. [Google Scholar]
  18. Eden, C.; Ackermann, F. Making Strategy: The Journey of Strategic Management; Sage Publications: London, UK, 1998. [Google Scholar]
  19. Bryson, J.M. What to do when stakeholders matter: Stakeholder identification and analysis techniques. Public Manag. Rev. 2004, 6, 21–53. [Google Scholar] [CrossRef]
  20. Weisbrod, B.A. The Voluntary Non-Profit Sector; D.C. Heath and Company: Lexington, KY, USA, 1977. [Google Scholar]
  21. Douglas, J. Political theories of non-profit organizations. In The Non-Profit Sector: A Research Handbook; Powell, W.W., Ed.; Yale University Press: New Haven, CT, USA, 1987; pp. 43–54. [Google Scholar]
  22. Steinberg, R. Competition in contracted markets. In The Contract Culture in Public Services; Kendall, J., Ed.; Ashgate: London, UK, 1997; pp. 161–179. [Google Scholar]
  23. Buchanan, J.M.; Tullock, G. The Calculus of Consent; University of Michigan Press: Ann Arbor, MI, USA, 1962. [Google Scholar]
  24. Bryson, J.M.; Cunningham, G.; Lokkesmoe, K.L. What to do when stakeholders matter: The case of problem formulation for the african american men project of hennepin county, Minnesota. Public Adm. Rev. 2002, 62, 568–584. [Google Scholar] [CrossRef]
  25. Bryant, J. The Six Dilemmas of Collaboration: Inter-Organisational Relationships as Drama Chichester; John Wiley & Sons: Chichester, UK, 2003. [Google Scholar]
  26. Bulkeley, H.; Kern, K. Local Government and the Governing of Climate Change in Germany and the UK. Urban Stud. 2006, 43, 2237–2259. [Google Scholar] [CrossRef]
  27. Marquardt, J. Conceptualizing power in multi-level climate governance. J. Clean. Prod. 2017, 154, 167–175. [Google Scholar] [CrossRef]
  28. Gupta, J. Glocal’ politics of scale on environmental issues: Climate change, water and forests. In Scale-Sensitive Governance of the Environment; Padt, F., Opdam, P., Polman, N., Termeer, C., Eds.; John Wiley & Sons, Ltd.: Chichester, UK, 2014; pp. 140–156. [Google Scholar]
  29. Doherty, E.; Schroeder, H. Forest tenure and multi-level governance in avoiding deforestation under REDD+. Glob. Environ. Politics 2011, 11, 66–88. [Google Scholar] [CrossRef]
  30. Di Gregorio, M.; Nurrochmat, D.R.; Paavola, J.; Sari, I.M.; Fatorelli, L.; Pramova, E.; Locatelli, B.; Brockhaus, M.; Kusumadewi, S.D. Climate policy integration in the land use sector: Mitigation, adaptation and sustainable development linkages. Environ. Sci. Policy 2017, 67, 35–43. [Google Scholar] [CrossRef]
  31. Locatelli, B.; Pavageau, C.; Pramova, E.; Di Gregorio, M. Integrating climate change mitigation and adaptation in agriculture and forestry: Opportunities and trade-offs. Wires Clim. Chang. 2015, 6, 585–598. [Google Scholar] [CrossRef]
  32. Jordan, A.; van Asselt, H.; Berkhout, F.; Huitema, D.; Rayner, T. Understanding the paradoxes of multilevel governing: Climate change policy in the European Union. Glob. Environ. Politics 2012, 12, 43–66. [Google Scholar] [CrossRef]
  33. Rosenau, J.N. Distant Proximities: Dynamics beyond Globalization; Princeton University Press: Princeton, NJ, USA, 2003. [Google Scholar]
  34. Pahl-Wostl, C. The role of governance modes and meta-governance in the transformation towards sustainable water governance. Environ. Sci. Policy 2019, 91, 6–16. [Google Scholar] [CrossRef]
  35. Connell, D. A Time to Regroup and Reassess in the Murray Darling Basin; Global Water Forum: Canberra, Australia, 2014. [Google Scholar]
  36. Bell, S.; Quiggin, J. The limits of markets: The politics of water management in rural Australia. Environ. Politics 2008, 17, 712–729. [Google Scholar] [CrossRef]
  37. Bazeley, P.; Jackson, K. Qualitative Data Analysis with NVivo; SAGE Publications Ltd.: London, UK, 2013. [Google Scholar]
  38. Berardo, R.; Lubell, M. Understanding what shapes a polycentric governance system. Public Adm. Rev. 2016, 76, 738–751. [Google Scholar] [CrossRef]
  39. Pahl-Wostl, C. Water Governance in the Face of Global Change—From Understanding to Transformation (Water Governance: Concepts, Methods and Practice, Volume 1); Springer International Publishing: Cham, Switzerland, 2015. [Google Scholar]
  40. Grande, E. Governance forschung in der governance-falle?-Eine kritische Bestandsaufnahme. Politische Vierteljahresschr. 2012, 4, 565–592. [Google Scholar] [CrossRef]
  41. Meuleman, L. Public Management and the Metagovernance of Hierarchies, Networks and Markets; Physica-Verlag: Heidelberg, Germany, 2008. [Google Scholar]
  42. Kooiman, J.; Jentoft, S. META-GOVERNANCE: Values, norms and principles and the making of hard choices. Public Adm. 2009, 4, 818–836. [Google Scholar] [CrossRef]
Figure 1. Conceptual model.
Figure 1. Conceptual model.
Sustainability 11 02175 g001
Figure 2. Flow chart of code-and-retrieve and the rule-based theory-building system, Source: [26].
Figure 2. Flow chart of code-and-retrieve and the rule-based theory-building system, Source: [26].
Sustainability 11 02175 g002
Figure 3. Flow chart of data processing.
Figure 3. Flow chart of data processing.
Sustainability 11 02175 g003
Figure 4. The classification of articles in “Morakot’s Independent News.”
Figure 4. The classification of articles in “Morakot’s Independent News.”
Sustainability 11 02175 g004

Share and Cite

MDPI and ACS Style

Chuang, M.-T. Multi-Conflicts between the Government, the Non-Profit Organisation and the People after a Serious Landslide Disaster Based Upon Qualitative Analysis. Sustainability 2019, 11, 2175. https://doi.org/10.3390/su11072175

AMA Style

Chuang M-T. Multi-Conflicts between the Government, the Non-Profit Organisation and the People after a Serious Landslide Disaster Based Upon Qualitative Analysis. Sustainability. 2019; 11(7):2175. https://doi.org/10.3390/su11072175

Chicago/Turabian Style

Chuang, Min-Ta. 2019. "Multi-Conflicts between the Government, the Non-Profit Organisation and the People after a Serious Landslide Disaster Based Upon Qualitative Analysis" Sustainability 11, no. 7: 2175. https://doi.org/10.3390/su11072175

APA Style

Chuang, M.-T. (2019). Multi-Conflicts between the Government, the Non-Profit Organisation and the People after a Serious Landslide Disaster Based Upon Qualitative Analysis. Sustainability, 11(7), 2175. https://doi.org/10.3390/su11072175

Note that from the first issue of 2016, this journal uses article numbers instead of page numbers. See further details here.

Article Metrics

Back to TopTop