Fire Effects on Historical Wildfire Refugia in Contemporary Wildfires
Abstract
:1. Introduction
2. Materials and Methods
2.1. Study Area
2.2. The 2012 Fires
2.3. Field Measurements
2.4. Data Quality Assurance
2.5. Comparison of Fire Effects between Resampled and Original Plots
2.6. Assessment of Changes in Forest Structure
2.7. Limitations of Methods
3. Results
3.1. Assessment of Fire Effects in the Camp et al., Refugial and Non-Refugial Plots
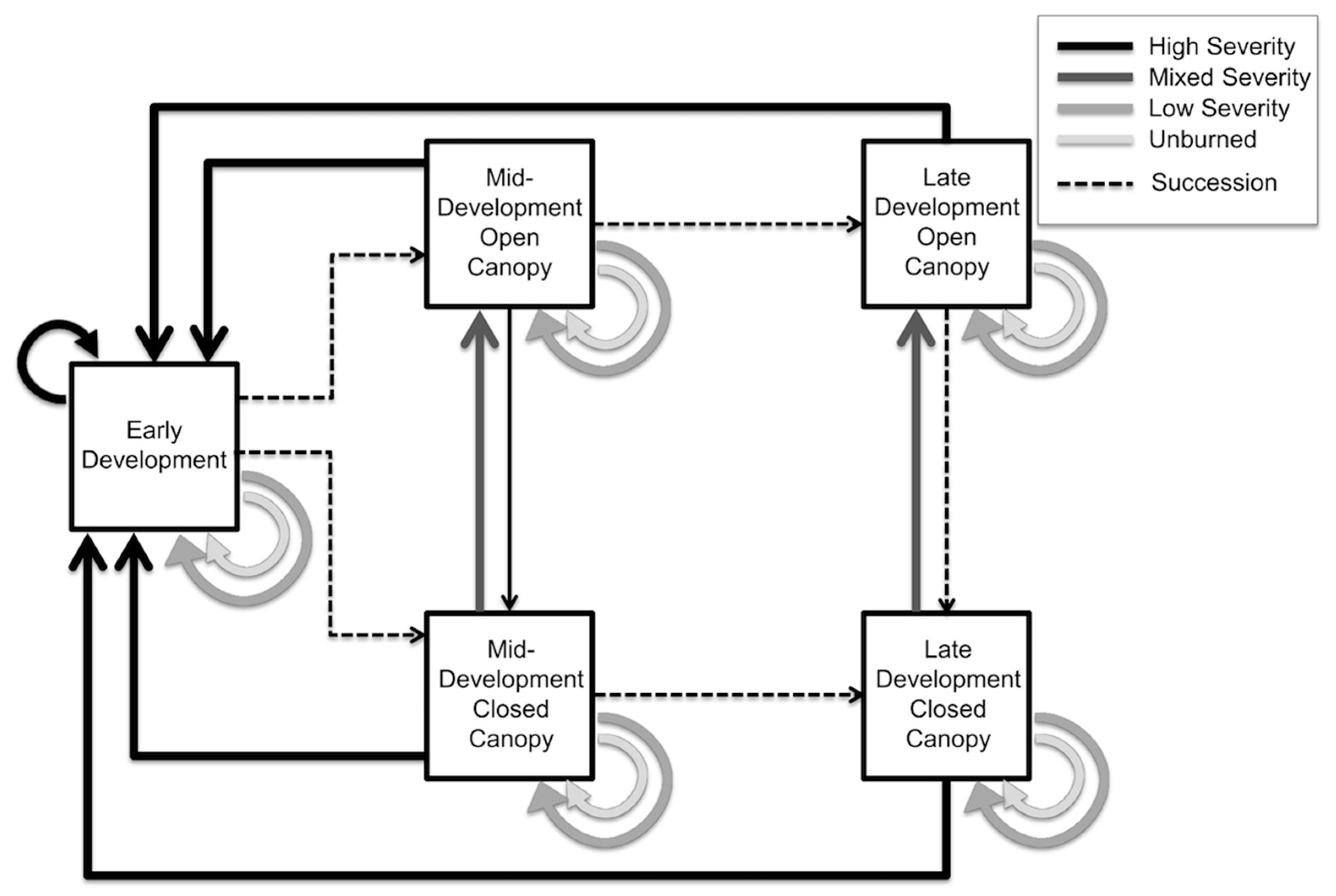
3.2. Changes in Successional State
4. Discussion
4.1. Comparison of Fire Effects between Sample Years
4.2. Distribution of Post-Fire Successional States and Ecological Transitions
4.3. Implications for Management
5. Conclusions
Acknowledgments
Author Contributions
Conflicts of Interest
References
- Bowman, D.M.; Balch, J.K.; Artaxo, P.; Bond, W.J.; Carlson, J.M.; Cochrane, M.A.; D’Antonio, C.M.; DeFries, R.S.; Doyle, J.C.; Harrison, S.P.; et al. Fire in the Earth system. Science 2009, 324, 481–484. [Google Scholar] [CrossRef] [PubMed]
- Agee, J.K. Fire Ecology of Pacific Northwest Forests; Island Press: Washington, DC, USA, 1996. [Google Scholar]
- Lentile, L.B.; Morgan, P.; Hudak, A.T.; Bobbitt, M.J.; Lewis, S.A.; Smith, A.M.S.; Robichaud, P. Post-fire burn severity and vegetation response following eight large wildfires across the western United States. Fire Ecol. 2007, 3, 91–108. [Google Scholar] [CrossRef]
- Kolden, C.A.; Abatzoglou, J.T.; Lutz, J.A.; Cansler, C.A.; Kane, J.T.; Van Wagtendonk, J.W.; Key, C.H. Climate contributors to forest mosaics: Ecological persistence following wildfire. Northwest Sci. 2015, 89, 219–238. [Google Scholar] [CrossRef]
- Reilly, M.J.; Dunn, C.J.; Meigs, G.W.; Spies, T.A.; Kennedy, R.E.; Bailey, J.D.; Briggs, K. Contemporary patterns of fire extent and severity in forests of the Pacific Northwest, USA (1985–2010). Ecosphere 2017, 8. [Google Scholar] [CrossRef]
- Lentile, L.B.; Holden, Z.A.; Smith, A.M.S.; Falkowski, M.J.; Hudak, A.T.; Morgan, P.; Lewis, S.A.; Gessler, P.E.; Benson, N.C. Remote sensing techniques to assess active fire characteristics and post-fire effects. Int. J. Wildland Fire 2006, 15, 319–345. [Google Scholar] [CrossRef]
- Hessburg, P.F.; Salter, R.B.; James, K.M. Re-examining fire severity relations in pre-management era mixed conifer forests: Inferences from landscape patterns of forest structure. Landsc. Ecol. 2007, 22, 5–24. [Google Scholar] [CrossRef]
- Freund, J.A.; Franklin, J.F.; Lutz, J.A. Structure of early old-growth Douglas-fir forests in the Pacific Northwest. For. Ecol. Manag. 2015, 335, 11–25. [Google Scholar] [CrossRef]
- Hutto, R.L. The ecological importance of severe wildfires: Some like it hot. Ecol. Appl. 2008, 18, 1827–1834. [Google Scholar] [CrossRef] [PubMed]
- Vaillant, N.M.; Kolden, C.A.; Smith, A.M.S. Assessing landscape vulnerability to wildfire in the United States. Curr. For. Rep. 2016, 2, 201–213. [Google Scholar] [CrossRef]
- Camp, A.; Oliver, C.; Hessburg, P.; Everett, R. Predicting late-successional fire refugia pre-dating European settlement in the Wenatchee Mountains. For. Ecol. Manag. 1997, 95, 63–77. [Google Scholar] [CrossRef]
- Krawchuk, M.A.; Haire, S.L.; Coop, J.; Parisien, M.A.; Whitman, E.; Chong, G.; Miller, C. Topographic and fire weather controls of fire refugia in forested ecosystems of northwestern North America. Ecosphere 2016, 7. [Google Scholar] [CrossRef]
- Meddens, A.J.H.; Kolden, C.A.; Lutz, J.A. Detecting unburned areas within wildfire perimeters using Landsat and ancillary data across the northwestern United States. Remote Sens. Environ. 2016, 186, 275–285. [Google Scholar] [CrossRef]
- Robinson, N.M.; Leonard, S.W.; Ritchie, E.G.; Bassett, M.; Chia, E.K.; Buckingham, S.; Gibb, H.; Bennett, A.F.; Clarke, M.F. Refuges for fauna in fire-prone landscapes: Their ecological function and importance. J. Appl. Ecol. 2013, 50, 1321–1329. [Google Scholar] [CrossRef]
- Keppel, G.; Van Niel, K.P.; Wardell-Johnson, G.W.; Yates, C.J.; Byrne, M.; Mucina, L.; Schut, A.G.; Hopper, S.D.; Franklin, S.E. Refugia: Identifying and understanding safe havens for biodiversity under climate change. Glob. Ecol. Biog. 2012, 21, 393–404. [Google Scholar] [CrossRef]
- Delong, S.C.; Kessler, D.W. Ecological characteristics of mature forest remnants left by wildfire. For. Ecol. Manag. 2000, 131, 93–106. [Google Scholar] [CrossRef]
- Schwilk, D.W.; Keeley, J.E. The role of wildfire refugia in the distribution of Pinus sabiniana (Pinaceae) in the southern Sierra Nevada. Madroño 2006, 53, 364–372. [Google Scholar] [CrossRef]
- Román-Cuesta, R.M.; Garcia, M.; Retana, J. Factors influencing the formation of unburned forest islands within the perimeter of a large forest fire. For. Ecol. Manag. 2009, 258, 71–80. [Google Scholar] [CrossRef]
- Stine, P.; Hessburg, P.; Spies, T.; Kramer, M.; Fettig, C.J.; Hansen, A.; Lehmkuhl, J.; O’Hara, K.; Polivka, K.; Singleton, P.; et al. The Ecology and Management of Moist Mixed-Conifer Forests in Eastern Oregon and Washington: A Synthesis of the Relevant Biophysical Science and Implications for Future Land Management; General Technical Report; PNW-GTR-897; United States Department of Agriculture Forest Service: Portland, OR, USA, 2014.
- Kane, V.R.; Lutz, J.A.; Roberts, S.L.; Smith, D.F.; McGaughey, R.J.; Povak, N.A.; Brooks, M.L. Landscape-scale effects of fire severity on mixed-conifer and red fir forest structure in Yosemite National Park. For. Ecol. Manag. 2013, 287, 17–31. [Google Scholar] [CrossRef]
- Kushla, J.D.; Ripple, W.J. The role of terrain in a fire mosaic of a temperate coniferous forest. For. Ecol. Manag. 1997, 95, 97–107. [Google Scholar] [CrossRef]
- Alexander, J.D.; Seavy, N.E.; Ralph, C.J.; Hogoboom, B. Vegetation and topographical correlates of fire severity from two fires in the Klamath-Siskiyou region of Oregon and California. Int. J. Wildland Fire 2006, 15, 237. [Google Scholar] [CrossRef]
- Kane, V.R.; Cansler, C.A.; Povak, N.A.; Kane, J.T.; McGaughey, R.J.; Lutz, J.A.; Churchill, D.J.; North, M.P. Mixed severity fire effects within the Rim fire: Relative importance of local climate, fire weather, topography, and forest structure. For. Ecol. Manag. 2015, 358, 62–79. [Google Scholar] [CrossRef]
- Dillon, G.K.; Holden, Z.A.; Morgan, P.; Crimins, M.A.; Heyerdahl, E.K.; Luce, C.H. Both topography and climate affected forest and woodland burn severity in two regions of the western US, 1984–2006. Ecosphere 2011, 2, 130. [Google Scholar] [CrossRef]
- Cansler, C.A.; McKenzie, D. Climate, fire size, and biophysical setting control fire severity and spatial pattern in the northern Cascade Range, USA. Ecol. Appl. 2014, 24, 1037–1056. [Google Scholar] [CrossRef] [PubMed]
- Birch, D.S.; Morgan, P.; Kolden, C.A.; Abatzoglou, J.T.; Dillon, G.K.; Hudak, A.T.; Holden, Z.A.; Smith, A.M.S. Vegetation, topography, and daily weather influenced burn severity in central Idaho and western Montana forests. Ecosphere 2015, 6, 17. [Google Scholar] [CrossRef]
- Abatzoglou, J.T.; Kolden, C.A.; Williams, A.P.; Lutz, J.A.; Smith, A.M.S. Climatic influences on inter-annual variability in regional burn severity across western US forests. Int. J. Wildland Fire 2017, 26, 269–275. [Google Scholar] [CrossRef]
- Bessie, W.C.; Johnson, E.A. Relative importance of fuels and weather on fire behavior in subalpine forests. Ecology 1995, 76, 747–762. [Google Scholar] [CrossRef]
- Birch, D.S.; Morgan, P.; Kolden, C.A.; Hudak, A.T.; Smith, A.M.S. Is proportion burned severely related to daily area burned? Environ. Res. Lett. 2014, 9, 064011. [Google Scholar] [CrossRef]
- Prichard, S.J.; Kennedy, M.C. Fuel treatments and landform modify landscape patterns of burn severity in an extreme fire event. Ecol. Appl. 2014, 24, 571–590. [Google Scholar] [CrossRef] [PubMed]
- Hessburg, P.F.; Agee, J.K. An environmental narrative of Inland Northwest United States forests, 1800–2000. For. Ecol. Manag. 2003, 178, 23–59. [Google Scholar] [CrossRef]
- Hessburg, P.F.; Agee, J.K.; Franklin, J.F. Dry forests and wildland fires of the inland Northwest USA: Contrasting the landscape ecology of the pre-settlement and modern eras. For. Ecol. Manag. 2005, 211, 117–139. [Google Scholar] [CrossRef]
- Hessburg, P.F.; Smith, B.G.; Salter, R.B.; Ottmar, R.D.; Alvarado, E. Recent changes (1930s–1990s) in spatial patterns of interior northwest forests, USA. For. Ecol. Manag. 2000, 136, 53–83. [Google Scholar] [CrossRef]
- Littell, J.S.; McKenzie, D.; Peterson, D.L.; Westerling, A.L. Climate and wildfire area burned in western U.S. ecoprovinces, 1916–2003. Ecol. Appl. 2009, 19, 1003–1021. [Google Scholar] [CrossRef] [PubMed]
- Abatzoglou, J.T.; Kolden, C.A. Relationships between climate and macroscale area burned in the western United States. Int. J. Wildland Fire 2013, 22, 1003–1020. [Google Scholar] [CrossRef]
- Barbero, R.; Abatzoglou, J.T.; Larkin, N.K.; Kolden, C.A.; Stocks, B. Climate change presents increased potential for very large fires in the contiguous United States. Int. J. Wildland Fire 2015, 24, 892–899. [Google Scholar] [CrossRef]
- Abatzoglou, J.T.; Williams, A.P. Impact of anthropogenic climate change on wildfire across western US forests. Proc. Nat. Acad. Sci. USA 2016, 113, 11770–11775. [Google Scholar] [CrossRef] [PubMed]
- Miller, J.D.; Safford, H.D.; Crimmins, M.; Thode, A.E. Quantitative evidence for increasing forest fire severity in the Sierra Nevada and southern Cascade mountains, California and Nevada, USA. Ecosystems 2008, 12, 16–32. [Google Scholar] [CrossRef]
- Miller, J.D.; Safford, H. Trends in wildfire severity: 1984 to 2010 in the Sierra Nevada, Modoc Plateau, and southern Cascades, California, USA. Fire Ecol. 2012, 8, 41–57. [Google Scholar] [CrossRef]
- Picotte, J.J.; Peterson, B.; Meier, G.; Howard, S.M. 1984–2010 trends in fire burn severity and area for the conterminous US. Int. J. Wildland Fire 2016, 25, 413–420. [Google Scholar] [CrossRef]
- Meddens, A.J.H.; Kolden, C.A.; Lutz, J.A.; Abatzoglou, J.T.; Hudak, A.T. Spatiotemporal patterns of unburned areas within fire perimeters in the northwestern United States from 1984 to 2014. Ecosphere 2017, in press. [Google Scholar]
- Kolden, C.A.; Lutz, J.A.; Key, C.H.; Kane, J.T.; van Wagtendonk, J.W. Mapped versus actual burned area within wildfire perimeters: Characterizing the unburned. For. Ecol. Manag. 2012, 286, 38–47. [Google Scholar] [CrossRef]
- Wright, C.S.; Agee, J.K. Fire and vegetation history in the eastern Cascade Mountains, Washington. Ecol. Appl. 2004, 14, 443–459. [Google Scholar] [CrossRef]
- United States Department of Agriculture (USDA); United States Department of the Interior (USDOI). Record of Decision for Amendments to Forest Service and Bureau of Land Management Planning Documents within the Range of the Northern Spotted Owl, Attachment A: Standards and Guidelines for Management of Habitat for Late-Successional and Old-Growth Forest Related Species within the Range of the Northern Spotted Owl; U.S. Government: Washington, DC, USA, 1994.
- Williams, C.K.; Smith, B. Forested Plant Associations of the Wenatchee National Forest; US Forest Service Pacific Northwest Region, Wenatchee National Forest: Portland, OR, USA, 1991.
- Holstine, C.E. An Historical Overview of the Wenatchee National Forest, Washington; Rep. 100–80; Archaeological and Historical Services, Eastern Washington University: Cheney, WA, USA, 1992. [Google Scholar]
- Everett, R.L.; Martin, S.; Bickford, M.; Schellhaas, R.; Forsman, E. Variability and Dynamics of Spotted Owl Nesting Habitat in Eastern Washington; General Technical Report; INT-GTR-291; United States Department of Agriculture Forest Service: Ogden, UT, USA, 1991; pp. 35–39.
- Western Regional Climate Center. Available online: www.wrcc.dri.edu (accessed on 21 March 2015).
- Key, C.H.; Benson, N.C. Landscape Assessment (LA) Sampling and Analysis Methods; US Forest Service: Ogden, UT, USA.
- Morgan, P.; Keane, R.E.; Dillon, G.K.; Jain, T.B.; Hudak, A.T.; Karau, E.C.; Sikkink, P.G.; Holden, Z.A.; Strand, E.K. Challenges of assessing fire and burn severity using field measures, remote sensing and modelling. Int. J. Wildland Fire 2014, 23, 1045–1060. [Google Scholar] [CrossRef]
- Zhu, Z.; Key, C.H.; Ohlen, D.; Benson, N.C. Evaluating Sensitivities of Burn Severity-Mapping Algorithms for Different Ecosystems and Fire Histories; Joint Fire Science Program: Boise, ID, USA, 2006.
- Welch, B.L. The generalization of “Student’s” problem when several different population variances are involved. Biometrika 1947, 34, 28–35. [Google Scholar] [CrossRef] [PubMed]
- McCune, B.; Keon, D. Equations for potential annual direct incident radiation and heat load. J. Veg. Sci. 2002, 13, 603–606. [Google Scholar] [CrossRef]
- LANDFIRE. Available online: www.landfire.gov (accessed on 24 September 2015).
- Rollins, M.G. LANDFIRE: A nationally consistent vegetation, wildland fire, and fuel assessment. Int. J. Wildland Fire 2009, 18, 235–249. [Google Scholar] [CrossRef]
- Keane, R.E.; Burgan, R.; van Wagtendonk, J.W. Mapping wildland fuels for fire management across multiple scales: Integrating remote sensing, GIS, and biophysical modeling. Int. J. Wildland Fire 2001, 10, 301–319. [Google Scholar] [CrossRef]
- Keane, R.E.; Karau, E.C. Evaluating the ecological benefits of wildfire by integrating fire and ecosystem simulation models. Ecol. Model. 2010, 221, 1162–1172. [Google Scholar] [CrossRef]
- Strand, E.K.; Vierling, L.A.; Bunting, S.C.; Gessler, P.E. Quantifying successional rates in western aspen woodlands: Current conditions, future predictions. For. Ecol. Manag. 2009, 257, 1705–1715. [Google Scholar] [CrossRef]
- Haugo, R.; Zanger, C.; DeMeo, T.; Ringo, C.; Shlisky, A.; Blankenship, K.; Simpson, M.; Mellen-McLean, K.; Kertis, J.; Stern, M. A new approach to evaluate forest structure restoration needs across Oregon and Washington. For. Ecol. Manag. 2015, 335, 37–50. [Google Scholar] [CrossRef]
- Lillybridge, T.R.; Kovalchik, B.L.; Williams, C.K.; Smith, B.G. Field Guide for Forested Plant Associations of the Wenatchee National Forest; Gen. Tech. Rep. 359; US Forest Service Pacific Northwest Research Station: Portland, OR, USA, 1995. [Google Scholar]
- ESSA Technologies, Ltd. Vegetation Dynamics Development Tool User Guide, Version 6.0; ESSA Technologies Ltd.: Vancouver, BC, Canada, 2007. [Google Scholar]
- Smith, A.M.S.; Eitel, J.U.H.; Hudak, A.T. Spectral Analysis of Charcoal on Soils: Implications for Wildland Fire Severity Mapping Methods. Int. J. Wildland Fire 2010, 19, 976–983. [Google Scholar] [CrossRef]
- Roy, D.P.; Boschetti, L.; Smith, A.M.S. Satellite remote sensing of fires. In Fire Phenomena and the Earth System: An Interdisciplinary Guide to Fire Science; Belcher, C.M., Rein, G., Eds.; John Wiley & Sons Ltd.: Chichester, UK, 2013; ISBN 978-0-470-65748-5. [Google Scholar]
- Smith, A.M.S.; Sparks, A.M.; Kolden, C.A.; Abatzoglou, J.T.; Talhelm, A.F.; Johnson, D.M.; Boschetti, L.; Lutz, J.A.; Apostol, K.G.; Yedinak, K.M.; et al. Towards a new paradigm in fire severity research using dose-response experiments. Int. J. Wildland Fire 2016, 25, 158–166. [Google Scholar] [CrossRef]
- Korhonen, L.; Korhonen, K.T.; Rautiainen, M.; Stenberg, P. Estimation of forest canopy cover: A comparison of field measurement techniques. Silva Fennica 2006, 40, 577–588. [Google Scholar] [CrossRef]
- Swanson, M.E.; Franklin, J.F.; Beschta, R.L.; Crisafulli, C.M.; DellaSala, D.A.; Hutto, R.L.; Lindenmayer, D.B.; Swanson, F.J. The forgotten stage of forest succession: Early-successional ecosystems on forest sites. Front. Ecol. Environ. 2011, 9, 117–125. [Google Scholar] [CrossRef]
- Barrett, S. Fire suppression’s effects on forest succession within a central Idaho wilderness. West. J. Appl. For. 1988, 3, 76–80. [Google Scholar]
- Hessburg, P.F.; Churchill, D.J.; Larson, A.J.; Haugo, R.D.; Miller, C.; Spies, T.A.; North, M.P.; Povak, N.A.; Belote, R.T.; Singleton, P.H.; et al. Restoring fire-prone Inland Pacific landscapes: Seven core principles. Landsc. Ecol. 2015, 30, 1805–1835. [Google Scholar] [CrossRef]
- Smith, A.M.S.; Kolden, C.A.; Tinkham, W.T.; Talhelm, A.F.; Marshall, J.D.; Hudak, A.T.; Boschetti, L.; Falkowski, M.J.; Greenberg, J.A.; Anderson, J.W.; et al. Remote sensing the vulnerability of vegetation in natural terrestrial ecosystems. Remote Sens. Environ. 2014, 154, 322–337. [Google Scholar] [CrossRef]




| Data Type | Variable | Definition |
|---|---|---|
| Topographic | Aspect Northness | cos(π/2-aspect); range from −1 (south) to 1 (north) |
| Aspect Eastness | sin(π/2-aspect); range from −1 (west) to 1 (east) | |
| Slope | Degrees; measured by clinometer | |
| Elevation | Meters; measured by global positioning system | |
| Topography Type | Ten option categorical classification (from [11]) | |
| Vegetative | Max Canopy Height | Meters; measured by Impulse Laser |
| Species Present | Dominant tree species | |
| Canopy Structure | Presence/absence of overstory/subcanopy strata | |
| All Trees Pre-fire | Count of all trees alive in plot pre-fire | |
| Overstory Trees Pre-fire | Count of all ≥12.6 cm DBH alive in overstory strata pre-fire | |
| Subcanopy Trees Pre-fire | Count of all trees ≥12.6 cm DBH alive in subcanopy strata pre-fire | |
| Total Canopy Cover Pre-fire | Ocular estimate of pre-fire canopy cover for all tree strata | |
| Overstory Canopy Cover Pre-fire | Ocular estimate of pre-fire canopy cover for overstory strata | |
| Subcanopy Canopy Cover Pre-fire | Ocular estimate of pre-fire canopy cover for subcanopy strata | |
| Average DBH | Average DBH of 10 sampled trees on plot | |
| Maximum DBH | Maximum DBH of 10 sampled trees on plot | |
| Pre-fire Plot Basal Area | Average basal area of 10 sampled trees on plot [π(DBH/2)2] * count of trees on plot. Unit: m2 basal area/900 m2 plot area | |
| Fire Effects | Total Tree Mortality | Count of all tree mortality in plot post-fire |
| Overstory Tree Mortality | Count of all ≥12.6 cm DBH tree mortality in overstory strata post-fire | |
| Subcanopy Tree Mortality | Count of all ≥12.6 cm DBH subcanopy tree mortality in subcanopy strata post-fire | |
| Total Plot CBI | Composite Burn Index protocol (score from 0 to 3) |
| Data Type | Variable | Definition |
|---|---|---|
| Demographic | Species | Field Identification |
| Diameter at breast height | Field measure; cm | |
| Secondary Stress | Presence of: Fire, Freezing, Fungus, Insect, Mechanical, Mistletoe, Rot | |
| Fire Effects | Mortality | Fire-induced tree death |
| Percent Bole Char | Maximum percent of basal bole with visible char | |
| Bole Char Max Height | Maximum height of continuous char on bole (m) | |
| Percent Foliage Scorch | Ocular estimate of pre-fire living foliage scorched or girdled | |
| Percent Foliage Torch | Ocular estimate of pre-fire living foliage torched by fire |
| Biophysical Setting Model Name | Wenatchee NF Correlate | Plots |
|---|---|---|
| Northern Rocky Mountain Dry-Mesic Montane Mixed Conifer Forest | Douglas-fir Series | 17 |
| East Cascades Mesic Montane Mixed-Conifer Forest and Woodland | Grand Fir Series | 84 |
| Rocky Mountain Subalpine Dry-Mesic Spruce-Fir Forest and Woodland | Subalpine Fir Series | 13 |
| Biophysical Setting (BpS) | State | Cover | Height | Tree Size Class |
|---|---|---|---|---|
| Northern Rocky Mountain Dry-Mesic Montane Mixed Conifer Forest (Douglas Fir Series) | Early | 0–20% | Tree 0–5 m | Sapling > 4.5’, <5” DBH |
| Mid-Open | 0–40% | Tree 5.1–25 m | 9–21” DBH | |
| Mid-Closed | 41–100% | Tree 5.1–25 m | 9–21” DBH | |
| Late-Open | 11–40% | Tree 25.1–50 m | > 33” DBH | |
| Late-Closed | 41–100% | Tree 25.1–50 m | > 33” DBH | |
| East Cascades Mesic Montane Mixed Conifer Forest and Woodland (Grand Fir series) | Early | 0–100% | Tree 0–10 m | Sapling >4.5’, <5” DBH |
| Mid-Open | 0–60% | Tree 10.1–25 m | 9–21” DBH | |
| Mid-Closed | 61–100% | Tree 10.1–25 m | 9–21” DBH | |
| Late-Open | 0–60% | Tree 25.1–>50 m | >33” DBH | |
| Late-Closed | 61–100% | Tree 25.1–>50 m | >33” DBH | |
| Rocky Mountain Subalpine Dry-Mesic Spruce-Fir Forest and Woodland (Subalpine Fir series) | Early | 0–40% | Shrub 0–0.5 m | None |
| Mid-Open | 11–30% | Tree 5.1–10 m | 9–21” DBH | |
| Mid-Closed | 31–60% | Tree 5.1–10 m | 9–21” DBH | |
| Late-Open | 11–40% | Tree 10.1–25 m | 21–33” DBH | |
| Late-Closed | 41–70% | Tree 10.1–25 m | 21–33” DBH |
| Sampling Description | Refugial per [11] | Non-Refugial per [11] | Total |
|---|---|---|---|
| Sampled by [11] | 43 | 183 | 226 |
| Sampled in 2014, this study | 41 | 81 | 122 |
| Plots paired to [11] | 36 | 73 | 109 |
| Plots unburned | 1 | 5 | 6 |
| Successional State | Pre-Fire State | Post-Fire State | ||
|---|---|---|---|---|
| Count | Percent | Count | Percent | |
| Early Development | 0 | 0% | 23 | 19% |
| Mid-Development Open Canopy | 39 | 32% | 55 | 45% |
| Mid-Development Closed Canopy | 47 | 39% | 12 | 10% |
| Late Development Open Canopy | 11 | 9% | 24 | 20% |
| Late Development Closed Canopy | 25 | 20% | 8 | 6% |
| Successional Transition | Refugia | Non-Refugia | ||
|---|---|---|---|---|
| Count | Percent | Count | Percent | |
| Maintained state | 17 | 42% | 44 | 54% |
| Thinned from Closed to Open Canopy | 14 | 34% | 24 | 30% |
| Converted to Early Development state | 10 | 24% | 13 | 16% |
© 2017 by the authors. Licensee MDPI, Basel, Switzerland. This article is an open access article distributed under the terms and conditions of the Creative Commons Attribution (CC BY) license (http://creativecommons.org/licenses/by/4.0/).
Share and Cite
Kolden, C.A.; Bleeker, T.M.; Smith, A.M.S.; Poulos, H.M.; Camp, A.E. Fire Effects on Historical Wildfire Refugia in Contemporary Wildfires. Forests 2017, 8, 400. https://doi.org/10.3390/f8100400
Kolden CA, Bleeker TM, Smith AMS, Poulos HM, Camp AE. Fire Effects on Historical Wildfire Refugia in Contemporary Wildfires. Forests. 2017; 8(10):400. https://doi.org/10.3390/f8100400
Chicago/Turabian StyleKolden, Crystal A., Tyler M. Bleeker, Alistair M. S. Smith, Helen M. Poulos, and Ann E. Camp. 2017. "Fire Effects on Historical Wildfire Refugia in Contemporary Wildfires" Forests 8, no. 10: 400. https://doi.org/10.3390/f8100400
APA StyleKolden, C. A., Bleeker, T. M., Smith, A. M. S., Poulos, H. M., & Camp, A. E. (2017). Fire Effects on Historical Wildfire Refugia in Contemporary Wildfires. Forests, 8(10), 400. https://doi.org/10.3390/f8100400

