Soil Erosion Reduction by Grain for Green Project in Desertification Areas of Northern China
Abstract
1. Introduction
2. Methods
2.1. Overview of Grain for Green Project in Northern China
2.2. Ecological Regionalization of Grain for Green Project in Northern China
2.3. Distribution of Monitoring Sites
2.4. Distributed Evaluation System for Assessing Dust Retention and Sand Fixation
2.5. Data Collection
2.6. Dust Retention Assessment
2.7. Sand Fixation Evaluation
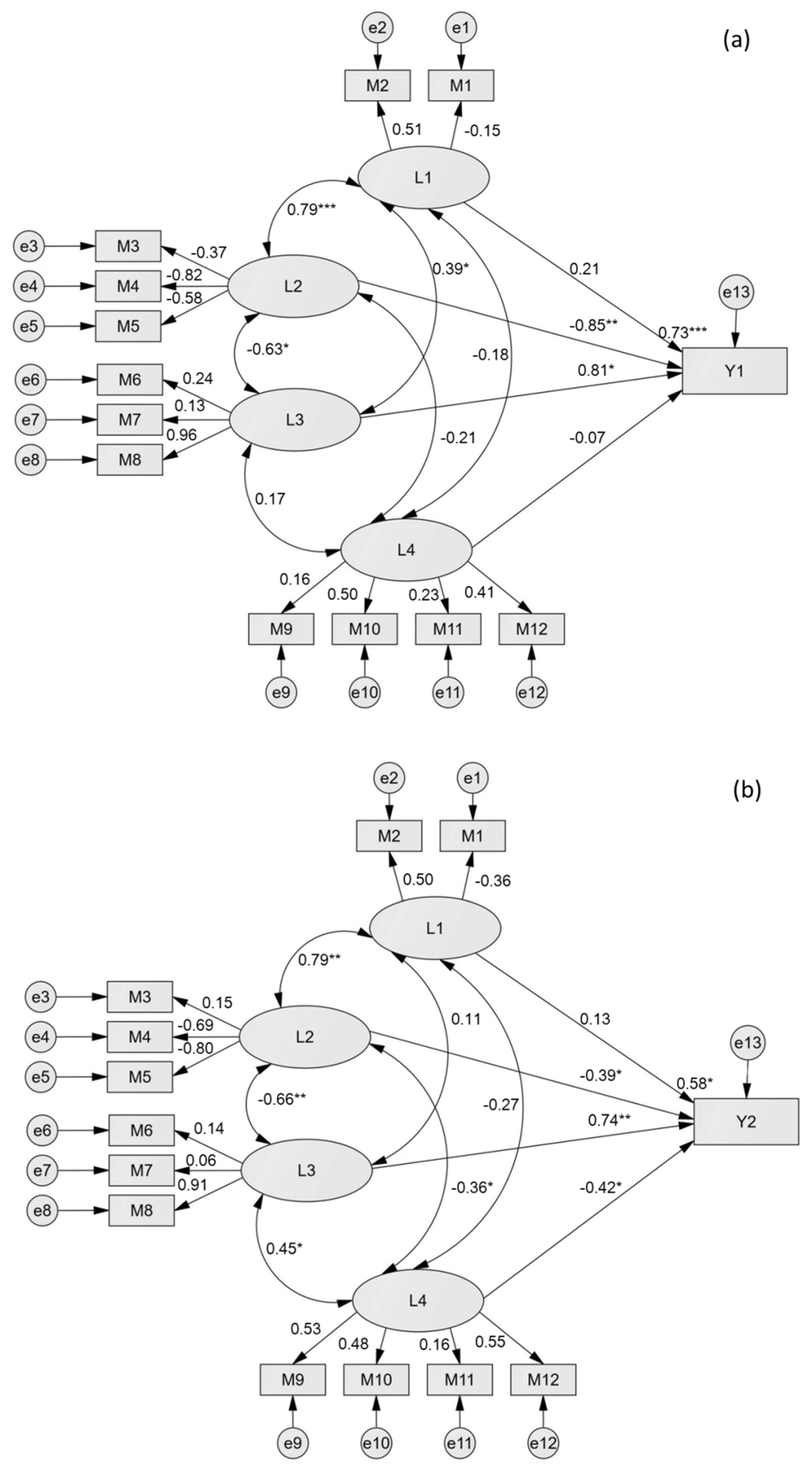
2.8. Driving Factors Analysis
3. Results
3.1. Sand Fixation and Dust Retention Associated with Different Restoration Methods
3.2. Sand Fixation and Dust Retention Associated with Different Forest Types
3.3. Sand Fixation and Dust Retention in Different Ecological Function Zones
3.4. Sand Fixation and Dust Retention in Key Desertification Areas under Grain for Green Project
3.5. Erosion Reduction along Sandstorm Paths and Sources
3.6. Driving Factors Influencing Sand Fixation and Dust Retention Variation in Grain for Green Project Areas
4. Discussion
4.1. Characteristics of Sand Fixation and Dust Retention in Grain for Green Project Areas
4.2. Soil Erosion Reduction by Grain for Green Project Initiatives in Key Desertification Areas
4.3. Main Driving Factors Influencing Sand Fixation and Dust Retention in Grain for Green Project Areas
5. Conclusions
Author Contributions
Funding
Conflicts of Interest
References
- State Forestry Administration. Bulletin of Desertification and Sandification State of China; State Forestry Administration: Beijing, China, 2015. (In Chinese)
- Gong, G.L.; Liu, J.Y.; Shao, Q.Q.; Zhai, J. Sand-fixing function under the change of vegetation coverage in a wind erosion area in northern China. J. Res. Ecol. 2014, 5, 105–114. [Google Scholar]
- Chalise, D.; Kumar, L.; Shriwastav, C.P.; Lamichhane, S. Spatial assessment of soil erosion in a hilly watershed of Western Nepal. Environ. Earth Sci. 2018, 77, 685. [Google Scholar] [CrossRef]
- Chalise, D.; Kumar, L.; Kristiansen, P. Land degradation by soil erosion in Nepal: A review. Soil Syst. 2019, 3, 12. [Google Scholar] [CrossRef]
- Fang, J.Y.; Piao, S.L.; He, J.S. Vegetation of China invigorated in last 20 years. Sci. China Ser. C 2003, 33, 554–565. (In Chinese) [Google Scholar]
- Chalise, D.; Kumar, L.; Spalevic, V.; Skataric, G. Estimation of sediment yield and maximum outflow using the IntErO model in the Sarada river basin of Nepal. Water 2019, 11, 952. [Google Scholar] [CrossRef]
- Chalise, D.; Kumar, L.; Sharma, R.; Kristiansen, P. Assessing the impacts of tillage and mulch on soil erosion and corn yield. Agronomy 2020, 10, 63. [Google Scholar] [CrossRef]
- Leenders, J.K.; Sterk, G.; Boxel, J.H. Wind erosion reduction by scattered woody vegetation in farmers’ fields in Northern Burkina Faso. Land Degrad. Dev. 2014, 27, 1863–1872. [Google Scholar] [CrossRef]
- Zhang, G.P.; Zhang, Z.X.; Liu, J.Y. Spatial distribution of aeolian erosion of soil and its driving factors in China. Acta Geogr. Sin. 2001, 56, 158–169, (In Chinese with English abstract). [Google Scholar]
- Gu, W.; Ca, X.P.; Xie, F.; Li, Z.J.; Wu, X.H. Study on relationship between vegetation cover and distribution of days of sandstorm-taking central and western Inner Mongolia for example. Adv. Earth Sci. 2002, 17, 273–277, (In Chinese with English abstract). [Google Scholar]
- Zhang, T.R.; Chai, X.M.; Li, Z.Z. Characteristics of vegetation coverage in northern China and its relationship with sandstorm. Plateau Meteorol. 2010, 29, 137–145, (In Chinese with English abstract). [Google Scholar]
- Long, H.L.; Heilig, G.K.; Wang, J.; Li, X.B.; Luo, M.; Wu, X.Q.; Zhang, M. Land use and soil erosion in the upper reaches of the Yangtze River: Some socio-economic considerations on China’s Grain-for-Green Programme. Land Degrad. Dev. 2006, 17, 589–603. [Google Scholar] [CrossRef]
- Qin, Y.B.; Xin, Z.B.; Yi, Y.; Yang, M.C. Spatiotemporal variation of sandstorm and its response to vegetation restoration in Beijing-Tianjin sandstorm source area. Trans. Chin. Soc. Agric. Eng. 2012, 28, 196–204, (In Chinese with English abstract). [Google Scholar]
- Yu, B.L.; Wu, W.J.; Zhao, X.J.; Wu, E.T.; Cai, L.Y.; Yang, F.J. Benefits of soil wind erosion control of the Beijing-Tianjin Sand Source Control Project in Inner Mongolia. Arid Zone Res. 2016, 33, 1278–1286. (In Chinese) [Google Scholar]
- Liu, J.G.; Li, S.X.; Ouyang, Z.Y.; Tam, C.; Chen, X.D. Ecological and socioeconomic effects of China’s policies for ecosystem services. Proc. Natl. Acad. Sci. USA 2008, 105, 9477–9482. [Google Scholar] [CrossRef]
- Deng, L.; Shangguan, Z.P.; Li, R. Effects of the grain-for-green program on soil erosion in China. Int. J. Sediment Res. 2012, 27, 120–127. [Google Scholar] [CrossRef]
- He, H.J.; Zhuo, J.; Wang, J.; Dong, J.F.; Quan, W.T. Relationship between fractional vegetation cover and humidity index after returning farmland to forest in Shaanxi Province. Acta Ecol. Sin. 2016, 36, 439–447. [Google Scholar]
- Wang, Z.J.; Jiao, J.Y.; Rayburg, S.; Wang, Q.L.; Su, Y. Soil erosion resistance of “Grain for Green” vegetation types under extreme rainfall conditions on the loess plateau, China. Catena 2016, 141, 109–116. [Google Scholar] [CrossRef]
- Zhao, A.Z.; Zhang, A.B.; Liu, H.X.; Liu, Y.X.; Wang, H.F.; Wang, D.L. Spatiotemporal variation of vegetation coverage before and after implementation of grain for green project in the loess plateau. J. Nat. Resour. 2017, 32, 449–460. [Google Scholar]
- Zheng, D. 2008 Ecological Geographical Regional System Research in China; Commercial Press: Beijing, China, 2008. (In Chinese) [Google Scholar]
- Wang, J.A.; Zuo, W. Geographic Atlas in China; China Map Press: Beijing, China, 2009. (In Chinese) [Google Scholar]
- Huang, B.W. Comprehensive Natural Zoning in China; Science Press: Beijing, China, 1989. (In Chinese) [Google Scholar]
- Chinese Academy of Sciences. Vegetation in China; Science Press: Beijing, China, 1960. (In Chinese) [Google Scholar]
- Wu, Z.Y. Vegetation Zoning in China; Science Press: Beijing, China, 1980. (In Chinese) [Google Scholar]
- China’s Environmental Protection Ministry. The National Ecological Function Zoning in China (Revised Version); China’s Environmental Protection Ministry: Beijing, China, 2015. (In Chinese)
- Qiu, X.F.; Zeng, Y.; Miao, Q.L. Temporal-spatial distribution as well as tracks and source areas of sand-dust storms in China. Acta Geogr. Sin. 2001, 56, 316–322, (In Chinese with English abstract). [Google Scholar]
- Wang, B.; Zhou, H.S.; Ao, A.Q.; Li, B.Y.; Lu, S.W.; Li, S.N.; Niu, X.; Wang, J.S.; Chen, B.; Zhou, M.; et al. Monitoring and Evaluation of Ecological Benefits of the Grain for Green Project (LY/T 2573-2016); China Standard Press: Beijing, China, 2016. (In Chinese) [Google Scholar]
- Wang, B.; Yang, F.W.; Guo, H.; Li, S.N.; Wang, Y.; Ma, X.Q.; Yu, X.X.; Lu, S.W.; Wang, H.W. Specifications for Assessment of Forest Ecosystem Services in China; LY/T 1721-2008; Standards Press of China: Beijing, China, 2008; pp. 9–10. (In Chinese) [Google Scholar]
- Wang, B.; Lu, S.W.; Li, H.J.; Chang, W.; Yu, C.Q.; Xue, P.P. Observation Methodology for Long-Term Forest Ecosystem Research; LY/T1952-2011; Standards Press of China: Beijing, China, 2011; p. 8. (In Chinese) [Google Scholar]
- Wang, B.; Niu, X.; Jiang, Y.X.; Wang, X.S.; Wang, D.; Song, Q.F.; Lu, S.W.; Zhou, M.; Ding, F.J.; You, W.Z.; et al. Methodology for Field Long-Term Observation of Forest Ecosystem (GB/T33027-2016); Standard Press: Beijing, China, 2016. (In Chinese) [Google Scholar]
- Wang, B.; Niu, X.; Jiang, Y.X.; Guo, Q.S.; Liu, S.R.; Yang, F.W.; Song, Q.F. Indicators System for Long-Term Observation of Forest Ecosystem (GB/T35377-2017); Standard Press: Beijing, China, 2017. (In Chinese) [Google Scholar]
- Fang, Y.Y.; Wang, B.; Niu, X. Effects of surface roughness on leaf particulate matter capture capability and rain wash-off characteristics. J. Soil Water Conserv. 2015, 29, 110–115, (In Chinese with English abstract). [Google Scholar]
- Zhang, W.K.; Wang, B.; Niu, X. Study on the adsorption capacities for airborne particulates of landscape plants in different polluted regions in Beijing (China). Int. J. Environ. Res. Public Health 2015, 12, 9623–9638. [Google Scholar] [CrossRef]
- Qiu, H.Z.; Lin, B.F. Principle and Application of Structural Equation Model; China Light Industry Press: Beijing, China, 2012; pp. 86–90. (In Chinese) [Google Scholar]
- Wang, T. Soil erosion is influenced by grain for green policy in loess plateau area of northern Shaanxi, China. Int. J. Environ. Prot. Policy 2015, 3, 129–136. [Google Scholar] [CrossRef]
- Zhou, Z.C.; Gan, Z.T.; Shangguan, Z.P.; Dong, Z.B. China’s grain for green program has reduced soil erosion in the upper reaches of the Yangtze River and the middle reaches of the Yellow River. Int. J. Sustain. Dev. World Ecol. 2009, 16, 234–239. [Google Scholar] [CrossRef]
- Breshears, D.D.; Whicker, J.J.; Johansen, M.P.; Pinder, J.E. Wind and water erosion and transport in semi-arid shrubland, grassland and forest ecosystems: Quantifying dominance of horizontal wind-driven transport. Earth Surf. Proc. Land. 2010, 28, 1189–1209. [Google Scholar] [CrossRef]
- Wang, X.H.; Lu, C.H.; Fang, J.F.; Shen, Y.C. Implications for development of grain-for-green policy based on cropland suitability evaluation in desertification-affected north China. Land Use Policy 2007, 24, 417–424. [Google Scholar] [CrossRef]
- Lin, F.; Xu, J. Farmers’ willingness to participate in the next-stage grain-for-green project in the three gorges reservoir area, China. Environ. Manag. 2015, 56, 505–518. [Google Scholar]
- Musick, H.B.; Gillette, D.A. Field evaluation of relationships between a vegetation structural parameter and sheltering against wind erosion. Land Degrad. Dev. 1990, 2, 87–94. [Google Scholar] [CrossRef]
- Okin, G.S.; Gillette, D.A. Distribution of vegetation in wind-dominated landscapes: Implications for wind erosion modeling and landscape processes. J. Geophys. Res. Atmos. 2001, 106, 9673–9683. [Google Scholar] [CrossRef]
- Huang, L.S.; Wang, B.; Niu, X.; Gao, P.; Song, Q.F. Changes in ecosystem services and an analysis of driving factors for China’s natural forest conservation program. Ecol. Evol. 2019, 9, 3700–3716. [Google Scholar] [CrossRef]
- Wang, B.; Gao, P.; Niu, X.; Sun, J.N. Policy-driven China’s grain to green program: Implications for ecosystem services. Ecosyst. Serv. 2017, 27, 38–47. [Google Scholar] [CrossRef]









| Provinces | Total (×104 hm2) | Restoration Methods (×104 hm2) | Forest Types (×104 hm2) | ||||
|---|---|---|---|---|---|---|---|
| Cropland Afforestation | Wasteland Afforestation | Facilitate Afforestation | Ecological Forests | Economic Forests | Shrubs | ||
| Heilongjiang | 17.72 | 17.72 | — | — | 17.68 | 0.04 | — |
| Jilin | 11.89 | 11.89 | — | — | 10.85 | 0.28 | 0.76 |
| Liaoning | 9.12 | 9.12 | — | — | 7.47 | 1.54 | 0.11 |
| Hebei | 45.98 | 20.54 | 20.88 | 4.56 | 26.58 | 0.64 | 18.76 |
| Inner Mongolia | 246.37 | 77.25 | 158.02 | 11.1 | 84.02 | 1.6 | 160.76 |
| Shanxi (West) | 9.33 | 9.33 | — | — | 1.44 | 0.75 | 7.14 |
| Shanxi (East) | 0.03 | 0.03 | — | — | <0.01 | — | 0.03 |
| Gansu | 13.28 | 0.39 | 7.14 | 5.75 | 4.59 | — | 8.69 |
| Ningxia | 10.72 | 6.25 | 2.65 | 1.82 | 0.48 | 0.17 | 10.07 |
| Xinjiang | 36.66 | 18.15 | 6.26 | 12.25 | 10.79 | 5.51 | 20.36 |
| Total | 401.1 | 170.67 | 194.95 | 35.48 | 163.9 | 10.52 | 226.68 |
| Code | Condition of Ecological Functional Areas | ||
|---|---|---|---|
| Temperature | Moisture | Soil Erosion | |
| IA-1 | Cold temperate zone | Humid | Mild wind erosion |
| IIA-1 | Middle temperate zone | Humid | Mild wind erosion |
| IIA-2 | Middle temperate zone | Humid | Moderate water erosion |
| IIB-1 | Middle temperate zone | Semi-humid | Moderate water erosion & intensity wind erosion |
| IIB-2 | Middle temperate zone | Semi-humid | Moderate water erosion |
| IIB-3 | Middle temperate zone | Semi-humid | Intensity wind erosion |
| IIB-4 | Middle temperate zone | Semi-humid | Mild water erosion |
| IIB-5 | Middle temperate zone | Humid | Mild wind erosion & moderate water erosion |
| IIB-6 | Middle temperate zone | Semi-humid | Mild wind erosion |
| IIB-7 | Middle temperate zone | Semi-humid | Slight water erosion |
| IIB-8 | Middle temperate zone | Semi-humid | Slight wind erosion |
| IIC-1 | Middle temperate zone | Semi-arid | Moderate water erosion & intensity wind erosion |
| IIC-2 | Middle temperate zone | Semi-arid | Moderate water erosion |
| IIC-3 | Middle temperate zone | Semi-arid | Intensity wind erosion |
| IIC-4 | Middle temperate zone | Semi-arid | Severe wind erosion |
| IIC-5 | Middle temperate zone | Semi-arid | Intensity water erosion & extreme intensity wind erosion |
| IIC-6 | Middle temperate zone | Semi-arid | Intensity water erosion & slight wind erosion |
| IIC-7 | Middle temperate zone | Semi-arid | Moderate water erosion & mild wind erosion |
| IIC-8 | Middle temperate zone | Semi-arid | Mild wind erosion |
| IIC-9 | Middle temperate zone | Semi-arid | Slight wind erosion |
| IID-1 | Middle temperate zone | Arid | Moderate wind erosion |
| IID-2 | Middle temperate zone | Arid | Severe wind erosion |
| IID-3 | Middle temperate zone | Arid | Intensity water erosion & intensity wind erosion |
| IID-4 | Middle temperate zone | Arid | Intensity wind erosion |
| IID-5 | Middle temperate zone | Arid | Extrem intensity water erosion & extrem intensity wind erosion |
| IID-6 | Middle temperate zone | Arid | Extrem intensity wind erosion |
| IID-7 | Middle temperate zone | Arid | Slight water erosion |
| IID-8 | Middle temperate zone | Arid | Slight wind erosion |
| IIIB-1 | warm temperate zone | Semi-humid | Moderate water erosion |
| IIIB-2 | warm temperate zone | Semi-humid | Moderate wind erosion |
| IIIB-3 | warm temperate zone | Semi-humid | Mild water erosion |
| IIIB-4 | warm temperate zone | Semi-humid | Intensity water erosion |
| IIIC-1 | warm temperate zone | Semi-arid | Moderate water erosion |
| IIIC-2 | warm temperate zone | Semi-arid | Intensity water erosion & intensity wind erosion |
| IIIC-3 | warm temperate zone | Semi-arid | Intensity water erosion |
| IIIC-4 | warm temperate zone | Semi-arid | Extrem intensity water erosion & extrem intensity wind erosion |
| IIIC-5 | warm temperate zone | Semi-arid | Iintensity water erosion & extrem intensity wind erosion |
| IIIC-6 | warm temperate zone | Semi-arid | Extrem intensity water erosion |
| IIID-1 | warm temperate zone | Arid | Severe wind erosion |
| IIID-2 | warm temperate zone | Arid | Extrem intensity wind erosion |
| HID-1 | Plateau subfrigid zone | Arid | Extrem intensity wind erosion |
| HIIC-1 | Plateau subfrigid zone | Semi-arid | Moderate wind erosion |
| HIID-1 | Plateau subfrigid zone | Arid | Moderate wind erosion |
| HIID-2 | Plateau subfrigid zone | Arid | Severe wind erosion |
| HIID-3 | Plateau subfrigid zone | Arid | Extrem intensity wind erosion |
| Classification | 1st Assessment Units | 2nd Assessment Units | 3rd Assessment Units | 4th Assessment Units | 5th Assessment Units | Total | |
|---|---|---|---|---|---|---|---|
| Ecological function zones | Types | Ecological function zones | Counties, districts | Restoration types | Forest types | Tree species | |
| Number | 45 | 442 | 3 | 3 | 26 | 1986 | |
| Important windbreak and sand fixation areas | Types | Important ecological function zones for windbreak and sand fixation | Counties, districts | Restoration types | Forest types | Tree species | |
| Number | 7 | 78 | 3 | 3 | 11 | 309 | |
| Sandstorm path | Types | Sandstorm path | Counties, districts | Restoration types | Forest types | Tree species | |
| Number | 1 | 155 | 3 | 3 | 15 | 650 | |
| Sandstorm source | Types | Sandstorm source | Counties, districts | Restoration types | Forest types | Tree species | |
| Number | 1 | 103 | 3 | 3 | 12 | 536,103 |
| Driving Factors | Title | Units | Data Source |
|---|---|---|---|
| Climatic Factors (L1) | Annual average precipitation (M1) | mm | China Statistical Yearbook (2015) |
| Annual average temperature (M2) | °C | China Statistical Yearbook (2015) | |
| Land Surface factors (L2) | Terrain slope (M3) | ° | The altitude based on Digital Elevation Model in China from SRTM (Shuttle Radar Topography Mission) (1 km) |
| Serious desertification rate (M4) | % | Bulletin of Desertification and Sandification State of China (2015) | |
| Wind erosion modulus (M5) | t·hm−2·a−1 | Spatial distribution of soil erosion in China | |
| Policy Factors (L3) | Policy governance area of the GGP (M6) | hm2 | Investigation of GGP; Forest resources inventory data |
| Investment amount of GGP (M7) | ×108 CNY·a−1 | Investigation of GGP; Forest resources inventory data | |
| Ecological forest ratio (M8) | % | Investigation of GGP; Forest resources inventory data | |
| Socio-Economic factors (L4) | Population density (M9) | Person·km−2 | China Statistical Yearbook (2015) |
| Farmer’s net income (M10) | CNY·a−1 | China Statistical Yearbook (2015) | |
| Industrial and agricultural production proportion (M11) | % | China Statistical Yearbook (2015) | |
| Crop output (M12) | ×104 t | China Statistical Yearbook (2015) |
| Forest Ecosystem Services | Sand Fixation (×104 t·a−1) | Dust Retention (×104 t·a−1) | ||||
|---|---|---|---|---|---|---|
| Restoration Types | Cropland Afforestation | Wasteland Afforestation | Facilitate Afforestation | Cropland Afforestation | Wasteland Afforestation | Facilitate Afforestation |
| Quantities | 38,177.47 | 42,958.87 | 10,782.32 | 1809.38 | 2037.13 | 404.20 |
| Proportion | 41.53% | 46.74% | 11.73% | 42.57% | 47.92% | 9.51% |
| Forest Types | Ecological forests | Economic forests | Shrubs | Ecological forests | Economic forests | Shrubs |
| Quantities | 38,069.60 | 3123.61 | 50,725.45 | 2280.72 | 105.84 | 1864.15 |
| Proportion | 41.42% | 3.40% | 55.18% | 53.66% | 2.49% | 43.85% |
| Ecological Function Area | Wind erosion dominant area | Wind and water erosion co-dominant area | Water erosion dominant area | Wind erosion dominant | Wind and water erosion co-dominant area | Water erosion dominant area |
| Quantities | 47,490.28 | 23,817.56 | 20,610.82 | 1939.41 | 1257.74 | 1053.56 |
| Proportion | 51.67% | 25.91% | 22.42% | 45.63% | 29.58% | 24.79% |
| Important Windbreak and Sand Fixation Areas | Sand Fixation (×104 t·a−1) | Contribution Rate (%) | Dust Retention (×104 t·a−1) | Contribution Rate (%) |
|---|---|---|---|---|
| Horqin sandy land | 5615.68 | 14.12% | 239.76 | 12.61% |
| Hulunbeier Prairie | 344.77 | 0.87% | 32.55 | 1.71% |
| Hunshandake sandy land | 11,552.9 | 29.04% | 524.77 | 27.59% |
| North of Yinshan mountain | 10,158.37 | 25.53% | 585.06 | 30.76% |
| Ordos Plateau | 9244.84 | 23.24% | 414.3 | 21.78% |
| Heihe middle and lower reaches | 709.21 | 1.78% | 28.49 | 1.50% |
| Tarim River Basin | 2156.82 | 5.42% | 77.12 | 4.05% |
| Total | 39,782.59 | 1902.05 |
© 2020 by the authors. Licensee MDPI, Basel, Switzerland. This article is an open access article distributed under the terms and conditions of the Creative Commons Attribution (CC BY) license (http://creativecommons.org/licenses/by/4.0/).
Share and Cite
Wei, W.; Wang, B.; Niu, X. Soil Erosion Reduction by Grain for Green Project in Desertification Areas of Northern China. Forests 2020, 11, 473. https://doi.org/10.3390/f11040473
Wei W, Wang B, Niu X. Soil Erosion Reduction by Grain for Green Project in Desertification Areas of Northern China. Forests. 2020; 11(4):473. https://doi.org/10.3390/f11040473
Chicago/Turabian StyleWei, Wenjun, Bing Wang, and Xiang Niu. 2020. "Soil Erosion Reduction by Grain for Green Project in Desertification Areas of Northern China" Forests 11, no. 4: 473. https://doi.org/10.3390/f11040473
APA StyleWei, W., Wang, B., & Niu, X. (2020). Soil Erosion Reduction by Grain for Green Project in Desertification Areas of Northern China. Forests, 11(4), 473. https://doi.org/10.3390/f11040473
