Abstract
Basic oxygen furnace (BOF) slag was modified by adding 3.5% SiO2 and holding at 1673 K for 0, 5, 40, 90, 240, or 360 min. Kilo-scale modification was also carried out. The growth, stratification, and liberation of P-rich C2S in the modified slag were investigated. The optimum holding time was 240 min, and 90% of C2S grains were above 30 μm in size. The phosphorus content increased with holding time, and after modification, the phosphorus content in C2S was nearly three times higher than that in the original slag (2.23%). Obvious stratification of C2S was observed in the kilo-scale modification. Upper C2S particles with a relatively larger size of 20–110 μm was independent of RO (FeO-MgO-MnO solid solution) and spinel, which is favorable for liberation. Lower C2S was less than 3 μm and was embedded in spinel, which is not conducive to liberation. The content of phosphorus in upper C2S (6.60%) was about twice that of the lower (3.80%). After grinding, most of the upper C2S existed as free particles and as locked particles in the lower. The liberation degree of C2S in the upper increased with grinding time, from 86.02% to 95.92% in the range of 30–300 s, and the optimum grinding time was 180 s. For the lower slag grinding for 300 s, the liberation degree of C2S was 40.07%.
1. Introduction
Nowadays, the utilization of steel slag can be divided into two aspects. One is internal recycling of the slag in the steel-making process. The other is the external recycling of it as building materials, agricultural fertilizer, functional materials, etc. [1,2,3,4,5,6]. The internal recycling of steel slag is considered to be the best method because calcium, magnesium, manganese, vanadium, iron, rare elements, etc., in the slag can be recovered, and a large portion of slagging agents, such as limestone and fluorite, can be saved [7,8,9]. However, phosphorus, which is a harmful element to steel, greatly limits the internal recycling of steel slag. Therefore, removal of phosphorus from steel slag has attracted the attention of researchers. Ono et al. [10] removed phosphorus from steel slag by floating P-containing dicalcium silicate (C2S), owing to its different specific gravity. Kubo et al. [11] adopted magnetic separation to remove phosphorus-enriched phases from multiphase dephosphorization slag. Li et al. [12] investigated the centrifugal enrichment of P-concentrated phases from CaO-SiO2-FeO-MgO-P2O5 melt. Wang et al. [13] studied the enrichment behavior of phosphorus in CaO-SiO2-FeOx-P2O5 molten slag, and they pointed out that a higher temperature is favorable for phosphorus enrichment from molten slag to C2S particles. Selectively extracting phosphorus from steel slag through a leaching process was carried out by Teratoko et al. [14], Numata et al. [15], and Du et al. [16,17,18,19,20,21].
Using either physical or chemical methods, the distribution of phosphorus in steel slag is important for its separation, not only in relation to separation efficiency but also for the phosphorus grade in P-containing phases. The content of phosphorus in steel slag is relatively low, in the range of 1%–3%, and it is mainly distributed in C2S, tricalcium silicate (C3S), and, to a lesser extent, in the matrix [8,22,23]. The structure of C3S is loose, and after grinding it becomes small particles and adheres to the surface of magnetic particles, which hinders separation. In our previous studies, it was found that almost all of the phosphorus was enriched in C2S by adding 3.5 wt% SiO2 to modify steel slag, and no C3S was formed [23]. Moreover, the crystal size of P-rich C2S grew faster at 1673 K [24], and after magnetic separation, phosphorus in the magnetic fraction mainly came from unliberated C2S [25]. It is, thus, clear that the degree of liberation of P-rich C2S is the key factor affecting the efficiency of separation. However, few studies have focused on this factor.
In this work, basic oxygen furnace slag (BOF slag) was modified by adding 3.5 wt% SiO2 and holding at 1673 K for different times, and kilo-scale modification was also carried out. Growth and stratification of P-rich C2S in the modified slag was analyzed. After grinding for different times, the respective liberation degrees of C2S in the upper and lower modified slags were investigated.
2. Experimental
2.1. Modification of Original BOF Slag
The original BOF slag was crushed and ground to pass a 200 mesh, and the chemical composition of the slag is listed in Table 1. The slag powder (11 g), mixed with 3.5 wt% SiO2, was added into a small MgO crucible and heated at 1793 K for 10 min to melt the mixture. Then, the molten mixture was cooled to 1673 K at the cooling rate of 1 K/min. After holding for 0, 5, 40, 90, 240, or 360 min at 1673 K, the mixture was quickly quenched with water, and the modified slag was obtained.
Table 1.
Chemical composition of the original BOF slag.
2.2. Kilo-Scale Modification of the BOF Slag
To investigate the stratification of P-rich C2S in the modified slag, kilo-scale modification of the slag was carried out. The slag powder (900 g), mixed with 3.5 wt% SiO2, was added into a larger MgO crucible (100 mm diameter × 110 mm height) and heated at 1793 K for 10 min. Then, the molten mixture was cooled to 1673 K at the cooling rate of 1 K/min. After holding for 240 min at 1673 K, the mixture was quickly quenched with water. Finally, the quenched, modified slag was cut vertically along the longitudinal direction, and the upper and lower slag samples were taken for the next process.
2.3. Liberation of P-Rich C2S in the Upper and Lower Modified Slags
The obtained upper and lower slags were ground for 30, 180, or 300 s. Then, the above slag powders were respectively mixed with phenolic resin powder and hot pressed. After polishing and cleaning, the samples were taken for SEM (scanning electron microscope) analysis.
2.4. Characterization
The crystal structure of the slags was characterized by a Bruker AXS-D8 Advance X-ray powder diffraction (XRD) under Cu Kα radiation (λ = 0.15405 nm) operated at 40 kV and 40 mA. Micromorphology of the slags was observed by a Philips XL-30 scanning electron microscope and energy dispersive spectrometer (SEM–EDS). The grain size of C2S was calculated quantitatively by Photoshop software (Adobe Photoshop CS4, Adobe Systems Inc., San Jose, CA, USA) and NIH image J software (NIH Image public domain software, US National Institute of Health, Bethesda, MD, USA). Particle size distribution of the ground slags was carried out using a RISE-2006 laser particle size analyzer.
3. Results and Discussion
3.1. Crystal Growth of P-Rich C2S in the Modified Slag
Figure 1 shows the SEM images of the modified slag with different holding times at 1673 K, and the EDS results are listed in Table 2. From the figure, gray C2S, black RO (FeO-MgO-MnO solid solution), and light gray matrix phases were observed, and the EDS analysis indicated that no phosphorus was found in RO and matrix phases, which means all phosphorus was enriched in C2S. As can be seen in Figure 1a,b, many small C2S grains can be observed. After holding at 1673 K for 40 min, the small grains gradually disappeared, as shown in Figure 1c. Meanwhile, the growth of the remaining C2S grains was obvious, and the number of C2S grains per unit area decreased significantly. With the increase in holding time, it was found that adjacent C2S grains were connected with each other and eventually formed larger grains, shown in Figure 1d–f. Figure 2 shows a frequency histogram of the grain size distribution for C2S with different holding times at 1673 K. Generally, a grain size above 30 μm was favorable for the liberation of C2S, while below 30 μm it was difficult to liberate. At the beginning (5 min), almost all C2S grains were below 30 μm. After 40 min, half of the grains were larger than 30 μm. The grains above 30 μm reached 90% when the holding time reached 240 min. At 360 min, the situation was similar to that of 240 min, except that 60–110 μm grains were more numerous than those at 240 min. Considering the energy consumption, 240 min was the optimum holding time.

Figure 1.
SEM images of the modified slag with different holding times at 1673 K.
Table 2.
EDS analysis of the modified slag with different holding times at 1673 K (at%).
Figure 2.
Frequency histogram of the grain size distribution for C2S with different holding times at 1673 K.
Note that the ratios of Mg to Fe in the RO phase with different holding times were all greater than 6 (Mg/Fe > 6), which is obviously high. According to Engstrom et al. [26], MgO precipitates earlier in the slag during cooling due to the higher melting point, and FeO and MnO have the same chance to dissolve into MgO, but FeO precipitates earlier than MnO. Thus, it can be concluded that MnO did not precipitate before quenching in this work. Table 3 shows the content of phosphorus in C2S with different holding times at 1673 K. It can be seen that, considering reasonable error, the phosphorus content increased with holding time, and it was nearly three times higher than that in the original slag (2.23%).
Table 3.
Content of phosphorus in C2S with different holding times at 1673 K.
3.2. Stratification of P-Rich C2S in the Modified Slag
Due to lower specific gravity, C2S would float through the molten slag and lead to stratification [10]. In Section 3.1, no obvious stratification was found, owing to the wall effect. To investigate the stratification of P-rich C2S, kilo-scale modification of the slag was carried out at 1673 K for 240 min. Figure 3 shows the XRD patterns of the upper and lower modified slags on a kilo-scale. It can be seen from the figure that C2S, RO, and the spinel were the main phases in the upper slag. Besides these, a few weak calcium ferrite (C2F) peaks can be observed. According to thermodynamic prediction calculations correlated with experimental results by Gautier et al. [27], C2F crystallizes at 1333 K in BOF slag. Thus, due to the high quenching temperature (1673 K) in this work, the thermodynamic conditions for crystallization were not sufficient for C2F. For the lower slag, C2S and the spinel were the main phases. Note that the intensity of C2S in the upper was higher than that in the lower, and the relative intensity of C2S and spinel in the upper was obviously higher than that of the lower, which indicates a preferential growth of C2S over other phases in the upper.
Figure 3.
XRD patterns of the upper and lower modified slags held at 1673 K for 240 min on a kilo-scale.
Figure 4 shows the SEM images of the upper and lower modified slags on the kilo-scale, and the EDS results are listed in Table 4. For the upper, C2S was spherical with a grain size in the range of 20–110 μm, and several holes can be observed (Figure 4a). Due to volume expansion caused by crystal transformation of C2S during cooling, microcracks occurred on C2S, which can be seen clearly in Figure 4b. The RO phase was about 20–40 μm, and spinel was dispersed in the matrix, forming a strip shape with a smaller size. These phases in the upper slag were independent of each other, and the interface between each phase was clear, which was favorable for the liberation of C2S. For the lower slag, the micromorphology of the slag was obviously different from that of the upper. C2S particles in the lower slag were much smaller (less than 3 μm) than those in the upper slag, and these small grains were arranged in a flower pattern, as shown in Figure 4c. Note that C2S was embedded in spinel, which can be seen clearly in Figure 4d, and it was not conducive to the liberation of C2S.

Figure 4.
SEM images of the upper and lower modified slags held at 1673 K for 240 min after kilo-scale processing.
Table 4.
EDS analysis of the upper and lower modified slags held at 1673 K for 240 min processed at the kilo-scale (at%).
From Table 4, it can be seen that 9.81 at% Fe dissolved in C2S for the lower slag. In the early holding stage, C2S precipitated first and grew quickly. At this stage, C2S mainly grew by itself, controlled by mass transfer, and the viscosity of the slag was relatively lower, which was conducive to the diffusion of ions and the floating of C2S. C2S floated above the molten slag, and this led to the decrease of Ca and Si in the lower part of molten slag. Thus, in the middle holding stage, C2S precipitated with more Fe, Mg, etc., in the lower slag and grew slowly, owing to the reduction of Ca and Si. This is consistent with the XRD results in Figure 3. In the late holding stage, the growth of C2S in the upper was mainly due to the merging of grains, according to Figure 1d,e. Due to dissolving of Fe, Mg, etc., the specific gravity of C2S in the lower was relatively higher, which prevented floating, and they were mostly embedded in spinel. Moreover, the increased viscosity of the molten slag was another reason for preventing floating. Table 5 shows the content of phosphorus in the upper and lower C2S, which was calculated from the atomic ratios in Table 4. It can be seen that the content of phosphorus in upper C2S (6.60%) was about two times higher than that in lower C2S (3.80%).
Table 5.
Content of phosphorus in the upper and lower C2S held at 1673 K for 240 min processed at the kilo-scale.
3.3. Liberation Degree of P-Rich C2S in the Modified Slag
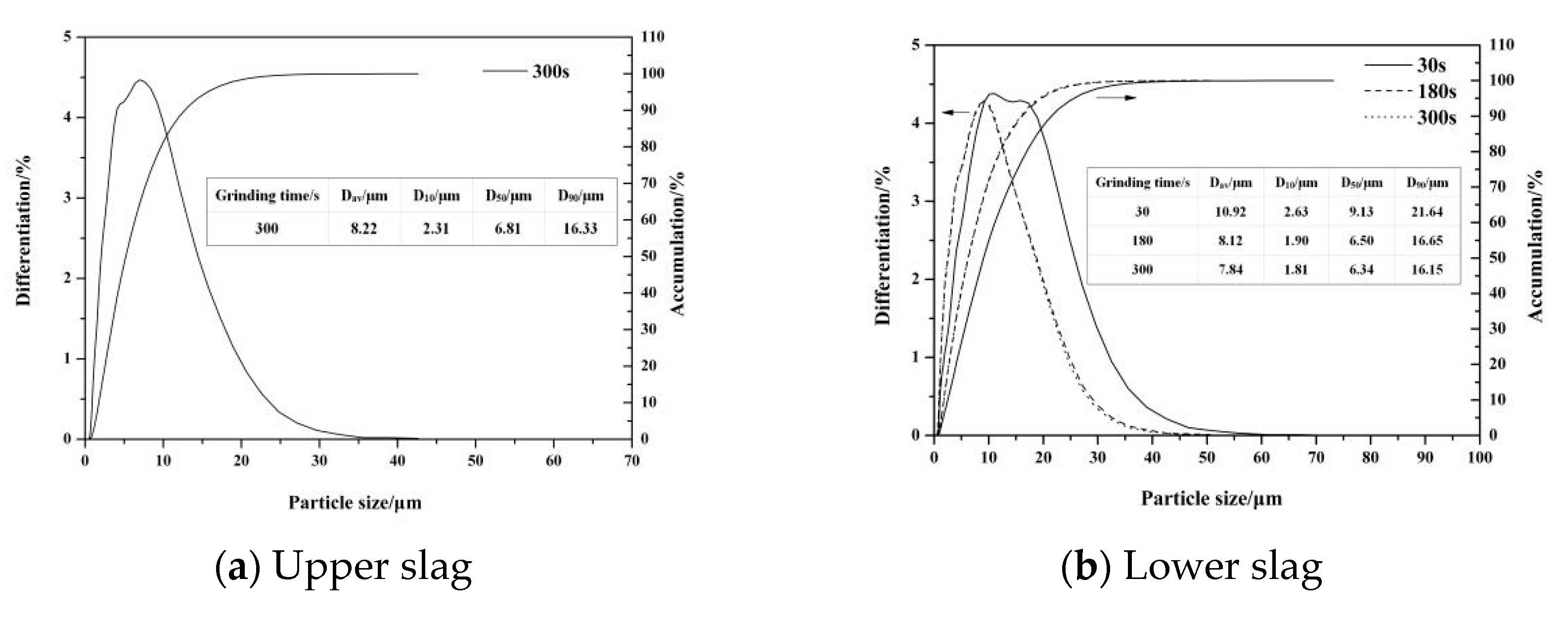
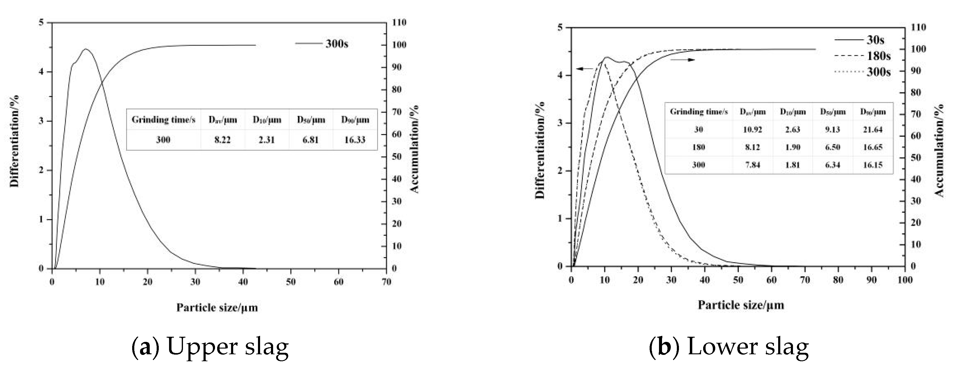
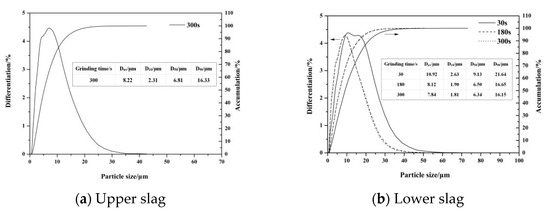
The above studies proved that the micromorphology of the upper modified slag was conducive to the liberation of C2S, while that of the lower slag was not. Then, the upper and lower slags were ground. The particle size distribution with different grinding times is shown in Figure 5. From Figure 5a, it can be seen that the average particle size of the upper slag was 10.92 μm after grinding for 30 s and 8.12 μm after 180 s. When the grinding time reached 300 s, the average particle size was 7.84 μm, and the size distribution curve almost coincided with that of 180 s, which indicates that prolonging the grinding time after 180 s had no obvious effect on the particle size. The particle size distribution of the lower slag after grinding for 300 s is shown in Figure 5b. As can be seen in the figure, the average particle size was 8.22 μm, which was larger than that of the upper slag. This indicates that the lower slag was more difficult to grind than the upper, which may be due to more Fe-bearing phases.
Figure 5.
Particle size distribution of the upper and lower modified slags with different grinding times.
Figure 6. SEM images of the upper modified slag after different grinding times. It can be seen from Figure 6 that C2S existed both as free particles and locked particles, most of which existed in the form of free particles. According to the classification of locked particles, the C2S locked particles in the upper slag belonged to the adjacent type. Here, the spinel and the matrix are collectively referred to as the M phase, and for the RO phase, they locked with the M phase. SEM images of the lower slag after grinding for 300 s are shown in Figure 7. It can be seen that most of C2S existed in the form of locked particles with the M phase, and they are mostly of the encapsulated type.

Figure 6.
SEM images of the upper modified slag after different grinding times.
Figure 7.
SEM images of the lower modified slag after grinding for 300 s.
After respectively grinding the upper and lower slags, the liberation degree of C2S was determined by SEM. The liberation degree of a mineral (L) is defined by Equation (1):
in which qf is content of free particles, and ql is content of locked particles. In this work, the particle counting method was used to calculate the liberation degree of C2S, and the calculation Equation is as follows:
in which Nf is the number of C2S free particles, and Nl is the number of C2S locked particles. The liberation degree of C2S in the upper and lower modified slags as calculated by Equation (2) is listed in Table 6. As can be seen in the table, the liberation degree of C2S in the upper slag increased with grinding time of the modified slag, from 86.02% to 95.92% in the range of 30–300 s. For the lower slag ground for 300 s, the liberation degree of C2S was only 40.07%. Therefore, considering energy consumption, 180 s was the optimum grinding time for liberation of C2S from the upper slag.
Table 6.
Liberation degree of C2S in the upper and lower modified slags.
4. Conclusions
Growth, stratification, and liberation of P-rich C2S in the modified BOF slag were investigated, and the conclusions are as follows:
(1) The optimum holding time at 1673 K to modify the slag was 240 min, after which 90% of C2S grains were above 30 μm. The phosphorus content increased with holding time, and after modification, the phosphorus content in C2S was nearly three times higher than that in the original slag (2.23%).
(2) Obvious stratification of C2S was observed in the kilo-scale modification. Upper C2S with a relatively larger size of 20–110 μm was independent of RO and spinel, which is favorable for liberation. The lower C2S was less than 3 μm and was embedded in spinel, which is not conducive to liberation. The phosphorus content in upper C2S (6.60%) was about two times higher than that in the lower (3.80%).
(3) After grinding, most of the C2S existed as free particles in the upper and as locked particles in the lower. The liberation degree of C2S in the upper increased with grinding time, from 86.02% to 95.92% in the range of 30–300 s, and the optimum grinding time was 180 s. For the lower slag ground for 300 s, the liberation degree of C2S was 40.07%.
Author Contributions
X.S., Y.D. and X.W. contributed to the conception of the study. L.R. contributed significantly to experiment, analysis and manuscript preparation. M.G., Y.Z. and F.C. contributed materials and analysis tools. All authors have read and agreed to the published version of the manuscript.
Funding
This research was funded by the National Natural Science Funds of China [51774001 and 51534001], and the Natural Science Foundation of Anhui Province [No. 1708085ME119].
Acknowledgments
The authors would like to thank the financial support provided by the National Natural Science Funds of China (51774001 and 51534001), Ministry of Human Resources and Social Security of the People’s Republic of China, and Natural Science Foundation of Anhui Province (No. 1708085ME119).
Conflicts of Interest
There are no conflict of interest.
References
- Wang, Q.; Yan, P.Y. Hydration properties of basic oxygen furnace steel slag. Constr. Build. Mater. 2010, 24, 1134–1140. [Google Scholar] [CrossRef]
- Wu, Z.J.; Yue, H.F.; Li, L.S.; Jing, B.F.; Wu, X.R.; Wang, P. Synthesis and electrochemical properties of multi-doped LiFePO4/C prepared from the steel slag. J. Power Sour. 2010, 195, 2888–2893. [Google Scholar] [CrossRef]
- Wu, Z.J.; Jiang, B.F.; Liu, W.M.; Cao, F.B. Selective recovery of valuable components from converter steel slag for preparing multidoped FePO4. Ind. Eng. Chem. 2011, 50, 13778–13788. [Google Scholar] [CrossRef]
- Semykina, A.; Shatokha, V.; Seetharaman, S. Innovative approach to recovery of iron from steelmaking slags. Ironmak. Steelmak. 2010, 37, 536–540. [Google Scholar] [CrossRef]
- Semykina, A.; Seetharaman, S. Recovery of manganese ferrite in nanoform from the metallurgical slags. Metall. Mater. Trans. B 2011, 42, 2–4. [Google Scholar] [CrossRef]
- Kuwahara, Y.; Ohmichi, T.; Mori, K.; Katayama, I. Synthesis of zeolite from steel slag and its application as a support of nano-sized TiO2 photocatalyst. J. Mater. Sci. 2008, 43, 2407–2410. [Google Scholar] [CrossRef]
- Shen, H.; Forssberg, E. An overview of recovery of metals from slags. Waste Manag. 2003, 23, 933–949. [Google Scholar] [CrossRef]
- Iwasaki, I.; Fregeau-Wu, E.; Fujita, T. Removal of phosphorus from steelmaking slags: Aliterature survey. Miner. Process. Extr. Metall. Rev. 1993, 12, 19–36. [Google Scholar] [CrossRef]
- Alanyali, H.; Col, M.; Yilmaz, M.; Karagoz, S. Application of magnetic separation to steelmaking slags for reclamation. Waste Manag. 2006, 26, 1133–1139. [Google Scholar] [CrossRef]
- Ono, H.; Inagaki, A.; Masui, T.; Narita, H.; Mitsuo, T.; Nosaka, S.; Gohda, S. Removal of phosphorus from LD converter slag by floating of dicalcium silicate during solidification. Tetsu Hagane 1980, 66, 1317–1326. [Google Scholar] [CrossRef]
- Kubo, H.; Matsubae-Yokoyama, K.; Nagasaka, T. Magnetic separation of phosphorus enriched phase from multiphase dephosphorization slag. ISIJ Int. 2010, 50, 59–64. [Google Scholar] [CrossRef]
- Li, C.; Gao, J.; Guo, Z. Isothermal enrichment of P-concentrating phase from CaO-SiO2-FeO-MgO-P2O5 melt with super gravity. ISIJ Int. 2016, 56, 759–764. [Google Scholar] [CrossRef]
- Wang, N.; Liang, Z.G.; Chen, M.; Zou, Z.S. Phosphorous enrichment in molten adjusted converter slag: Part II. Enrichment behavior of phosphorus in CaO-SiO2-FeOx-P2O5molten slag. J. Iron Steel Res. Int. 2011, 18, 22–26. [Google Scholar] [CrossRef]
- Teratoko, T.; Maruoka, N.; Shibata, H.; Kitamura, S. Dissolution behavior of dicalcium silicate and tricalcium phosphate solid solution and other phases of steelmaking slag in an aqueous solution. High Temp. Mater. Process. 2012, 31, 329–338. [Google Scholar] [CrossRef]
- Numata, M.; Maruoka, N.; Kim, S.J.; Kitamura, S. Fundamental experiment to extract phosphorous selectively from steelmaking slag by leaching. ISIJ Int. 2014, 54, 1983–1990. [Google Scholar] [CrossRef]
- Du, C.; Gao, X.; Ueda, S.; Kitamura, S. Effects of cooling rate and acid on extracting soluble phosphorus from slag with high P2O5 content by selective leaching. ISIJ Int. 2017, 57, 487–496. [Google Scholar] [CrossRef]
- Du, C.; Gao, X.; Ueda, S.; Kitamura, S. Effect of Na2O addition on phosphorus dissolution from steelmaking slag with high P2O5 content. J. Sustain. Metall. 2017, 3, 671–682. [Google Scholar] [CrossRef]
- Du, C.; Gao, X.; Ueda, S.; Kitamura, S. Optimum conditions for phosphorus recovery from steelmaking slag with high P2O5 content by selective leaching. ISIJ Int. 2018, 58, 860–868. [Google Scholar] [CrossRef]
- Du, C.; Gao, X.; Ueda, S.; Kitamura, S. Recovery of phosphorus from modified steelmaking slag with high P2O5 content via leaching and precipitation. ISIJ Int. 2018, 58, 833–841. [Google Scholar] [CrossRef]
- Du, C.; Gao, X.; Ueda, S.; Kitamura, S. Effect of Fe2+/T.Fe ratio on the dissolution behavior of P from steelmaking slag with high P2O5 content. J. Sustain. Metall. 2018, 4, 443–454. [Google Scholar] [CrossRef]
- Du, C.; Gao, X.; Ueda, S.; Kitamura, S. Separation and recovery of phosphorus from steelmaking slag via a selective leaching–chemical precipitation process. Hydrometallurgy 2019, 189. [Google Scholar] [CrossRef]
- Duee, C.; Bourgel, C.; Veron, E.; Allix, M.; Fayon, F.; Bodenan, F.; Poirier, J. Phosphorus speciation in dicalcium silicate phases: Application to the basic oxygen furnace (BOF) slag. Cem. Concr. Res. 2015, 73, 207–214. [Google Scholar] [CrossRef]
- Wu, X.R.; Wang, P.; Li, L.S.; Wu, Z.J.; Chen, R.H. Distribution and enrichment of phosphorus in solidified BOF steelmaking slag. Ironmak. Steelmak. 2011, 38, 185–188. [Google Scholar] [CrossRef]
- Yang, G.M.; Wu, X.R.; Li, L.S.; Wu, Z.J.; Cao, F.B. Growth of phosphorus concentrating phase in modified steelmaking slags. Can. Metall. Quart. 2012, 51, 150–156. [Google Scholar] [CrossRef]
- Wu, X.R.; Yang, G.M.; Li, L.S.; Lv, H.H.; Wu, Z.J.; Shen, X.M. Wet magnetic separation of phosphorus containing phase from modified BOF slag. Ironmak. Steelmak. 2014, 41, 335–341. [Google Scholar] [CrossRef]
- Engtrom, F.; Adolfsson, D.; Yang, Q.; Samuelsson, C.; Bjorkman, B. Crystallization behaviour of some steelmaking slag. Steel Res. Int. 2010, 81, 362–371. [Google Scholar] [CrossRef]
- Gautier, M.; Poirier, J.; Bodenan, F.; Franceschini, G.; Veron, E. Basic oxygen furnace (BOF) slag cooling: Laboratory characteristics and prediction calculations. Int. J. Miner. Process. 2013, 123, 94–101. [Google Scholar] [CrossRef]
© 2020 by the authors. Licensee MDPI, Basel, Switzerland. This article is an open access article distributed under the terms and conditions of the Creative Commons Attribution (CC BY) license (http://creativecommons.org/licenses/by/4.0/).









