Characteristics of Methane Hydrate Formation in Artificial and Natural Media
Abstract
:1. Introduction
2. Experimental
2.1. Experimental Media
| Media | Average particle size (μm) | Average pore size (nm) | Media mass (g) | Water content (g) | Experimental water content (%) | Saturated water content (%) | Media density (g/cm3) |
|---|---|---|---|---|---|---|---|
| Silica | 25–58 | 6.588 | 600.0 | 600.0 | 100.0 | 140.0 | 0.518 |
| Loess | 34.5 | 13.499 | 1100.0 | 198.0 | 18.0 | 25.0 | 1.148 |
| BJH Adsorption Pore Distribution Report on Silica Gel Powder | |||||||
|---|---|---|---|---|---|---|---|
| Pore Width (Å) | Average Width (Å) | Incremental Pore Volume (cm3/g) | Cumulative Pore Volume (cm3/g) | Incremental/Total (%) | Cumulative/Total (%) | Incremental Pore Area (cm2/g) | Cumulative Pore Area (cm2/g) |
| 2470.3–869.5 | 1039.478 | 0.00302671 | 0.00302671 | 0.43 | 0.43 | 0.116470273 | 0.116470273 |
| 869.5–350.3 | 418.734 | 0.00268302 | 0.00570973 | 0.38 | 0.80 | 0.25629843 | 0.372768703 |
| 350.3–215.2 | 250.694 | 0.00262260 | 0.00833234 | 0.37 | 1.17 | 0.418454692 | 0.791223396 |
| 215.2–141.0 | 162.259 | 0.01324543 | 0.02157778 | 1.86 | 3.04 | 3.265239322 | 4.056462717 |
| 141.0–116.5 | 126.201 | 0.03524707 | 0.05682485 | 4.96 | 7.99 | 11.17163684 | 15.22809956 |
| 116.5–95.0 | 103.342 | 0.08837089 | 0.14519575 | 12.43 | 20.43 | 34.20494771 | 49.43304727 |
| 95.0–81.7 | 87.245 | 0.09188420 | 0.23707995 | 12.93 | 33.36 | 42.12650457 | 91.55955184 |
| 81.7–71.3 | 75.718 | 0.08788839 | 0.32496834 | 12.37 | 45.72 | 46.42896269 | 137.9885145 |
| 71.3–62.9 | 66.501 | 0.07522551 | 0.40019385 | 10.58 | 56.31 | 45.24757278 | 183.2360873 |
| 62.9–55.8 | 58.852 | 0.06330304 | 0.46349690 | 8.91 | 65.21 | 43.02463044 | 226.2607177 |
| 55.8–50.9 | 53.106 | 0.04239892 | 0.50589582 | 5.97 | 71.18 | 31.93511904 | 258.1958368 |
| 50.9–46.6 | 48.563 | 0.03623140 | 0.54212722 | 5.10 | 76.27 | 29.84240283 | 288.0382396 |
| 46.6–42.7 | 44.453 | 0.03141543 | 0.57354266 | 4.42 | 80.69 | 28.26787886 | 316.3061185 |
| 42.7–39.2 | 40.761 | 0.02580092 | 0.59934358 | 3.63 | 84.32 | 25.31895638 | 341.6250749 |
| 39.2–36.1 | 37.516 | 0.02120234 | 0.62054592 | 2.98 | 87.31 | 22.60602898 | 364.2311038 |
| 36.1–33.3 | 34.599 | 0.01797882 | 0.63852475 | 2.53 | 89.84 | 20.78480393 | 385.0159078 |
| 33.3–30.9 | 32.008 | 0.01434690 | 0.65287165 | 2.02 | 91.86 | 17.92910236 | 402.9450101 |
| 30.9–28.6 | 29.646 | 0.01228466 | 0.66515632 | 1.73 | 93.58 | 16.57461994 | 419.5196301 |
| 28.6–26.7 | 27.585 | 0.00946200 | 0.67461833 | 1.33 | 94.92 | 13.72013228 | 433.2397624 |
| 26.7–24.7 | 25.608 | 0.00930031 | 0.68391865 | 1.31 | 96.22 | 14.52678086 | 447.7665432 |
| 24.7–22.8 | 23.643 | 0.00782113 | 0.69173978 | 1.10 | 97.32 | 13.23193489 | 460.9984781 |
| 22.8–21.0 | 21.813 | 0.00642211 | 0.69816190 | 0.90 | 98.23 | 11.77642293 | 472.774901 |
| 21.0–19.8 | 20.337 | 0.00421730 | 0.70237920 | 0.59 | 98.82 | 8.294695819 | 481.0695969 |
| 19.8–18.5 | 19.052 | 0.00386078 | 0.70623998 | 0.54 | 99.36 | 8.105405224 | 489.1750021 |
| 18.5–17.6 | 18.026 | 0.00233290 | 0.70857288 | 0.33 | 99.69 | 5.176485054 | 494.3514871 |
| 17.6–16.9 | 17.223 | 0.002183679 | 0.71075656 | 0.31 | 100.00 | 5.071311594 | 499.4227987 |
| BJH Adsorption Pore Distribution Report on Loess | |||||||
|---|---|---|---|---|---|---|---|
| Pore Width (Å) | Average Width (Å) | Incremental Pore Volume (cm3/g) | Cumulative Pore Volume (cm3/g) | Incremental /Total (%) | Cumulative /Total (%) | Incremental Pore Area (cm2/g) | Cumulative Pore Area (cm2/g) |
| 1869.4–493.3 | 577.3446 | 0.010181245 | 0.010181245 | 46.48 | 40.88 | 0.705384178 | 0.705384178 |
| 493.3–274.7 | 324.3651 | 0.00423548 | 0.014416734 | 19.34 | 57.89 | 0.52231128 | 1.227695463 |
| 274.7–187.5 | 214.2821 | 0.00221269 | 0.016629427 | 10.10 | 66.78 | 0.41304279 | 1.640738257 |
| 187.5–143.1 | 159.0460 | 0.00131285 | 0.017942278 | 5.99 | 72.05 | 0.33018134 | 1.970919598 |
| 143.1–115.2 | 125.9573 | 0.00096664 | 0.018908918 | 4.41 | 75.93 | 0.30697376 | 2.277893358 |
| 115.2–95.8 | 103.5476 | 0.00077629 | 0.019685207 | 3.54 | 79.05 | 0.29987731 | 2.577770676 |
| 95.8–82.4 | 87.99569 | 0.00062284 | 0.02030805 | 2.84 | 81.55 | 0.28312426 | 2.86089494 |
| 82.4–71.7 | 76.20210 | 0.00053668 | 0.020844737 | 2.45 | 83.71 | 0.28171729 | 3.142612236 |
| 71.7–63.5 | 67.03464 | 0.00042858 | 0.021273317 | 1.96 | 85.43 | 0.25573681 | 3.398349051 |
| 63.5–56.7 | 59.64251 | 0.00037800 | 0.02165132 | 1.73 | 86.94 | 0.25351235 | 3.651861407 |
| 56.7–51.3 | 53.64976 | 0.00032116 | 0.021972481 | 1.47 | 88.23 | 0.23945019 | 3.891311603 |
| 51.3–46.4 | 48.52991 | 0.00029699 | 0.022269472 | 1.36 | 89.43 | 0.24478997 | 4.136101573 |
| 46.4–42.5 | 44.22794 | 0.00024723 | 0.022516707 | 1.13 | 90.42 | 0.22360066 | 4.359702234 |
| 42.5–38.9 | 40.51761 | 0.00024431 | 0.022761021 | 1.12 | 91.40 | 0.24119308 | 4.600895316 |
| 38.9–35.8 | 37.21000 | 0.00022531 | 0.022986331 | 1.03 | 92.31 | 0.24220341 | 4.843098727 |
| 35.8–33.1 | 34.31840 | 0.00023468 | 0.023221011 | 1.07 | 93.25 | 0.27353267 | 5.116631401 |
| 33.1–30.4 | 31.61019 | 0.00023952 | 0.02346054 | 1.09 | 94.21 | 0.30310342 | 5.419734829 |
| 30.4–28.2 | 29.17505 | 0.00021903 | 0.023679572 | 1.00 | 95.09 | 0.30029990 | 5.72003473 |
| 28.2–26.2 | 27.07171 | 0.00022227 | 0.023901843 | 1.01 | 95.98 | 0.32841759 | 6.04845233 |
| 26.2–24.1 | 25.04651 | 0.00022170 | 0.024123548 | 1.01 | 96.87 | 0.35406993 | 6.402522262 |
| 24.1–22.4 | 23.15869 | 0.00020903 | 0.024332587 | 0.95 | 97.71 | 0.36105545 | 6.763577712 |
| 22.4–20.5 | 21.35191 | 0.00019146 | 0.024524047 | 0.87 | 98.48 | 0.35867440 | 7.122252119 |
| 20.5–19.3 | 19.86598 | 0.00015711 | 0.024681159 | 0.72 | 99.11 | 0.31634431 | 7.438596433 |
| 19.3–18.0 | 18.58923 | 0.00012330 | 0.024804463 | 0.56 | 99.61 | 0.26532155 | 7.703917983 |
| 18.0–17.3 | 17.61015 | 0.00009792 | 0.024902387 | 0.45 | 100.00 | 0.22242658 | 7.926344567 |
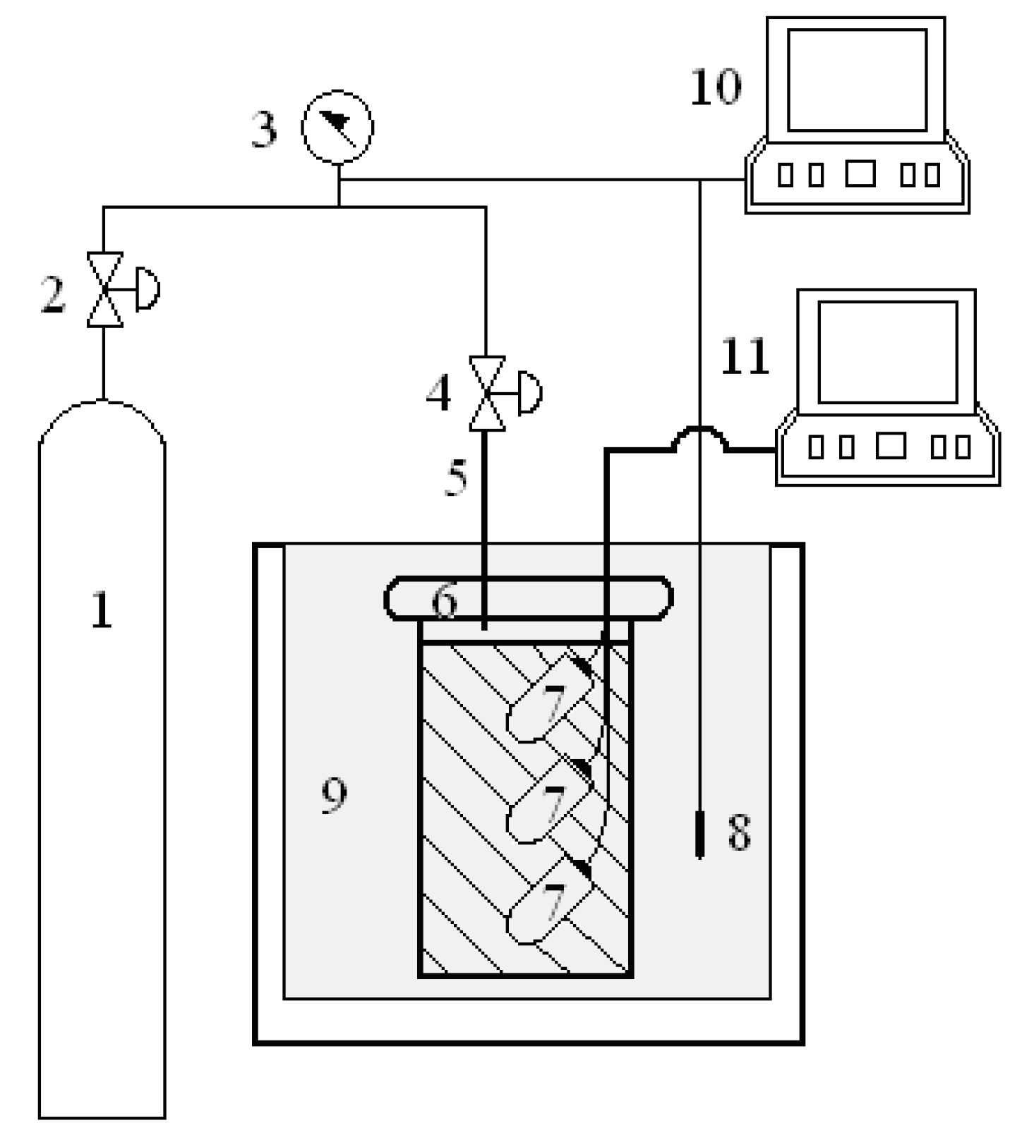
2.2. Experimental Method

2.3. Experimental Standard Curve


3. Results and Discussion
3.1. Methane Hydrate Formation in Artificial Medium




3.2. Methane Hydrate Formation in Natural Medium





3.3. Comparison of Methane Hydrate Formation in Silica Gel and in Loess
4. Conclusions
Acknowledgements
References
- Sloan, E.D. Fundamental principles and applications of natural gas hydrates. Nature 2003, 426, 353–359. [Google Scholar] [CrossRef] [PubMed]
- Kvenvolden, K.A. Methane hydrates—A major reservoir of carbon in shallow Geosphere. Chem. Geol. 1988, 71, 41–51. [Google Scholar] [CrossRef]
- Kvenvolden, K.A. Potential effects of gas hydrate on human welfare. Proc. Natl. Acad. Sci. USA 1999, 96, 3420–3426. [Google Scholar] [CrossRef] [PubMed]
- Collett, T.S. Energy resource potential of natural gas hydrate. APG Bull. 2002, 86, 1971–1992. [Google Scholar]
- Handa, Y.P.; Stupin, D. Thermodynamic properties and dissociation characteristics of methane and propane hydrates in 70-Å radius silica gel pores. J. Phys. Chem. 1992, 96, 8599–8603. [Google Scholar] [CrossRef]
- Waite, W.F.; Winters, W.J.; Mason, D.H. Methane hydrate formation in partially water-saturated ottawa sand. Am. Mineral. 2004, 89, 1202–1207. [Google Scholar]
- Waite, W.F.; de Martin, B.J.; Kirby, S.H.; Pinkston, J.; Ruppel, C.D. Thermal conductivity measurements in porous mixtures of methane hydrate and quartz sand. Geophys. Res. Lett. 2002, 29, 2229. [Google Scholar] [CrossRef]
- Anderson, B.; Llamedo, M.; Tohidi, B. Characteristics of clathrate hydrate equilibria in mesopores and interpretation of experimental data. J. Phys. Chem. B. 2003, 107, 3500–3506. [Google Scholar] [CrossRef]
- Anderson, B.; Llamedo, M.; Tohidi, B. Experimental measurement of methane and carbon dioxide clathrate hydrate equilibria in mesoporous silica. J. Phys. Chem. B. 2003, 107, 3507–3514. [Google Scholar] [CrossRef]
- Buffett, B.A.; Zatsepina, O.Y. Formation of gas hydrate from dissolved gas in natural porous medium. Mar. Geol. 2000, 164, 69–77. [Google Scholar] [CrossRef]
- Klauda, J.B.; Sandler, S.I. Modeling gas hydrate phase equilibria in laboratory and natural porous medium. Ind. Eng. Chem. Res. 2001, 40, 4197–4208. [Google Scholar] [CrossRef]
- Klauda, J.B.; Sandler, S.I. Predictions of gas hydrate phase equilibria and amounts in natural sediment porous medium. Mar. Pet. Geol. 2003, 20, 459–470. [Google Scholar] [CrossRef]
- Ostergaard, K.K.; Anderson, R.; Llamedo, M.; Tohidi, B. Hydrate phase equilibria in porous media: effect of pore size and salinity. Terra Nova 2002, 14, 307–312. [Google Scholar] [CrossRef]
- Uchida, T.; Ebinuma, T.; Ishizaki, T. Dissociation condition measurements of methane hydrate in confined small pores of porous glass. J. Phys. Chem. B 1999, 103, 3659–3662. [Google Scholar] [CrossRef]
- Uchida, T.; Ebinuma, T.; Takeya, S.; Nagao, J.; Narita, H. Effects of pore sizes on dissociation temperatures and pressures of methane, carbon dioxide and propane hydrate in porous media. J. Phys. Chem. B 2002, 106, 820–826. [Google Scholar] [CrossRef]
- Wilder, J.W.; Seshadri, K.; Smith, D.H. Modeling hydrate formation in medium with broad pore size distribution. Langmuir 2001, 17, 6729–6735. [Google Scholar] [CrossRef]
- Rempel, A.W. A model for the diffusive growth of hydrate saturation anomalies in layered sediments. J. Geophy. Res. 2011, 116, 1–15. [Google Scholar]
- Rempel, A.W; Wettlaufer, J.S.; Worster, M.G. Interfacial pre-melting and the Thermomolecular force: Thermodynamic buoyancy. Phys. Rev. Lett. 2001, 87, 088501. [Google Scholar] [CrossRef] [PubMed]
- Clarke, A.M.; Pooladi-Darvish, M.; Bishnoi, P.R. A method to predict equilibrium conditions of gas hydrate formation in porous media. Ind. Eng. Chem. Res. 1999, 38, 2485–2490. [Google Scholar] [CrossRef]
- Andersland, O.B.; Ladanyi, B. An Introduction to Frozen Ground Engineering; Chapman and Hall: New York, NY, USA, 2004. [Google Scholar]
- Dash, J.G.; Rempel, A.W.; Wettlaufer, J.S. The physics of premelted ice and its geophysical consequences. Rev. Mod. Phys. 2006, 78, 695–741. [Google Scholar] [CrossRef]
- Hansen-Goos, H.; Wettlaufer, J.S. Theory of ice premelting in porous media. Phys. Rev. E 2010, 81, 031604. [Google Scholar] [CrossRef]
- Chuvilin, E.; Yakushev, V.S.; Perlova, E.V. Experimental study of gas hydrate formation in porous media. Adv. Cold Reg. Therm. Eng. Sci. 1999, 533, 431–440. [Google Scholar]
- Chuvilin, E.; Guryeva, O. Carbon Dioxide Gas Hydrates Accumulation in Freezing and Frozen Sediments. In Proceedings of the 6th International Conference on Gas Hydrates (ICGH 2008), British Columbia, Canada, 6–10 July 2008.
- Chuvilin, E.; Guryeva, O.; Istomin, V; Safonov, S. Experimental Method for Determination of the Residual Equilibrium Water Content in Hydrate-Saturated Natural Sediments. In Proceedings of the 6th International Conference on Gas Hydrates (ICGH 2008), British Columbia, Canada, 6–10 July 2008.
- Kawasaki, T.; Tsuchiya, Y.; Nakamizu, M. Observation of Methane Hydrate Dissociation Behavior in Methane Hydrate Bearing Sediments by X-Ray CT Scanner. In Proceedings of the 5th International Conference on Gas Hydrates, Trondheim, Norway, 12–16 June 2005.
- Zhang, P.; Wu, Q.B.; Pu, Y.B.; Jiang, G.L.; Zhan, J.; Wang, Y.M. Water transfer characteristics during methane hydrate formation and dissociation processes in saturated sand. J. Nat. Gas Chem. 2010, 19, 71–76. [Google Scholar] [CrossRef]
- Sloan, E.D. Molecular Structures and Similarities. In Clathrate Hydrates of Natural Gases, 2nd ed.; CRC Press: New York, NY, USA, 1998; p. 60. [Google Scholar]
- Sloan, E.D. Kinetics of Hydrate Formation. In Clathrate Hydrates of Natural Gases, 2nd ed.; CRC Press: New York, NY, USA, 1998; p. 111. [Google Scholar]
- Clennell, M.B.; Hovland, M.; Booth, J.S. Formation of natural gas hydrates in marine sediments: 1. Conceptual model of gas hydrate growth conditioned by host sediment properties. J. Geophys. Res. 1999, 104, 22985–23003. [Google Scholar] [CrossRef]
© 2013 by the authors; licensee MDPI, Basel, Switzerland. This article is an open access article distributed under the terms and conditions of the Creative Commons Attribution license (http://creativecommons.org/licenses/by/3.0/).
Share and Cite
Zhang, P.; Wu, Q.; Yang, Y. Characteristics of Methane Hydrate Formation in Artificial and Natural Media. Energies 2013, 6, 1233-1249. https://doi.org/10.3390/en6031233
Zhang P, Wu Q, Yang Y. Characteristics of Methane Hydrate Formation in Artificial and Natural Media. Energies. 2013; 6(3):1233-1249. https://doi.org/10.3390/en6031233
Chicago/Turabian StyleZhang, Peng, Qingbai Wu, and Yuzhong Yang. 2013. "Characteristics of Methane Hydrate Formation in Artificial and Natural Media" Energies 6, no. 3: 1233-1249. https://doi.org/10.3390/en6031233
APA StyleZhang, P., Wu, Q., & Yang, Y. (2013). Characteristics of Methane Hydrate Formation in Artificial and Natural Media. Energies, 6(3), 1233-1249. https://doi.org/10.3390/en6031233
