Advantages and Limitations of Anaerobic Wastewater Treatment—Technological Basics, Development Directions, and Technological Innovations
Abstract
1. Introduction
2. Basic Principles of Anaerobic Wastewater Treatment
3. Process Parameters
3.1. Temperature
3.2. pH and Acid/Base Balance
3.3. Stirring
3.4. Organic Load Rate (OLR)
3.5. Microbial Community
3.6. Energetic and Economic Efficiency
4. Advantages and Disadvantages of Anaerobic Wastewater Treatment Systems
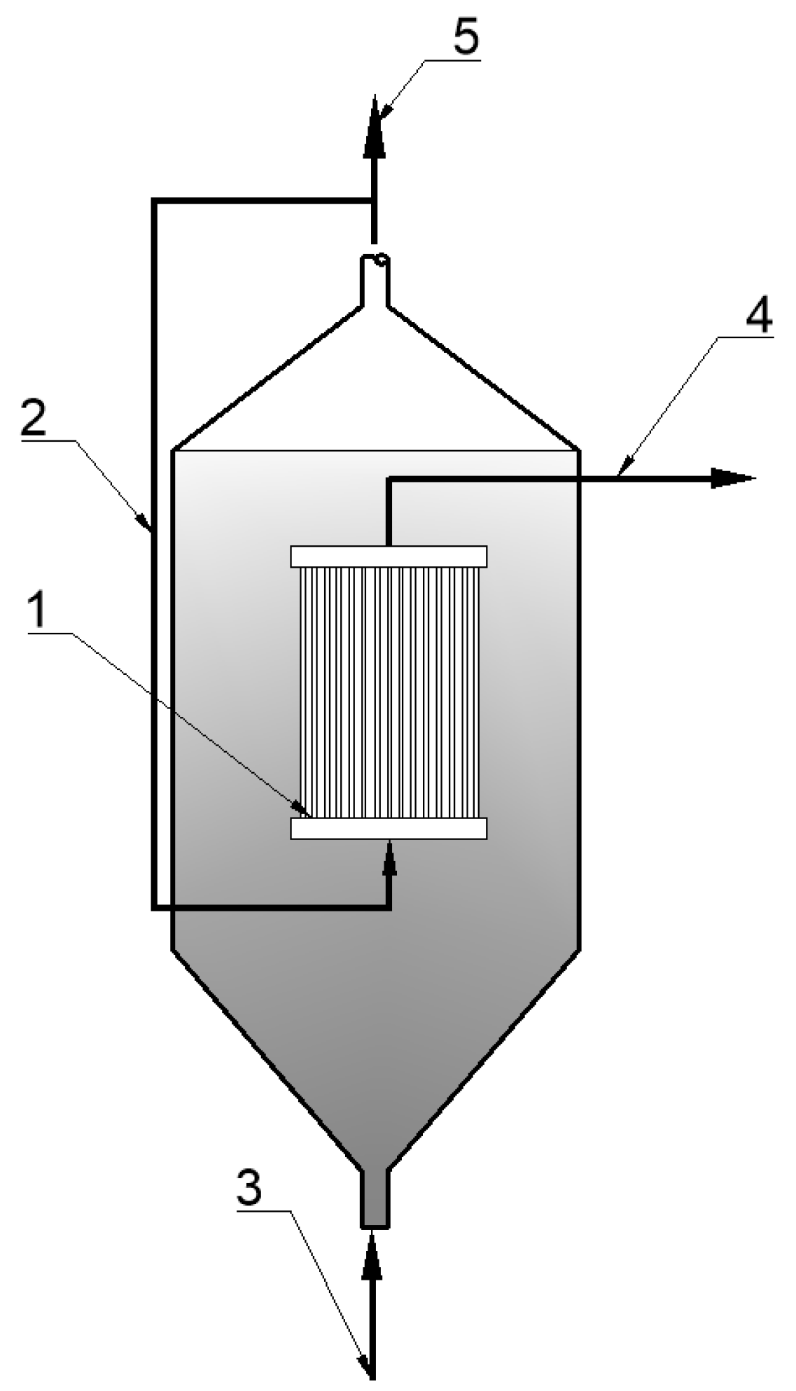
5. Reactors for Anaerobic Wastewater Treatment
5.1. Continuous-Flow Stirred Tank Reactor (CSTR)
5.2. Anaerobic Filters
5.3. UASB Reactors
5.4. Fluidized-Bed Reactors
5.5. Hybrid Anaerobic Reactors
5.6. Anaerobic Membrane Bioreactors (AnMBRs)
6. Unconventional and Innovative Anaerobic Reactors
6.1. Multi-Section Hybrid Anaerobic Reactor (M-SHAR)
6.2. Anaerobic Fluidized Active Filling Reactor (FAF-R)
6.3. Multi-Section Horizontal Flow Anaerobic Reactor (HFAR)
6.4. Labyrinth-Flow Vertical Anaerobic Reactor with Magneto-Active Filling (LFAR–MAF)
6.5. Innovative Anaerobic Bioreactor with Fixed-Structured Bed (ABFSB)
6.6. Innovative Multistage Anaerobic Hythane Reactor (MAHR)
7. Summary of Knowledge and Development Directions
8. Conclusions
Author Contributions
Funding
Institutional Review Board Statement
Informed Consent Statement
Data Availability Statement
Conflicts of Interest
References
- Viet, N.D.; Jang, D.; Yoon, Y.; Jang, A. Enhancement of Membrane System Performance Using Artificial Intelligence Technologies for Sustainable Water and Wastewater Treatment: A Critical Review. Crit. Rev. Environ. Sci. Technol. 2021, 52, 3689–3719. [Google Scholar] [CrossRef]
- Kosek, K.; Luczkiewicz, A.; Fudala-Książek, S.; Jankowska, K.; Szopińska, M.; Svahn, O.; Tränckner, J.; Kaiser, A.; Langas, V.; Björklund, E. Implementation of Advanced Micropollutants Removal Technologies in Wastewater Treatment Plants (WWTPs)—Examples and Challenges Based on Selected EU Countries. Environ. Sci. Policy 2020, 112, 213–226. [Google Scholar] [CrossRef]
- Michailos, S.; Walker, M.; Moody, A.; Poggio, D.; Pourkashanian, M. Biomethane Production Using an Integrated Anaerobic Digestion, Gasification and CO2 Biomethanation Process in a Real Waste Water Treatment Plant: A Techno-Economic Assessment. Energy Convers. Manag. 2020, 209, 112663. [Google Scholar] [CrossRef]
- Morello, R.; Di Capua, F.; Esposito, G.; Pirozzi, F.; Fratino, U.; Spasiano, D. Sludge Minimization in Mainstream Wastewater Treatment: Mechanisms, Strategies, Technologies, and Current Development. J. Environ. Manage. 2022, 319, 115756. [Google Scholar] [CrossRef]
- Pillai, B.B.K.; Meghvansi, M.K.; Sudha, M.C.; Sreenivasulu, M. Microbial Community Dynamics in Anaerobic Digester Treating Human Waste: A Review. In Anaerobic Biodigesters for Human Waste Treatment; Springer: Singapore, 2022; pp. 95–111. [Google Scholar] [CrossRef]
- Di Berardino, S.E.; Di Berardino, M.A. Application of Anaerobic Hybrid Filters for Sewage Treatment. In The Handbook of Environmental Chemistry; Springer: Berlin/Heidelberg, Germany, 2022; pp. 1–42. [Google Scholar] [CrossRef]
- Aghel, B.; Behaein, S.; Wongwises, S.; Shadloo, M.S. A Review of Recent Progress in Biogas Upgrading: With Emphasis on Carbon Capture. Biomass Bioenergy 2022, 160, 106422. [Google Scholar] [CrossRef]
- Nguyen, L.N.; Kumar, J.; Vu, M.T.; Mohammed, J.A.H.; Pathak, N.; Commault, A.S.; Sutherland, D.; Zdarta, J.; Tyagi, V.K.; Nghiem, L.D. Biomethane Production from Anaerobic Co-Digestion at Wastewater Treatment Plants: A Critical Review on Development and Innovations in Biogas Upgrading Techniques. Sci. Total Environ. 2021, 765, 142753. [Google Scholar] [CrossRef]
- Tekerlekopoulou, A.G.; Economou, C.N.; Tatoulis, T.I.; Akratos, C.S.; Vayenas, D.V. Wastewater Treatment and Water Reuse in the Food Industry. In The Interaction of Food Industry and Environment; Academic Press: Cambridge, MA, USA, 2020; pp. 245–280. [Google Scholar] [CrossRef]
- Ng, M.; Dalhatou, S.; Wilson, J.; Kamdem, B.P.; Temitope, M.B.; Paumo, H.K.; Djelal, H.; Assadi, A.A.; Nguyen-Tri, P.; Kane, A. Characterization of Slaughterhouse Wastewater and Development of Treatment Techniques: A Review. Processes 2022, 10, 1300. [Google Scholar] [CrossRef]
- Capodaglio, A.G.; Olsson, G. Energy Issues in Sustainable Urban Wastewater Management: Use, Demand Reduction and Recovery in the Urban Water Cycle. Sustainaibilty 2019, 12, 266. [Google Scholar] [CrossRef]
- Karamichailidou, D.; Alexandridis, A.; Anagnostopoulos, G.; Syriopoulos, G.; Sekkas, O. Modeling Biogas Production from Anaerobic Wastewater Treatment Plants Using Radial Basis Function Networks and Differential Evolution. Comput. Chem. Eng. 2022, 157, 107629. [Google Scholar] [CrossRef]
- Anijiofor, S.C.; Azreen, N.; Jamil, M.; Jabbar, S.; Sakyat, S.; Gomes, C. Aerobic and Anaerobic Sewage Biodegradable Processes: The Gap Analysis. Int. J. Res. Environ. Sci. 2017, 3, 2454–9444. [Google Scholar] [CrossRef]
- Goli, A.; Shamiri, A.; Khosroyar, S.; Talaiekhozani, A.; Sanaye, R.; Azizi, K. A Review on Different Aerobic and Anaerobic Treatment Methods in Dairy Industry Wastewater. J. Environ. Treat. Tech. 2019, 7, 113–141. [Google Scholar]
- Liu, W.; Song, X.; Huda, N.; Xie, M.; Li, G.; Luo, W. Comparison between Aerobic and Anaerobic Membrane Bioreactors for Trace Organic Contaminant Removal in Wastewater Treatment. Environ. Technol. Innov. 2020, 17, 100564. [Google Scholar] [CrossRef]
- Cashman, S.; Ma, X.; Mosley, J.; Garland, J.; Crone, B.; Xue, X. Energy and Greenhouse Gas Life Cycle Assessment and Cost Analysis of Aerobic and Anaerobic Membrane Bioreactor Systems: Influence of Scale, Population Density, Climate, and Methane Recovery. Bioresour. Technol. 2018, 254, 56–66. [Google Scholar] [CrossRef] [PubMed]
- Martin, I.; Pidou, M.; Soares, A.; Judd, S.; Jefferson, B. Modelling the Energy Demands of Aerobic and Anaerobic Membrane Bioreactors for Wastewater Treatment. Environ. Technol. 2011, 32, 921–932. [Google Scholar] [CrossRef]
- Show, K.Y.; Lee, D.J. Anaerobic Treatment Versus Aerobic Treatment. In Current Developments in Biotechnology and Bioengineering; Elsevier: Amsterdam, The Netherlands, 2017; pp. 205–230. [Google Scholar] [CrossRef]
- Dereli, R.K. Modeling Long-Term Performance of Full-Scale Anaerobic Expanded Granular Sludge Bed Reactor Treating Confectionery Industry Wastewater. Environ. Sci. Pollut. Res. 2019, 26, 25037–25045. [Google Scholar] [CrossRef]
- Kazimierowicz, J.; Zieliński, M.; Dębowski, M. Influence of the Heating Method on the Efficiency of Biomethane Production from Expired Food Products. Fermentation 2021, 7, 12. [Google Scholar] [CrossRef]
- Dębowski, M.; Zieliński, M.; Kisielewska, M.; Kazimierowicz, J. Evaluation of Anaerobic Digestion of Dairy Wastewater in an Innovative Multi-Section Horizontal Flow Reactor. Energies 2020, 13, 2392. [Google Scholar] [CrossRef]
- Sivaprakasam, S.; Balaji, K. A Review of Upflow Anaerobic Sludge Fixed Film (UASFF) Reactor for Treatment of Dairy Wastewater. Mater. Today Proc. 2021, 43, 1879–1883. [Google Scholar] [CrossRef]
- Shi, C.; Wang, K.; Zheng, M.; Liu, Y.; Ma, J.; Li, K. The Efficiencies and Capacities of Carbon Conversion in Fruit and Vegetable Waste Two-Phase Anaerobic Digestion: Ethanol-Path vs. Butyrate-Path. Waste Manag. 2021, 126, 737–746. [Google Scholar] [CrossRef]
- Harris, P.W.; McCabe, B.K. Process Optimisation of Anaerobic Digestion Treating High-Strength Wastewater in the Australian Red Meat Processing Industry. Appl. Sci. 2020, 10, 7947. [Google Scholar] [CrossRef]
- Sangeetha, T.; Rajneesh, C.P.; Yan, W.M. Integration of Microbial Electrolysis Cells with Anaerobic Digestion to Treat Beer Industry Wastewater. In Integrated Microbial Fuel Cells for Wastewater Treatment; Butterworth-Heinemann: Oxford, UK, 2020; pp. 313–346. [Google Scholar] [CrossRef]
- Jiang, Q.; Xin, Y.; Jiang, Y.; Huang, L.; Shen, P. Improving the Efficiency of Anaerobic Digestion of Molasses Alcohol Wastewater Using Cassava Alcohol Wastewater as a Mixed Feedstock. Bioresour. Technol. 2022, 344, 126179. [Google Scholar] [CrossRef]
- Bakraoui, M.; Karouach, F.; Ouhammou, B.; Lahboubi, N.; El Gnaoui, Y.; Kerrou, O.; Aggour, M.; El Bari, H. Kinetics Study of Methane Production from Anaerobic Digestion of Sludge and Wastewater Recycled Pulp and Paper. IOP Conf. Ser. Mater. Sci. Eng. 2020, 946, 012009. [Google Scholar] [CrossRef]
- Vítězová, M.; Kohoutová, A.; Vítěz, T.; Hanišáková, N.; Kushkevych, I. Methanogenic Microorganisms in Industrial Wastewater Anaerobic Treatment. Processes 2020, 8, 1546. [Google Scholar] [CrossRef]
- Song, Q.; Chen, X.; Zhou, W.; Xie, X. Application of a Spiral Symmetric Stream Anaerobic Bioreactor for Treating Saline Heparin Sodium Pharmaceutical Wastewater: Reactor Operating Characteristics, Organics Degradation Pathway and Salt Tolerance Mechanism. Water Res. 2021, 205, 117671. [Google Scholar] [CrossRef] [PubMed]
- Khoshnevisan, B.; Duan, N.; Tsapekos, P.; Awasthi, M.K.; Liu, Z.; Mohammadi, A.; Angelidaki, I.; Tsang, D.C.W.; Zhang, Z.; Pan, J.; et al. A Critical Review on Livestock Manure Biorefinery Technologies: Sustainability, Challenges, and Future Perspectives. Renew. Sustain. Energy Rev. 2021, 135, 110033. [Google Scholar] [CrossRef]
- Yuan, H.; Guan, R.; Li, X.; Zhu, C.; Wachemo, A.C.; Zou, D. Investigation of Anaerobic Digestion Performance and System Stability of CaO-Ultrasonic Pretreated Dewatered Activated Sludge. Waste Biomass Valorization 2019, 10, 2445–2453. [Google Scholar] [CrossRef]
- Zieliński, M.; Dębowski, M.; Kazimierowicz, J. Microwave Radiation Influence on Dairy Waste Anaerobic Digestion in a Multi-Section Hybrid Anaerobic Reactor (M-SHAR). Processes 2021, 9, 1772. [Google Scholar] [CrossRef]
- Yue, L.; Cheng, J.; Tang, S.; An, X.; Hua, J.; Dong, H.; Zhou, J. Ultrasound and Microwave Pretreatments Promote Methane Production Potential and Energy Conversion during Anaerobic Digestion of Lipid and Food Wastes. Energy 2021, 228, 120525. [Google Scholar] [CrossRef]
- Kisielewska, M.; Rusanowska, P.; Dudek, M.; Nowicka, A.; Krzywik, A.; Dębowski, M.; Joanna, K.; Zieliński, M. Evaluation of Ultrasound Pretreatment for Enhanced Anaerobic Digestion of Sida Hermaphrodita. Bioenergy Res. 2020, 13, 824–832. [Google Scholar] [CrossRef]
- Kuşçu, Ö.S.; Çömlekçi, S.; Çört, N. Disintegration of Sewage Sludge Using Pulsed Electrical Field Technique: PEF Optimization, Simulation, and Anaerobic Digestion. Environ. Technol. 2021, 43, 2809–2824. [Google Scholar] [CrossRef] [PubMed]
- Wang, Z.; Sun, Y.; Qu, J.; Yang, F.; Li, J.; Yan, B. Effects on Mesophilic Anaerobic Digestion Performance of Corn Stalk with the Addition/ Pretreatment of Depolymerization Wastewater. Fuel 2022, 322, 124234. [Google Scholar] [CrossRef]
- Wang, S.; Yu, S.; Lu, Q.; Liao, Y.; Li, H.; Sun, L.; Wang, H.; Zhang, Y. Development of an Alkaline/Acid Pre-Treatment and Anaerobic Digestion (APAD) Process for Methane Generation from Waste Activated Sludge. Sci. Total Environ. 2020, 708, 134564. [Google Scholar] [CrossRef] [PubMed]
- Zou, X.; Yang, R.; Zhou, X.; Cao, G.; Zhu, R.; Ouyang, F. Effects of Mixed Alkali-Thermal Pretreatment on Anaerobic Digestion Performance of Waste Activated Sludge. J. Clean. Prod. 2020, 259, 120940. [Google Scholar] [CrossRef]
- Brough, D.; Jouhara, H. The Aluminium Industry: A Review on State-of-the-Art Technologies, Environmental Impacts and Possibilities for Waste Heat Recovery. Int. J. 2020, 1–2, 100007. [Google Scholar] [CrossRef]
- Ren, Y.; Wang, C.; He, Z.; Qin, Y.; Li, Y.Y. Enhanced Biomethanation of Lipids by High-Solid Co-Digestion with Food Waste: Biogas Production and Lipids Degradation Demonstrated by Long-Term Continuous Operation. Bioresour. Technol. 2022, 348, 126750. [Google Scholar] [CrossRef]
- Loganath, R.; Senophiyah-Mary, J. Critical Review on the Necessity of Bioelectricity Generation from Slaughterhouse Industry Waste and Wastewater Using Different Anaerobic Digestion Reactors. Renew. Sustain. Energy Rev. 2020, 134, 110360. [Google Scholar] [CrossRef]
- Wiśniewska, M.; Kulig, A.; Lelicińska-Serafin, K. Odour Nuisance at Municipal Waste Biogas Plants and the Effect of Feedstock Modification on the Circular Economy—A Review. Energies 2021, 14, 6470. [Google Scholar] [CrossRef]
- Obaideen, K.; Abdelkareem, M.A.; Wilberforce, T.; Elsaid, K.; Sayed, E.T.; Maghrabie, H.M.; Olabi, A.G. Biogas Role in Achievement of the Sustainable Development Goals: Evaluation, Challenges, and Guidelines. J. Taiwan Inst. Chem. Eng. 2022, 131, 104207. [Google Scholar] [CrossRef]
- Stolecka, K.; Rusin, A. Potential Hazards Posed by Biogas Plants. Renew. Sustain. Energy Rev. 2021, 135, 110225. [Google Scholar] [CrossRef]
- Natividad Pérez-Camacho, M.; Curry, R.; Cromie, T. Life Cycle Environmental Impacts of Biogas Production and Utilisation Substituting for Grid Electricity, Natural Gas Grid and Transport Fuels. Waste Manag. 2019, 95, 90–101. [Google Scholar] [CrossRef]
- Sevillano, C.A.; Pesantes, A.A.; Peña Carpio, E.; Martínez, E.J.; Gómez, X. Anaerobic Digestion for Producing Renewable Energy—The Evolution of This Technology in a New Uncertain Scenario. Entropy 2021, 23, 145. [Google Scholar] [CrossRef] [PubMed]
- Harb, M.; Lou, E.; Smith, A.L.; Stadler, L.B. Perspectives on the Fate of Micropollutants in Mainstream Anaerobic Wastewater Treatment. Curr. Opin. Biotechnol. 2019, 57, 94–100. [Google Scholar] [CrossRef] [PubMed]
- Hallaji, S.M.; Kuroshkarim, M.; Moussavi, S.P. Enhancing Methane Production Using Anaerobic Co-Digestion of Waste Activated Sludge with Combined Fruit Waste and Cheese Whey. BMC Biotechnol. 2019, 19, 1–10. [Google Scholar] [CrossRef] [PubMed]
- Olugbemide, A.D.; Likozar, B. Assessment of Liquid and Solid Digestates from Anaerobic Digestion of Rice Husk as Potential Biofertilizer and Nutrient Source for Microalgae Cultivation. Processes 2022, 10, 1007. [Google Scholar] [CrossRef]
- Gülşen, H.; Yapıcıoğlu, P.; Gülşen, H.; Yapıcıoğlu, P. Greenhouse Gas Emission Estimation for a UASB Reactor in a Dairy Wastewater Treatment Plant. Int. J. Glob. Warm. 2019, 17, 373–388. [Google Scholar] [CrossRef]
- Gray, N.; O’Shea, R.; Smyth, B.; Lens, P.N.L.; Murphy, J.D. What Is the Energy Balance of Electrofuels Produced through Power-to-Fuel Integration with Biogas Facilities? Renew. Sustain. Energy Rev. 2022, 155, 111886. [Google Scholar] [CrossRef]
- Pierie, F.; van Someren, C.E.J.; Kruse, S.N.M.; Laugs, G.A.H.; Benders, R.M.J.; Moll, H.C. Local Balancing of the Electricity Grid in a Renewable Municipality; Analyzing the Effectiveness and Cost of Decentralized Load Balancing Looking at Multiple Combinations of Technologies. Energies 2021, 14, 4926. [Google Scholar] [CrossRef]
- Chew, K.W.; Chia, S.R.; Yen, H.W.; Nomanbhay, S.; Ho, Y.C.; Show, P.L. Transformation of Biomass Waste into Sustainable Organic Fertilizers. Sustainability 2019, 11, 2266. [Google Scholar] [CrossRef]
- Hussain, Z.; Mishra, J.; Vanacore, E. Waste to Energy and Circular Economy: The Case of Anaerobic Digestion. J. Enterp. Inf. Manag. 2020, 33, 817–838. [Google Scholar] [CrossRef]
- Liu, X.; Wang, D.; Chen, Z.; Wei, W.; Mannina, G.; Ni, B.-J. Advances in Pretreatment Strategies to Enhance the Biodegradability of Waste Activated Sludge for the Conversion of Refractory Substances. Bioresour. Technol. 2022, 362, 127804. [Google Scholar] [CrossRef]
- Joshi, P.; Visvanathan, C. Sustainable Management Practices of Food Waste in Asia: Technological and Policy Drivers. J. Environ. Manage. 2019, 247, 538–550. [Google Scholar] [CrossRef] [PubMed]
- Kumar, V.; Nabaterega, R.; Khoei, S.; Eskicioglu, C. Insight into Interactions between Syntrophic Bacteria and Archaea in Anaerobic Digestion Amended with Conductive Materials. Renew. Sustain. Energy Rev. 2021, 144, 110965. [Google Scholar] [CrossRef]
- Xiao, K.; Abbt-Braun, G.; Horn, H. Changes in the Characteristics of Dissolved Organic Matter during Sludge Treatment: A Critical Review. Water Res. 2020, 187, 116441. [Google Scholar] [CrossRef] [PubMed]
- Pasalari, H.; Gholami, M.; Rezaee, A.; Esrafili, A.; Farzadkia, M. Perspectives on Microbial Community in Anaerobic Digestion with Emphasis on Environmental Parameters: A Systematic Review. Chemosphere 2021, 270, 128618. [Google Scholar] [CrossRef] [PubMed]
- Yadav, M.; Joshi, C.; Paritosh, K.; Thakur, J.; Pareek, N.; Masakapalli, S.K.; Vivekanand, V. Reprint of Organic Waste Conversion through Anaerobic Digestion: A Critical Insight into the Metabolic Pathways and Microbial Interactions. Metab. Eng. 2022, 71, 62–76. [Google Scholar] [CrossRef]
- Kazimierowicz, J.; Dębowski, M. Aerobic Granular Sludge as a Substrate in Anaerobic Digestion—Current Status and Perspectives. Sustainability 2022, 14, 10904. [Google Scholar] [CrossRef]
- Paul Choudhury, S.; Panda, S.; Haq, I.; Kalamdhad, A.S. Enhanced Methane Production and Hydrocarbon Removal from Petroleum Refinery Sludge after Pseudomonas Putida Pretreatment and Process Scale-Up. Bioresour. Technol. 2022, 343, 126127. [Google Scholar] [CrossRef]
- Khanh Nguyen, V.; Kumar Chaudhary, D.; Hari Dahal, R.; Hoang Trinh, N.; Kim, J.; Chang, S.W.; Hong, Y.; Duc La, D.; Nguyen, X.C.; Hao Ngo, H.; et al. Review on Pretreatment Techniques to Improve Anaerobic Digestion of Sewage Sludge. Fuel 2021, 285, 119105. [Google Scholar] [CrossRef]
- Ma, Y.; Gu, J.; Liu, Y. Evaluation of Anaerobic Digestion of Food Waste and Waste Activated Sludge: Soluble COD versus Its Chemical Composition. Sci. Total Environ. 2018, 643, 21–27. [Google Scholar] [CrossRef]
- Świątek, M.; Lewicki, A.; Szymanowska, D.; Kubiak, P. The Effect of Introduction of Chicken Manure on the Biodiversity and Performance of an Anaerobic Digester. Electron. J. Biotechnol. 2019, 37, 25–33. [Google Scholar] [CrossRef]
- De Prá, M.C.; Anschau, A.; Busso, C.; Gabiatti, N.; Bortoli, M. Effect of Short-Chain Fatty Acid Production on Biogas Generation. Adv. Biol. Chem. 2019, 9, 199–216. [Google Scholar] [CrossRef]
- Granatto, C.F.; Grosseli, G.M.; Sakamoto, I.K.; Fadini, P.S.; Varesche, M.B.A. Influence of Metabolic Cosubstrates on Methanogenic Potential and Degradation of Triclosan and Propranolol in Sanitary Sewage. Environ. Res. 2021, 199, 111220. [Google Scholar] [CrossRef] [PubMed]
- García-Depraect, O.; Diaz-Cruces, V.F.; León-Becerril, E. Upgrading of Anaerobic Digestion of Tequila Vinasse by Using an Innovative Two-Stage System with Dominant Lactate-Type Fermentation in Acidogenesis. Fuel 2020, 280, 118606. [Google Scholar] [CrossRef]
- Gao, T.; Zhang, H.; Xu, X.; Teng, J. Integrating Microbial Electrolysis Cell Based on Electrochemical Carbon Dioxide Reduction into Anaerobic Osmosis Membrane Reactor for Biogas Upgrading. Water Res. 2021, 190, 116679. [Google Scholar] [CrossRef] [PubMed]
- Anukam, A.; Mohammadi, A.; Naqvi, M.; Granström, K. A Review of the Chemistry of Anaerobic Digestion: Methods of Accelerating and Optimizing Process Efficiency. Processes 2019, 7, 504. [Google Scholar] [CrossRef]
- Pan, X.; Zhao, L.; Li, C.; Angelidaki, I.; Lv, N.; Ning, J.; Cai, G.; Zhu, G. Deep Insights into the Network of Acetate Metabolism in Anaerobic Digestion: Focusing on Syntrophic Acetate Oxidation and Homoacetogenesis. Water Res. 2021, 190, 116774. [Google Scholar] [CrossRef]
- Zhu, X.; Campanaro, S.; Treu, L.; Seshadri, R.; Ivanova, N.; Kougias, P.G.; Kyrpides, N.; Angelidaki, I. Metabolic Dependencies Govern Microbial Syntrophies during Methanogenesis in an Anaerobic Digestion Ecosystem. Microbiome 2020, 8, 1–14. [Google Scholar] [CrossRef]
- Pramanik, S.K.; Suja, F.B.; Zain, S.M.; Pramanik, B.K. The Anaerobic Digestion Process of Biogas Production from Food Waste: Prospects and Constraints. Bioresour. Technol. Rep. 2019, 8, 100310. [Google Scholar] [CrossRef]
- Wang, S.; An, Z.; Wang, Z.W. Bioconversion of Methane to Chemicals and Fuels by Methane-Oxidizing Bacteria. Adv. Bioenergy 2020, 5, 169–247. [Google Scholar] [CrossRef]
- Ray, S.; Kuppam, C.; Pandit, S.; Kumar, P. Biogas Upgrading by Hydrogenotrophic Methanogens: An Overview. Waste Biomass Valorization 2022, 1, 1–16. [Google Scholar] [CrossRef]
- Sogodogo, E.; Drancourt, M.; Grine, G. Methanogens as Emerging Pathogens in Anaerobic Abscesses. Eur. J. Clin. Microbiol. Infect. Dis. 2019, 38, 811–818. [Google Scholar] [CrossRef] [PubMed]
- Wintsche, B.; Jehmlich, N.; Popp, D.; Harms, H.; Kleinsteuber, S. Metabolic Adaptation of Methanogens in Anaerobic Digesters upon Trace Element Limitation. Front. Microbiol. 2018, 9, 405. [Google Scholar] [CrossRef] [PubMed]
- Kurth, J.M.; Op den Camp, H.J.M.; Welte, C.U. Several Ways One Goal—Methanogenesis from Unconventional Substrates. Appl. Microbiol. Biotechnol. 2020, 104, 6839–6854. [Google Scholar] [CrossRef] [PubMed]
- Chen, S.; He, J.; Wang, H.; Dong, B.; Li, N.; Dai, X. Microbial Responses and Metabolic Pathways Reveal the Recovery Mechanism of an Anaerobic Digestion System Subjected to Progressive Inhibition by Ammonia. Chem. Eng. J. 2018, 350, 312–323. [Google Scholar] [CrossRef]
- Kazimierowicz, J.; Dzienis, L.; Dębowski, M.; Zieliński, M. Optimisation of Methane Fermentation as a Valorisation Method for Food Waste Products. Biomass Bioenergy 2021, 144, 105913. [Google Scholar] [CrossRef]
- Manchala, K.R.; Sun, Y.; Zhang, D.; Wang, Z.W. Anaerobic Digestion Modelling. Adv. Bioenergy 2017, 2, 69–141. [Google Scholar] [CrossRef]
- Rossi, A.; Morlino, M.S.; Gaspari, M.; Basile, A.; Kougias, P.; Treu, L.; Campanaro, S. Analysis of the Anaerobic Digestion Metagenome under Environmental Stresses Stimulating Prophage Induction. Microbiome 2022, 10, 1–21. [Google Scholar] [CrossRef]
- Hardoim, C.C.P.; Ramaglia, A.C.M.; Lôbo-Hajdu, G.; Custódio, M.R. Community Composition and Functional Prediction of Prokaryotes Associated with Sympatric Sponge Species of Southwestern Atlantic Coast. Sci. Rep. 2021, 11, 1–16. [Google Scholar] [CrossRef]
- Daniels, L.; Hanson, R.S.; Phillips, J.A. Chemical Analysis. In Methods for General and Molecular Microbiology; John Wiley & Sons: Hoboken, NJ, USA, 2014; pp. 462–503. [Google Scholar] [CrossRef]
- Tang, Y.Q.; Shigematsu, T.; Morimura, S.; Kida, K. Dynamics of the Microbial Community during Continuous Methane Fermentation in Continuously Stirred Tank Reactors. J. Biosci. Bioeng. 2015, 119, 375–383. [Google Scholar] [CrossRef]
- Wade, M.J. Not Just Numbers: Mathematical Modelling and Its Contribution to Anaerobic Digestion Processes. Processes 2020, 8, 888. [Google Scholar] [CrossRef]
- Arcus, V.L.; van der Kamp, M.W.; Pudney, C.R.; Mulholland, A.J. Enzyme Evolution and the Temperature Dependence of Enzyme Catalysis. Curr. Opin. Struct. Biol. 2020, 65, 96–101. [Google Scholar] [CrossRef] [PubMed]
- Dhaked, R.K.; Singh, P.; Singh, L. Biomethanation under Psychrophilic Conditions. Waste Manag. 2010, 30, 2490–2496. [Google Scholar] [CrossRef] [PubMed]
- Aguilar-Muñoz, P.; Lavergne, C.; Chamy, R.; Cabrol, L. The Biotechnological Potential of Microbial Communities from Antarctic Soils and Sediments: Application to Low Temperature Biogenic Methane Production. J. Biotechnol. 2022, 351, 38–49. [Google Scholar] [CrossRef] [PubMed]
- Rathour, R.; Gupta, J.; Mishra, A.; Rajeev, A.C.; Dupont, C.L.; Thakur, I.S. A Comparative Metagenomic Study Reveals Microbial Diversity and Their Role in the Biogeochemical Cycling of Pangong Lake. Sci. Total Environ. 2020, 731, 139074. [Google Scholar] [CrossRef]
- Sukma Safitri, A.; Michelle Kaster, K.; Kommedal, R. Effect of Low Temperature and Municipal Wastewater Organic Loading on Anaerobic Granule Reactor Performance. Bioresour. Technol. 2022, 360, 127616. [Google Scholar] [CrossRef]
- Yusof, N.A.; Hashim, N.H.F.; Bharudin, I. Cold Adaptation Strategies and the Potential of Psychrophilic Enzymes from the Antarctic Yeast, Glaciozyma Antarctica PI12. J. Fungi 2021, 7, 528. [Google Scholar] [CrossRef]
- Nie, E.; He, P.; Zhang, H.; Hao, L.; Shao, L.; Lü, F. How Does Temperature Regulate Anaerobic Digestion? Renew. Sustain. Energy Rev. 2021, 150, 111453. [Google Scholar] [CrossRef]
- Dalby, F.R.; Hafner, S.D.; Petersen, S.O.; VanderZaag, A.C.; Habtewold, J.; Dunfield, K.; Chantigny, M.H.; Sommer, S.G. Understanding Methane Emission from Stored Animal Manure: A Review to Guide Model Development. J. Environ. Qual. 2021, 50, 817–835. [Google Scholar] [CrossRef]
- Basinas, P.; Rusín, J.; Chamrádová, K. Assessment of High-Solid Mesophilic and Thermophilic Anaerobic Digestion of Mechanically-Separated Municipal Solid Waste. Environ. Res. 2021, 192, 110202. [Google Scholar] [CrossRef]
- Zhang, Q.; Zeng, L.; Fu, X.; Pan, F.; Shi, X.; Wang, T. Comparison of Anaerobic Co-Digestion of Pig Manure and Sludge at Different Mixing Ratios at Thermophilic and Mesophilic Temperatures. Bioresour. Technol. 2021, 337, 125425. [Google Scholar] [CrossRef]
- Ruffino, B.; Cerutti, A.; Campo, G.; Scibilia, G.; Lorenzi, E.; Zanetti, M. Thermophilic vs. Mesophilic Anaerobic Digestion of Waste Activated Sludge: Modelling and Energy Balance for Its Applicability at a Full Scale WWTP. Renew. Energy 2020, 156, 235–248. [Google Scholar] [CrossRef]
- Rocamora, I.; Wagland, S.T.; Villa, R.; Simpson, E.W.; Fernández, O.; Bajón-Fernández, Y. Dry Anaerobic Digestion of Organic Waste: A Review of Operational Parameters and Their Impact on Process Performance. Bioresour. Technol. 2020, 299, 122681. [Google Scholar] [CrossRef] [PubMed]
- Wang, L.; Hao, J.; Wang, C.; Li, Y.; Yang, Q. Carbohydrate-to-Protein Ratio Regulates Hydrolysis and Acidogenesis Processes during Volatile Fatty Acids Production. Bioresour. Technol. 2022, 355, 127266. [Google Scholar] [CrossRef] [PubMed]
- Alves, M.; Pereira, A.; Mota, M.; Novais, J.M.; Colleran, E. Staged and Non-staged Anaerobic Filters: Microbial Activity Segregation, Hydrodynamic Behaviour and Performance. J. Chem. Technol. Biotechnol. Int. Res. Process. Environ. Clean Technol. 1998, 73, 99–108. [Google Scholar] [CrossRef]
- Zayed, G.; Winter, J. Inhibition of Methane Production from Whey by Heavy Metals—Protective Effect of Sulfide. Appl. Microbiol. Biotechnol. 2000, 53, 726–731. [Google Scholar] [CrossRef]
- Córdoba, P.R.; Sanchez Riera, F.; Siñeriz, F. Treatment of Dairy Industry Wastewater with an Anaerobic Filter. Biotechnol. Lett. 1984, 6, 753–758. [Google Scholar] [CrossRef]
- Ramasamy, E.V.; Abbasi, S.A. Energy Recovery from Dairy Waste-Waters: Impacts of Biofilm Support Systems on Anaerobic CST Reactors. Appl. Energy 2000, 65, 91–98. [Google Scholar] [CrossRef]
- Kundu, K.; Bergmann, I.; Hahnke, S.; Klocke, M.; Sharma, S.; Sreekrishnan, T.R. Carbon Source—A Strong Determinant of Microbial Community Structure and Performance of an Anaerobic Reactor. J. Biotechnol. 2013, 168, 616–624. [Google Scholar] [CrossRef]
- Da Motta Marques, D.M.; Cayless, S.M.; Lester, J.N. Process Aiders for Start-up of Anaerobic Fluidised Bed Systems. Environ. Technol. 1990, 11, 1093–1106. [Google Scholar] [CrossRef]
- Strydom, J.P.; Britz, T.J.; Mostert, J.F. Two-Phase Anaerobic Digestion of Three Different Dairy Effluents Using a Hybrid Bioreactor. Water S. A. 1997, 23, 151–156. [Google Scholar]
- Zielińska, M.; Cydzik-Kwiatkowska, A.; Zieliński, M.; Dębowski, M. Impact of Temperature, Microwave Radiation and Organic Loading Rate on Methanogenic Community and Biogas Production during Fermentation of Dairy Wastewater. Bioresour. Technol. 2013, 129, 308–314. [Google Scholar] [CrossRef] [PubMed]
- Wang, S.; Rao, N.C.; Qiu, R.; Moletta, R. Treatability and Kinetic Analysis of Anaerobic Moving Bed Biofilm Reactor Treating High Strength Milk Permeate. Desalin. Water Treat. 2012, 4, 191–197. [Google Scholar] [CrossRef]
- Rodgers, M.; Zhan, X.M.; Dolan, B. Mixing Characteristics and Whey Wastewater Treatment of a Novel Moving Anaerobic Biofilm Reactor. J. Environ. Sci. Health Part A 2007, 39, 2183–2193. [Google Scholar] [CrossRef] [PubMed]
- Damasceno, L.H.S.; Rodrigues, J.A.D.; Ratusznei, S.M.; Zaiat, M.; Foresti, E. Effects of Feeding Time and Organic Loading in an Anaerobic Sequencing Batch Biofilm Reactor (ASBBR) Treating Diluted Whey. J. Environ. Manag. 2007, 85, 927–935. [Google Scholar] [CrossRef] [PubMed]
- Zamri, M.F.M.A.; Hasmady, S.; Akhiar, A.; Ideris, F.; Shamsuddin, A.H.; Mofijur, M.; Fattah, I.M.R.; Mahlia, T.M.I. A Comprehensive Review on Anaerobic Digestion of Organic Fraction of Municipal Solid Waste. Renew. Sustain. Energy Rev. 2021, 137, 110637. [Google Scholar] [CrossRef]
- Wainaina, S.; Lukitawesa; Kumar Awasthi, M.; Taherzadeh, M.J. Bioengineering of Anaerobic Digestion for Volatile Fatty Acids, Hydrogen or Methane Production: A Critical Review. Bioengineered 2019, 10, 437–458. [Google Scholar] [CrossRef]
- Arras, W.; Hussain, A.; Hausler, R.; Guiot, S.R. Mesophilic, Thermophilic and Hyperthermophilic Acidogenic Fermentation of Food Waste in Batch: Effect of Inoculum Source. Waste Manag. 2019, 87, 279–287. [Google Scholar] [CrossRef]
- He, K.; Li, W.; Tang, L.; Li, W.; Lv, S.; Xing, D. Suppressing Methane Production to Boost High-Purity Hydrogen Production in Microbial Electrolysis Cells. Environ. Sci. Technol. 2022, 56, 11931–11951. [Google Scholar] [CrossRef]
- Jürgensen, L.; Ehimen, E.A.; Born, J.; Holm-Nielsen, J.B. A Combination Anaerobic Digestion Scheme for Biogas Production from Dairy Effluent—CSTR and ABR, and Biogas Upgrading. Biomass Bioenergy 2018, 111, 241–247. [Google Scholar] [CrossRef]
- Lu, Y.; Zhang, Q.; Wang, X.; Zhou, X.; Zhu, J. Effect of PH on Volatile Fatty Acid Production from Anaerobic Digestion of Potato Peel Waste. Bioresour. Technol. 2020, 316, 123851. [Google Scholar] [CrossRef]
- Greses, S.; Tomás-Pejó, E.; González-Fernández, C. Short-Chain Fatty Acids and Hydrogen Production in One Single Anaerobic Fermentation Stage Using Carbohydrate-Rich Food Waste. J. Clean. Prod. 2021, 284, 124727. [Google Scholar] [CrossRef]
- Fuess, L.T.; Zaiat, M.; do Nascimento, C.A.O. Thermophilic Biodigestion of Fermented Sugarcane Molasses in High-Rate Structured-Bed Reactors: Alkalinization Strategies Define the Operating Limits. Energy Convers. Manag. 2021, 239, 114203. [Google Scholar] [CrossRef]
- Holl, E.; Steinbrenner, J.; Merkle, W.; Krümpel, J.; Lansing, S.; Baier, U.; Oechsner, H.; Lemmer, A. Two-Stage Anaerobic Digestion: State of Technology and Perspective Roles in Future Energy Systems. Bioresour. Technol. 2022, 360, 127633. [Google Scholar] [CrossRef] [PubMed]
- Zhang, L.; Guo, K.; Wang, L.; Xu, R.; Lu, D.; Zhou, Y. Effect of Sludge Retention Time on Microbial Succession and Assembly in Thermal Hydrolysis Pretreated Sludge Digesters: Deterministic versus Stochastic Processes. Water Res. 2022, 209, 117900. [Google Scholar] [CrossRef] [PubMed]
- Tabatabaei, M.; Aghbashlo, M.; Valijanian, E.; Kazemi Shariat Panahi, H.; Nizami, A.S.; Ghanavati, H.; Sulaiman, A.; Mirmohamadsadeghi, S.; Karimi, K. A Comprehensive Review on Recent Biological Innovations to Improve Biogas Production, Part 1: Upstream Strategies. Renew. Energy 2020, 146, 1204–1220. [Google Scholar] [CrossRef]
- Neogi, S.; Chatterjee, P.K. Acidophilic Methanogenesis for Treatment of Wastewater in Food Processing Industries. Handb. Adv. Approaches Towar. Pollut. Prev. Control 2021, 2, 249–273. [Google Scholar] [CrossRef]
- Han, W.; He, P.; Lin, Y.; Shao, L.; Lü, F. A Methanogenic Consortium Was Active and Exhibited Long-Term Survival in an Extremely Acidified Thermophilic Bioreactor. Front. Microbiol. 2019, 10, 2757. [Google Scholar] [CrossRef]
- Salama, E.S.; Saha, S.; Kurade, M.B.; Dev, S.; Chang, S.W.; Jeon, B.H. Recent Trends in Anaerobic Co-Digestion: Fat, Oil, and Grease (FOG) for Enhanced Biomethanation. Prog. Energy Combust. Sci. 2019, 70, 22–42. [Google Scholar] [CrossRef]
- Kuglarz, M.; Grübel, K.; Bohdziewicz, J. Co-Digestion of Sewage Sludge and Glycerol Fraction Mixture Facilitated by Microwave Pretreatment. Ecol. Chem. Eng. A 2017, 24, 87–100. [Google Scholar] [CrossRef]
- Kanchanapiya, P.; Jantharadej, K.; Chavanparit, O. Performance of Precast Anaerobic Digestion Tank Combined with a Food Waste Disposer System. A Case Study of Household Food Waste in Thailand. Environ. Prot. Eng. 2017, 43, 93–108. [Google Scholar] [CrossRef]
- Fazzino, F. A Novel Integrated Treatment for Mature Landfill Leachate via Active Filtration and Anaerobic Digestion. Ph.D. Thesis, University of Messina, Messina, Italy, 2021. [Google Scholar]
- Madigou, C.; Lê Cao, K.A.; Bureau, C.; Mazéas, L.; Déjean, S.; Chapleur, O. Ecological Consequences of Abrupt Temperature Changes in Anaerobic Digesters. Chem. Eng. J. 2019, 361, 266–277. [Google Scholar] [CrossRef]
- Gannoun, H.; Khelifi, E.; Bouallagui, H.; Touhami, Y.; Hamdi, M. Ecological Clarification of Cheese Whey Prior to Anaerobic Digestion in Upflow Anaerobic Filter. Bioresour. Technol. 2008, 99, 6105–6111. [Google Scholar] [CrossRef] [PubMed]
- Haridas, A.; Suresh, S.; Chitra, K.R.; Manilal, V.B. The Buoyant Filter Bioreactor: A High-Rate Anaerobic Reactor for Complex Wastewater—Process Dynamics with Dairy Effluent. Water Res. 2005, 39, 993–1004. [Google Scholar] [CrossRef] [PubMed]
- Borja, R.; Banks, C.J. Response of an Anaerobic Fluidized Bed Reactor Treating Ice-Cream Wastewater to Organic, Hydraulic, Temperature and PH Shocks. J. Biotechnol. 1995, 39, 251–259. [Google Scholar] [CrossRef]
- Rajesh Banu, J.; Anandan, S.; Kaliappan, S.; Yeom, I.T. Treatment of Dairy Wastewater Using Anaerobic and Solar Photocatalytic Methods. Sol. Energy 2008, 82, 812–819. [Google Scholar] [CrossRef]
- Malaspina, F.; Cellamare, C.M.; Stante, L.; Tilche, A. Anaerobic Treatment of Cheese Whey with a Downflow-Upflow Hybrid Reactor. Bioresour. Technol. 1996, 55, 131–139. [Google Scholar] [CrossRef]
- Singh, B.; Kovács, K.L.; Bagi, Z.; Nyári, J.; Szepesi, G.L.; Petrik, M.; Siménfalvi, Z.; Szamosi, Z. Enhancing Efficiency of Anaerobic Digestion by Optimization of Mixing Regimes Using Helical Ribbon Impeller. Ferment. 2021, 7, 251. [Google Scholar] [CrossRef]
- Stronach, S.M.; Rudd, T.; Lester, J.N. Anaerobic Digestion Processes in Industrial Wastewater Treatment—Google Książki; Springer Science & Business Media: Berlin/Heidelberg, Germany, 2012; Volume 2. [Google Scholar]
- Wang, H.; Larson, R.A.; Borchardt, M.; Spencer, S. Effect of Mixing Duration on Biogas Production and Methanogen Distribution in an Anaerobic Digester. Environ. Technol. 2019, 42, 93–99. [Google Scholar] [CrossRef]
- Singh, R.; Pareek, N.; Kumar, R.; Vivekanand, V. Anaerobic Biodigesters for the Treatment of High-Strength Wastewater. In Anaerobic Biodigesters for Human Waste Treatment; Springer: Singapore, 2022; pp. 75–94. [Google Scholar] [CrossRef]
- Mahat, S.B.; Omar, R.; Che Man, H.; Mohamad Idris, A.I.; Mustapa Kamal, S.M.; Idris, A.; Shreeshivadasan, C.; Jamali, N.S.; Abdullah, L.C. Performance of Dynamic Anaerobic Membrane Bioreactor (DAnMBR) with Phase Separation in Treating High Strength Food Processing Wastewater. J. Environ. Chem. Eng. 2021, 9, 105245. [Google Scholar] [CrossRef]
- Shahid, M.A.; Maqbool, N.; Khan, S.J. An Integrated Investigation on Anaerobic Membrane-Based Thickening of Fecal Sludge and the Role of Extracellular Polymeric Substances (EPS) in Solid-Liquid Separation. J. Environ. Manag. 2022, 305, 114350. [Google Scholar] [CrossRef]
- Stazi, V.; Tomei, M.C. Enhancing Anaerobic Treatment of Domestic Wastewater: State of the Art, Innovative Technologies and Future Perspectives. Sci. Total Environ. 2018, 635, 78–91. [Google Scholar] [CrossRef]
- Zhang, W.; Lang, Q.; Pan, Z.; Jiang, Y.; Liebetrau, J.; Nelles, M.; Dong, H.; Dong, R. Performance Evaluation of a Novel Anaerobic Digestion Operation Process for Treating High-Solids Content Chicken Manure: Effect of Reduction of the Hydraulic Retention Time at a Constant Organic Loading Rate. Waste Manag. 2017, 64, 340–347. [Google Scholar] [CrossRef] [PubMed]
- Kariyama, I.D.; Zhai, X.; Wu, B. Influence of Mixing on Anaerobic Digestion Efficiency in Stirred Tank Digesters: A Review. Water Res. 2018, 143, 503–517. [Google Scholar] [CrossRef] [PubMed]
- Induchoodan, T.G.; Haq, I.; Kalamdhad, A.S. Factors Affecting Anaerobic Digestion for Biogas Production: A Review. In Advanced Organic Waste Management Sustainable Practices and Approaches; Elsevier: Amsterdam, The Netherlands, 2022; pp. 223–233. [Google Scholar] [CrossRef]
- Mahmood, Z.; Cheng, H.; Tian, M. A Critical Review on Advanced Anaerobic Membrane Bioreactors (AnMBRs) for Wastewater Treatment: Advanced Membrane Materials and Energy Demand. Environ. Sci. Water Res. Technol. 2022, 8, 2126–2144. [Google Scholar] [CrossRef]
- Uri-Carreño, N.; Nielsen, P.H.; Gernaey, K.V.; Flores-Alsina, X. Long-Term Operation Assessment of a Full-Scale Membrane-Aerated Biofilm Reactor under Nordic Conditions. Sci. Total Environ. 2021, 779, 146366. [Google Scholar] [CrossRef]
- Jo, Y.; Rhee, C.; Choi, H.; Shin, J.; Shin, S.G.; Lee, C. Long-Term Effectiveness of Bioaugmentation with Rumen Culture in Continuous Anaerobic Digestion of Food and Vegetable Wastes under Feed Composition Fluctuations. Bioresour. Technol. 2021, 338, 125500. [Google Scholar] [CrossRef]
- Zhu, X.; Yellezuome, D.; Liu, R.; Wang, Z.; Liu, X. Effects of Co-Digestion of Food Waste, Corn Straw and Chicken Manure in Two-Stage Anaerobic Digestion on Trace Element Bioavailability and Microbial Community Composition. Bioresour. Technol. 2022, 346, 126625. [Google Scholar] [CrossRef]
- Braga Nan, L.; Trably, E.; Santa-Catalina, G.; Bernet, N.; Delgenès, J.P.; Escudié, R. Biomethanation Processes: New Insights on the Effect of a High H2partial Pressure on Microbial Communities. Biotechnol. Biofuels 2020, 13, 1–17. [Google Scholar] [CrossRef]
- Rafrafi, Y.; Laguillaumie, L.; Dumas, C. Biological Methanation of H2 and CO2 with Mixed Cultures: Current Advances, Hurdles and Challenges. Waste Biomass Valorization 2021, 12, 5259–5282. [Google Scholar] [CrossRef]
- Amin, F.R.; Khalid, H.; El-Mashad, H.M.; Chen, C.; Liu, G.; Zhang, R. Functions of Bacteria and Archaea Participating in the Bioconversion of Organic Waste for Methane Production. Sci. Total Environ. 2021, 763, 143007. [Google Scholar] [CrossRef]
- Maurus, K.; Kremmeter, N.; Ahmed, S.; Kazda, M. High-Resolution Monitoring of VFA Dynamics Reveals Process Failure and Exponential Decrease of Biogas Production. Biomass Convers. Biorefinery 2021, 1, 1–11. [Google Scholar] [CrossRef]
- Arif, S.; Liaquat, R.; Adil, M. Applications of Materials as Additives in Anaerobic Digestion Technology. Renew. Sustain. Energy Rev. 2018, 97, 354–366. [Google Scholar] [CrossRef]
- Ghanavati, H. Biogas Production Systems: Operation, Process Control, and Troubleshooting. Biogas. Biofuel Biorefinery Technol. 2018, 6, 199–219. [Google Scholar] [CrossRef]
- Aboudi, K.; Álvarez-Gallego, C.J.; Romero-García, L.I. Evaluation of Methane Generation and Process Stability from Anaerobic Co-Digestion of Sugar Beet by-Product and Cow Manure. J. Biosci. Bioeng. 2016, 121, 566–572. [Google Scholar] [CrossRef]
- Oliveira, J.T.; de Sousa, M.C.; Martins, I.A.; de Sena, L.M.G.; Nogueira, T.R.; Vidal, C.B.; Neto, E.F.A.; Romero, F.B.; Campos, O.S.; do Nascimento, R.F. Electrocoagulation/Oxidation/Flotation by Direct Pulsed Current Applied to the Removal of Antibiotics from Brazilian WWTP Effluents. Electrochim. Acta 2021, 388, 138499. [Google Scholar] [CrossRef]
- Angelidaki, I.; Chen, X.; Cui, J.; Kaparaju, P.; Ellegaard, L. Thermophilic Anaerobic Digestion of Source-Sorted Organic Fraction of Household Municipal Solid Waste: Start-up Procedure for Continuously Stirred Tank Reactor. Water Res. 2006, 40, 2621–2628. [Google Scholar] [CrossRef]
- Filer, J.; Ding, H.H.; Chang, S. Biochemical Methane Potential (BMP) Assay Method for Anaerobic Digestion Research. Water 2019, 11, 921. [Google Scholar] [CrossRef]
- Sasidhar, K.B.; Kumar, P.S.; Xiao, L. A Critical Review on the Two-Stage Biohythane Production and Its Viability as a Renewable Fuel. Fuel 2022, 317, 123449. [Google Scholar] [CrossRef]
- Brito, G.C.B.; Lange, L.C.; Santos, V.L.; Amaral, M.C.S.; Moravia, W.G. Long-Term Evaluation of Membrane Bioreactor Inoculated with Commercial Baker’s Yeast Treating Landfill Leachate: Pollutant Removal, Microorganism Dynamic and Membrane Fouling. Water Sci. Technol. 2019, 79, 398–410. [Google Scholar] [CrossRef]
- Chung, C.M.; Yamamoto, K.; Cho, K. A Submerged Membrane Bioreactor under Unprecedentedly Short Hydraulic Retention Time Enabled by Non-Woven Fabric Pre-Filtration and Electrochemical Membrane Cleaning. J. Memb. Sci. 2019, 592, 117355. [Google Scholar] [CrossRef]
- Blansaer, N.; Alloul, A.; Verstraete, W.; Vlaeminck, S.E.; Smets, B.F. Aggregation of Purple Bacteria in an Upflow Photobioreactor to Facilitate Solid/Liquid Separation: Impact of Organic Loading Rate, Hydraulic Retention Time and Water Composition. Bioresour. Technol. 2022, 348, 126806. [Google Scholar] [CrossRef] [PubMed]
- Garber, A.; Hastie, P.; Murray, J.A. Factors Influencing Equine Gut Microbiota: Current Knowledge. J. Equine Vet. Sci. 2020, 88, 102943. [Google Scholar] [CrossRef] [PubMed]
- Lei, Y.; Sun, D.; Dang, Y.; Feng, X.; Huo, D.; Liu, C.; Zheng, K.; Holmes, D.E. Metagenomic Analysis Reveals That Activated Carbon Aids Anaerobic Digestion of Raw Incineration Leachate by Promoting Direct Interspecies Electron Transfer. Water Res. 2019, 161, 570–580. [Google Scholar] [CrossRef]
- Zhang, L.; Gong, X.; Xu, R.; Guo, K.; Wang, L.; Zhou, Y. Responses of Mesophilic Anaerobic Sludge Microbiota to Thermophilic Conditions: Implications for Start-up and Operation of Thermophilic THP-AD Systems. Water Res. 2022, 216, 118332. [Google Scholar] [CrossRef] [PubMed]
- Behera, B.; Venkata Supraja, K.; Paramasivan, B. Integrated Microalgal Biorefinery for the Production and Application of Biostimulants in Circular Bioeconomy. Bioresour. Technol. 2021, 339, 125588. [Google Scholar] [CrossRef] [PubMed]
- Rashama, C.; Ijoma, G.N.; Matambo, T.S. The Effects of Phytochemicals on Methanogenesis: Insights from Ruminant Digestion and Implications for Industrial Biogas Digesters Management. Phytochem. Rev. 2021, 20, 1245–1271. [Google Scholar] [CrossRef]
- Raut, M.P.; Pandhal, J.; Wright, P.C. Effective Pretreatment of Lignocellulosic Co-Substrates Using Barley Straw-Adapted Microbial Consortia to Enhanced Biomethanation by Anaerobic Digestion. Bioresour. Technol. 2021, 321, 124437. [Google Scholar] [CrossRef] [PubMed]
- Alalawy, A.I.; Guo, Z.; Almutairi, F.M.; El Rabey, H.A.; Al-Duais, M.A.; Mohammed, G.M.; Almasoudi, F.M.; Alotaibi, M.A.; Salama, E.S.; Abomohra, A.E.F.; et al. Explication of Structural Variations in the Bacterial and Archaeal Community of Anaerobic Digestion Sludges: An Insight through Metagenomics. J. Environ. Chem. Eng. 2021, 9, 105910. [Google Scholar] [CrossRef]
- Boonapatcharoen, N.; Meepian, K.; Chaiprasert, P.; Techkarnjanaruk, S. Molecular Monitoring of Microbial Population Dynamics during Operational Periods of Anaerobic Hybrid Reactor Treating Cassava Starch Wastewater. Microb. Ecol. 2007, 54, 21–30. [Google Scholar] [CrossRef]
- Calli, B.; Mertoglu, B.; Inanc, B.; Yenigun, O. Community Changes During Start-up in Methanogenic Bioreactors Exposed to Increasing Levels of Ammonia. Environ. Technol. 2010, 26, 85–91. [Google Scholar] [CrossRef]
- Lange, M.; Ahring, B.K. A Comprehensive Study into the Molecular Methodology and Molecular Biology of Methanogenic Archaea. FEMS Microbiol. Rev. 2001, 25, 553–571. [Google Scholar] [CrossRef] [PubMed]
- Crone, B.C. Reductions of Mass Transfer Resistance in Membrane Systems Used for Dissolved Methane Recovery during Anaerobic Treatment of Domestic Wastewater. Ph.D. Thesis, University of Cincinnati, Cincinnati, OH, USA, 2020. [Google Scholar]
- Jegede, A.O.; Zeeman, G.; Bruning, H. A Review of Mixing, Design and Loading Conditions in Household Anaerobic Digesters. Crit. Rev. Environ. Sci. Technol. 2019, 49, 2117–2153. [Google Scholar] [CrossRef]
- Hameed, S.A.; Riffat, R.; Li, B.; Naz, I.; Badshah, M.; Ahmed, S.; Ali, N. Microbial Population Dynamics in Temperature-Phased Anaerobic Digestion of Municipal Wastewater Sludge. J. Chem. Technol. Biotechnol. 2019, 94, 1816–1831. [Google Scholar] [CrossRef]
- Sun, M.; Xiao, K.; Zhu, Y.; Ou, B.; Yu, W.; Liang, S.; Hou, H.; Yuan, S.; Gan, F.; Mi, R.; et al. Deciphering the Role of Microplastic Size on Anaerobic Sludge Digestion: Changes of Dissolved Organic Matter, Leaching Compounds and Microbial Community. Environ. Res. 2022, 214, 114032. [Google Scholar] [CrossRef]
- Lopes, T.A.S.; Queiroz, L.M.; Torres, E.A.; Kiperstok, A. Low Complexity Wastewater Treatment Process in Developing Countries: A LCA Approach to Evaluate Environmental Gains. Sci. Total Environ. 2020, 720, 137593. [Google Scholar] [CrossRef]
- Wojcieszak, D.; Przybył, J.; Mazurkiewicz, J.; Janczak, D.; Zaborowicz, M. Section Modern Energy and Power Sources increasing the energy value of corn stover used in biogas plant without pre-processing. Int. Multidiscip. Sci. GeoConference SGEM 2018, 18, 495–501. [Google Scholar] [CrossRef]
- Chollom, M.N.; Rathilal, S.; Swalaha, F.M.; Bakare, B.F.; Tetteh, E.K. Comparison of Response Surface Methods for the Optimization of an Upflow Anaerobic Sludge Blanket for the Treatment of Slaughterhouse Wastewater. Environ. Eng. Res. 2020, 25, 114–122. [Google Scholar] [CrossRef]
- Khan, M.A.; Ngo, H.H.; Guo, W.; Liu, Y.; Nghiem, L.D.; Chang, S.W.; Nguyen, D.D.; Zhang, S.; Luo, G.; Jia, H. Optimization of Hydraulic Retention Time and Organic Loading Rate for Volatile Fatty Acid Production from Low Strength Wastewater in an Anaerobic Membrane Bioreactor. Bioresour. Technol. 2019, 271, 100–108. [Google Scholar] [CrossRef]
- Zhou, P.; Meshref, M.N.A.; Dhar, B.R. Optimization of Thermal Hydrolysis Process for Enhancing Anaerobic Digestion in a Wastewater Treatment Plant with Existing Primary Sludge Fermentation. Bioresour. Technol. 2021, 321, 124498. [Google Scholar] [CrossRef]
- Yan, P.; Shi, H.X.; Chen, Y.P.; Gao, X.; Fang, F.; Guo, J.S. Optimization of Recovery and Utilization Pathway of Chemical Energy from Wastewater Pollutants by a Net-Zero Energy Wastewater Treatment Model. Renew. Sustain. Energy Rev. 2020, 133, 110160. [Google Scholar] [CrossRef]
- Masłon, A.; Czarnota, J.; Szaja, A.; Szulzyk-Cieplak, J.; Łagód, G. The Enhancement of Energy Efficiency in a Wastewater Treatment Plant through Sustainable Biogas Use: Case Study from Poland. Energies 2020, 13, 6056. [Google Scholar] [CrossRef]
- Thongsai, A.; Phuttaro, C.; Saritpongteeraka, K.; Charnnok, B.; Bae, J.; Noophan, P.L.; Chaiprapat, S. Efficacy of Anaerobic Membrane Bioreactor under Intermittent Liquid Circulation and Its Potential Energy Saving against a Conventional Activated Sludge for Industrial Wastewater Treatment. Energy 2022, 244, 122556. [Google Scholar] [CrossRef]
- Sodri, A.; Septriana, F.E. Biogas Power Generation from Palm Oil Mill Effluent (POME): Techno-Economic and Environmental Impact Evaluation. Energies 2022, 15, 7265. [Google Scholar] [CrossRef]
- Calicioglu, O.; Femeena, P.V.; Mutel, C.L.; Sills, D.L.; Richard, T.L.; Brennan, R.A. Techno-Economic Analysis and Life Cycle Assessment of an Integrated Wastewater-Derived Duckweed Biorefinery. ACS Sustain. Chem. Eng. 2021, 9, 9395–9408. [Google Scholar] [CrossRef]
- Cartes, J.; Neumann, P.; Hospido, A.; Vidal, G. Life Cycle Assessment of Management Alternatives for Sludge from Sewage Treatment Plants in Chile: Does Advanced Anaerobic Digestion Improve Environmental Performance Compared to Current Practices? J. Mater. Cycles Waste Manag. 2018, 20, 1530–1540. [Google Scholar] [CrossRef]
- Tabesh, M.; Feizee Masooleh, M.; Roghani, B.; Motevallian, S.S. Life-Cycle Assessment (LCA) of Wastewater Treatment Plants: A Case Study of Tehran, Iran. Int. J. Civ. Eng. 2019, 17, 1155–1169. [Google Scholar] [CrossRef]
- Chuka-ogwude, D.; Ogbonna, J.; Moheimani, N.R. A Review on Microalgal Culture to Treat Anaerobic Digestate Food Waste Effluent. Algal Res. 2020, 47, 101841. [Google Scholar] [CrossRef]
- Rajesh Banu, J.; Godvin Sharmila, V.; Kavitha, S.; Rajajothi, R.; Gunasekaran, M.; Angappane, S.; Kumar, G. TiO2—Chitosan Thin Film Induced Solar Photocatalytic Deflocculation of Sludge for Profitable Bacterial Pretreatment and Biofuel Production. Fuel 2020, 273, 117741. [Google Scholar] [CrossRef]
- Mistretta, M.; Gulotta, T.M.; Caputo, P.; Cellura, M. Bioenergy from Anaerobic Digestion Plants: Energy and Environmental Assessment of a Wide Sample of Italian Plants. Sci. Total Environ. 2022, 843, 157012. [Google Scholar] [CrossRef]
- Lisbona, P.; Pascual, S.; Pérez, V. Evaluation of Synergies of a Biomass Power Plant and a Biogas Station with a Carbon Capture System. Energies 2021, 14, 908. [Google Scholar] [CrossRef]
- Tauber, J.; Ramsbacher, A.; Svardal, K.; Krampe, J.; Steinmetz, H.; Schafer, M.; Wiese, J. Energetic Potential for Biological Methanation in Anaerobic Sewage Sludge Digesters in Austria. Energies 2021, 14, 6618. [Google Scholar] [CrossRef]
- Iglesias, R.; Muñoz, R.; Polanco, M.; Díaz, I.; Susmozas, A.; Moreno, A.D.; Guirado, M.; Carreras, N.; Ballesteros, M. Biogas from Anaerobic Digestion as an Energy Vector: Current Upgrading Development. Energies 2021, 14, 2742. [Google Scholar] [CrossRef]
- Gunes, B.; Stokes, J.; Davis, P.; Connolly, C.; Lawler, J. Pre-Treatments to Enhance Biogas Yield and Quality from Anaerobic Digestion of Whiskey Distillery and Brewery Wastes: A Review. Renew. Sustain. Energy Rev. 2019, 113, 109281. [Google Scholar] [CrossRef]
- Seghezzo, L.; Zeeman, G.; Van Lier, J.B.; Hamelers, H.V.M.; Lettinga, G. A Review: The Anaerobic Treatment of Sewage in UASB and EGSB Reactors. Bioresour. Technol. 1998, 65, 175–190. [Google Scholar] [CrossRef]
- Chan, Y.J.; Chong, M.F.; Law, C.L.; Hassell, D.G. A Review on Anaerobic–Aerobic Treatment of Industrial and Municipal Wastewater. Chem. Eng. J. 2009, 155, 1–18. [Google Scholar] [CrossRef]
- Işik, M.; Sponza, D.T. Anaerobic/Aerobic Sequential Treatment of a Cotton Textile Mill Wastewater. J. Chem. Technol. Biotechnol. 2004, 79, 1268–1274. [Google Scholar] [CrossRef]
- Sklyar, V.; Epov, A.; Gladchenko, M.; Danilovich, D.; Kalyuzhnyi, S. Combined Biologic (Anaerobic-Aerobic) and Chemical Treatment of Starch Industry Wastewater. Appl. Biochem. Biotechnol. 2003, 109, 253–262. [Google Scholar] [CrossRef]
- Wu, J.; Kong, Z.; Luo, Z.; Qin, Y.; Rong, C.; Wang, T.; Hanaoka, T.; Sakemi, S.; Ito, M.; Kobayashi, S.; et al. A Successful Start-up of an Anaerobic Membrane Bioreactor (AnMBR) Coupled Mainstream Partial Nitritation-Anammox (PN/A) System: A Pilot-Scale Study on in-Situ NOB Elimination, AnAOB Growth Kinetics, and Mainstream Treatment Performance. Water Res. 2021, 207, 117783. [Google Scholar] [CrossRef]
- Maaz, M.; Yasin, M.; Aslam, M.; Kumar, G.; Atabani, A.E.; Idrees, M.; Anjum, F.; Jamil, F.; Ahmad, R.; Khan, A.L.; et al. Anaerobic Membrane Bioreactors for Wastewater Treatment: Novel Configurations, Fouling Control and Energy Considerations. Bioresour. Technol. 2019, 283, 358–372. [Google Scholar] [CrossRef]
- Chan, P.C.; Lu, Q.; de Toledo, R.A.; Gu, J.D.; Shim, H. Improved Anaerobic Co-Digestion of Food Waste and Domestic Wastewater by Copper Supplementation—Microbial Community Change and Enhanced Effluent Quality. Sci. Total Environ. 2019, 670, 337–344. [Google Scholar] [CrossRef]
- De Bernardini, N.; Basile, A.; Zampieri, G.; Kovalovszki, A.; De, B.; Diaz, D.; Offer, E.; Wongfaed, N.; Angelidaki, I.; Kougias, P.G.; et al. Integrating Metagenomic Binning with Flux Balance Analysis to Unravel Syntrophies in Anaerobic CO2 Methanation. Microbiome 2022, 10, 1–18. [Google Scholar] [CrossRef] [PubMed]
- Borrel, G.; Parisot, N.; Harris, H.M.B.; Peyretaillade, E.; Gaci, N.; Tottey, W.; Bardot, O.; Raymann, K.; Gribaldo, S.; Peyret, P.; et al. Comparative Genomics Highlights the Unique Biology of Methanomassiliicoccales, a Thermoplasmatales-Related Seventh Order of Methanogenic Archaea That Encodes Pyrrolysine. BMC Genom. 2014, 15, 1–24. [Google Scholar] [CrossRef] [PubMed]
- Meegoda, J.N.; Li, B.; Patel, K.; Wang, L.B. A Review of the Processes, Parameters, and Optimization of Anaerobic Digestion. Int. J. Environ. Res. Public Heal. 2018, 15, 2224. [Google Scholar] [CrossRef] [PubMed]
- Callejas, C.; Fernández, A.; Passeggi, M.; Wenzel, J.; Bovio, P.; Borzacconi, L.; Etchebehere, C. Microbiota Adaptation after an Alkaline PH Perturbation in a Full-Scale UASB Anaerobic Reactor Treating Dairy Wastewater. Bioprocess. Biosyst. Eng. 2019, 42, 2035–2046. [Google Scholar] [CrossRef]
- Abuabdou, S.M.A.; Ahmad, W.; Aun, N.C.; Bashir, M.J.K. A Review of Anaerobic Membrane Bioreactors (AnMBR) for the Treatment of Highly Contaminated Landfill Leachate and Biogas Production: Effectiveness, Limitations and Future Perspectives. J. Clean. Prod. 2020, 255, 120215. [Google Scholar] [CrossRef]
- Ma, H.; Guo, Y.; Qin, Y.; Li, Y.Y. Nutrient Recovery Technologies Integrated with Energy Recovery by Waste Biomass Anaerobic Digestion. Bioresour. Technol. 2018, 269, 520–531. [Google Scholar] [CrossRef]
- Rout, P.R.; Shahid, M.K.; Dash, R.R.; Bhunia, P.; Liu, D.; Varjani, S.; Zhang, T.C.; Surampalli, R.Y. Nutrient Removal from Domestic Wastewater: A Comprehensive Review on Conventional and Advanced Technologies. J. Environ. Manage. 2021, 296, 113246. [Google Scholar] [CrossRef]
- Aziz, A.; Basheer, F.; Sengar, A.; Irfanullah; Khan, S.U.; Farooqi, I.H. Biological Wastewater Treatment (Anaerobic-Aerobic) Technologies for Safe Discharge of Treated Slaughterhouse and Meat Processing Wastewater. Sci. Total Environ. 2019, 686, 681–708. [Google Scholar] [CrossRef]
- Ellacuriaga, M.; García-Cascallana, J.; Gómez, X. Biogas Production from Organic Wastes: Integrating Concepts of Circular Economy. Fuels 2021, 2, 9. [Google Scholar] [CrossRef]
- Selvaraj, P.S.; Periasamy, K.; Suganya, K.; Ramadass, K.; Muthusamy, S.; Ramesh, P.; Bush, R.; Vincent, S.G.T.; Palanisami, T. Novel Resources Recovery from Anaerobic Digestates: Current Trends and Future Perspectives. Crit. Rev. Environ. Sci. Technol. 2021, 52, 1915–1999. [Google Scholar] [CrossRef]
- Hasan, M.N.; Altaf, M.M.; Khan, N.A.; Khan, A.H.; Khan, A.A.; Ahmed, S.; Kumar, P.S.; Naushad, M.; Rajapaksha, A.U.; Iqbal, J.; et al. Recent Technologies for Nutrient Removal and Recovery from Wastewaters: A Review. Chemosphere 2021, 277, 130328. [Google Scholar] [CrossRef]
- Kehrein, P.; Van Loosdrecht, M.; Osseweijer, P.; Garfí, M.; Dewulf, J.; Posada, J. A Critical Review of Resource Recovery from Municipal Wastewater Treatment Plants—Market Supply Potentials, Technologies and Bottlenecks. Environ. Sci. Water Res. Technol. 2020, 6, 877–910. [Google Scholar] [CrossRef]
- Dębowski, M.; Zieliński, M. Technological Effectiveness of Sugar-Industry Effluent Methane Fermentation in a Fluidized Active Filling Reactor (FAF-R). Energies 2020, 13, 6626. [Google Scholar] [CrossRef]
- Kumar, M.; Gogoi, A.; Mukherjee, S. Metal Removal, Partitioning and Phase Distributions in the Wastewater and Sludge: Performance Evaluation of Conventional, Upflow Anaerobic Sludge Blanket and Downflow Hanging Sponge Treatment Systems. J. Clean. Prod. 2020, 249, 119426. [Google Scholar] [CrossRef]
- Montalvo, S.; Huiliñir, C.; Borja, R.; Sánchez, E.; Herrmann, C. Application of Zeolites for Biological Treatment Processes of Solid Wastes and Wastewaters—Review. Bioresour. Technol. 2020, 301, 122808. [Google Scholar] [CrossRef] [PubMed]
- Cheng, D.; Ngo, H.H.; Guo, W.; Chang, S.W.; Nguyen, D.D.; Liu, Y.; Shan, X.; Nghiem, L.D.; Nguyen, L.N. Removal Process of Antibiotics during Anaerobic Treatment of Swine Wastewater. Bioresour. Technol. 2020, 300, 122707. [Google Scholar] [CrossRef] [PubMed]
- Shi, X.; Zuo, J.; Zhang, M.; Wang, Y.; Yu, H.; Li, B. Enhanced Biogas Production and in Situ Ammonia Recovery from Food Waste Using a Gas-Membrane Absorption Anaerobic Reactor. Bioresour. Technol. 2019, 292, 121864. [Google Scholar] [CrossRef]
- Liu, X.; Wu, Y.; Xu, Q.; Du, M.; Wang, D.; Yang, Q.; Yang, G.; Chen, H.; Zeng, T.; Liu, Y.; et al. Mechanistic Insights into the Effect of Poly Ferric Sulfate on Anaerobic Digestion of Waste Activated Sludge. Water Res. 2021, 189, 116645. [Google Scholar] [CrossRef]
- He, D.; Xiao, J.; Wang, D.; Liu, X.; Fu, Q.; Li, Y.; Du, M.; Yang, Q.; Liu, Y.; Wang, Q.; et al. Digestion Liquid Based Alkaline Pretreatment of Waste Activated Sludge Promotes Methane Production from Anaerobic Digestion. Water Res. 2021, 199, 117198. [Google Scholar] [CrossRef]
- Barreiro-Vescovo, S.; Barbera, E.; Bertucco, A.; Sforza, E. Integration of Microalgae Cultivation in a Biogas Production Process from Organic Municipal Solid Waste: From Laboratory to Pilot Scale. ChemEngineering 2020, 4, 25. [Google Scholar] [CrossRef]
- Ferreira, L.O.; Astals, S.; Passos, F. Anaerobic Co-Digestion of Food Waste and Microalgae in an Integrated Treatment Plant. J. Chem. Technol. Biotechnol. 2022, 97, 1545–1554. [Google Scholar] [CrossRef]
- Agrawal, K.; Bhatt, A.; Bhardwaj, N.; Kumar, B.; Verma, P. Integrated Approach for the Treatment of Industrial Effluent by Physico-Chemical and Microbiological Process for Sustainable Environment. In Combined Application of Physico-Chemical & Microbiological Processes for Industrial Effluent Treatment Plant; Springer: Singapore, 2020; pp. 119–143. [Google Scholar] [CrossRef]
- Duan, N.; Zhang, D.; Lin, C.; Zhang, Y.; Zhao, L.; Liu, H.; Liu, Z. Effect of Organic Loading Rate on Anaerobic Digestion of Pig Manure: Methane Production, Mass Flow, Reactor Scale and Heating Scenarios. J. Environ. Manag. 2019, 231, 646–652. [Google Scholar] [CrossRef] [PubMed]
- Fu, S.; Angelidaki, I.; Zhang, Y. In Situ Biogas Upgrading by CO2-to-CH4 Bioconversion. Trends Biotechnol. 2021, 39, 336–347. [Google Scholar] [CrossRef] [PubMed]
- Ma, C.; Liu, J.; Ye, M.; Zou, L.; Qian, G.; Li, Y.Y. Towards Utmost Bioenergy Conversion Efficiency of Food Waste: Pretreatment, Co-Digestion, and Reactor Type. Renew. Sustain. Energy Rev. 2018, 90, 700–709. [Google Scholar] [CrossRef]
- Mao, C.; Feng, Y.; Wang, X.; Ren, G. Review on Research Achievements of Biogas from Anaerobic Digestion. Renew. Sustain. Energy Rev. 2015, 45, 540–555. [Google Scholar] [CrossRef]
- Van, D.P.; Fujiwara, T.; Tho, B.L.; Toan, P.P.S.; Minh, G.H. A Review of Anaerobic Digestion Systems for Biodegradable Waste: Configurations, Operating Parameters, and Current Trends. Environ. Eng. Res. 2020, 25, 1–17. [Google Scholar] [CrossRef]
- Holohan, B.C.; Duarte, M.S.; Szabo-Corbacho, M.A.; Cavaleiro, A.J.; Salvador, A.F.; Pereira, M.A.; Ziels, R.M.; Frijters, C.T.M.J.; Pacheco-Ruiz, S.; Carballa, M.; et al. Principles, Advances, and Perspectives of Anaerobic Digestion of Lipids. Environ. Sci. Technol. 2022, 56, 4749–4775. [Google Scholar] [CrossRef]
- Bianco, F.; Race, M.; Forino, V.; Pacheco-Ruiz, S.; Rene, E.R. Bioreactors for Wastewater to Energy Conversion: From Pilot to Full Scale Experiences. Waste Biorefinery Value Addit. Resour. Util. 2021, 16, 103–124. [Google Scholar] [CrossRef]
- Wu, D.; Peng, X.; Li, L.; Yang, P.; Peng, Y.; Liu, H.; Wang, X. Commercial Biogas Plants: Review on Operational Parameters and Guide for Performance Optimization. Fuel 2021, 303, 121282. [Google Scholar] [CrossRef]
- Rajeshwari, K.V.; Balakrishnan, M.; Kansal, A.; Lata, K.; Kishore, V.V.N. State-of-the-Art of Anaerobic Digestion Technology for Industrial Wastewater Treatment. Renew. Sustain. Energy Rev. 2000, 4, 135–156. [Google Scholar] [CrossRef]
- Cayetano, R.D.A.; Kim, G.B.; Park, J.; Yang, Y.H.; Jeon, B.H.; Jang, M.; Kim, S.H. Biofilm Formation as a Method of Improved Treatment during Anaerobic Digestion of Organic Matter for Biogas Recovery. Bioresour. Technol. 2022, 344, 126309. [Google Scholar] [CrossRef] [PubMed]
- Meena, M.; Sonigra, P.; Yadav, G.; Barupal, T. Wastewater Treatment Techniques: An Introduction. In Removal of emerging Contaminants through Microbial Processes; Springer: Singapore, 2021; pp. 161–182. [Google Scholar] [CrossRef]
- de Aquino, S.; Fuess, L.T.; Pires, E.C. Media Arrangement Impacts Cell Growth in Anaerobic Fixed-Bed Reactors Treating Sugarcane Vinasse: Structured vs. Randomic Biomass Immobilization. Bioresour. Technol. 2017, 235, 219–228. [Google Scholar] [CrossRef] [PubMed]
- Fuess, L.T.; Kiyuna, L.S.M.; Ferraz, A.D.N.; Persinoti, G.F.; Squina, F.M.; Garcia, M.L.; Zaiat, M. Thermophilic Two-Phase Anaerobic Digestion Using an Innovative Fixed-Bed Reactor for Enhanced Organic Matter Removal and Bioenergy Recovery from Sugarcane Vinasse. Appl. Energy 2017, 189, 480–491. [Google Scholar] [CrossRef]
- Meng, X.; Yuan, X.; Ren, J.; Wang, X.; Zhu, W.; Cui, Z. Methane Production and Characteristics of the Microbial Community in a Two-Stage Fixed-Bed Anaerobic Reactor Using Molasses. Bioresour. Technol. 2017, 241, 1050–1059. [Google Scholar] [CrossRef]
- Dereli, R.K.; van der Zee, F.P.; Ozturk, I.; van Lier, J.B. Treatment of Cheese Whey by a Cross-Flow Anaerobic Membrane Bioreactor: Biological and Filtration Performance. Environ. Res. 2019, 168, 109–117. [Google Scholar] [CrossRef]
- Guo, W.; Ngo, H.H.; Chen, C.; Pandey, A.; Tung, K.L.; Lee, D.J. Anaerobic Membrane Bioreactors for Future Green Bioprocesses. In Green Technologies for Sustainable Water Management; ASCE Press: Baltimore, MD, USA, 2016; pp. 867–902. [Google Scholar] [CrossRef]
- Jain, M. Anaerobic Membrane Bioreactor as Highly Efficient and Reliable Technology for Wastewater Treatment—A Review. Adv. Chem. Eng. Sci. 2018, 08, 82–100. [Google Scholar] [CrossRef]
- Upadhyay, A.; Pareek, N.; Vivekanand, V. Characteristics, parameters, and process design of anaerobic digesters. In Biomethane; Apple Academic Press: Jersey City, NJ, USA, 2022; pp. 13–42. [Google Scholar] [CrossRef]
- Lin, L.; Luo, Z.; Ishida, K.; Urasaki, K.; Kubota, K.; Li, Y.Y. Fast Formation of Anammox Granules Using a Nitrification-Denitrification Sludge and Transformation of Microbial Community. Water Res. 2022, 221, 118751. [Google Scholar] [CrossRef]
- Najafpour, G.; Najafpour, G.D.; Hashemiyeh, B.A.; Asadi, M.; Ghasemi, M.B. Biological Treatment of Dairy Wastewater in an Upflow Anaerobic Sludge-Fixed Film Bioreactor. J. Agric. Environ. Sci 2008, 4, 251–257. [Google Scholar]
- Del Castillo, A.F.; Garibay, M.V.; Senés-Guerrero, C.; Yebra-Montes, C.; de Anda, J.; Gradilla-Hernández, M.S. Mathematical Modeling of a Domestic Wastewater Treatment System Combining a Septic Tank, an Up Flow Anaerobic Filter, and a Constructed Wetland. Water 2020, 12, 3019. [Google Scholar] [CrossRef]
- Huang, J.; Wu, M.; Chen, J.; Liu, X.; Chen, T.; Wen, Y.; Tang, J.; Xie, Z. Enhanced Azo Dye Removal in a Continuously Operated Up-Flow Anaerobic Filter Packed with Henna Plant Biomass. J. Hazard. Mater. 2015, 299, 158–164. [Google Scholar] [CrossRef]
- Zhou, H.; Xu, G. Integrated Effects of Temperature and COD/N on an up-Flow Anaerobic Filter-Biological Aerated Filter: Performance, Biofilm Characteristics and Microbial Community. Bioresour. Technol. 2019, 293, 122004. [Google Scholar] [CrossRef] [PubMed]
- Ngwenya, N.; Gaszynski, C.; Ikumi, D. A Review of Winery Wastewater Treatment: A Focus on UASB Biotechnology Optimisation and Recovery Strategies. J. Environ. Chem. Eng. 2022, 10, 108172. [Google Scholar] [CrossRef]
- Jiang, M.; Westerholm, M.; Qiao, W.; Wandera, S.M.; Dong, R. High Rate Anaerobic Digestion of Swine Wastewater in an Anaerobic Membrane Bioreactor. Energy 2020, 193, 116783. [Google Scholar] [CrossRef]
- Goddek, S.; Delaide, B.P.L.; Joyce, A.; Wuertz, S.; Jijakli, M.H.; Gross, A.; Eding, E.H.; Bläser, I.; Reuter, M.; Keizer, L.C.P.; et al. Nutrient Mineralization and Organic Matter Reduction Performance of RAS-Based Sludge in Sequential UASB-EGSB Reactors. Aquac. Eng. 2018, 83, 10–19. [Google Scholar] [CrossRef]
- Arora, A.S.; Nawaz, A.; Qyyum, M.A.; Ismail, S.; Aslam, M.; Tawfik, A.; Yun, C.M.; Lee, M. Energy Saving Anammox Technology-Based Nitrogen Removal and Bioenergy Recovery from Wastewater: Inhibition Mechanisms, State-of-the-Art Control Strategies, and Prospects. Renew. Sustain. Energy Rev. 2021, 135, 110126. [Google Scholar] [CrossRef]
- Lee, J.; Kwon, D.; Kim, J. Long-Term Performance Evaluation of Granular Activated Carbon Fluidization and Biogas Sparging in Anaerobic Fluidized Bed Membrane Bioreactor: Membrane Fouling and Micropollutant Removal. Process Saf. Environ. Prot. 2021, 154, 425–432. [Google Scholar] [CrossRef]
- Hu, Y.; Cai, X.; Du, R.; Yang, Y.; Rong, C.; Qin, Y.; Li, Y.Y. A Review on Anaerobic Membrane Bioreactors for Enhanced Valorization of Urban Organic Wastes: Achievements, Limitations, Energy Balance and Future Perspectives. Sci. Total Environ. 2022, 820, 153284. [Google Scholar] [CrossRef] [PubMed]
- Omil, F.; Garrido, J.M.; Arrojo, B.; Méndez, R. Anaerobic Filter Reactor Performance for the Treatment of Complex Dairy Wastewater at Industrial Scale. Water Res. 2003, 37, 4099–4108. [Google Scholar] [CrossRef]
- Méndez, R.; Blázquez, R.; Lorenzo, F.; Lema, J.M. Anaerobic Treatment of Cheese Whey: Start-up and Operation. Water Sci. Technol. 1989, 21, 1857–1860. [Google Scholar] [CrossRef]
- Shahzad, H.M.A.; Khan, S.J.; Zeshan; Jamal, Y.; Habib, Z. Evaluating the Performance of Anaerobic Moving Bed Bioreactor and Upflow Anaerobic Hybrid Reactor for Treating Textile Desizing Wastewater. Biochem. Eng. J. 2021, 174, 108123. [Google Scholar] [CrossRef]
- Fernández del Castillo, A.; Garibay, M.V.; Senés-Guerrero, C.; Orozco-Nunnelly, D.A.; de Anda, J.; Gradilla-Hernández, M.S. A Review of the Sustainability of Anaerobic Reactors Combined with Constructed Wetlands for Decentralized Wastewater Treatment. J. Clean. Prod. 2022, 371, 133428. [Google Scholar] [CrossRef]
- Ramasamy, E.V.; Gajalakshmi, S.; Sanjeevi, R.; Jithesh, M.N.; Abbasi, S.A. Feasibility Studies on the Treatment of Dairy Wastewaters with Upflow Anaerobic Sludge Blanket Reactors. Bioresour. Technol. 2004, 93, 209–212. [Google Scholar] [CrossRef] [PubMed]
- Buntner, D.; Sánchez, A.; Garrido, J.M. Feasibility of Combined UASB and MBR System in Dairy Wastewater Treatment at Ambient Temperatures. Chem. Eng. J. 2013, 230, 475–481. [Google Scholar] [CrossRef]
- Szabo-Corbacho, M.A.; Pacheco-Ruiz, S.; Míguez, D.; Hooijmans, C.M.; García, H.A.; Brdjanovic, D.; van Lier, J.B. Impact of Solids Retention Time on the Biological Performance of an AnMBR Treating Lipid-Rich Synthetic Dairy Wastewater. Environ. Technol. 2019, 42, 597–608. [Google Scholar] [CrossRef]
- Wandera, S.M.; Qiao, W.; Jiang, M.; Gapani, D.E.; Bi, S.; Dong, R. AnMBR as Alternative to Conventional CSTR to Achieve Efficient Methane Production from Thermal Hydrolyzed Sludge at Short HRTs. Energy 2018, 159, 588–598. [Google Scholar] [CrossRef]
- Mucha, Z.; Wójcik, W.; Polus, M. Brief Review of Operation of Anaerobic Wastewater Treatment with Membrane Bioreactors. E3S Web Conf. 2019, 86, 00020. [Google Scholar] [CrossRef]
- Panigrahi, S.; Dubey, B.K. A Critical Review on Operating Parameters and Strategies to Improve the Biogas Yield from Anaerobic Digestion of Organic Fraction of Municipal Solid Waste. Renew. Energy 2019, 143, 779–797. [Google Scholar] [CrossRef]
- Semiyaga, S.; Nakagiri, A.; Niwagaba, C.B.; Manga, M. Application of Anaerobic Digestion in Decentralized Faecal Sludge Treatment Plants. In Anaerobic Biodigesters for Human Waste Treatment; Springer: Singapore, 2022; pp. 263–281. [Google Scholar] [CrossRef]
- Wang, S.; Sahoo, K.; Jena, U.; Dong, H.; Bergman, R.; Runge, T. Life-Cycle Assessment of Treating Slaughterhouse Waste Using Anaerobic Digestion Systems. J. Clean. Prod. 2021, 292, 126038. [Google Scholar] [CrossRef]
- Calise, F.; Cappiello, F.L.; Cimmino, L.; Dentice d’Accadia, M.; Vicidomini, M. Dynamic Analysis and Investigation of the Thermal Transient Effects in a CSTR Reactor Producing Biogas. Energy 2023, 263, 126010. [Google Scholar] [CrossRef]
- Liu, C.; Sun, Y.; Li, D.; Bian, J.; Wu, Y.; Li, P.; Sun, Y. Influence of Enclosure Filled with Phase Change Material on Photo-Thermal Regulation of Direct Absorption Anaerobic Reactor: Numerical and Experimental Study. Appl. Energy 2022, 313, 118885. [Google Scholar] [CrossRef]
- Krentowski, J.R. Assessment of Destructive Impact of Different Factors on Concrete Structures Durability. Materials 2021, 15, 225. [Google Scholar] [CrossRef] [PubMed]
- Mahmudul, H.M.; Rasul, M.G.; Akbar, D.; Narayanan, R.; Mofijur, M. A Comprehensive Review of the Recent Development and Challenges of a Solar-Assisted Biodigester System. Sci. Total Environ. 2021, 753, 141920. [Google Scholar] [CrossRef] [PubMed]
- Cahyani, D.; Haryanto, A.; Putra, G.A.; Fil’Aini, R.; Marpaung, D.S. Life Cycle Assessment of Biogas Digester in Small Scale Tapioca Industry. IOP Conf. Ser. Earth Environ. Sci. 2019, 258, 012017. [Google Scholar] [CrossRef]
- Akbulut, A.; Arslan, O.; Arat, H.; Erbas, O. Important Aspects for the Planning of Biogas Energy Plants: Malatya Case Study. Case Stud. Therm. Eng. 2021, 26, 101076. [Google Scholar] [CrossRef]
- Zieliński, M.; Dębowski, M.; Kazimierowicz, J. Outflow from a Biogas Plant as a Medium for Microalgae Biomass Cultivation—Pilot Scale Study and Technical Concept of a Large-Scale Installation. Energies 2022, 15, 2912. [Google Scholar] [CrossRef]
- Vendruscolo, E.C.G.; Mesa, D.; Rissi, D.V.; Meyer, B.H.; de Oliveira Pedrosa, F.; de Souza, E.M.; Cruz, L.M. Microbial Communities Network Analysis of Anaerobic Reactors Fed with Bovine and Swine Slurry. Sci. Total Environ. 2020, 742, 140314. [Google Scholar] [CrossRef]
- Paçal, M.; Semerci, N.; Çallı, B. Treatment of Synthetic Wastewater and Cheese Whey by the Anaerobic Dynamic Membrane Bioreactor. Environ. Sci. Pollut. Res. 2019, 26, 32942–32956. [Google Scholar] [CrossRef]
- Saikat, B.; Naveen, P.; Sivamani, S. Reactor Design for Biogas Production-A Short Review. J. Energy Power Technol. 2022, 4, 1–22. [Google Scholar] [CrossRef]
- Shankar, K.R.; Theresa, V.; Brindha, R.; Renganathan, S. Bioprocessing for Enhanced Biological Textile Wastewater Treatment. Bioprocess Engineering a Green Environment; CRC Press: Boca Raton, FL, USA, 2018; pp. 99–130. [Google Scholar] [CrossRef]
- Li, Y.Y.; Huang, X.W.; Li, X.Y. Use of a Packed-Bed Biofilm Reactor to Achieve Rapid Formation of Anammox Biofilms for High-Rate Nitrogen Removal. J. Clean. Prod. 2021, 321, 128999. [Google Scholar] [CrossRef]
- Cremonez, P.A.; Teleken, J.G.; Weiser Meier, T.R.; Alves, H.J. Two-Stage Anaerobic Digestion in Agroindustrial Waste Treatment: A Review. J. Environ. Manag. 2021, 281, 111854. [Google Scholar] [CrossRef]
- Küçükağa, Y.; Facchin, A.; Torri, C.; Kara, S. An Original Arduino-Controlled Anaerobic Bioreactor Packed with Biochar as a Porous Filter Media. Methods X 2022, 9, 101615. [Google Scholar] [CrossRef] [PubMed]
- Faria, C.V.; Souza, D.F.; Pontes, T.M.; Amaral, M.C.S.; Fonseca, F.V. Strategies of Anaerobic Sludge Granulation in an EGSB Reactor. J. Environ. Manag. 2019, 244, 69–76. [Google Scholar] [CrossRef] [PubMed]
- Hao, F.; Shen, M. Simulation Investigation of the Baffle Overlapping Rate on Three-Phase Separation Efficiency in a Typical UASB Reactor. IOP Conf. Ser. Earth Environ. Sci. 2019, 227, 052032. [Google Scholar] [CrossRef]
- Shah, A.; Shah, M. Characterisation and Bioremediation of Wastewater: A Review Exploring Bioremediation as a Sustainable Technique for Pharmaceutical Wastewater. Groundw. Sustain. Dev. 2020, 11, 100383. [Google Scholar] [CrossRef]
- Rattier, M.; Jimenez, J.A.; Miller, M.W.; Dhanasekar, A.; Willis, J.; Keller, J.; Batstone, D. Long-Term Comparison of Pilot UASB and AnMBR Systems Treating Domestic Sewage at Ambient Temperatures. J. Environ. Chem. Eng. 2022, 10, 108489. [Google Scholar] [CrossRef]
- Ahmad, T.; Aadil, R.M.; Ahmed, H.; Rahman, U.U.; Soares, B.C.V.; Souza, S.L.Q.; Pimentel, T.C.; Scudino, H.; Guimarães, J.T.; Esmerino, E.A.; et al. Treatment and Utilization of Dairy Industrial Waste: A Review. Trends Food Sci. Technol. 2019, 88, 361–372. [Google Scholar] [CrossRef]
- Biologie, A.X.; Vorobyova, O. Anaerobic filters, anaerobic fluidized bed reactors, upflow anaerobic sludge blanket reactors—anaerobic reactor for industrial wastewater treatment. In Proceedings of the III International Scientific and Practical Conference, Zurich, Switzerland, 12 August 2022; pp. 84–88. [Google Scholar] [CrossRef]
- Anjum, F.; Khan, I.M.; Kim, J.; Aslam, M.; Blandin, G.; Heran, M.; Lesage, G. Trends and Progress in AnMBR for Domestic Wastewater Treatment and Their Impacts on Process Efficiency and Membrane Fouling. Environ. Technol. Innov. 2021, 21, 101204. [Google Scholar] [CrossRef]
- Musa, M.A.; Idrus, S.; Man, H.C.; Daud, N.N.N. Wastewater Treatment and Biogas Recovery Using Anaerobic Membrane Bioreactors (AnMBRs): Strategies and Achievements. Energies 2018, 11, 1675. [Google Scholar] [CrossRef]
- Pasaoglu, M.E.; Kaya, R.; Korkut, S.; Turken, T.; Zeytuncu, B.; Kose Mutlu, B.; Ozgun, H.; Ersahin, M.E.; Koyuncu, I. Novel Anaerobic Biological Treatment Systems. In Current Developments in Biotechnology and Bioengineering; Elsevier: Amsterdam, The Netherlands, 2022; pp. 529–560. [Google Scholar] [CrossRef]
- Balcıoğlu, G.; Yilmaz, G.; Gönder, Z.B. Evaluation of Anaerobic Membrane Bioreactor (AnMBR) Treating Confectionery Wastewater at Long-Term Operation under Different Organic Loading Rates: Performance and Membrane Fouling. Chem. Eng. J. 2021, 404, 126261. [Google Scholar] [CrossRef]
- Magalhães, N.C.; Silva, A.F.R.; Cunha, P.V.M.; Drewes, J.E.; Amaral, M.C.S. Role of Nanofiltration or Reverse Osmosis Integrated to Ultrafiltration-Anaerobic Membrane Bioreactor Treating Vinasse for the Conservation of Water and Nutrients in the Ethanol Industry. J. Water Process Eng. 2020, 36, 101338. [Google Scholar] [CrossRef]
- Deowan, S.A.; Galiano, F.; Hoinkis, J.; Figoli, A.; Drioli, E. Submerged Membrane Bioreactor (SMBR) for Treatment of Textile Dye Wastewatertowards Developing Novel MBR Process. APCBEE Procedia 2013, 5, 259–264. [Google Scholar] [CrossRef]
- Dębowski, M.; Zieliński, M.; Krzemieniewski, M.; Brudniak, A. Effect of Magneto-Active Filling on the Effectiveness of Methane Fermentation of Dairy Wastewaters. Int. J. Green Energy 2022, 19, 455–462. [Google Scholar] [CrossRef]
- Camiloti, P.R.; Mockaitis, G.; Domingues Rodrigues, J.A.; Rissato Zamariolli Damianovic, M.H.; Foresti, E.; Zaiat, M. Innovative Anaerobic Bioreactor with Fixed-Structured Bed (ABFSB) for Simultaneous Sulfate Reduction and Organic Matter Removal. J. Chem. Technol. Biotechnol. 2014, 89, 1044–1050. [Google Scholar] [CrossRef]
- Si, B.; Yang, H.; Huang, S.; Watson, J.; Zhang, Y.; Liu, Z. An Innovative Multistage Anaerobic Hythane Reactor (MAHR): Metabolic Flux, Thermodynamics and Microbial Functions. Water Res. 2020, 169, 115216. [Google Scholar] [CrossRef]













| Feature | Aerobic | Anaerobic | Reference |
|---|---|---|---|
| Alkalinity demand | Low | High for certain industrial waste | [13,14,15] |
| Bioenergy and nutrient recovery | No | Yes | [14,16,17] |
| Energy demand | High | Low to moderate | [14,16,17] |
| Mode of treatment | Total | Essentially pre-treatment | [13,15,18] |
| Nutrient demand | High | Low | [13,14,15] |
| Odor | Less opportunity for odors | Potential odor problems | [13,15,18] |
| Organic loading rate | Moderate | High | [13,15,18] |
| Organic removal efficiency | High | High | [13,14,15] |
| Sludge generation | High | Low | [13,14,15] |
| Temperature sensitivity | Low | High | [13,15,18] |
| Wastewater quality | Great | Moderate to poor | [13,14,15] |
| Process | Reaction | Bacteria | Phylum | Reference |
|---|---|---|---|---|
| Hydrogen reduction of carbon dioxide | CO2 + 4H2 → CH4 + 2H2O | hydrogenotrophs | Methanobacteriales, Methanomicrobiales, Methanopyrales, Methanococcales, Methanocellales | [75,76,77] |
| Conversion of methanol to methane and carbon dioxide | 4CH3OH → 3CH4 + CO2 + 2H2O | methylotrophs | Methanosarcinales, Methanobacteriales, Methanomassiliicoccales | [75,76,77] |
| Conversion of acetate to methane and carbon dioxide | CH3COOH → CH4 + CO2 | acetotrophs | Methanosarcinales | [75,76,77] |
| Step | Substrates | Products | Species | Reference |
|---|---|---|---|---|
| Hydrolysis | Protein, fats, carbohydrates | Amino acids, fatty acids, polyols, simple sugars | Aerobacter, Alcaligenes, Clostridium, Flavobacterium, Lactobacillus, Micrococcus, Streptococcus, Pseudomonas, Lactobacterium | [63,64,65] |
| Acidogenesis | Hydrolysis products | Fatty acids: acetic acid, propionic acid, butyric acid, isobutyric acid, valeric acid, isovaleric acid, caproic acid, lactic acid; Alcohols: ethanol, methanol, propanol; H2, CO2 | [66,67,68] | |
| Acetogenesis | Earlier products | Acetics, H2, CO2 | Syntrophobacter wolinii, Sytrophomonos wolfei, Clostridium spp., Peptococcus anaerobius, Lactobacillus, and Actinomyces | [70,71,72] |
| Methanogenesis | Acetogenesis products | Biogas (CH4, CO2) | Methanobacterium, Methanobacillus, Methanococcus, Methanosarcina. Methanosaeta | [73,74,85] |
| Reactor Type | Wastewater | Temperature (°C) | Initial COD (mgO2/dm3) | COD Removal (%) | CH4 Yield (m3CH4/kg COD) | Reference |
|---|---|---|---|---|---|---|
| Anaerobic filter | Synthetic dairy | 35 | 3–12 | 97.9–98.8 | 0.32–0.39 | [100] |
| Whey | 37 | 33 | 90 | NA | [101] | |
| Synthetic whey | 40 | 1–10.2 | 85–93.8 | 0.158–0.35 | [102] | |
| Biofilm-supported CSTR | Synthetic dairy | Room temperature | NA | 46–59 | NA | [103] |
| Fluidized bed reactor | Simulated milk | 37 | 10–77.5 | 78 | 0.27 | [104] |
| Ice-cream wastewater | 35 | 5 | 70–90 | 0.157–0.193 | [105] | |
| Hybrid UASB | Dairy | 35 | 1.9–5.34 | 91–97 | 0.27–0.359 | [106] |
| Hybrid reactor | Dairy | 35–55 | 1–2 | 64–76 | 0.03–0.24 | [107] |
| Anaerobic moving biofilm reactor | Milk permeate | 20–25 | 50–75 | 57.9–77 | 0.341 | [108] |
| Whey | 35 | 6–17 | 70–97 | 0.33 | [109] | |
| Anaerobic sequencing biofilm batch reactor (ASBBR) | Whey | 30 | 1–6 | 76–95 | NA | [110] |
| Reactor Type | Wastewater | pH Value | Initial COD (mgO2/dm3) | COD Removal (%) | CH4 Yield (m3CH4/kg COD) | Reference |
|---|---|---|---|---|---|---|
| Anaerobic filter | Whey | 5.7–7.5 | 5–20 | 72–90.2 | 0.089–0.28 | [129] |
| Whey | 7.0 | 33 | 90 | NA | [101] | |
| Synthetic whey | 6.9 | 1–10.2 | 85–93.8 | 0.158–0.35 | [102] | |
| Biofilm-supported CSTR | Synthetic dairy | 6.5–6.8 | NA | 46–59 | NA | [103] |
| Fluidized bed reactor | Dairy | 6.8–7.4 | 3.2 | 85–98 | 0.37 | [130] |
| Ice-cream wastewater | 6.8–7.2 | 5.2–11.7 | 94.4 | NA | [131] | |
| Hybrid UASB | Dairy | 5.9–7.6 | 5 | 65–93 | 0.25–0.31 | [132] |
| Downflow–upflow hybrid reactor | Whey | 7.5 | 55–70 | 90–98.4 | NA | [133] |
| Anaerobic moving biofilm reactor | Milk permeate | 7.0 | 50–75 | 57.9–77 | 0.341 | [108] |
| Whey | 7.0–7.8 | 6–17 | 70–97 | 0.33 | [109] | |
| Anaerobic sequencing biofilm batch reactor (ASBBR) | Whey | 6.8–6.9 | 1–6 | 76–95 | NA | [110] |
| Reactor Type | Wastewater | HRT (d) | OLR (kgCOD/m3d) | Initial COD (mgO2/dm3) | COD Removal (%) | CH4 Yield (m3CH4/kg COD) | Reference |
|---|---|---|---|---|---|---|---|
| Anaerobic filter | Whey | 1–5 | 1–4 | 5–20 | 72–90.2 | 0.089–0.28 | [129] |
| Whey | 10–15 | 2.2–3.3 | 33 | 90 | NA | [101] | |
| Synthetic whey | 1 | 1–10.2 | 1–10.2 | 85–93.8 | 0.158–0.35 | [102] | |
| Biofilm-supported CSTR | Synthetic dairy | 10 | NA | NA | 46–59 | NA | [103] |
| Fluidized bed reactor | Dairy | 7.5–11.3 | 10 | 3.2 | 85–98 | 0.37 | [130] |
| Simulated milk | 0.75–5 | 2.22–31 | 10–77.5 | 78 | 0.27 | [104] | |
| Ice-cream wastewater | 1 | 1–12 | 5 | 70–90 | 0.157–0.193 | [105] | |
| Hybrid UASB | Dairy | 0.25 | 8–20 | 5 | 65–93 | 0.25–0.31 | [132] |
| Dairy | 1.9 | 0.97–2.82 | 1.9–5.34 | 91–97 | 0.27–0.359 | [106] | |
| Hybrid reactor | Dairy | 0.5–1 | 1–2 | 1–2 | 64–76 | 0.03–0.24 | [107] |
| Anaerobic moving biofilm reactor | Milk permeate | 9.7–116.5 | 0.5–6.5 | 50–75 | 57.9–77 | 0.341 | [108] |
| Whey | 0.6–17 | 1–21 | 6–17 | 70–97 | 0.33 | [109] | |
| Anaerobic sequencing biofilm batch reactor (ASBBR) | Whey | 0.33 | 2–12 | 1–6 | 76–95 | NA | [110] |
| Reactor type | Advantages | Disadvantages | Reference |
|---|---|---|---|
| AD | Cost effective; Fewer requirements to N and P; Fewer space requirements; High removal efficiency; Lack of pathogenic organisms; Less sludge generated; Low energy requirements; Production of methane, which can be utilized as a heat or power source | Greater sensitivity to variables loads and organic shocks; High capital cost; High energy requirements; Long startup periods; The strict control of operating conditions; Toxic compounds | [224,225,226] |
| Anaerobic contact process | Ethane as a useful end product; High removal efficiency; No oxygen requirements; Various temperature ranges | Long retention time; Poor settling properties | [14,227,228] |
| CSTR | Continuous operation; Ease of operation; Ease of cleaning; High removal efficiency; Minor operating cost; No biomass retention; Reasonable control; Simple adaptions to two-phase runs | Bypassing and channeling, probably with weak agitation performance; Low conversion per unit volume | [229,230,231] |
| Expanded-bed and/or fluidized-bed | Can control and optimize the biological film thickness; Capital cost is lower; Elimination of bed clogging; Greater surface area; High removal efficiency; Low hydraulic head | Gas hold-up; Plugging; Problems of channeling | [232,233,234] |
| Fixed-bed digester | High removal efficiency | Difficult to design accurately; Saturated region | [235,236,237] |
| Membrane anaerobic reactor system (MARS) | Enhances biomass retention; High removal efficiency | Long retention time | [238,239,240] |
| UASB | Biogas can be applied for energy (generally needs scrubbing first); Can tolerate high OLRs and hydraulic loading rates; Cost effective; Great decrement in organics; High removal efficiency; Minor sludge generation; No support material required | Long start-up period; Reactor needs a skilled operation; Sufficient amount of granular seed sludge | [241,242,243] |
| Upflow anaerobic filter | High OLRs; High removal efficiency; Minor sludge production (the sludge is stabilized); No electrical energy needed; Short HRT; Stable against organic and hydraulic shock loading | Cleaning and removing the clogged filter media are difficult; Effluent and sludge require further treatment and proper discharge; Low reduction of nutrients and pathogens; Requires expert design and construction; Risk of clogging, depending on pre- and primary treatment | [244,245,246] |
| Bioreactor | Normal Load (kg COD/m3/d) | Hydraulic Retention Time (day) | Solid Retention Time (day) | Reference |
|---|---|---|---|---|
| CSTR | 0.25–4.0 | 10–60 | 10–60 | [229,230,231] |
| Anaerobic filter | 1–40 | 0.5–12 | 20 | [232,253,254] |
| Fluidized bed reactor | 1–100 | 0.2–5 | 30 | [232,233,234] |
| UASB | 10–30 | 0.5–7 | 20 | [241,242,243] |
| Hybrid reactor | 1–100 | 0.2–5 | 20 | [255,256,257] |
| AnMBRs | 0.5–12.5 | 3–30 | 20–40 | [258,259,260] |
| Reactor Type | Wastewater | HRT (d) | OLR (kg COD/m3/d) | Initial COD (mgO2/dm3) | COD Removal (%) | Biogas Yield (dm3/kg COD rem.) | CH4 Fraction (%) | Reference |
|---|---|---|---|---|---|---|---|---|
| Multi-section hybrid anaerobic reactor (M-SHAR) | Liquid dairy waste (LDW) largely composed of acid whey | 2–10 | 5–25 | 50,000 ± 250 | 47–88 | 280–410 (dm3/kg COD/d) | 39–73 | [32] |
| Anaerobic fluidized active filling reactor (FAF-R) | Sugar-industry effluent | 20 | 4–8 | 3400 ± 201–6800 ± 270 | >74 | 356 ± 25–427 ± 14 | 70 | [214] |
| Multi-section horizontal flow anaerobic reactor (HFAR) | Dairy | 1 | 1–4 | 1029 ± 20.5–4046 ± 60.4 | 52.75 ± 0.42–85.13 ± 1.05 | 0.15 ± 0.01–0.33 ± 0.03 (dm3/g CODrem.) | 30.2 ± 4.5–68.1 ± 5.8 | [21] |
| Labyrinth-flow vertical anaerobic reactor with magneto-active filling (LFAR–MAF) | Dairy | 2 | 6 | 12,000 ± 130.6 | 75–76 | 317.1–319.0 | 66.1–75.8 | [291] |
| Innovative anaerobic bioreactor with fixed-structured bed (ABFSB) | Sugarcane vinasse | 18–37 h | 15–30 | 28.3 ± 4.6 (g/dm3) | 80 | 249 ± 93–301 ± 12 | NA | [236] |
| Innovative multistage anaerobic hythane reactor (MAHR) | Synthetic | 3 | 2–10 kg COD/m3 | 120 g COD/dm3/d | NA | NA | 75–80 | [293] |
Disclaimer/Publisher’s Note: The statements, opinions and data contained in all publications are solely those of the individual author(s) and contributor(s) and not of MDPI and/or the editor(s). MDPI and/or the editor(s) disclaim responsibility for any injury to people or property resulting from any ideas, methods, instructions or products referred to in the content. |
© 2022 by the authors. Licensee MDPI, Basel, Switzerland. This article is an open access article distributed under the terms and conditions of the Creative Commons Attribution (CC BY) license (https://creativecommons.org/licenses/by/4.0/).
Share and Cite
Zieliński, M.; Kazimierowicz, J.; Dębowski, M. Advantages and Limitations of Anaerobic Wastewater Treatment—Technological Basics, Development Directions, and Technological Innovations. Energies 2023, 16, 83. https://doi.org/10.3390/en16010083
Zieliński M, Kazimierowicz J, Dębowski M. Advantages and Limitations of Anaerobic Wastewater Treatment—Technological Basics, Development Directions, and Technological Innovations. Energies. 2023; 16(1):83. https://doi.org/10.3390/en16010083
Chicago/Turabian StyleZieliński, Marcin, Joanna Kazimierowicz, and Marcin Dębowski. 2023. "Advantages and Limitations of Anaerobic Wastewater Treatment—Technological Basics, Development Directions, and Technological Innovations" Energies 16, no. 1: 83. https://doi.org/10.3390/en16010083
APA StyleZieliński, M., Kazimierowicz, J., & Dębowski, M. (2023). Advantages and Limitations of Anaerobic Wastewater Treatment—Technological Basics, Development Directions, and Technological Innovations. Energies, 16(1), 83. https://doi.org/10.3390/en16010083
