Dynamic Response Analysis of a Novel Anti-Impact Pressure Balance Jack
Abstract
:1. Introduction
2. Materials and Methods
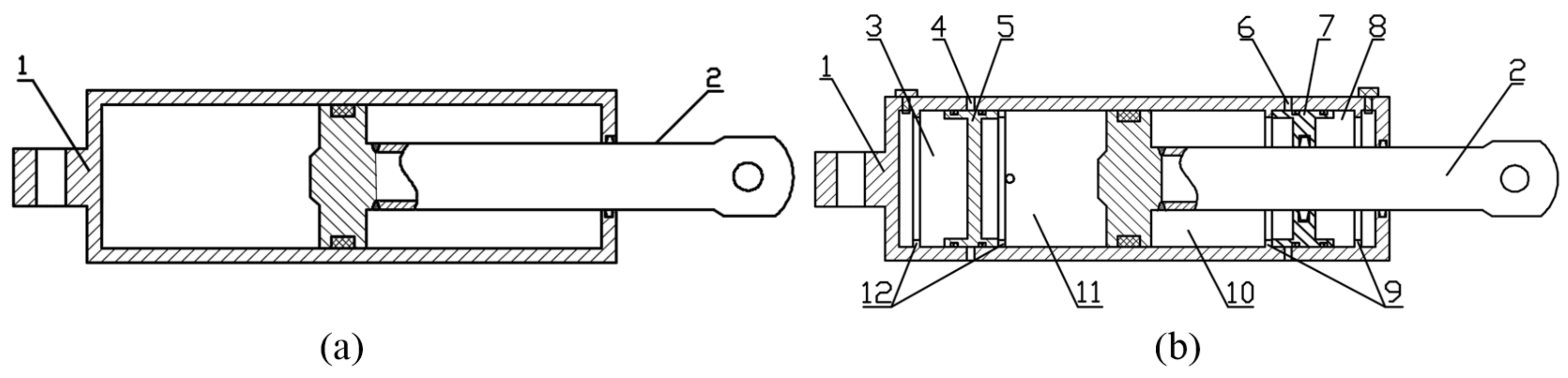
2.1. Structure Analysis of the Novel Balance Jack with Multiple Adaptive Buffers
2.2. Multi-Adaptive Response Balance Jack Buffer Process Modeling
- (1)
- Compression oil stage: The oil pressure in the cavity is less than the opening pressure of the safety valve and the equivalent stiffness of the oil is calculated by Equation (1):where ky is the oil equivalent stiffness, N/m; A is the effective area of hydraulic cylinder transmitting liquid force, m2; β is volume elastic modulus of emulsion, β = 1.95 Gpa; and L is the length of the effective liquid column in hydraulic cylinder, m.
- (2)
- The safety valve opening overflow stage: The balance jack shows constant pressure characteristics. The oil pressure in the cavity is always equal to the set pressure of the safety valve and the force is calculated by Equation (2):where F1 is oil cavity equivalent force, N; P1 is safety valve setting pressure, MPa; and A is effective area of hydraulic cylinder transmitting liquid force, m2.
- (3)
- Compression buffer cavity stage: Due to the untimely response of the safety valve, the oil pressure in the cavity of the process is greater than the set pressure of the safety valve. Since the whole buffer process is complex, to facilitate the construction of the mathematical model of the process the following assumptions are made for the whole process: the heat exchange between the hydraulic cylinder and the outside during the buffering process are ignored; the compressibility, leakage, and viscosity change in oil are ignored; and the flow state is turbulent.
- (4)
- The overflow stage of the cylinder unloading hole: The balance jack shows constant pressure characteristics. The oil pressure in the cavity is always equal to the opening pressure of the unloading hole on the cylinder body, and the force is:where F2 is the oil cavity equivalent force, N; P2 is the setting pressure of cylinder unloading hole, MPa; and A is the effective area of hydraulic cylinder transmitting liquid force, m2.
2.3. Establishment of Impact Dynamic Simulation Model for Hydraulic Support
2.4. Reliability Verification of Simulation Model
3. Comparative Analysis of Response Results under Different Impact Loads
4. Discussion
4.1. Influence of Initial Inflation Pressure of Buffer Cavity
4.2. Influence of Length of Buffer Cavity
5. Conclusions
- (1)
- By comparing and analyzing the mechanical response characteristics of the two kinds of balance jacks under different impact loads, it can be concluded that compared with the traditional balance jack, the novel balance jack with multi-adaptive response proposed in this paper can reduce the peak force of the hinge point by about 24.6%, and the fluctuation frequency was significantly reduced under the ultimate load condition at the front end of the top beam, which performs an effective buffer protection role;
- (2)
- When the high-pressure gas is used to buffer, with the decrease in the initial inflation pressure of the buffer cavity, the stable force of the hinge point increases, and the fluctuation of the piston rod velocity and the top beam vertical displacement is more violent. When the initial inflation pressure is less than or equal to 45 MPa, the lower the initial inflation pressure is, the greater the peak force of the hinge point is. When the initial inflation pressure is greater than 45 MPa, the higher the initial inflation pressure is, the greater the maximum force of the hinge point is;
- (3)
- When the high-pressure gas is used to buffer, with the increase in the length of the buffer cavity, the peak force and stable force of the hinge point increase, and the velocity of the piston rod and the vertical displacement of the top beam fluctuate more violently. When the initial inflation pressure of the buffer cavity is 40~45 MPa and the initial length of the buffer cavity is less than 105 mm, the buffer effect is better.
6. Patents
Author Contributions
Funding
Institutional Review Board Statement
Informed Consent Statement
Data Availability Statement
Conflicts of Interest
References
- Wan, L.; Wang, J.; Zeng, Q.; Ma, D.; Yu, X.; Meng, Z. Vibration Response Analysis of the Tail Beam of Hydraulic Support Impacted by Coal Gangue Particles with Different Shapes. ACS. Omega 2022, 7, 3656–3670. [Google Scholar] [CrossRef] [PubMed]
- Lin, J.; Yang, T.; Ni, K.; Han, C.; Ma, H.; Gao, A.; Xiao, C. Effects of Boundary Conditions on Stress Distribution of Hydraulic Support: A Simulation and Experimental Study. Adv. Mech. Eng. 2021, 13, 1–16. [Google Scholar] [CrossRef]
- Guan, E.; Miao, H.; Li, P.; Liu, J.; Zhao, Y. Dynamic Model Analysis of Hydraulic Support. Adv. Mech. Eng. 2019, 11, 1–8. [Google Scholar] [CrossRef] [Green Version]
- Cao, L.; Sun, S.; Zhang, Z.; Zhang, Y.; Guo, H.; Yan, M.; Guo, Z.; Zhong, C. Optimal design of balance jack control loop of hydraulic support. Ind. Mine Autom. 2018, 44, 13–18. [Google Scholar]
- Meng, Z.S.; Zhang, J.M.; Xie, Y.Y.; Lu, Z.G.; Zeng, Q.L. Analysis of the Force Response of a Double-Canopy Hydraulic Support under Impact Loads. Int. J. Simul. Model. 2021, 20, 766–777. [Google Scholar] [CrossRef]
- Ghorbani, M.; Shahriar, K.; Sharifzadeh, M.; Masoudi, R. A Critical Review on the Developments of Rock Support Systems in High Stress Ground Conditions. Int. J. Min. Sci. Technol. 2020, 30, 555–572. [Google Scholar] [CrossRef]
- Guo, W.; Wang, H.; Dong, G.; Li, L.; Huang, Y. A Case Study of Effective Support Working Resistance and Roof Support Technology in Thick Seam Fully-Mechanized Face Mining with Hard Roof Conditions. Sustainability 2017, 9, 935. [Google Scholar] [CrossRef] [Green Version]
- Świątek, J.; Janoszek, T.; Cichy, T.; Stoiński, K. Computational Fluid Dynamics Simulations for Investigation of the Damage Causes in Safety Elements of Powered Roof Supports—A Case Study. Energies 2021, 14, 1027. [Google Scholar] [CrossRef]
- Wang, J.; Zhang, J. Research on High-Power and High-Speed Hydraulic Impact Testing Machine for Mine Anti-Impact Support Equipment. Shock. Vib. 2019, 2019, 6545980. [Google Scholar] [CrossRef] [Green Version]
- Szurgacz, D.; Brodny, J. Analysis of Load of a Powered Roof Support’s Hydraulic Leg. E3S Web Conf. 2018, 71, 2. [Google Scholar] [CrossRef] [Green Version]
- Singh, G.S.P.; Singh, U.K. A Numerical Modeling Approach for Assessment of Progressive Caving of Strata and Performance of Hydraulic Powered Support in Longwall Workings. Comput. Geotech. 2009, 36, 1142–1156. [Google Scholar] [CrossRef]
- Verma, A.K.; Deb, D. Numerical Analysis of an Interaction between Hydraulic-Powered Support and Surrounding Rock Strata. Int. J. Geomech. 2013, 13, 181–192. [Google Scholar] [CrossRef]
- Shabanimashcool, M.; Jing, L.; Li, C.C. Discontinuous Modelling of Stratum Cave-in in a Longwall Coal Mine in the Arctic Area. Geotech. Geol. Eng. 2014, 32, 1239–1252. [Google Scholar] [CrossRef]
- Pytlik, A. Process Characteristics of Hydraulic Legs Equipped with Safety Valves at Dynamic Load Caused by a Mining Tremor. Arch. Min. Sci. 2015, 60, 595–612. [Google Scholar] [CrossRef] [Green Version]
- Szurgacz, D.; Brodny, J. Analysis of the Influence of Dynamic Load on the Work Parameters of a Powered Roof Support’s Hydraulic Leg. Sustainability 2019, 11, 2570. [Google Scholar] [CrossRef] [Green Version]
- Szurgacz, D. Dynamic Analysis for the Hydraulic Leg Power of a Powered Roof Support. Energies 2021, 14, 5715. [Google Scholar] [CrossRef]
- Liu, X.; Zhao, Z.; Zhao, R. Study on Dynamic Features of Leg Applied to Hydraulic Powered Support Under Bumping Load. Coal Sci. Technol. 2012, 40, 66–70. [Google Scholar] [CrossRef]
- Wan, L.; Liu, P.; Meng, Z.; Lu, Y. Analysis of the influence of impact load on shield beam of hydraulic support. J. China Coal Soc. 2017, 42, 2462–2467. [Google Scholar] [CrossRef]
- Zeng, X.T.; Meng, G.Y.; Zhou, J.H. Analysis on the Pose and Dynamic Response of Hydraulic Support Under Dual Impact Loads. Int. J. Simul. Model 2018, 17, 69–80. [Google Scholar] [CrossRef]
- Yang, Z.K.; Sun, Z.Y.; Jiang, S.B.; Mao, Q.H.; Liu, P.; Xu, C.Z. Structural Analysis on Impact-Mechanical Properties of Ultra-High Hydraulic Support. Int. J. Simul. Model. 2020, 19, 17–28. [Google Scholar] [CrossRef]
- Yang, P.; Liu, C.; Jin, T. Research on the Load Variation Laws and Technologic Effect of Two-Leg Sublevel Caving Shield Support. J. Minging Saf. Eng. 2010, 27, 512–516. [Google Scholar]
- Li, H.; Jiang, D.; Peng, S.S.; Feng, J. Analysis on loading features and suitability of hydraulic powered caving supports. Coal Sci. Technol. 2015, 43, 23–28 + 70. [Google Scholar]
- Li, J. Analysis on Mining Method and Roof Stability under Condition of Transform from Large Height Mining to Top Coal Mining. Ph. D. Thesis, China University of Mining and Technology, Beijing, China, 2014. [Google Scholar]
- Xu, Y.; Wang, G.; Liu, Y. Supporting property and adaptability of 2-leg powered support. J. China Coal Soc. 2016, 41, 2113–2120. [Google Scholar]
- Liang, L.C.; Tian, J.J.; Zheng, H.; Jiao, S.J. A Study on Force Transmission in a Hydraulic Support under Impact Loading on Its Canopy Beam. J. China Coal Soc. 2015, 40, 2522–2527. [Google Scholar] [CrossRef]
- Zeng, Q.; Yang, C.; Liu, P.; Meng, Z. Stress Analysis of Hydraulic Powered Support for Ultra High Mining under Different Roof Pressure. Coal Technol. 2018, 37, 187–189. [Google Scholar] [CrossRef]
- Zeng, Q.; Meng, Z.; Wan, L.; Wang, C. Analysis on Force Transmission Characteristics of Two-Legged Shield Support under Impact Loading. Shock Vib. 2018, 2018, 3854684. [Google Scholar] [CrossRef] [Green Version]
- Meng, Z.; Zeng, Q.; Gao, K.; Kong, S.; Liu, P.; Wan, L. Failure Analysis of Super-Large Mining Height Powered Support. Eng. Fail. Anal. 2018, 92, 378–391. [Google Scholar] [CrossRef]
- Wang, G. Design of mechanical limiting device for top beam of two-column shield hydraulic support. Coal Mine Mach. 1991, 5, 7–10. [Google Scholar]
- Shang, H. Failure Analysis and Prevention of Equilibrium Jack on Hydraulic Shield Support. Colliery Mech. Electr. Technol. 2011, 5, 88–91. [Google Scholar]
- Sun, Y.; Zhneg, X.; Lin, X.; Hu, J. Research on Hydraulic Circuit Optimization of Hydraulic Support Balance Jack Based on AMESim. Coal Mine Mach. 2020, 41, 156–158. [Google Scholar]
- Wan, L.R.; Yu, X.H.; Ma, D.J.; Wang, J.T.; Xin, F.W.; Li, Z.J.; Qi, G.Q.; Chen, B.L. Impact-Resistant Balanced Hydro-Cylinder with Pressure Relief and Buffering Protection. CN112555228B, 5 November 2021. [Google Scholar]
- Wang, W.; Zhou, R. Impact of Gas Spring on Dynamic Characteristics of Safety Valve. Chin. Hydraul. Pneum. 2014, 8, 111–114. [Google Scholar]














| Cylinder | Outer Diameter/mm | Inner Diameter/mm | Effective Length of Liquid Column/mm | Buffer Cavity Length/mm | ||
|---|---|---|---|---|---|---|
| The balance jack | 320 | 230 | Rod Cavity | 567 | 105 | |
| Rodless Cavity | 288 | 105 | ||||
| Column | First stage | 625 | 530 | 2113 | ||
| Second stage | 500 | 380 | 775 | |||
Publisher’s Note: MDPI stays neutral with regard to jurisdictional claims in published maps and institutional affiliations. |
© 2022 by the authors. Licensee MDPI, Basel, Switzerland. This article is an open access article distributed under the terms and conditions of the Creative Commons Attribution (CC BY) license (https://creativecommons.org/licenses/by/4.0/).
Share and Cite
Wan, L.; Yu, X.; Ma, D.; Meng, Z.; Zeng, Q.; Qi, G. Dynamic Response Analysis of a Novel Anti-Impact Pressure Balance Jack. Energies 2022, 15, 5236. https://doi.org/10.3390/en15145236
Wan L, Yu X, Ma D, Meng Z, Zeng Q, Qi G. Dynamic Response Analysis of a Novel Anti-Impact Pressure Balance Jack. Energies. 2022; 15(14):5236. https://doi.org/10.3390/en15145236
Chicago/Turabian StyleWan, Lirong, Xuehui Yu, Dejian Ma, Zhaosheng Meng, Qingliang Zeng, and Guoqing Qi. 2022. "Dynamic Response Analysis of a Novel Anti-Impact Pressure Balance Jack" Energies 15, no. 14: 5236. https://doi.org/10.3390/en15145236
APA StyleWan, L., Yu, X., Ma, D., Meng, Z., Zeng, Q., & Qi, G. (2022). Dynamic Response Analysis of a Novel Anti-Impact Pressure Balance Jack. Energies, 15(14), 5236. https://doi.org/10.3390/en15145236

