Machine Learning-Based Identification Strategy of Fuel Surrogates for the CFD Simulation of Stratified Operations in Low Temperature Combustion Modes
Abstract
:1. Introduction
2. Methodology
2.1. Base Palette
2.2. Optimization Targets and Their Modeling
2.2.1. Macroscopic Chemical Composition
2.2.2. Liquid Density
2.2.3. Volatility
2.2.4. Reid Vapor Pressure
2.2.5. Octane Rating
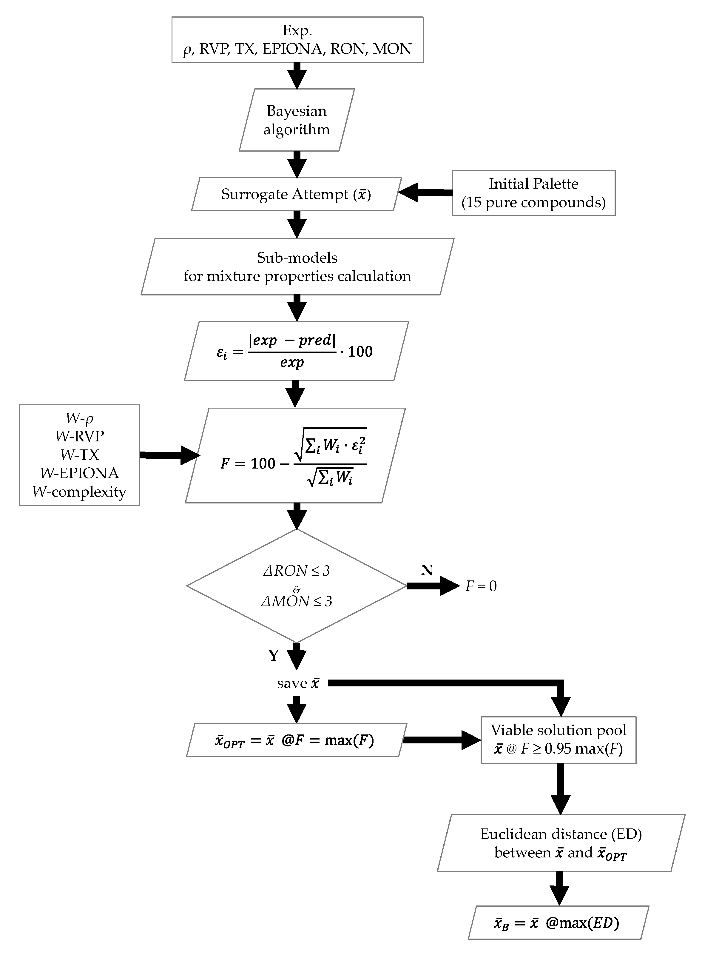
2.3. Surrogate Optimization Strategy
2.4. Analysis of the Surrogate Unicity
3. Results
3.1. Optima Surrogates Results
3.2. Composition Unicity
4. Discussion
Author Contributions
Funding
Institutional Review Board Statement
Informed Consent Statement
Data Availability Statement
Conflicts of Interest
Appendix A

| Properties | A [28] | B [28] | C [29] | D [29] |
|---|---|---|---|---|
| RON | 98.0 | 98.1 | 97.8 | 95 |
| MON | 87.1 | 87.8 | 85.6 | 84.9 |
| Density @15 °C (kg/m3) | 755.5 | 757.2 | 759.6 | 742.8 |
| RVP (psi) | 8.00 | 7.17 | 9.93 | 10.23 |
| T10 (°C) | 55.7 | 59.4 | 51.4 | 46.4 |
| T20 (°C) | 62.4 | 72.2 | 58.7 | 54.7 |
| T30 (°C) | 68.9 | 84.6 | 64.5 | 63.7 |
| T40 (°C) | 76.6 | 96.8 | 69.2 | 74.6 |
| T50 (°C) | 87.4 | 108.1 | 87.4 | 87.6 |
| T60 (°C) | 101.7 | 116.4 | 110.6 | 102.3 |
| T70 (°C) | 113.8 | 124.0 | 121.9 | 117.2 |
| T80 (°C) | 122.7 | 136.3 | 132.2 | 130.0 |
| T90 (°C) | 142.7 | 157.9 | 148.1 | 148.6 |
| C (%wt) | 87.08 | 87.22 | 83.68 | 86.88 |
| H (%wt) | 13.24 | 13.12 | 12.61 | 12.79 |
| O (%wt) | 0 | 0 | 3.7 | 0 |
| Ethanol (%vol.) | 0 | 0 | 8.54 | 0 |
| n-Paraffins (%vol.) | 6.9 | 6.7 | 15.66 | 17.81 |
| i-Paraffins (%vol.) | 28.7 | 33.9 | 20.36 | 30.02 |
| Olefins (%vol.) | 1.5 | 4.1 | 7.67 | 7.58 |
| Naphthenes (%vol.) | 24 | 7.9 | 7.94 | 7.24 |
| Aromatics (%vol.) | 38.4 | 45.8 | 38.62 | 36.11 |
| Compound (%mol.) | A | B | C | D |
|---|---|---|---|---|
| Ethanol | 0 | 0 | 15.44 | 0 |
| n-Pentane | 8.61 | 0 | 0 | 14.31 |
| n-Hexane | 0 | 7.34 | 0 | 0 |
| n-Heptane | 0 | 0 | 0 | 0 |
| n-Decane | 0 | 0 | 0 | 0 |
| i-Pentane | 17.06 | 18.12 | 18.31 | 12.06 |
| i-Octane | 12.52 | 6.71 | 0 | 10.58 |
| 1-Pentene | 0 | 0 | 13.98 | 14.39 |
| 1-Hexene | 0 | 0 | 10.14 | 9.58 |
| Cyclopentane | 18.70 | 16.61 | 8.83 | 0 |
| Cyclohexane | 9.47 | 9.15 | 0 | 7.21 |
| Toluene | 11.51 | 22.96 | 7.04 | 6.59 |
| m-Xylene | 6.55 | 0 | 0 | 16.15 |
| Ethylbenzene | 8.86 | 8.37 | 17.80 | 0 |
| 1-2-4-Trimethylbenzene | 6.72 | 10.74 | 8.46 | 9.13 |
| Components | 9 | 8 | 8 | 9 |
References
- Nakai, E.; Goto, T.; Ezumi, K.; Tsumura, Y.; Endou, K.; Kanda, Y.; Urushihara, T.; Sueoka, M.; Hitomi, M. Mazda Skyactiv-X 2.0L gasoline engine. In Proceedings of the 28th Aachen Colloquim Automobile and Engine Technology Aachen, Germany, 7–9 October 2019; Eckstein, L., Pischinger, S., Heetkamp, M., Müller, J., Eds.; Institute for Automotive Engineering, RWTH: Aachen, Germany, 2019. [Google Scholar]
- Dempsey, A.B.; Curran, S.; Wagner, R. A perspective on the range of gasoline compression ignition combustion strategies for high engine efficiency and low NOx and soot emissions: Effects of in-cylinder fuel stratification. Int. J. Engine Res. 2016, 17, 897–917. [Google Scholar] [CrossRef]
- Sjoberg, M.; Dec, J.E. Smoothing HCCI Heat-Release Rates Using Partial Fuel Stratification with Two-Stage Ignition Fuels. SAE Tech. Pap. Ser. 2006, 10, 4271. [Google Scholar] [CrossRef]
- Priyadarshini, P.; Sofianopoulos, A.; Mamalis, S.; Lawler, B.; Lopez-Pintor, D.; Dec, J. Understanding partial fuel stratification for low temperature gasoline combustion using large eddy simulations. Int. J. Engine Res. 2021, 22, 1872–1887. [Google Scholar] [CrossRef]
- Zhou, L.; Hua, J.; Wei, H.; Dong, K.; Feng, D.; Shu, G. Knock characteristics and combustion regime diagrams of multiple combustion modes based on experimental investigations. Appl. Energy 2018, 229, 31–41. [Google Scholar] [CrossRef]
- Hu, Z.; Zhang, J.; Sjöberg, M.; Zeng, W. The use of partial fuel stratification to enable stable ultra-lean deflagration-based Spark-Ignition engine operation with controlled end-gas autoignition of gasoline and E85. Int. J. Engine Res. 2020, 21, 1678–1695. [Google Scholar] [CrossRef]
- Mehl, M.; Chen, J.-Y.; Pitz, W.J.; Sarathy, S.M.; Westbrook, C.K. An Approach for Formulating Surrogates for Gasoline with Application toward a Reduced Surrogate Mechanism for CFD Engine Modeling. Energy Fuels 2011, 25, 5215–5223. [Google Scholar] [CrossRef]
- Abianeh, O.S.; Oehlschlaeger, M.A.; Sung, C.-J. A surrogate mixture and kinetic mechanism for emulating the evaporation and autoignition characteristics of gasoline fuel. Combust. Flame 2015, 162, 3773–3784. [Google Scholar] [CrossRef] [Green Version]
- Ahmed, A.; Goteng, G.; Shankar, V.S.B.; Al-Qurashi, K.; Roberts, W.L.; Sarathy, S.M. A computational methodology for formulating gasoline surrogate fuels with accurate physical and chemical kinetic properties. Fuel 2015, 143, 290–300. [Google Scholar] [CrossRef]
- Daly, S.R.; Niemeyer, K.E.; Cannella, W.J.; Hagen, C.L. FACE Gasoline Surrogates Formulated by an Enhanced Multivariate Optimization Framework. Energy Fuels 2018, 32, 7916–7932. [Google Scholar] [CrossRef]
- Grubinger, T.; Lenk, G.; Schubert, N.; Wallek, T. Surrogate generation and evaluation of gasolines. Fuel 2021, 283, 118642. [Google Scholar] [CrossRef]
- Cheng, S.; Saggese, C.; Kang, D.; Goldsborough, S.S.; Wagnon, S.W.; Kukkadapu, G.; Zhang, K.; Mehl, M.; Pitz, W.J. Autoignition and preliminary heat release of gasoline surrogates and their blends with ethanol at engine-relevant conditions: Experiments and comprehensive kinetic modeling. Combust. Flame 2021, 228, 57–77. [Google Scholar] [CrossRef]
- Pati, A.; Gierth, S.; Haspel, P.; Hasse, C.; Munier, J. Strategies to Define Surrogate Fuels for the Description of the Multicomponent Evaporation Behavior of Hydrocarbon Fuels. SAE Tech. Pap. Ser. 2018, 10, 4271. [Google Scholar] [CrossRef]
- Muelas, Á.; Aranda, D.; Ballester, J. Alternative Method for the Formulation of Surrogate Liquid Fuels Based on Evaporative and Sooting Behaviors. Energy Fuels 2019, 33, 5719–5731. [Google Scholar] [CrossRef]
- Zhu, L.; Gao, Z.; Cheng, X.; Ren, F.; Huang, Z. An assessment of surrogate fuel using Bayesian multiple kernel learning model in sight of sooting tendency. Front. Energy 2021, 27, 1–15. [Google Scholar] [CrossRef]
- Green, D.W.; Southard, M.Z. Perry’s Chemical Engineers’ Handbook, 9th ed.; McGraw Hill: New York, NY, USA, 2019; pp. 5–93. [Google Scholar]
- McCormick, R.; Fioroni, G.; Fouts, L.; Christensen, E.; Yanowitz, J.; Polikarpov, E.; Albrecht, K.; Gaspar, D.; Gladden, J.; George, A. Selection Criteria and Screening of Potential Biomass-Derived Streams as Fuel Blendstocks for Advanced Spark-Ignition Engines. SAE Int. J. Fuels Lubr. 2017, 10, 442–460. [Google Scholar] [CrossRef]
- Meyers, R.A. Handbook of Petroleum Refining Processes, 3rd ed.; McGraw Hill: New York, NY, USA, 2004; pp. 308–383. [Google Scholar]
- Slavinskaya, N.A.; Zizin, A.; Aigner, M. On Model Design of a Surrogate Fuel Formulation. J. Eng. Gas Turbines Power 2010, 132, 111501. [Google Scholar] [CrossRef]
- Abianeh, O.S.; Chen, C.P.; Cerro, R.L. Batch Distillation: The Forward and Inverse Problems. Ind. Eng. Chem. Res. 2012, 51, 12435–12448. [Google Scholar] [CrossRef]
- Soave, G. Equilibrium constants from a modified Redlich-Kwong equation of state. Chem. Eng. Sci. 1972, 27, 1197–1203. [Google Scholar] [CrossRef]
- Wilson, G. A modified Redlich-Kwong equation of state applicable to general physical data calculations. In Proceedings of the 65th AIChE National Meeting, Cleveland, OH, USA, 4–7 May 1968. [Google Scholar]
- Bruno, T.J.; Smith, B.L. Evaluation of the Physicochemical Authenticity of Aviation Kerosene Surrogate Mixtures. Part 1: Analysis of Volatility with the Advanced Distillation Curve. Energy Fuels 2010, 24, 4266–4276. [Google Scholar] [CrossRef]
- Ferris, A.M.; Rothamer, D. Methodology for the experimental measurement of vapor–liquid equilibrium distillation curves using a modified ASTM D86 setup. Fuel 2016, 182, 467–479. [Google Scholar] [CrossRef] [Green Version]
- Greenfield, M.L.; Lavoie, G.A.; Smith, C.S.; Curtis, E.W. Macroscopic Model of the D86 Fuel Volatility Procedure. SAE Tech. Pap. Ser. 1998, 10, 4271. [Google Scholar] [CrossRef]
- Anderson, J.E.; Leone, T.G.; Shelby, M.H.; Wallington, T.J.; Bizub, J.J.; Foster, M.; Lynskey, M.G.; Polovina, D. Octane Numbers of Ethanol-Gasoline Blends: Measurements and Novel Estimation Method from Molar Composition. SAE Tech. Pap. Ser. 2012, 10, 17. [Google Scholar]
- Brochu, E.; Cora, V.; Freitas, N. A Tutorial on Bayesian Optimization of Expensive Cost Functions, with Application to Active User Modeling and Hierarchical Reinforcement Learning. arXiv 2010, arXiv:1012.2599v1. [Google Scholar]
- Chuahy, F.D.; Powell, T.; Curran, S.J.; Szybist, J.P. Impact of fuel chemical function characteristics on spark assisted and kinetically controlled compression ignition performance focused on multi-mode operation. Fuel 2021, 299, 120844. [Google Scholar] [CrossRef]
- EPAct/V2/E-89: Assessing the Effect of Five Gasoline Properties on Exhaust Emissions from Light-Duty Vehicles Certified to Tier 2 Standards. Available online: www.epa.gov/moves/epactv2e-89-tier-2-gasoline-fuel-effects-study (accessed on 15 June 2021).
- Andersen, V.F.; Anderson, J.; Wallington, T.J.; Mueller, S.A.; Nielsen, O.J. Distillation Curves for Alcohol−Gasoline Blends. Energy Fuels 2010, 24, 2683–2691. [Google Scholar] [CrossRef]









| Compound | Class | ρ @20 °C (kg/m3) | pV @20 °C (kPa) | Tb (°C) | RON | MON |
|---|---|---|---|---|---|---|
| Ethanol | Alcohols | 791 | 5.85 | 351.5 | 109 | 90 |
| n-Pentane | n-Paraffins | 627 | 56.3 | 309.4 | 62 | 62 |
| n-Hexane | n-Paraffins | 661 | 16.1 | 342.1 | 19 | 26 |
| n-Heptane | n-Paraffins | 686 | 4.67 | 371.5 | 0 | 0 |
| n-Decane | n-Paraffins | 732 | 0.12 | 447.1 | -41 | -15 |
| i-Pentane | i-Paraffins | 622 | 76.2 | 301 | 93.5 | 62 |
| i-Octane | i-Paraffins | 695 | 5.11 | 372.4 | 100 | 100 |
| 1-Pentene | Olefins | 641 | 70.1 | 303 | 91 | 77 |
| 1-Hexene | Olefins | 674 | 19.2 | 336.5 | 76 | 63.4 |
| Cyclopentane | Naphthenes | 746 | 34.4 | 322.1 | 101 | 84.9 |
| Cyclohexane | Naphthenes | 778 | 10.3 | 353.1 | 83 | 85 |
| Toluene | Aromatics | 869 | 2.9 | 383.9 | 116 | 103.5 |
| m-Xylene | Aromatics | 865 | 0.83 | 412.1 | 118 | 115 |
| Ethylbenzene | Aromatics | 868 | 0.57 | 409.3 | 101 | 98 |
| 1,2,4-trimethylbenzene | Aromatics | 876 | 0.20 | 441.1 | 111 | 124 |
| Compound | Mix1 [23] (%wt) | Mix2 [23] (%wt) | Mix3 [23] (%wt) | Mix4 [23] (%wt) | Mix5 [24] (%mol) | Mix6 [24] (%mol) |
|---|---|---|---|---|---|---|
| n-Pentane | 0 | 0 | 0 | 0 | 50 | 0 |
| Methylcyclohexane | 20 | 0 | 0 | 5 | 0 | 0 |
| n-Heptane | 0 | 0 | 0 | 0 | 50 | 0 |
| i-Octane | 0 | 0 | 0 | 5 | 0 | 0 |
| n-Decane | 60 | 80 | 0 | 25 | 0 | 50 |
| n-Dodecane | 0 | 0 | 80 | 25 | 0 | 0 |
| n-Tetradecane | 0 | 0 | 0 | 20 | 0 | 50 |
| Toluene | 20 | 0 | 0 | 20 | 0 | 0 |
| 1,2,4-trimethylbenzene | 0 | 20 | 20 | 0 | 0 | 0 |
| Measure | Value |
|---|---|
| Sphere diameter | 69 mm |
| Neck diameter | 19 mm |
| Neck useful height | 70 mm |
| Glass thickness | 2 mm |
| Initial liquid charge | 100 mL |
| Parameters | Optimized Set |
|---|---|
| GP regressor kernel | Matérn |
| Target variables | normalized |
| ν | 5/2 |
| α | 1 × 10−6 |
| K | 0.5 |
| Num. initial evaluations | 50 |
| Num. maximum optimization iteration | 200 |
| W-ρ | 1.0 |
| W-RVP | 2.5 |
| W-TX | 2.0 |
| W-EPIONA | 1.5 |
| W-complexity | 0.5 |
Publisher’s Note: MDPI stays neutral with regard to jurisdictional claims in published maps and institutional affiliations. |
© 2021 by the authors. Licensee MDPI, Basel, Switzerland. This article is an open access article distributed under the terms and conditions of the Creative Commons Attribution (CC BY) license (https://creativecommons.org/licenses/by/4.0/).
Share and Cite
Mariani, V.; Pulga, L.; Bianchi, G.M.; Falfari, S.; Forte, C. Machine Learning-Based Identification Strategy of Fuel Surrogates for the CFD Simulation of Stratified Operations in Low Temperature Combustion Modes. Energies 2021, 14, 4623. https://doi.org/10.3390/en14154623
Mariani V, Pulga L, Bianchi GM, Falfari S, Forte C. Machine Learning-Based Identification Strategy of Fuel Surrogates for the CFD Simulation of Stratified Operations in Low Temperature Combustion Modes. Energies. 2021; 14(15):4623. https://doi.org/10.3390/en14154623
Chicago/Turabian StyleMariani, Valerio, Leonardo Pulga, Gian Marco Bianchi, Stefania Falfari, and Claudio Forte. 2021. "Machine Learning-Based Identification Strategy of Fuel Surrogates for the CFD Simulation of Stratified Operations in Low Temperature Combustion Modes" Energies 14, no. 15: 4623. https://doi.org/10.3390/en14154623
APA StyleMariani, V., Pulga, L., Bianchi, G. M., Falfari, S., & Forte, C. (2021). Machine Learning-Based Identification Strategy of Fuel Surrogates for the CFD Simulation of Stratified Operations in Low Temperature Combustion Modes. Energies, 14(15), 4623. https://doi.org/10.3390/en14154623

