A Novel Active Cell Balancing Circuit and Charging Strategy in Lithium Battery Pack
Abstract
:1. Introduction
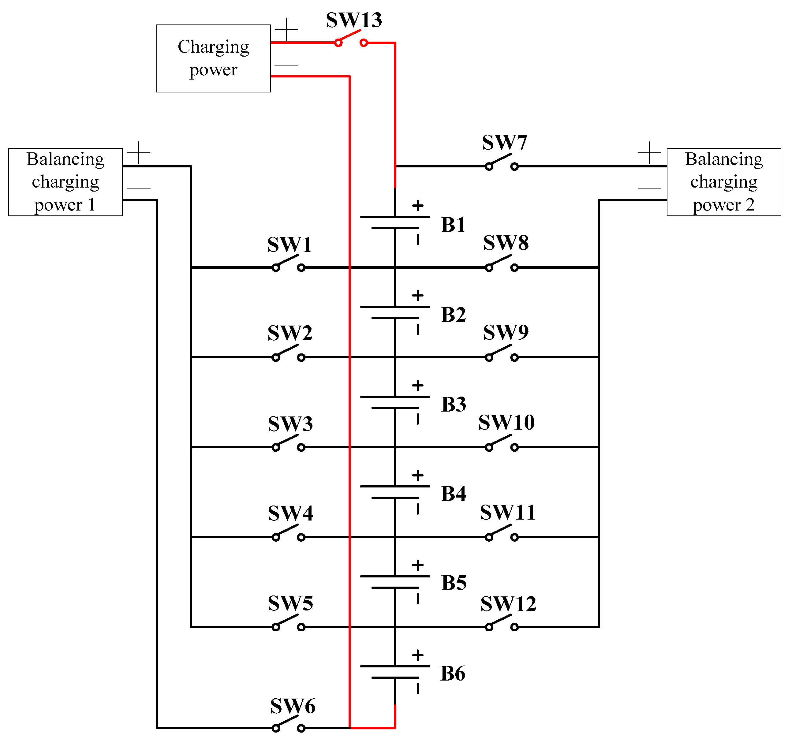
2. Structure of Active Cell Balancing Circuits
2.1. Charging Circuit of a Lithium-Battery Pack
2.2. Balancing the Charging Circuit of a Lithium-Battery Pack
2.2.1. Battery Voltage Measurement Circuit
2.2.2. Switch Circuit
2.2.3. Lithium-Battery Pack
3. The Experimental Processes
4. Testing Results and Discussions
4.1. First-Stage Pre-Balancing Current Value Analysis
4.2. Second-Stage Balancing Current Value Analysis
4.3. CC–CV Transition Voltage Analysis
4.4. Cut-Off Voltage Analysis
5. Conclusions
Author Contributions
Funding
Conflicts of Interest
References
- Momayyezan, M.; Hredzak, B.; Agelidis, V.G. A Load-Sharing Strategy for the State of Charge Balancing Between the Battery Modules of Integrated Reconfigurable Converter. IEEE Trans. Power Electron. 2017, 32, 4056–4063. [Google Scholar] [CrossRef]
- Lee, K.M.; Lee, S.W.; Kang, B. Active Balancing of Li-Ion Battery Cells Using Transformer as Energy Carrier. IEEE Trans. Ind. Electron. 2017, 64, 1251–1257. [Google Scholar] [CrossRef]
- Chatzinikolaou, E.; Rogers, D.J. Cell SoC Balancing Using a Cascaded Full-Bridge Multilevel Converter in Battery Energy Storage Systems. IEEE Trans. Ind. Electron. 2016, 63, 5394–5402. [Google Scholar] [CrossRef]
- Baughman, A.C.; Ferdowsi, M. Double-Tiered Switched-Capacitor Battery Charge Equalization Technique. IEEE Trans. Ind. Electron. 2008, 55, 2277–2285. [Google Scholar] [CrossRef]
- McCurlie, L.; Preindl, M.; Emadi, A. Fast Model Predictive Control for Redistributive Lithium-Ion Battery Balancing. IEEE Trans. Ind. Electron. 2017, 64, 1350–1357. [Google Scholar] [CrossRef]
- Altaf, F.; Egardt, B.; Johannesson, L. Load Management of Modular Battery Using Model Predictive Control: Thermal and State-of-Charge Balancing. IEEE Trans. Control Syst. Technol. 2017, 25, 47–62. [Google Scholar] [CrossRef]
- Cai, H.; Hu, G. Distributed Control Scheme for Package-Level State-of-Charge Balancing of Grid-Connected Battery Energy Storage System. IEEE Trans. Ind. Inf. 2016, 12, 1919–1929. [Google Scholar] [CrossRef]
- Yuanmao, Y.; Cheng, K.W.E.; Yeung, Y.P.B. Zero-Current Switching Switched-Capacitor Zero-Voltage-Gap Automatic Equalization System for Series Battery String. IEEE Trans. Power Electron. 2012, 27, 3234–3242. [Google Scholar] [CrossRef]
- Altaf, F.; Egardt, B. Comparative Analysis of Unipolar and Bipolar Control of Modular Battery for Thermal and State-of-Charge Balancing. IEEE Trans. Veh. Technol. 2017, 66, 2927–2941. [Google Scholar] [CrossRef]
- Liu, H.; Li, B.; Guo, Y.; Du, C.; Chen, S.; Lu, S. Research into an Efficient Energy Equalizer for Lithium-Ion Battery Packs. Energies Trans. 2018, 11, 3414. [Google Scholar] [CrossRef]
- Song, S.; Xiao, F.; Peng, S.; Song, C.; Shao, Y. A High-Efficiency Bidirectional Active Balance for Electric Vehicle Battery Packs Based on Model Predictive Control. Energies Trans. 2018, 11, 3220. [Google Scholar] [CrossRef]
- Xie, B.; Liu, Y.; Ji, Y.; Wang, J. Two-Stage Battery Energy Storage System (BESS) in AC Microgrids with Balanced State-of-Charge and Guaranteed Small-Signal Stability. Energies Trans. 2018, 11, 322. [Google Scholar] [CrossRef]
- Lin, J.C.M. Development of a New Battery Management System with an Independent Balance Module for Electrical Motorcycles. Energies Trans. 2017, 10, 1289. [Google Scholar] [CrossRef]
- Xu, J.; Cao, B.; Wang, J. A Novel Method to Balance and Reconfigure Series-Connected Battery Strings. Energies Trans. 2016, 9, 766. [Google Scholar] [CrossRef]
- Lin, C.; Mu, H.; Zhao, L.; Cao, W. A New Data-Stream-Mining-Based Battery Equalization Method. Energies Trans. 2015, 8, 6543–6565. [Google Scholar] [CrossRef]
- Zhang, D.H.; Zhu, G.R.; He, S.J.; Qiu, S.; Ma, Y.; Wu, Q.M.; Chen, W. Balancing Control Strategy for Li-Ion Batteries String Based on Dynamic Balanced Point. Energies Trans. 2015, 8, 1830–1847. [Google Scholar] [CrossRef]
- Kim, D.; Lee, J. Discharge scheduling for voltage balancing in reconfigurable battery systems. Electron. Lett. 2017, 53, 496–498. [Google Scholar] [CrossRef]
- Lee, S.W.; Lee, K.M.; Choi, Y.G. Modularized Design of Active Charge Equalizer for Li-Ion Battery Pack. IEEE Trans. on Ind. Electron. 2018, 65, 8697–8706. [Google Scholar] [CrossRef]
- Johnson, V.H. Battery Performance Models in ADVISOR. J. Power Sources. 2002, 110, 321–329. [Google Scholar] [CrossRef]
- Lambert, S.M.; Armstrong, M.; Attidekou, P.S.; Christensen, P.A.; Widmer, J.D.; Wang, C. Rapid Nondestructive-Testing Technique for In-Line Quality Control of Li-Ion Batteries. IEEE Trans. Ind. Electron. 2017, 64, 4017–4026. [Google Scholar] [CrossRef]
- Zhang, Z.; Gui, H.; Gu, D.J.; Yang, Y.; Ren, X. A Hierarchical Active Balancing Architecture for Lithium-Ion Batteries. IEEE Trans. Power Electron. 2017, 32, 2757–2768. [Google Scholar] [CrossRef]
- Pinto, C.; Barreras, J.V.; Schaltz, E.; Araujo, R.E. Evaluation of Advanced Control for Li-ion Battery Balancing Systems Using Convex Optimization. IEEE Trans. Sustain. Energy 2016, 7, 1703–1717. [Google Scholar] [CrossRef]
- Lukasiewycz, M.; Kauer, M.; Steinhorst, S. Synthesis of Active Cell Balancing Architectures for Battery Packs. IEEE Trans. Comput. Aided Des. Integr. Circuits and Syst. 2016, 35, 1876–1889. [Google Scholar] [CrossRef]
- Shang, Y.; Xia, B.; Zhang, C.; Cui, N.; Yang, J.; Mi, C. A Modularization Method for Battery Equalizers Using Multiwinding Transformers. IEEE Trans. Veh. Technol. 2017, 66, 8710–8722. [Google Scholar] [CrossRef]
- Preindl, M. A Battery Balancing Auxiliary Power Module with Predictive Control for Electrified Transportation. IEEE Trans. Ind. Electron. 2018, 65, 6552–6559. [Google Scholar] [CrossRef]
- Zhu, F.; Liu, G.; Tao, C.; Wang, K.; Jiang, K. Battery Management System for Li-ion battery. J. Eng. 2017, 2017, 1437–1440. [Google Scholar] [CrossRef]
- Frost, D.F.; Howey, D.A. Completely Decentralized Active Balancing Battery Management System. IEEE Trans. Power Electron. 2018, 33, 729–738. [Google Scholar] [CrossRef]
- Narayanaswamy, S.; Kauer, M.; Steinhorst, S.; Lukasiewycz, M.; Chakraborty, S. Modular Active Charge Balancing for Scalable Battery Packs. IEEE Trans. Very Large Scale Integr. VLSI Syst. 2017, 25, 974–987. [Google Scholar] [CrossRef]
- Quyang, Q.; Chen, J.; Zheng, J.; Fang, H. Optimal Cell-to-Cell Balancing Topology Design for Serially Connected Lithium-Ion Battery Packs. IEEE Trans. Sustain. Energy 2018, 9, 350–360. [Google Scholar] [CrossRef]
- Baronti, F.; Bernardeschi, C.; Cassano, L.; Domenici, A.; Roncella, R.; Saletti, R. Design and Safety Verification of a Distributed Charge Equalizer for Modular Li-Ion Batteries. IEEE Trans. Ind. Inf. 2014, 10, 1003–1011. [Google Scholar] [CrossRef]
- Kim, C.H.; Kim, M.Y.; Moon, G.W. A Modularized Charge Equalizer Using a Battery Monitoring IC for Series-Connected Li-Ion Battery Strings in Electric Vehicles. IEEE Trans. Power Electron. 2013, 28, 3779–3787. [Google Scholar] [CrossRef]
- Einhorn, M.; Roessler, W.; Fleig, J. Improved Performance of Serially Connected Li-Ion Batteries With Active Cell Balancing in Electric Vehicles. IEEE Trans. Veh. Technol. 2011, 60, 2448–2457. [Google Scholar] [CrossRef]
- Lee, K.M.; Chung, Y.C.; Sung, C.H.; Kang, B. Active Cell Balancing of Li-Ion Batteries Using LC Series Resonant Circuit. IEEE Trans. Ind. Electron. 2015, 62, 5491–5501. [Google Scholar] [CrossRef]
- Patnaik, L.; Praneeth, A.V.J.S.; Williamson, S.S. A Closed-Loop Constant-Temperature Constant-Voltage Charging Technique to Reduce Charge Time of Lithium-Ion Batteries. IEEE Trans. Ind. Electron. 2019, 66, 1059–1067. [Google Scholar] [CrossRef]





















| Shape/Can Material | Cylindrical/Steel |
|---|---|
| Typical Capacity | 1500 mAh |
| Minimum Capacity | 1400 mAh |
| Nominal Voltage | 3.6 V |
| Charge Voltage | 4.2 V ± 0.05 V |
| Charge Current | Less than 9 A |
| Charge Time | 1.5 h |
| Discharge current (Max.) | 30 A |
| Discharge Cutoff Voltage | 2.0 V |
| State | Situation | Switching Action State (1 Represents ON; 0 Represents OFF) | |||||||||||
|---|---|---|---|---|---|---|---|---|---|---|---|---|---|
| S1 | S2 | S3 | S4 | S5 | S6 | S7 | S8 | S9 | S10 | S11 | S12 | ||
| 1 | The maximum voltage difference is less than 0.05 V. | 0 | 0 | 0 | 0 | 0 | 0 | 0 | 0 | 0 | 0 | 0 | 0 |
| 2 | Battery 1 has the maximum voltage. | 1 | 0 | 0 | 0 | 0 | 1 | 0 | 0 | 0 | 0 | 0 | 0 |
| 3 | Battery 2 has the maximum voltage. | 0 | 1 | 0 | 0 | 0 | 1 | 1 | 1 | 0 | 0 | 0 | 0 |
| 4 | Battery 3 has the maximum voltage. | 0 | 0 | 1 | 0 | 0 | 1 | 1 | 0 | 1 | 0 | 0 | 0 |
| 5 | Battery 4 has the maximum voltage. | 0 | 0 | 0 | 1 | 0 | 1 | 1 | 0 | 0 | 1 | 0 | 0 |
| 6 | Battery 5 has the maximum voltage. | 0 | 0 | 0 | 0 | 1 | 1 | 1 | 0 | 0 | 0 | 1 | 0 |
| 7 | Battery 6 has the maximum voltage. | 0 | 0 | 0 | 0 | 0 | 0 | 1 | 0 | 0 | 0 | 0 | 1 |
| First-Stage Pre-Balancing | Second-Stage Balancing | CC–CV Transition Condition | Cut-Off Condition |
|---|---|---|---|
| 1 C | 1 C | Maximum battery voltage 4.2 V | Maximum battery voltage 4.25 V |
| 0.5 C | 0.5 C | Maximum battery voltage 4.15 V | Maximum battery voltage 4.2 V |
| 0.2 C | 0.2 C | Maximum battery voltage 4.1 V | Maximum battery voltage 4.15 V |
| Current | Balancing Speed | Voltage Reduction after Turning off Switch | Voltage Difference after First-Stage Charging Commences |
|---|---|---|---|
| 1 C | Fast | Great | Great |
| 0.5 C | Average | Average | Average |
| 0.2 C | Slow | Small | Small |
| Current | Charging Current Coupled with Balancing Charging Current | Switching Voltage Change | Voltage Stability |
|---|---|---|---|
| 1 C | Great (2 C) | Great | Low |
| 0.5 C | Average (1.5 C) | Average | Average |
| 0.2 C | Small (1.2 C) | Small | High |
| Maximum Battery Voltage | CV Charging Time | Voltage Difference after Charging Completes and Setting Aside | Average Voltage after Charging Completes and Setting Aside |
|---|---|---|---|
| 4.2 V | Short (278 s) | Average (0.032 V) | Low (4.165 V) |
| 4.15 V | Average (418 s) | Great (0.036 V) | Average (4.172 V) |
| 4.1 V | Long (1631 s) | Small (0.024 V) | High (4.218 V) |
| Maximum Battery Voltage | Total Charging Time | Voltage Difference after Charging Completes and Setting Aside | Average Voltage after Charging and Setting Aside |
|---|---|---|---|
| 4.25 V | Long (4357 s) | Great (0.032 V) | High (4.165 V) |
| 4.2 V | Average (3931 s) | Average (0.028 V) | Average (4.129 V) |
| 4.15 V | Short (3873 s) | Small (0.022 V) | Low (4.044 V) |
| Six Actual Test Results | With Greatest Initial Voltage | |||||
|---|---|---|---|---|---|---|
| Battery 1 | Battery 2 | Battery 3 | Battery 4 | Battery 5 | Battery 6 | |
| Initial voltage difference | 0.268 V | 0.244 V | 0.274 V | 0.268 V | 0.244 V | 0.272 V |
| Final voltage difference | 0.024 V | 0.024 V | 0.05 V | 0.044 V | 0.032 V | 0.022 V |
| Average voltage | 4.161 V | 4.163 V | 4.176 V | 4.179 V | 4.169 V | 4.171 V |
| First-stage pre-balancing completion time | 1058 s | 797 s | 752 s | 718 s | 598 s | 843 s |
| Total charging time | 3724 s | 3588 s | 3494 s | 3481 s | 3498 s | 3724 s |
© 2019 by the authors. Licensee MDPI, Basel, Switzerland. This article is an open access article distributed under the terms and conditions of the Creative Commons Attribution (CC BY) license (http://creativecommons.org/licenses/by/4.0/).
Share and Cite
Wu, S.-L.; Chen, H.-C.; Chien, C.-H. A Novel Active Cell Balancing Circuit and Charging Strategy in Lithium Battery Pack. Energies 2019, 12, 4473. https://doi.org/10.3390/en12234473
Wu S-L, Chen H-C, Chien C-H. A Novel Active Cell Balancing Circuit and Charging Strategy in Lithium Battery Pack. Energies. 2019; 12(23):4473. https://doi.org/10.3390/en12234473
Chicago/Turabian StyleWu, Shing-Lih, Hung-Cheng Chen, and Chih-Hsuan Chien. 2019. "A Novel Active Cell Balancing Circuit and Charging Strategy in Lithium Battery Pack" Energies 12, no. 23: 4473. https://doi.org/10.3390/en12234473
APA StyleWu, S.-L., Chen, H.-C., & Chien, C.-H. (2019). A Novel Active Cell Balancing Circuit and Charging Strategy in Lithium Battery Pack. Energies, 12(23), 4473. https://doi.org/10.3390/en12234473
