Anthropo-Mechanical Cradles: A Multidisciplinary Review
Abstract
1. Introduction
2. The Influence of Rocking on the Baby, a Brief Review of the Literature
3. The Proposed Categorization of Cradle Types Based on State of the Art and Types of Cradles
4. Mechatronic Cradle Designs in the Scientific Literature
5. Kinematics of the Gait of a Pregnant Woman: A Brief Review of the Literature and Basic Calculations
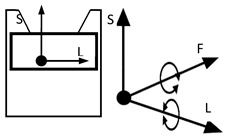
- When selecting the parameters of the movement of the anthropo-mechanical cradle, apart from the amplitude in the vertical axis (Z axis in mm) and the frequency (in Hz), it is worth taking into account the remaining parameters of the dynamics of the movement of the woman’s center of mass (CoM) while walking, i.e., amplitudes and accelerations acting on the three anatomical axes of the body (L, F, and S).
- At each tilt, the directions of the accelerations aL, aF, and aS change in the cradle. The direction of the CoM acceleration vector changes only for the S (vertical) and F (transverse) axes during the mother’s gait. For the L axis, the direction of the acceleration vector is constant. Thus, the resultant movement of CoM is quite complex. It takes place simultaneously within the three axes L, F, and S. The challenge would be to obtain a cradle movement where the position of the fetus during pregnancy and the parameters of the physiological gait of a given mother would be correlated. It would then be possible to program the cradle to adjust to each child individually and imitate the movement of being in its mother’s womb. It seems that typical cradles (Table 3) do not best reflect the movement of the CoM within a pregnant woman’s gait. Therefore, a new solution for the cradle structure should be proposed.
- The frequency of the cradle’s motion must not exceed the resonant frequency of the baby’s organs, as it could pose a danger to the child’s health. Fortunately, these frequencies are larger than the postulated range (up to 2 Hz). As is known, the resonant frequency of the human body ranges from 5 to 10 Hz—depending on the individual’s body structure and position—lying, standing, or sitting [68]. However, excitations of a lower frequency can stimulate the abdominal organs to experience strong vibrations [69].
6. Conclusions
- The harmonic movement has a beneficial effect on babies; in particular, rhythmic rocking of the cradle has a positive impact on the development of an infant’s brain and a beneficial therapeutic effect on premature babies. Cradle rocking can naturally link a baby’s two stages of life: when the fetus is rocked in the womb by the mother’s motion of locomotion and the period of independent walking.
- A crucial component of a cradle’s design involves the safety requirements to prevent falls and entrapment. To avoid the risk of the child falling out: footholds in the cradles are not allowed, minimum side heights are strictly defined, and the maximum age of a child sleeping in the cradle is five months. An excessive tilt of the cradle greater than 10° should be avoided to prevent strangulation or suffocation risks.
- The multidisciplinary literature review and kinematic analyses suggest that cradles should be classified from the point of view of the possibilities and limitations of a child’s rocking motion parameters and not from a view of the external forms. That is why we proposed a classification of cradles into six types, offering from 2 to 5 degrees of freedom in various configurations (tilting, yawing, hammock, Sarong, swing, and surging cradle).
- Modern technology enables the design of cradle movement to include more thoughtful parameters and ensure the safety of the child. This includes calculating the approximate movement characteristics of the center of mass within the human body while in motion, as well as designing the limits of a cradle’s tilt to correspond with the directions and parameters of the spatial positions of the pelvis during human gait patterns.
- Compared to mechanically driven cradles, it is preferable to use “anthropo-mechanical” cradle movements to prevent a child from being overstimulated. Child movement in an “anthropo-mechanical” cradle should be maintained within the parameters of the passive motion, and speed performed within the mother’s womb while walking can be considered safe. The movement parameters in such a safe cradle should be determined based on the mother’s height. According to our analysis, safe cradle movements could be achieved by having a vertical amplitude ranging from −13 to +15 mm and a frequency of up to 2 Hz. The frequencies of the cradle’s movement must not coincide with the resonant frequencies of the baby’s organs, as it can pose dangerous effects on the child’s health.
Author Contributions
Funding
Institutional Review Board Statement
Informed Consent Statement
Data Availability Statement
Conflicts of Interest
References
- Branowski, B.; Zabłocki, M.; Sydor, M. Experimental Analysis of New Furniture Joints. Bioresources 2018, 13, 370–382. [Google Scholar] [CrossRef]
- Réh, R.; Krišťák, Ľ.; Hitka, M.; Langová, N.; Joščák, P.; Čambál, M. Analysis to Improve the Strength of Beds Due to the Excess Weight of Users in Slovakia. Sustainability 2019, 11, 624. [Google Scholar] [CrossRef]
- Branowski, B.; Starczewski, K.; Zabłocki, M.; Sydor, M. Design Issues of Innovative Furniture Fasteners for Wood-Based Boards. Bioresources 2020, 15, 8472–8495. [Google Scholar] [CrossRef]
- Skorupińska, E.; Wiaderek, K.; Sydor, M. The Withdrawal Resistance of T-Nuts in Various Furniture Materials. Drv. Ind. 2022, 73, 271–277. [Google Scholar] [CrossRef]
- Hitka, M.; Gejdoš, M.; Klement, I.; Simanová, Ľ. Dimensional Solution for Beds from Wood Composites for the Bariatric Population. BioRes 2022, 17, 6656–6667. [Google Scholar] [CrossRef]
- Branowski, B.; Zabłocki, M.; Kurczewski, P.; Sydor, M. A Method for Modeling the Individual Convenient Zone of a Human. Int. J. Environ. Res. Public Health 2022, 19, 10405. [Google Scholar] [CrossRef] [PubMed]
- Parsons, G.G.; Carlson, A.A. Functional Beauty; Oxford University Press: Oxford, UK, 2009; p. 272. ISBN 9780191709296. [Google Scholar]
- Bonenberg, A.; Branowski, B.; Kurczewski, P.; Lewandowska, A.; Sydor, M.; Torzyński, D.; Zabłocki, M. Designing for Human Use: Examples of Kitchen Interiors for Persons with Disability and Elderly People. Hum. Factors Man. 2019, 29, 177–186. [Google Scholar] [CrossRef]
- Agran, P.F.; Anderson, C.; Winn, D.; Trent, R.; Walton-Haynes, L.; Thayer, S. Rates of Pediatric Injuries by 3-Month Intervals for Children 0 to 3 Years of Age. Pediatrics 2003, 111, e683–e692. [Google Scholar] [CrossRef]
- Reynolds, H.M. A Foundation for Systems Anthropometry: Phase 1; Highway Safety Research Institute, University of Michigan: Ann Arbor, MI, USA, 1977; p. 131. [Google Scholar]
- Baek, S.; Yu, H.; Roh, J.; Lee, J.; Sohn, I.; Kim, S.; Park, C. Effect of a Recliner Chair with Rocking Motions on Sleep Efficiency. Sensors 2021, 21, 8214. [Google Scholar] [CrossRef]
- Obladen, M. Swinging and Rocking: Two Millennia of Debating the Cradle. Neonatology 2021, 118, 198–205. [Google Scholar] [CrossRef]
- Pignataro, O.; Rossi, L.; Gaini, R.; Oldini, C.; Sambataro, G.; Nino, L. The Evolution of the Vestibular Apparatus According to the Age of the Infant. Int. J. Pediatr. Otorhinolaryngol. 1979, 1, 165–170. [Google Scholar] [CrossRef] [PubMed]
- Clark, D.L.; Kreutzberg; Chee, F.K.W. Vestibular Stimulation Influence on Motor Development in Infants. Science 1977, 196, 1228–1229. [Google Scholar] [CrossRef] [PubMed]
- Cordero, L.; Clark, D.; Schott, L. Effects of Vestibular Stimulation on Sleep States in Premature Infants. Amer J. Perinatol 1986, 3, 319–324. [Google Scholar] [CrossRef] [PubMed]
- Tuck, S.J.; Monin, P.; Duvivier, C.; May, T.; Vert, P. Effect of a Rocking Bed on Apnoea of Prematurity. Arch. Dis. Child. 1982, 57, 475–477. [Google Scholar] [CrossRef]
- Chisholm, J.S. Swaddling, Cradleboards and the Development of Children. Early Hum. Dev. 1978, 2, 255–275. [Google Scholar] [CrossRef]
- Thelen, E. Determinants of Amounts of Stereotyped Behavior in Normal Human Infants. Ethol. Sociobiol. 1980, 1, 141–150. [Google Scholar] [CrossRef]
- Malcuit, G.; Pomerleau, A.; Brosseau, N. Cardiac and Behavioral Responses to Rocking Stimulations in One- and Three-Month-Old Infants. Percept Mot Ski. 1988, 66, 207–217. [Google Scholar] [CrossRef]
- Bayer, L.; Constantinescu, I.; Perrig, S.; Vienne, J.; Vidal, P.-P.; Mühlethaler, M.; Schwartz, S. Rocking Synchronizes Brain Waves during a Short Nap. Curr. Biol. 2011, 21, R461–R462. [Google Scholar] [CrossRef]
- Korner, A.F.; Guilleminault, C.; Van den Hoed, J.; Baldwin, R.B. Reduction of Sleep Apnea and Bradycardia in Preterm Infants on Oscillating Water Beds: A Controlled Polygraphic Study. Pediatrics 1978, 61, 528–533. [Google Scholar] [CrossRef]
- Osborn, D.A.; Henderson-Smart, D.J. Kinesthetic Stimulation for Treating Apnea in Preterm Infants. Cochrane Database Syst. Rev. 2000, 1999, CD000499. [Google Scholar] [CrossRef]
- Kramer, L.I.; Pierpont, M.E. Rocking Waterbeds and Auditory Stimuli to Enhance Growth of Preterm Infants. Preliminary Report. J. Pediatr. 1976, 88, 297–299. [Google Scholar] [CrossRef] [PubMed]
- Byard, R.W.; Beal, S.; Bourne, A.J. Potentially Dangerous Sleeping Environments and Accidental Asphyxia in Infancy and Early Childhood. Arch. Dis. Child. 1994, 71, 497–500. [Google Scholar] [CrossRef] [PubMed]
- Beal, S.M.; Moore, L.; Collett, M.; Montgomery, B.; Sprod, C.; Beal, A. The Danger of Freely Rocking Cradles. J. Paediatr. Child Health 1995, 31, 38–40. [Google Scholar] [CrossRef] [PubMed]
- Moore, L.; Bourne, A.J.; Beal, S.; Collett, M.; Byard, R.W. Unexpected Infant Death in Association with Suspended Rocking Cradles. Am. J. Forensic Med. Pathol. 1995, 16, 177–180. [Google Scholar] [CrossRef] [PubMed]
- Ackerman, J.; Gilbert-Barness, E. Suspended Rocking Cradles, Positional Asphyxia, and Sudden Infant Death. Arch. Pediatr. Adolesc. Med. 1997, 151, 573–575. [Google Scholar] [CrossRef]
- Saha, A.; Batra, P.; Bansal, A. Strangulation Injury from Indigenous Rocking Cradle. J. Emerg. Trauma Shock 2010, 3, 298. [Google Scholar] [CrossRef]
- Nimityongskul, P.; Anderson, L.D. The Likelihood of Injuries When Children Fall Out of Bed. J. Pediatr. Orthop. 1987, 7, 184–186. [Google Scholar] [CrossRef]
- Lyons, T.J.; Oates, R.K. Falling out of Bed: A Relatively Benign Occurrence. Pediatrics 1993, 92, 125–127. [Google Scholar] [PubMed]
- Macgregor, D.M. Injuries Associated with Falls from Beds. Inj. Prev. 2000, 6, 291–292. [Google Scholar] [CrossRef]
- Wegmann, H.; Orendi, I.; Singer, G.; Eberl, R.; Castellani, C.; Schalamon, J.; Till, H. The Epidemiology of Fractures in Infants – Which Accidents Are Preventable? Injury 2016, 47, 188–191. [Google Scholar] [CrossRef]
- Kokulu, K.; Algın, A.; Özdemir, S.; Akça, H.Ş. Characteristics of Injuries among Infants Who Fall from Bed. Injury 2021, 52, 281–285. [Google Scholar] [CrossRef] [PubMed]
- Ng, I.; Seow, E.; Lee, L.; Ho, L. Closed Head Injuries in Children Following the Use of a Sarong Cradle. Singapore Med. J. 1997, 38, 517–519. [Google Scholar] [PubMed]
- D’Apolito, K. Comparison of a Rocking Bed Standard Bed for Decreasing Withdrawal Symptoms in Drug-Exposed Infants. MCN Am. J. Mater. Child. Nurs. 1999, 24, 138–144. [Google Scholar] [CrossRef] [PubMed]
- Warrington, S.A.; Wright, C.M. ALSPAC Study Team Accidents and Resulting Injuries in Premobile Infants: Data from the ALSPAC Study. Arch. Dis. Child. 2001, 85, 104–107. [Google Scholar] [CrossRef]
- Veselovský, J.; Baďura, R. Slovakian Folk Wooden Cradle Design, Construction, Typology and Kinematics. Acta Fac. Xylologiae 2017, 59, 155–1666. [Google Scholar] [CrossRef]
- Anderson, W. A Plea for Uniformity in the Delimitation of the Regions of the Abdomen. J Anat Physiol 1892, 26, 543–547. [Google Scholar]
- Lu, C.-H.; Luo, C.-H.; Chen, Y.-J.; Yeh, T.-F. An Automatic Swinging Instrument for Better Neonatal Growing Environment. Rev. Sci. Instrum. 1997, 68, 3192–3196. [Google Scholar] [CrossRef]
- Ching-Hsing, L.; Cheng-Hsing, L.; Yung-Jung, C.; Tsu-Fuh, Y. Adaptive Cradle for the Neonatal Growth. In Proceedings of the 20th Annual International Conference of the IEEE Engineering in Medicine and Biology Society, Hong Kong, China, 1 November 1998; Volume 20, pp. 1803–1807. [Google Scholar]
- Burunkaya, M.; Güler, İ. Remote Control of Microcontroller-Based Infant Stimulating System. J. Med. Syst. 2000, 24, 131–140. [Google Scholar] [CrossRef]
- Hu, Y.; Gui, W. Adaptive Sway Control for Baby Bassinet Based on Artificial Metabolic Algorithm. In Proceedings of the 2009 Chinese Control and Decision Conference, Guilin, China, 17–19 June 2009; pp. 2426–2429. [Google Scholar]
- Bang, S.; Lam, R.; LoCicero, N. Rock Me Baby: The Automatic Baby Rocker; San Jose State University, Department of Mechanical and Aerospace Engineering: San Jose, CA, USA, 2011. [Google Scholar]
- Sudharsanan, S.; Karthikeyan, B. The Design of a Real-Time Accelerometer-Based Baby Sleeping Position Monitoring and Correction System. IJBET 2013, 12, 189. [Google Scholar] [CrossRef]
- Chao, C.-T.; Wang, C.-W.; Chiou, J.-S.; Wang, C.-J. An Arduino-Based Resonant Cradle Design with Infant Cries Recognition. Sensors 2015, 15, 18934–18949. [Google Scholar] [CrossRef]
- Bhatnagar, N.; Shinghal, K.; Saxena, A.; Tiwari, N.; Bhatnagar, S.; Kumar, S. Design of Automatic & Indigenous E-Cradle. Imp. J. Interdiscip. Res. 2016, 2, 328–333. [Google Scholar]
- Elmas, F.; Yilmaz, A.; Garip, M. Rocking Motion of the Baby Sleeping on the Mother’s Lap: Modeling and Prototype Automatic Swing Cradle Design. In Proceedings of the 2017 Electric Electronics, Computer Science, Biomedical Engineerings’ Meeting (EBBT), Istanbul, Turkey, 20 April 2017; pp. 1–4. [Google Scholar]
- Liu, Y.; Zheng, D.; Lin, T.; Liu, X.; Wang, D.; Hopfgartner, F. Smart Crib Control System Based on Sentiment Analysis. In Proceedings of the 2018 IEEE 16th Intl Conf on Dependable, Autonomic and Secure Computing, 16th Intl Conf on Pervasive Intelligence and Computing, 4th Intl Conf on Big Data Intelligence and Computing and Cyber Science and Technology Congress(DASC/PiCom/DataCom/CyberSciTech), Athens, Greece, 12 August 2018; pp. 222–229. [Google Scholar]
- Anish, M.N.; Ajith, T.G.; Ashraf, A.; Shaji, R.; Sangeetha, C. Infant Cry Detection Based On Artificial Neural Network for an Intelligent Baby Cradle. In Proceedings of the 2019 International Conference on Intelligent Computing and Control Systems (ICCS), Madurai, India, 5 May 2019; pp. 27–30. [Google Scholar]
- Jabbar, W.A.; Shang, H.K.; Hamid, S.N.I.S.; Almohammedi, A.A.; Ramli, R.M.; Ali, M.A.H. IoT-BBMS: Internet of Things-Based Baby Monitoring System for Smart Cradle. IEEE Access 2019, 7, 93791–93805. [Google Scholar] [CrossRef]
- Nasimsha, N.; Kumar, G.M.; Rajalakshmi, T.; Gafoor, E.R. Automated Cradle with Incubator for Infants. Biomed. Eng. Appl. Basis Commun. 2020, 32, 2050037. [Google Scholar] [CrossRef]
- Prusty, V.; Rath, A.; Biswal, P.K.; Rout, K.K. Internet of Things Based Smart Baby Cradle. In Innovative Data Communication Technologies and Application; Lecture Notes on Data Engineering and Communications Technologies; Raj, J.S., Bashar, A., Ramson, S.R.J., Eds.; Springer International Publishing: Cham, Switzerland, 2020; Volume 46, pp. 793–799. ISBN 978-3-030-38039-7. [Google Scholar]
- Duman, U.; Aydin, E. IoT Based Baby Cradle System with Real Time Data Tracking. In Proceedings of the 2020 5th International Conference on Computer Science and Engineering (UBMK), Diyarbakır, Turkey, 9 September 2020; pp. 274–279. [Google Scholar]
- Shahadi, H.I.; Muhsen, D.H.; Haider, H.T.; Taherinia, A.H. Design and Implementation of a Smart Baby Crib. IOP Conf. Ser. Mater. Sci. Eng. 2020, 671, 012050. [Google Scholar] [CrossRef]
- Devi, R. Design and Development of IOT Based Baby Cradle. In Proceedings of the International Conference on Emerging Technologies: AI, IoT and CPS for Science & Technology Applications; CEUR Workshop Proceedings (CEUR-WS.org): Chandigarh, India, 2021; Volume 3058, p. 17. [Google Scholar]
- Pratap, N.L.; Anuroop, K.; Devi, P.N.; Sandeep, A.; Nalajala, S. IoT Based Smart Cradle for Baby Monitoring System. In Proceedings of the 2021 6th International Conference on Inventive Computation Technologies (ICICT), Coimbatore, India, 20 January 2021; pp. 1298–1303. [Google Scholar]
- Malhotra, R.; Bansal, I.; Muskan; Sandhu, M. The Smart Anti COVID Cradle with Geometrical Interventions. In Proceedings of the AIP Conference Proceedings 2357; AIP Publishing: Rajpura, India, 2022; p. 100014. [Google Scholar]
- Kumar, V.S.; Pullagura, L.; Kumari, N.V.; Pooja Nayak, S.; Devi, B.P.; Alharbi, A.; Asakipaam, S.A. Internet of Things-Based Patient Cradle System with an Android App for Baby Monitoring with Machine Learning. Wirel. Commun. Mob. Comput. 2022, 2022, 1–11. [Google Scholar] [CrossRef]
- Reyes-Galaviz, O.F.; Cano-Ortiz, S.D.; Reyes-García, C.A. Evolutionary-Neural System to Classify Infant Cry Units for Pathologies Identification in Recently Born Babies. In Proceedings of the 2008 Seventh Mexican International Conference on Artificial Intelligence, Mexico, Mexico, 27 October 2008; pp. 330–335. [Google Scholar]
- Saraswathy, J.; Hariharan, M.; Yaacob, S.; Khairunizam, W. Automatic Classification of Infant Cry: A Review. In Proceedings of the 2012 International Conference on Biomedical Engineering (ICoBE), Penang, Malaysia, 27 February 2012; pp. 543–548. [Google Scholar]
- Zamzmi, G.; Kasturi, R.; Goldgof, D.; Zhi, R.; Ashmeade, T.; Sun, Y. A Review of Automated Pain Assessment in Infants: Features, Classification Tasks, and Databases. IEEE Rev. Biomed. Eng. 2018, 11, 77–96. [Google Scholar] [CrossRef]
- Ji, C.; Mudiyanselage, T.B.; Gao, Y.; Pan, Y. A Review of Infant Cry Analysis and Classification. J. Audio Speech Music Proc. 2021, 2021, 8. [Google Scholar] [CrossRef]
- Gedliczka, A.; Pochopień, P. Atlas Miar Człowieka: Dane do Projektowania i Oceny Ergonomicznej: Antropometria, Biomechanika, Przestrzeń Pracy, Wymiary Bezpieczeństwa/Atlas of Human Measures: Data for Ergonomic Design and Assessment: Anthropometry, Biomechanics, Work Space, Safety Dimensions; Centralny Instytut Ochrony Pracy: Warszawa, Poland, 2001; ISBN 978-83-88703-38-6. [Google Scholar]
- Forczek, W.; Staszkiewicz, R. Changes of kinematic gait parameters due to pregnancy. Acta Bioeng. Biomech. 2012, 14, 113–119. [Google Scholar]
- Branco, M.; Santos-Rocha, R.; Aguiar, L.; Vieira, F.; Veloso, A. Kinematic Analysis of Gait in the Second and Third Trimesters of Pregnancy. J. Pregnancy 2013, 2013, 1–9. [Google Scholar] [CrossRef]
- Carpentier, J.; Benallegue, M.; Laumond, J.-P. On the Centre of Mass Motion in Human Walking. Int. J. Autom. Comput 2017, 14, 542–551. [Google Scholar] [CrossRef]
- Jansen, K.; De Groote, F.; Duysens, J.; Jonkers, I. How Gravity and Muscle Action Control Mediolateral Center of Mass Excursion during Slow Walking: A Simulation Study. Gait Posture 2014, 39, 91–97. [Google Scholar] [CrossRef]
- Brownjohn, J.M.W.; Zheng, X. Discussion of Human Resonant Frequency. In Proceedings of the Second International Conference on Experimental Mechanics; Chau, F.S., Quan, C., Eds.; The International Society for Optical Engineering: Bellingham, WA, USA, 2001; Volume 4317, pp. 469–474. [Google Scholar]
- Lucas, L.K.; Ko, Y.H. Modelling of the Human Body Under the Exposure to Recumbent Whole-Body Vibration. IOP Conf. Ser. Mater. Sci. Eng. 2020, 815, 012015. [Google Scholar] [CrossRef]
- Byrne, J.M.; Horowitz, F.D. Rocking as a Soothing Intervention: The Influence of Direction and Type of Movement. Infant Behav. Dev. 1981, 4, 207–218. [Google Scholar] [CrossRef]
- Vrugt, D.T.; Pederson, D.R. The Effects of Vertical Rocking Frequencies on the Arousal Level in Two-Month-Old Infants. Child Dev. 1973, 44, 205. [Google Scholar] [CrossRef] [PubMed]
- Thomas, S. Soothing Crying Babies and Preventing Shaken Baby Syndrome. Inter. J. Nurs. Educ. 2016, 8, 34. [Google Scholar] [CrossRef]
- Provasi, J.; Blanc, L.; Carchon, I. The Importance of Rhythmic Stimulation for Preterm Infants in the NICU. Children 2021, 8, 660. [Google Scholar] [CrossRef]
- Roach, J.A. Newborn Stimulation. Awhonn Lifelines 2003, 7, 530–535. [Google Scholar] [CrossRef] [PubMed]
- Esposito, G.; Yoshida, S.; Ohnishi, R.; Tsuneoka, Y.; Rostagno, M.; Del Carmen Rostagno, M.; Yokota, S.; Okabe, S.; Kamiya, K.; Hoshino, M.; et al. Infant Calming Responses during Maternal Carrying in Humans and Mice. Curr. Biol. 2013, 23, 739–745. [Google Scholar] [CrossRef]
- Berecz, B.; Cyrille, M.; Casselbrant, U.; Oleksak, S.; Norholt, H. Carrying Human Infants—An Evolutionary Heritage. Infant Behav. Dev. 2020, 60, 101460. [Google Scholar] [CrossRef]
- Bornstein, M.H.; Putnick, D.L.; Suwalsky, J.T.D.; Rigo, P.; Esposito, G.; Swain, J.E.; Su, X.; Du, X.; Zhang, K.; Cot, L.R.; et al. Neurobiology of Culturally Common Maternal Responses to Infant Cry. In Parenting: Selected Writings of Marc H. Bornstein; World Library of Psychologists; Routledge: New York, NY, USA, 2022; p. 18. ISBN 978-1-00-316757-0. [Google Scholar]








| The Range of Tests | The Confirmed Influence of Rocking on the Child | Reference, Year, and Number of Citations in Scopus |
|---|---|---|
| The development of healthy children | Rocking has a positive effect and replaces social contacts | [17], 36 |
| A rhythmical stereotypy is beneficial for infants | [18], 60 | |
| Vestibular, kinesthetic stimulation has a positive homeostatic effect | [19], 5 | |
| Rocking is beneficial during a short nap | [20], 66 | |
| It is unclear whether rocking has any long-term benefit or harm for the infant. However, it is used in many cultures | [12], 0 | |
| Therapeutic effect on premature babies | Gently oscillating water beds reduce apnea in premature babies | [21], 62 |
| Rocking prevents sleep apnea attacks in premature babies | [16], 23 | |
| The kinesthetic stimulation is used at treating sleep apnea of prematurity | [22], 19 | |
| Rocked premature babies were more eager to eat and increased body weight faster | [23], 77 | |
| Vestibular stimulation (rotatory and torsion swing test) supports the sensorial maturation of Small for Gestational Age infants | [13], 7 |
| The Type of Threat | Consequences of the Threat | Reference, Year, and Number of Citations in Scopus |
|---|---|---|
| Danger to life | Suffocation caused by a cradle tilted greater than 10 degrees or too soft a mattress | [24], 1994, 75 [25], 1995, 10 [26], 1995, 18 [27], 1997, 10 [28], 2010, 10 |
| Health hazard | Falling out of bassinets (including cradles) | [29], 1987, 137 [30], 1993, 151 [31], 2000, 34 [32], 2016, 13 [33], 2021, 0 |
| Falling out of Sarong’s cradle | [34], 1997, 4 | |
| Overstimulation | A mechanical rocking bed could increase withdrawal symptoms in drug-affected infants | [35], 1999, 27 |
| (a) Tilting Cradle | (b) Yawing Cradle | (c) Hammock Cradle—Two Variants: | |
|---|---|---|---|
| (c1) | (c2) | ||
![]() (Tuli cradle, Nuki, Poland) | ![]() (Caden bassinet, RH, USA) | ![]() (LEA, Mamaania, Poland) (Kaya Natura, Frommummy, PL) | |
![]() | ![]() | ![]() | |
| (d) sarong cradle or one pendulum | (e) swing cradle or two pendulums | (f) surging cradle or four pendulums cradle | |
![]() (Leander Hanging Baby Cradle, Cuckooland, Great Britain) | ![]() (Montessori Bed, Montessori Bed Plans, n.d.) | ![]() (Anna Glider, Troll Nursery, Latvia.) | |
![]() | ![]() | ![]() | |
| Notation: F—frontal axis, L— longitudinal axis, S—sagittal axis (according to Figure 3) | |||
| Longitudinal Axis (LA) | Sagittal Axis (SA) | Frontal Axis (FA) | Transverse Plane (TP) | Sagittal Plane (SP) | Coronal Plane (CP) | No. Degrees of Freedom (DoF) | |
|---|---|---|---|---|---|---|---|
| Cradle a | ✓ | (–) | (–) | ✓ | (–) | (–) | 2 |
| Cradle b | (–) | (–) | ✓ | (–) | ✓ | (–) | 2 |
| Cradle c | ✓ | (–) | (–) | ✓ | (–) | (–) | 2 |
| Cradle d | ✓ | ✓ | ✓ | ✓ | ✓ | (–) | 5 |
| Cradle e | ✓ | (–) | ✓ (–) | ✓ | ✓ (–) | (–) | 3 + 1 (–) |
| Cradle f | ✓ (–) | (–) | (–) | (–) | (–) | ✓ | 1 + 1 (–) |
| Bibliographic Reference, Publication Year and No. of Citations in Scopus | The Essence of the Concept | |
|---|---|---|
| [39], 1997, 2 | Pendulum swinging system. Swing parameters are in the range of 0.4–1 Hz and 0.36–3.6° | |
| [40], 1998, 0 | A swinging system with a noncontact magnetic driving force and various programmable swinging patterns. The band of frequency is limited from 0.4 Hz to 1 Hz, desired swing amplitude of ±0.0018 rad (±0.1°) | |
| [41], 2000, 2 | A “static” (nonadaptive) system of a remote swing program selection. Swing parameters within the range 45–50 cycles/min. were used (0.75–83 Hz). The system should not be operated for more than 30 min. | |
| [42], 2009, 1 | Motion sensors, a microphone for recording a baby’s cry, and a system that performs the movement with parameters selected by the algorithm. The cradle movement limits have not been specified. | |
| [43], 2011, – | A system detects the baby’s crying, then activates swinging and colored lights. Cradle movement limits the use of parameters that have not been specified (San Jose State University project, not indexed in Scopus). | |
| [44], 2013, 4 | A real-time baby sleeping position monitoring and correction system to avoid SIDS (the cradle motors prevent the baby against to sleep in its prone position). Cradle movement limits parameters have not been specified | |
| [45], 2015, 6 | Electrically driven cradle with infant cry recognition. The cradle drive uses resonance to reduce energy consumption during use. The desired movement parameters were not specified | Automatic “intelligent” rocking programs, e.g., automatic start swinging when the baby cries, if the baby stops crying before the specified time, the cradle will stop if no alarm or message will be sent to baby caretakers. |
| [46], 2016, – | Electric-powered cradle with baby cry recognition and mattress wet alarm. | |
| [47], 2017, 1 | The mother’s motion while sleeping with her baby on her lap was modeled and re-created in the cradle. A maximum speed of 0.04 m/s was adopted, and 2 m/s2 was the starting acceleration of the cradle. | |
| [48], 2018, 0 | The crying detection and classification (hungry, pain, sleepy, non-crying) system saves the collected data on the server and shares them via the mobile application. Three types of cradle operation: rocking, activating calming music, and alarm. The swing motion parameters have not been specified. | |
| [49], 2019, 0 | Infant cry detector and wet mattress sensor, then swinging or sending a message to caregivers. The swing motion parameters have not been specified. | |
| [50], 2019, 30 | Remote supervision of a child in the cradle using a laptop or smartphone. Infant crying detection and automatic swing activation. Supervise the humidity and temperature of the air and turn on the fan if it exceeds 28 °C. Possibility of remote switching on calming music. The cradle movement parameters used are not reported. | |
| [51], 2020, 0 | Automatic rocking when the baby cries (if the baby stops crying before the specified time has elapsed, the cradle will stop). Alarm or information to caregivers if the baby cries for more than a specific time and when the mattress is wet. Remote monitoring of infant body temperature, heart rate, air temperature, and humidity). Incubator for hospital and home use. | |
| [52], 2020, 0 | The web camera, humidity and temperature sensor, cry detector, remote monitoring, and automatic swing system. The swing motion parameters have not been specified. | |
| [53], 2020, 1 | When a cry is detected, the cradle can sway automatically or display a warning light when an abnormality is detected. The swing motion parameters haven’t been specified. | |
| [54], 2020, 1 | The user can control the cradle’s swing in manual mode and start music playing using a smartphone. The cradle detects crying, in the following, swings automatically, plays calming music, and send messages to the designated phone. | |
| [55], 2021, 0 | Android-based, remote monitoring system with a motor to swing the cradle, a cry detector, and a wet mattress sensor. | |
| [56], 2021, 0 | A remote monitoring system with sensors identifying a baby’s cry, body temperature, heart rate, and motion and posture status of the infant. The cradle offers electronic swinging, pleasant sounds, and other features, e.g., switching the fan on or off. | |
| [57], 2022, 0 | The remote monitoring system of a baby cry, body temperature, and wet mattress sensors. A cradle is equipped with pre-fitted air purification system. The cradle works based on the Internet of Things (IoT) principles and offers electronic swinging, pleasant sounds, and other features, e.g., self-activated automated eye-catching moving toys. | |
| [58], 2022, 0 | A machine learning remote monitoring system with baby’s vital signs and ambient parameters sensors. The system automatically swings the infant’s cradle. | |
| Height of the Woman (m) | Radius of the Circle R (mm) | Distance of the Point Attached to the Radius from the Center of the Circle r (mm) | Height of the Center of the Circle zo (mm) |
|---|---|---|---|
| 1.67 | 100 | 14 | 0.91 |
| 1.83 | 130 | 21 | 1 |
Publisher’s Note: MDPI stays neutral with regard to jurisdictional claims in published maps and institutional affiliations. |
© 2022 by the authors. Licensee MDPI, Basel, Switzerland. This article is an open access article distributed under the terms and conditions of the Creative Commons Attribution (CC BY) license (https://creativecommons.org/licenses/by/4.0/).
Share and Cite
Sydor, M.; Pop, J.; Jasińska, A.; Zabłocki, M. Anthropo-Mechanical Cradles: A Multidisciplinary Review. Int. J. Environ. Res. Public Health 2022, 19, 15759. https://doi.org/10.3390/ijerph192315759
Sydor M, Pop J, Jasińska A, Zabłocki M. Anthropo-Mechanical Cradles: A Multidisciplinary Review. International Journal of Environmental Research and Public Health. 2022; 19(23):15759. https://doi.org/10.3390/ijerph192315759
Chicago/Turabian StyleSydor, Maciej, Jessica Pop, Anna Jasińska, and Marek Zabłocki. 2022. "Anthropo-Mechanical Cradles: A Multidisciplinary Review" International Journal of Environmental Research and Public Health 19, no. 23: 15759. https://doi.org/10.3390/ijerph192315759
APA StyleSydor, M., Pop, J., Jasińska, A., & Zabłocki, M. (2022). Anthropo-Mechanical Cradles: A Multidisciplinary Review. International Journal of Environmental Research and Public Health, 19(23), 15759. https://doi.org/10.3390/ijerph192315759













