Environmental Risk Assessment Strategy for Nanomaterials
Abstract
1. Introduction
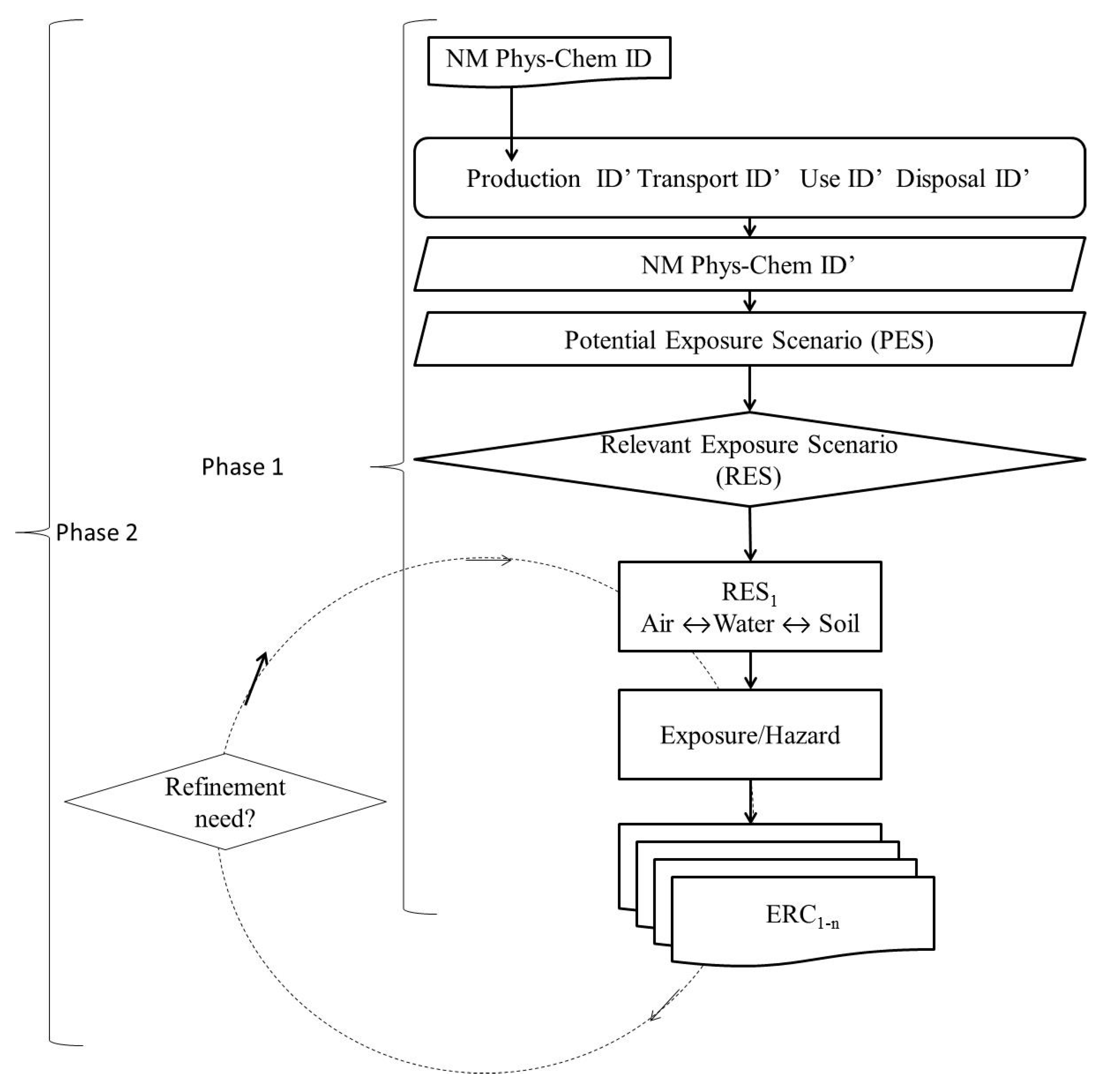
2. The Environmental Risk Assessment Strategy
2.1. Materials
2.2. Release, Fate and Exposure
2.2.1. Identification of Exposure Scenarios
2.2.2. Models for RES Identification
2.2.3. Identification of Exposure
2.3. Hazard
2.4. Risk Characterisation
3. Conclusions
Acknowledgments
Author Contributions
Conflicts of Interest
References
- Grieger, K.D.; Linkov, I.; Hansen, S.F.; Baun, A. Environmental risk analysis for nanomaterials: Review and evaluation of frameworks. Nanotoxicology 2012, 6, 196–212. [Google Scholar] [CrossRef] [PubMed]
- Hristozov, D.R.; Gottardo, S.; Critto, A.; Marcomini, A. Risk assessment of engineered nanomaterials: A review of available data and approaches from a regulatory perspective. Nanotoxicology 2012, 6, 880–898. [Google Scholar] [CrossRef] [PubMed]
- Powers, C.M.; Dana, G.; Gillespie, P.; Gwinn, M.R.; Hendren, C.O.; Long, T.C.; Wang, A.; Davis, J.M. Comprehensive environmental assessment: A meta-assessment approach. Environ. Sci. Technol. 2012, 46, 9202–9208. [Google Scholar] [CrossRef] [PubMed]
- Collier, Z.A.; Kennedy, A.J.; Poda, A.R.; Cuddy, M.F.; Moser, R.D.; MacCuspie, R.I.; Harmon, A.; Plourde, K.; Haines, C.D.; Steevens, J.A. Tiered guidance for risk-informed environmental health and safety testing of nanotechnologies. J. Nanopart. Res. 2015, 17. [Google Scholar] [CrossRef]
- Bleeker, E.A.J.; Evertz, S.; Geertsma, R.; Peijnenbrugh, W.J.G.M.; Westra, J.; Wijnhoven, S.W.P. Assessing the Health and Environmental Risk of Nanoparticles; RIVM: Bilthoven, The Netherlands, 2014. [Google Scholar]
- Bos, P.M.; Gottardo, S.; Scott-Fordsmand, J.J.; van Tongeren, M.; Semenzin, E.; Fernandes, T.F.; Hristozov, D.; Hund-Rinke, K.; Hunt, N.; Irfan, M.A.; et al. The MARINA Risk Assessment Strategy: A Flexible Strategy for Efficient Information Collection and Risk Assessment of Nanomaterials. Int. J. Environ. Res. Public Health 2015, 12, 15007–15021. [Google Scholar] [CrossRef] [PubMed]
- Kleandrova, V.V.; Luan, F.; Gonzalez-Diaz, H.; Ruso, J.M.; Speck-Planche, A.; Cordeiro, M. Computational Tool for Risk Assessment of Nanomaterials: Novel QSTR-Perturbation Model for Simultaneous Prediction of Ecotoxicity and Cytotoxicity of Uncoated and Coated Nanoparticles under Multiple Experimental Conditions. Environ. Sci. Technol. 2014, 48, 14686–14694. [Google Scholar] [CrossRef] [PubMed]
- Toropov, A.A.; Toropova, A.P. Quasi-SMILES and nano-QFAR: United model for mutagenicity of fullerene and MWCNT under different conditions. Chemosphere 2015, 139, 18–22. [Google Scholar] [CrossRef] [PubMed]
- Toropov, A.A.; Toropova, A.P. Quasi-QSAR for mutagenic potential of multi-walled carbon-nanotubes. Chemosphere 2015, 124, 40–46. [Google Scholar] [CrossRef] [PubMed]
- Cassano, A.; Marchese Robinson, R.L.; Palczewska, A.; Puzyn, T.; Gajewicz, A.; Tran, L.; Manganelli, S.; Cronin, M.T. Comparing the CORAL and Random Forest Approaches for Modelling the In Vitro Cytotoxicity of Silica Nanomaterials. Altern. Lab. Anim. 2016, 44, 533–556. [Google Scholar] [PubMed]
- About Program. Available online: http://www.insilico.eu/coral/ABOUT_PROGRAM.html (accessed on 1 August 2017).
- Nanoprofiler. Available online: https://github.com/ef-labs/nanoprofiler/wiki (accessed on 1 August 2017).
- Enalos Platform by Novamechanics. Available online: http://www.insilicotox.com/index.php/products/ (accessed on 1 August 2017).
- Nextnano. Available online: http://www.nextnano.com/ (accessed on 1 August 2017).
- Oomen, A.G.; Bleeker, E.A.; Bos, P.M.; van Broekhuizen, F.; Gottardo, S.; Groenewold, M.; Hristozov, D.; Hund-Rinke, K.; Irfan, M.A.; Marcomini, A.; et al. Grouping and Read-Across Approaches for Risk Assessment of Nanomaterials. Int. J. Environ. Res. Public Health 2015, 12, 13415–13434. [Google Scholar] [CrossRef] [PubMed]
- Chithrani, B.D.; Ghazani, A.A.; Chan, W.C. Determining the size and shape dependence of gold nanoparticle uptake into mammalian cells. Nano Lett. 2006, 6, 662–668. [Google Scholar] [CrossRef] [PubMed]
- Cornelis, G.; Hund-Rinke, K.; Kuhlbusch, T.; van den Brink, N.; Nickel, C. Fate and Bioavailability of Engineered Nanoparticles in Soils: A Review. Crit. Rev. Environ. Sci. Technol. 2014, 44, 2720–2764. [Google Scholar] [CrossRef]
- Delmaar, C.J.; Peijnenburg, W.J.; Oomen, A.G.; Chen, J.; de Jong, W.H.; Sips, A.J.; Wang, Z.; Park, M.V. A practical approach to determine dose metrics for nanomaterials. Environ. Toxicol. Chem. 2015, 34, 1015–1022. [Google Scholar] [CrossRef] [PubMed]
- Roebben, G.; Rasmussen, K.; Kestens, V.; Linsinger, T.P.J.; Rauscher, H.; Emons, H.; Stamm, H. Reference materials and representative test materials: The nanotechnology case. J. Nanopart. Res. 2013, 15. [Google Scholar] [CrossRef]
- Hristozov, D.R.; Zabeo, A.; Foran, C.; Isigonis, P.; Critto, A.; Marcomini, A.; Linkov, I. A weight of evidence approach for hazard screening of engineered nanomaterials. Nanotoxicology 2014, 8, 72–87. [Google Scholar] [CrossRef] [PubMed]
- Grieger, K.D.; Redmon, J.H.; Money, E.S.; Widder, M.W.; van der Schalie, W.H.; Beaulieu, S.M.; Womack, D. A relative ranking approach for nano-enabled applications to improve risk-based decision making: A case study of Army materiel. Environ. Syst. Decis. 2015, 35, 42–53. [Google Scholar] [CrossRef]
- Nowack, B.; Ranville, J.F.; Diamond, S.; Gallego-Urrea, J.A.; Metcalfe, C.; Rose, J.; Horne, N.; Koelmans, A.A.; Klaine, S.J. Potential scenarios for nanomaterial release and subsequent alteration in the environment. Environ. Toxicol. Chem. 2012, 31, 50–59. [Google Scholar] [CrossRef] [PubMed]
- Nowack, B.; Boldrin, A.; Caballero, A.; Hansen, S.F.; Gottschalk, F.; Heggelund, L.; Hennig, M.; Mackevica, A.; Maes, H.; Navratilova, J.; et al. Meeting the Needs for Released Nanomaterials Required for Further Testing-The SUN Approach. Environ. Sci. Technol. 2016, 50, 2747–2753. [Google Scholar] [CrossRef] [PubMed]
- Boxall, A.; Chaudhry, Q.; Sinclair, C.; Jones, A.; Aitken, R.; Jefferson, B.; Watts, C. Current and Predicted Environmental Exposure to Engineered Nanoparticles; Central Science Laboratory: Sand Hutton, UK, 2007. [Google Scholar]
- Gottschalk, F.; Nowack, B. A probabilistic method for species sensitivity distributions taking into account the inherent uncertainty and variability of effects to estimate environmental risk. Integr. Environ. Assess. Manag. 2013, 9, 79–86. [Google Scholar] [CrossRef] [PubMed]
- Brunner, P.H.; Rechberger, H. Practical Handbook of Material Flow Analysis; CRC Press: Boca Raton, FL, USA, 2004. [Google Scholar]
- Baccini, P.; Brunner, P.H. Metabolism of the Anthroposphere; Springer: Berlin, Germany, 1991. [Google Scholar]
- Mueller, N.C.; Nowack, B. Exposure modeling of engineered nanoparticles in the environment. Environ. Sci. Technol. 2008, 42, 4447–4453. [Google Scholar] [CrossRef] [PubMed]
- Keller, A.A.; McFerran, S.; Lazareva, A.; Suh, S. Global life cycle releases of engineered nanomaterials. J. Nanopart. Res. 2013, 15, 1–17. [Google Scholar] [CrossRef]
- Gottschalk, F.; Scholz, R.W.; Nowack, B. Probabilistic material flow modeling for assessing the environmental exposure to compounds: Methodology and an application to engineered nano-TiO2 particles. Environ. Model. Softw. 2010, 25, 320–332. [Google Scholar] [CrossRef]
- Gottschalk, F.; Sonderer, T.; Scholz, R.W.; Nowack, B. Modeled Environmental Concentrations of Engineered Nanomaterials (TiO2, ZnO, Ag, CNT, Fullerenes) for Different Regions. Environ. Sci. Technol. 2009, 43, 9216–9222. [Google Scholar] [CrossRef] [PubMed]
- Sun, T.Y.; Conroy, G.; Donner, E.; Hungerbühler, K.; Lombi, E.; Nowack, B. Probabilistic modelling of engineered nanomaterial emissions to the environment: A spatio-temporal approach. Environ. Sci. Nano 2015, 2, 340–351. [Google Scholar] [CrossRef]
- Bornhöft, N.A.; Nowack, B.; Hilty, L.M. Material Flow Modelling for Environmental Exposure Assessment—A Critical Review of Four Approaches Using the Comparative Implementation of an Idealized Example. In Proceedings of the 27th EnviroInfo 2013 Conference, Hamburg, Germany, 2–4 September 2013; pp. 379–388. [Google Scholar]
- Praetorius, A.; Arvidsson, R.; Molander, S.; Scheringer, M. Facing complexity through informed simplifications: A research agenda for aquatic exposure assessment of nanoparticles. Environ. Sci. Process. Impacts 2013, 15, 161–168. [Google Scholar] [CrossRef] [PubMed]
- Praetorius, A.; Tufenkji, N.; Goss, K.-U.; Scheringer, M.; von der Kammer, F.; Elimelech, M. The road to nowhere: Equilibrium partition coefficients for nanoparticles. Environ. Sci. Nano 2014, 1, 317–323. [Google Scholar] [CrossRef]
- Domenico, P.A.; Schwartz, F.W. Physical and Chemical Hydrogeology; Wiley: Montgomery, NY, USA, 1998. [Google Scholar]
- Elimelech, M.; Gregory, J.; Jia, X.; Williams, R. Particle Deposition and Aggregation: Measurement, Modeling, and Simulation; Butterworth-Heinemann: Woburn, MA, USA, 1995. [Google Scholar]
- Baalousha, M.; Cornelis, G.; Kuhlbusch, T.A.J.; Lynch, I.; Nickel, C.; Peijnenburg, W.; van den Brink, N.W. Modeling nanomaterial fate and uptake in the environment: current knowledge and future trends. Environ. Sci. Nano 2016, 3, 323–345. [Google Scholar] [CrossRef]
- Cornelis, G.; Pang, L.; Doolette, C.; Kirby, J.K.; McLaughlin, M.J. Transport of silver nanoparticles in saturated columns of natural soils. Sci. Total Environ. 2013, 463–464, 120–130. [Google Scholar] [CrossRef] [PubMed]
- Fang, J.; Shan, X.Q.; Wen, B.; Lin, J.M.; Owens, G. Stability of titania nanoparticles in soil suspensions and transport in saturated homogeneous soil columns. Environ. Pollut. 2009, 157, 1101–1109. [Google Scholar] [CrossRef] [PubMed]
- Liang, Y.; Bradford, S.A.; Simunek, J.; Heggen, M.; Vereecken, H.; Klumpp, E. Retention and remobilization of stabilized silver nanoparticles in an undisturbed loamy sand soil. Environ. Sci. Technol. 2013, 47, 12229–12237. [Google Scholar] [CrossRef] [PubMed]
- Zhang, L.; Hou, L.; Wang, L.; Kan, A.T.; Chen, W.; Tomson, M.B. Transport of fullerene nanoparticles (nC60) in saturated sand and sandy soil: Controlling factors and modeling. Environ. Sci. Technol. 2012, 46, 7230–7238. [Google Scholar] [CrossRef] [PubMed]
- Li, D.; Lyon, D.Y.; Li, Q.; Alvarez, P.J.J. Effect of soil sorption and aquatic natural organic matter on the antibacterial activity of a fullerene water suspension. Environ. Toxicol. Chem. 2008, 27, 1888–1894. [Google Scholar] [CrossRef] [PubMed]
- Wang, Y.; Li, Y.; Kim, H.; Walker, S.L.; Abriola, L.M.; Pennell, K.D. Transport and Retention of Fullerene Nanoparticles in Natural Soils. J. Environ. Qual. 2010, 39, 1925–1933. [Google Scholar] [CrossRef] [PubMed]
- Jaisi, D.P.; Elimelech, M. Single-Walled Carbon Nanotubes Exhibit Limited Transport in Soil Columns. Environ. Sci. Technol. 2009, 43, 9161–9166. [Google Scholar] [CrossRef] [PubMed]
- Liu, X.; Wazne, M.; Christodoulatos, C.; Jasinkiewicz, K.L. Aggregation and deposition behavior of boron nanoparticles in porous media. J. Colloid. Interface Sci. 2009, 330, 90–96. [Google Scholar] [CrossRef] [PubMed]
- Liu, X.; Chen, G.; Su, C. Influence of collector surface composition and water chemistry on the deposition of cerium dioxide nanoparticles: QCM-D and column experiment approaches. Environ. Sci. Technol. 2012, 46, 6681–6688. [Google Scholar] [CrossRef] [PubMed]
- Jaisi, D.P.; Saleh, N.B.; Blake, R.E.; Elimelech, M. Transport of single-walled carbon nanotubes in porous media: Filtration mechanisms and reversibility. Environ. Sci. Technol. 2008, 42, 8317–8323. [Google Scholar] [CrossRef] [PubMed]
- Wang, Y.; Li, Y.; Pennell, K.D. Influence of electrolyte species and concentration on the aggregation and transport of fullerene nanoparticles in quartz sands. Environ. Toxicol. Chem. 2008, 27, 1860–1867. [Google Scholar] [CrossRef] [PubMed]
- Lecoanet, H.F.; Wiesner, M.R. Velocity effects on fullerene and oxide nanoparticle deposition in porous media. Environ. Sci. Technol. 2004, 38, 4377–4382. [Google Scholar] [CrossRef] [PubMed]
- Peijnenburg, W.; Praetorius, A.; Scott-Fordsmand, J.; Cornelis, G. Fate assessment of engineered nanoparticles in solids dominated media—Current insights and the way forward. Environ. Pollut. 2016, 218, 1365–1369. [Google Scholar] [CrossRef] [PubMed]
- Organization for Economic Co-operation and Development. Preliminary Review of OECD Test Guidelines for their Applicability to Manufactured Nanomaterials; Organization for Economic Co-operation and Development: Paris, France, 2009. [Google Scholar]
- Hund-Rinke, K.; Baun, A.; Cupi, D.; Fernandes, T.F.; Handy, R.; Kinross, J.H.; Navas, J.M.; Peijnenburg, W.; Schlich, K.; Shaw, B.J.; et al. Regulatory ecotoxicity testing of nanomaterials—Proposed modifications of OECD test guidelines based on laboratory experience with silver and titanium dioxide nanoparticles. Nanotoxicology 2016, 10, 1442–1447. [Google Scholar] [CrossRef] [PubMed]
- Hankin, S.M.; Peters, S.A.K.; Poland, C.A.; Foss Hansen, S.; Holmqvist, J.; Ross, B.L.; Varet, J.; Aitken, R.J. Specific Advice on Fulfilling Information Requirements for Nanomaterials under REACH (RIP-oN2)—Final Project Report; REACH-NANO Consultation: Schönkirchen, Germany, 2011. [Google Scholar]
- Kuhnel, D.; Nickel, C. The OECD expert meeting on ecotoxicology and environmental fate—Towards the development of improved OECD guidelines for the testing of nanomaterials. Sci. Total Environ. 2014, 472, 347–353. [Google Scholar] [CrossRef] [PubMed]
- Ankley, G.T.; Bennett, R.S.; Erickson, R.J.; Hoff, D.J.; Hornung, M.W.; Johnson, R.D.; Mount, D.R.; Nichols, J.W.; Russom, C.L.; Schmieder, P.K.; et al. Adverse outcome pathways: A conceptual framework to support ecotoxicology research and risk assessment. Environ. Toxicol. Chem. 2010, 29, 730–741. [Google Scholar] [CrossRef] [PubMed]
- Amorim, M.J.; Roca, C.P.; Scott-Fordsmand, J.J. Effect assessment of engineered nanoparticles in solid media—Current insight and the way forward. Environ. Pollut. 2016, 218, 1370–1375. [Google Scholar] [CrossRef] [PubMed]
- Gomes, S.I.; Soares, A.M.; Scott-Fordsmand, J.J.; Amorim, M.J. Mechanisms of response to silver nanoparticles on Enchytraeus albidus (Oligochaeta): Survival, reproduction and gene expression profile. J. Hazard. Mater. 2013, 254–255, 336–344. [Google Scholar] [CrossRef] [PubMed]
- Ribeiro, M.J.; Maria, V.L.; Scott-Fordsmand, J.J.; Amorim, M.J. Oxidative Stress Mechanisms Caused by Ag Nanoparticles (NM300K) are Different from Those of AgNO3: Effects in the Soil Invertebrate Enchytraeus Crypticus. Int. J. Environ. Res. Public Health 2015, 12, 9589–9602. [Google Scholar] [CrossRef] [PubMed]
- Scott-Fordsmand, J.J.; Peijnenburg, W.; Amorim, M.J.; Landsiedel, R.; Oorts, K. The way forward for risk assessment of nanomaterials in solid media. Environ. Pollut. 2016, 218, 1363–1364. [Google Scholar] [CrossRef] [PubMed]
- Carnovale, C.; Bryant, G.; Shukla, R.; Bansal, V. Size, shape and surface chemistry of nano-gold dictate its cellular interactions, uptake and toxicity. Prog. Mater. Sci. 2016, 83, 152–190. [Google Scholar] [CrossRef]
- Lin, Z.M.; Monteiro-Riviere, N.A.; Kannan, R.; Riviere, J.E. A computational framework for interspecies pharmacokinetics, exposure and toxicity assessment of gold nanoparticles. Nanomedicine 2016, 11, 107–119. [Google Scholar] [CrossRef] [PubMed]
- Canesi, L.; Fabbri, R.; Gallo, G.; Vallotto, D.; Marcomini, A.; Pojana, G. Biomarkers in Mytilus galloprovincialis exposed to suspensions of selected nanoparticles (Nano carbon black, C60 fullerene, Nano-TiO2, Nano-SiO2). Aquat. Toxic. 2010, 100, 168–177. [Google Scholar] [CrossRef] [PubMed]
- Conway, J.R.; Hanna, S.K.; Lenihan, H.S.; Keller, A.A. Effects and implications of trophic transfer and accumulation of CeO2 nanoparticles in a marine mussel. Environ. Sci. Technol. 2014, 48, 1517–1524. [Google Scholar] [CrossRef] [PubMed]
- Ringwood, A.H.; McCarthy, M.; Bates, T.C.; Carroll, D.L. The effects of silver nanoparticles on oyster embryos. Mar. Environ. Res. 2010, 69, S49–S51. [Google Scholar] [CrossRef] [PubMed]
- Oliver, A.L.; Croteau, M.N.; Stoiber, T.L.; Tejamaya, M.; Romer, I.; Lead, J.R.; Luoma, S.N. Does water chemistry affect the dietary uptake and toxicity of silver nanoparticles by the freshwater snail Lymnaea stagnalis? Environ. Pollut. 2014, 189, 87–91. [Google Scholar] [CrossRef] [PubMed]
- Bernot, R.J.; Brandenburg, M. Freshwater snail vital rates affected by non-lethal concentrations of silver nanoparticles. Hydrobiologia 2013, 714, 25–34. [Google Scholar] [CrossRef]
- Tantra, R.; Sikora, A.; Hartmann, N.B.; Sintes, J.R.; Robinson, K.N. Comparison of the effects of different protocols on the particle size distribution of TiO2 dispersions. Particuology 2015, 19, 35–44. [Google Scholar] [CrossRef]
- Aschberger, K.; Micheletti, C.; Sokull-Kluttgen, B.; Christensen, F.M. Analysis of currently available data for characterising the risk of engineered nanomaterials to the environment and human health—Lessons learned from four case studies. Environ. Int. 2011, 37, 1143–1156. [Google Scholar] [CrossRef] [PubMed]
- European Chemical Agency. Guidance on Information Requirements and Chemical Safety Assessment; Appendix R.10-2: Recommendations for Nanomaterials Applicable Chapter R.10 Characterisation of Dose [concentration]-Response for Environment; European Chemical Agency: Helsinki, Finland, 2012. [Google Scholar]
- Scott-Fordsmand, J.J.; Pedersen, M.B.; Jensen, J. Setting a Soil Quality Criterion. Toxicol. Ecotoxicol. News 1996, 3, 20–24. [Google Scholar]
- Gottschalk, F.; Kost, E.; Nowack, B. Engineered nanomaterials in water and soils: A risk quantification based on probabilistic exposure and effect modeling. Environ. Toxicol. Chem. 2013, 32, 1278–1287. [Google Scholar] [CrossRef] [PubMed]
- Semenzin, E.; Lanzellotto, E.; Hristozov, D.; Critto, A.; Zabeo, A.; Giubilato, E.; Marcomini, A. Species sensitivity weighted distribution for ecological risk assessment of engineered nanomaterials: The n-TiO2 case study. Environ. Toxicol. Chem. 2015, 34, 2644–2659. [Google Scholar] [CrossRef] [PubMed]
- Coll, C.; Notter, D.; Gottschalk, F.; Sun, T.; Som, C.; Nowack, B. Probabilistic environmental risk assessment of five nanomaterials (nano-TiO2, nano-Ag, nano-ZnO, CNT, and fullerenes). Nanotoxicology 2016, 10, 436–444. [Google Scholar] [CrossRef] [PubMed]
- Garner, K.L.; Suh, S.; Lenihan, H.S.; Keller, A.A. Species sensitivity distributions for engineered nanomaterials. Environ. Sci. Technol. 2015, 49, 5753–5759. [Google Scholar] [CrossRef] [PubMed]
- Card, J.W.; Magnuson, B.A. A method to assess the quality of studies that examine the toxicity of engineered nanomaterials. Int. J. Toxicol. 2010, 29, 402–410. [Google Scholar] [CrossRef] [PubMed]










| Mechanism | Sand Columns | Natural Soils |
|---|---|---|
| Attachment | ρ(dSatt/str/dt) = katt/strrθψC | |
| Ag [39,41] | ||
| C60 [42,43] | C60 [42,44] | |
| CNT [45] | ||
| Colloid filtration theory | Katt = αatt((3(1−θ))/(2d50))η0μ | |
| B [46] | Ag [39] | |
| CeO2 [47] | TiO2 [40] | |
| CNT [48] | ||
| C60 [49,50] | ||
| Available Information per Scenario | Assessment Factor |
|---|---|
| LC50 short-term toxicity test(s) (e.g., plants, earthworms, ort microorganisms) | 1000 |
| NOEC for one-long-tem toxicity test (e.g., plants) | 100 |
| NOEC for additional long-term toxicity tests of two trophic levels | 50 |
| NOEC for additional long-term toxicity tests for three species of three trophic levels | 10 |
| Species sensitivity distribution (SSD method) | 5–1, to be fully justified on a case-by-case basis (cf main text) |
| Field data or model ecosystems | Case-by-case |
© 2017 by the authors. Licensee MDPI, Basel, Switzerland. This article is an open access article distributed under the terms and conditions of the Creative Commons Attribution (CC BY) license (http://creativecommons.org/licenses/by/4.0/).
Share and Cite
Scott‐Fordsmand, J.J.; Peijnenburg, W.J.G.M.; Semenzin, E.; Nowack, B.; Hunt, N.; Hristozov, D.; Marcomini, A.; Irfan, M.; Jiménez, A.S.; Landsiedel, R.; et al. Environmental Risk Assessment Strategy for Nanomaterials. Int. J. Environ. Res. Public Health 2017, 14, 1251. https://doi.org/10.3390/ijerph14101251
Scott‐Fordsmand JJ, Peijnenburg WJGM, Semenzin E, Nowack B, Hunt N, Hristozov D, Marcomini A, Irfan M, Jiménez AS, Landsiedel R, et al. Environmental Risk Assessment Strategy for Nanomaterials. International Journal of Environmental Research and Public Health. 2017; 14(10):1251. https://doi.org/10.3390/ijerph14101251
Chicago/Turabian StyleScott‐Fordsmand, Janeck J., Willie J. G. M. Peijnenburg, Elena Semenzin, Bernd Nowack, Neil Hunt, Danail Hristozov, Antonio Marcomini, Muhammad‐Adeel Irfan, Araceli Sánchez Jiménez, Robert Landsiedel, and et al. 2017. "Environmental Risk Assessment Strategy for Nanomaterials" International Journal of Environmental Research and Public Health 14, no. 10: 1251. https://doi.org/10.3390/ijerph14101251
APA StyleScott‐Fordsmand, J. J., Peijnenburg, W. J. G. M., Semenzin, E., Nowack, B., Hunt, N., Hristozov, D., Marcomini, A., Irfan, M., Jiménez, A. S., Landsiedel, R., Tran, L., Oomen, A. G., Bos, P. M. J., & Hund‐Rinke, K. (2017). Environmental Risk Assessment Strategy for Nanomaterials. International Journal of Environmental Research and Public Health, 14(10), 1251. https://doi.org/10.3390/ijerph14101251

