Health Policy Training: A Review of the Literature
Abstract
:1. Introduction
- What literature exists regarding the development or implementation of formal health policy training and training programs?
- How is “health policy” framed and defined, relative to the increasing focus on health in all policies?
- What are the core components of health policy training?
- What evaluation data and research exist to inform heath policy training?
- What barriers exist to implementation of health policy training in health professional training programs?
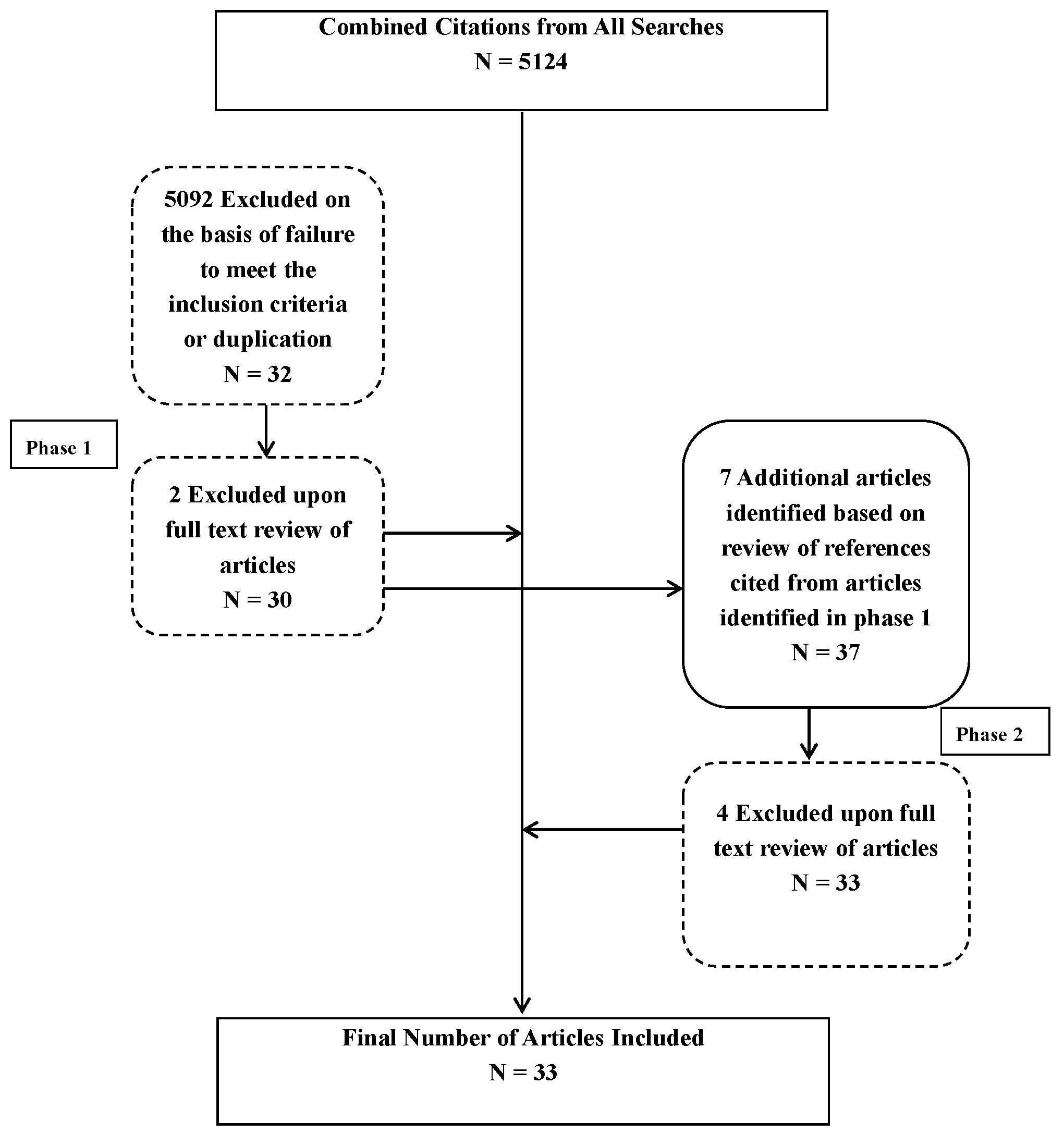
2. Methods
3. Results
3.1. Target Audience

3.2. Goal(s) of the Articles
3.2.1. Description of Proposed Health Policy Training Elements or Curriculum
3.2.2. Pilot of a Health Policy Training Program
3.2.3. Advocacy for Increased Health Policy Training
3.2.4. Survey of Health Policy Training
3.3. Definition of Health Policy
3.4. Core Components of Health Policy Training
3.4.1. Process Components
| Process Components | References |
|---|---|
| Experiential/service learning | [27,31,32,33,34,36,37,38] |
| Case studies | [25,28,42] |
| Inclusion of policy experts and politicians | [34,35,37] |
| Site visits | [20,30] |
| Group projects and discussion sessions | [28,30] |
| Seminars | [28,34] |
| Policy-related skill building | [35,40] |
3.4.2. Content Components
| Content Components | References |
|---|---|
| Health care costs and financing | [6,24,25,26,28,29,33,35] |
| Cost containment and resource allocation | [6,26,29,33,35] |
| Physician payment systems | [28] |
| Medicare and Medicaid | [25] |
| Physician reimbursement and insurance design | [24,25] |
| Current trends or topics in health policy | [4,23,24,25,28,29,33,36] |
| Health care reform | [4,25] |
| The Affordable Care Act and U.S. Supreme Court decision | [24] |
| The Nurse Practice Act | [36] |
| Health care structure and organization | [1,8,20,23,26,29,35] |
| Health care systems and principles | [8] |
| Introduction to Canada’s healthcare system | [23] |
| Organization of clinical and public health systems | [26] |
| Quality assessment and assurance | [8,24,25,28,29,35] |
| Quality improvement | [25] |
| Quality and safety | [8] |
| Health quality and health status | [24] |
| Policy process | [6,26,34,37,39,40] |
| Health policy overview | [6] |
| Health policy theory and health policy analysis | [39] |
| Policy-making intervention points | [40] |
| Population health dimensions of health policy | [21,29,35,36,37] |
| Impact of political, economic, and social policies on health | [21] |
| Community-level determinants of health | [36] |
| Community health assessments | [36] |
| Population health promotion | [36] |
| Health policy for vulnerable populations | [8,20,24,36] |
| Health disparities | [8,20] |
| Health care safety net | [8,20] |
| Social determinants impacting health | [20] |
| Civil rights and health care | [20] |
| Access to health insurance | [24] |
| Social justice and social activism | [36] |
| Ethical and legal issues in health policy | [1,24,40] |
| Laws related to lobbying and advocacy for non-profits | [40] |
| Policy communication and advocacy | [34,37,40] |
| Public health advocacy and media advocacy | [40] |
| Media advocacy | [37] |
| Policy and politics | [6,8,20] |
| The politics of health care | [20] |
| Health politics and law | [8] |
| Policy versus politics | [6] |
| Physician role in health policy | [20,23] |
| Physician role in health systems reform | [23] |
3.5. Evaluation
3.6. Barriers to Health Policy Training
4. Discussion
5. Conclusions
Acknowledgments
Author Contributions
Conflicts of Interest
References
- Singer, J.E.; Blascovich, J.; Faden, R.; Frohboese, R.; Matthews, K.; Nelson, P.; VandenBos, G. Working group on health policy training. Health Psychol. 1983, 2, 146–149. [Google Scholar]
- American Association of Colleges of Nursing. Essential Series. Available online: http://www.aacn.nche.edu/education-resources/essential-series (accessed on 9 October 2015).
- Allan, J.; Barwick, T.A.; Cashman, S.; Cawley, J.F.; Day, C.; Douglass, C.W.; Evans, C.H.; Garr, D.R.; Maeshiro, R.; McCarthy, R.L.; et al. Clinical prevention and population health: Curriculum framework for health professions. Am. J. Prev. Med. 2004, 27, 471–476. [Google Scholar] [CrossRef] [PubMed]
- Clancy, T.E.; Fiks, A.G.; Gelfand, J.M.; Grayzel, D.S.; Marci, C.D.; McDonough, C.G.; Peppercorn, J.M.; Roberts, T.G.; Smith, A.L.; Winickoff, J.P. A call for health policy education in the medical school curriculum. JAMA 1995, 274, 1084–1085. [Google Scholar] [CrossRef] [PubMed]
- Diers, D. Health policy and nursing curricula—A natural fit. Nurs. Health Care 1985, 6, 421–424. [Google Scholar] [PubMed]
- Dunn, B.H.; Hodges, L.C.; Collins, J.B. Curriculum survey: Health policy content in graduate nursing programs. NLN Publ. 1986, 15, 43–53. [Google Scholar]
- McFarlane, D.R.; Gordon, L.J. Teaching health policy and politics in U.S. schools of public health. J. Public Health Policy 1992, 13, 428–434. [Google Scholar] [CrossRef] [PubMed]
- Patel, M.S.; Davis, M.M.; Lypson, M.L. Advancing medical education by teaching health policy. N. Engl. J. Med. 2011, 364, 695–697. [Google Scholar] [CrossRef] [PubMed]
- Institute of Medicine. Who Will Keep the Public Healthy: Educating Public Health Professionals for the 21st Century. Available online: http://iom.nationalacademies.org/Reports/2002/Who-Will-Keep-the-Public-Healthy-Educating-Public-Health-Professionals-for-the-21stCentury.aspx (accessed on 9 October 2015).
- Frenk, J.; Chen, L.; Bhutta, Z.A.; Cohen, J.; Crisp, N.; Evans, T.; Fineberg, H.; Garcia, P.; Ke, Y.; Kelley, P.; et al. Health professionals for a new century: Transforming education to strengthen health systems in an interdependent world. Lancet 2010, 376, 1923–1958. [Google Scholar] [CrossRef]
- Institute of Medicine. For the Public’s Health: Revitalizing Law and Policy to Meet New Challenges. Available online: http://www.iom.edu/Reports/2011/For-the-Publics-Health-Revitalizing-Law-and-Policy-to-Meet-New-Challenges.aspx (accessed on 9 October 2015).
- Rudolph, L.; Caplan, J.; Ben-Moshe, K.; Dillon, L. Health in All Policies: A Guide for State and Local Governments. Available online: http://www.phi.org/uploads/application/files/udt4vq0y712qpb1o4p62dexjlgxlnogpq15gr8pti3y7ckzysi.pdf (accessed on 9 October 2015).
- Association of Schools and Programs of Public Health. Population Health across All Professions. Available online: http://www.aspph.org/ftf-reports/population-health-in-all-professions/ (accessed on 9 October 2015).
- Department of Health and Human Services. Healthy People 2000. Available online: http://www.cdc.gov/nchs/data/hp2000/hp2k01.pdf (accessed on 9 October 2015).
- Department of Health and Human Services. Healthy People 2020. Available online: http://www.healthypeople.gov/2020/default.aspx (accessed on 9 October 2015).
- Department of Health and Human Services. National Prevention Strategy. Available online: http://www.surgeongeneral.gov/priorities/prevention/strategy/ (accessed on 9 October 2015).
- Department of Health and Human Services. Promoting Health Equity through Programs and Policies. Available online: http://minorityhealth.hhs.gov/npa/ (accessed on 9 October 2015).
- Bischof, R.O.; Plumb, J.; Nash, D.B. Administrative and health policy training for residents. Hosp. Pract. 1996, 31, 99–100. [Google Scholar]
- Goetz, C.; Arora, V.M.; Press, V.G. Teaching health policy to residents. J. Gen. Intern. Med. 2010, 25. [Google Scholar] [CrossRef] [PubMed]
- Greysen, S.R.; Wassermann, T.; Payne, P.; Mullan, F. Teaching health policy to residents—Three-Year experience with a multi-specialty curriculum. J. Gen. Intern. Med. 2009, 24, 1322–1326. [Google Scholar] [CrossRef] [PubMed]
- Gupta, R. Why should medical students care about health policy? PLoS Med. 2006, 3. [Google Scholar] [CrossRef] [PubMed]
- Jacobsohn, V.; DeArman, M.; Moran, P.; Cross, J.; Dietz, D.; Allen, R.; Bachofer, S.; Dow-Velarde, L.; Kaufman, A. Changing hospital policy from the wards: An introduction to health policy education. Acad. Med. 2008, 83, 352–356. [Google Scholar] [CrossRef] [PubMed]
- Martin, D.; Hum, S.; Han, M.; Whitehead, C. Laying the foundation: Teaching policy and advocacy to medical trainees. Med. Teach. 2013, 35, 352–358. [Google Scholar] [CrossRef] [PubMed]
- Mills, D.A.; Dane, P.; Cymet, T. A curriculum on health policy for medical students. Md. Med. 2012, 13, 21–22. [Google Scholar] [PubMed]
- Mou, D.; Sarma, A.; Sethi, R.; Merryman, R. The state of health policy education in U.S. medical schools. N. Engl. J. Med. 2011, 364. [Google Scholar] [CrossRef] [PubMed]
- Riegelman, R. Commentary: Health systems and health policy: A curriculum for all medical students. Acad. Med. 2006, 81, 391–392. [Google Scholar] [CrossRef] [PubMed]
- Seifer, S.; Kahn, J. Preparing future physicians as health policy leaders: The AMSA Washington Health Policy Fellowship Program. Acad. Med. 1994, 69, 410. [Google Scholar] [CrossRef] [PubMed]
- Shortt, S.E.; Hodgetts, P.G. A curriculum for the times: An experiment in teaching health policy to residents in family medicine. CMAJ 1997, 157, 1567–1569. [Google Scholar] [PubMed]
- Andreoli, K.G.; Musser, L.A.; Otto, D.A. Health policy in nursing curriculum. J. Nurs. Educ. 1987, 26, 239–243. [Google Scholar] [PubMed]
- Byrd, M.E.; Costello, J.; Shelton, C.R.; Thomas, P.A.; Petrarca, D. An active learning experience in health policy for baccalaureate nursing students. Public Health Nurs. 2004, 21, 501–506. [Google Scholar] [CrossRef]
- Cohen, S.S.; Milone-Nuzzo, P. Advancing health policy in nursing education through service learning. ANS Adv. Nurs. Sci. 2001, 23, 28–40. [Google Scholar] [CrossRef] [PubMed]
- DiCenso, A.; Housden, L.; Heale, R.; Carter, N.; Canitz, B.; MacDonald-Rencz, S.; Buckley, C.R. Incorporating a health policy practicum in a graduate training program to prepare advanced practice nursing health services researchers. Policy Polit. Nurs. Pract. 2012, 13, 224–233. [Google Scholar] [CrossRef] [PubMed]
- Ellenbecker, C.H.; Fawcett, J.; Glazer, G. A nursing PhD specialty in health policy: University of Massachusetts Boston. Policy Polit. Nurs. Pract. 2005, 6, 229–235. [Google Scholar] [CrossRef] [PubMed]
- Harrington, C.; Crider, M.C.; Benner, P.E.; Malone, R.E. Advanced nursing training in health policy: Designing and implementing a new program. Policy Polit. Nurs. Pract. 2005, 6, 99–108. [Google Scholar] [CrossRef] [PubMed]
- Murphy, N.J. A survey of health policy content in Canadian graduate programs in nursing. J. Nurs. Educ. 1999, 38, 88–91. [Google Scholar] [PubMed]
- O’Brien-Larivee, C. A service-learning experience to teach baccalaureate nursing students about health policy. J. Nurs. Educ. 2011, 50, 332–336. [Google Scholar] [CrossRef] [PubMed]
- Reutter, L.; Duncan, S. Preparing nurses to promote health—Enhancing public policies. Policy Polit. Nurs. Pract. 2002, 3, 294–305. [Google Scholar] [CrossRef]
- Thomas, P.A.; Shelton, C.R. Teaching students to become active in public policy. Public Health Nurs. 1994, 11, 75–79. [Google Scholar] [CrossRef] [PubMed]
- Chinitz, D. Principles for planning the teaching of health policy in an MPH program. Public Health Rev. 2002, 30, 255–260. [Google Scholar] [PubMed]
- Hearne, S.A. Practice-based teaching for health policy action and advocacy. Public Health Rep. 2008, 123, 65–70. [Google Scholar] [PubMed]
- Bradbury, R.C.; Minvielle, B.R. An integrative role for a health policy course in the health services management graduate curriculum. J. Health Adm. Educ. 1997, 15, 207–213. [Google Scholar] [PubMed]
- Longest, B.B. What is the appropriate health policy content in a program curriculum? J. Health Adm. Educ. 2004, 21, 283–297. [Google Scholar] [PubMed]
- Kirchoff, J.J.; Dwnnison, T.H. Benchmark health policy programs: A window on public affairs and administration education. J. Public Aff. Educ. 2006, 12, 177–196. [Google Scholar]
- Cain, M. Teaching health policy in an economic framework to non-majors. J. Public Aff. Educ. 2009, 15, 243–250. [Google Scholar]
- Centers for Disease Control and Prevention. Community Strategies for Preventing Chronic Disease. Available online: http://www.cdc.gov/nccdphp/dch/pdf/HealthEquityGuide.pdf (accessed on 9 October 2015).
- Schroeder, S.A. We can do better—Improving the health of the American people. N. Engl. J. Med. 2007, 357, 1221–1228. [Google Scholar] [CrossRef] [PubMed]
© 2015 by the authors; licensee MDPI, Basel, Switzerland. This article is an open access article distributed under the terms and conditions of the Creative Commons by Attribution (CC-BY) license (http://creativecommons.org/licenses/by/4.0/).
Share and Cite
Heiman, H.J.; Smith, L.L.; McKool, M.; Mitchell, D.N.; Roth Bayer, C. Health Policy Training: A Review of the Literature. Int. J. Environ. Res. Public Health 2016, 13, 20. https://doi.org/10.3390/ijerph13010020
Heiman HJ, Smith LL, McKool M, Mitchell DN, Roth Bayer C. Health Policy Training: A Review of the Literature. International Journal of Environmental Research and Public Health. 2016; 13(1):20. https://doi.org/10.3390/ijerph13010020
Chicago/Turabian StyleHeiman, Harry J., L. Lerissa Smith, Marissa McKool, Denise N. Mitchell, and Carey Roth Bayer. 2016. "Health Policy Training: A Review of the Literature" International Journal of Environmental Research and Public Health 13, no. 1: 20. https://doi.org/10.3390/ijerph13010020
APA StyleHeiman, H. J., Smith, L. L., McKool, M., Mitchell, D. N., & Roth Bayer, C. (2016). Health Policy Training: A Review of the Literature. International Journal of Environmental Research and Public Health, 13(1), 20. https://doi.org/10.3390/ijerph13010020
