Next Article in Journal
A Survey on Optimal Signal Processing Techniques Applied to Improve the Performance of Mechanical Sensors in Automotive Applications
Next Article in Special Issue
A Novel Type of Tri-Colour Light-Emitting-Diode-Based Spectrometric Detector for Low-Budget Flow-Injection Analysis
Previous Article in Journal
Influence of Different Genotypes on Trypsin Inhibitor Levels and Activity in Soybeans
 
 
Font Type:
Arial Georgia Verdana
Font Size:
Aa Aa Aa
Line Spacing:
Column Width:
Background:
Article

E.M.I Effects of Cathodic Protection on Electromagnetic Flowmeters

1
Department of Electrical and Electronic Engineering, Engineering Faculty, Dokuz Eylul University, Buca, Izmir, Turkey
2
Department of Electrical and Electronic Engineering, Engineering Faculty, Dokuz Eylul University, Buca, Izmir, Turkey
*
Author to whom correspondence should be addressed.
Sensors 2007, 7(1), 75-83; https://doi.org/10.3390/s7010075
Submission received: 8 August 2006 / Accepted: 23 January 2007 / Published: 26 January 2007
(This article belongs to the Special Issue Sensors in Flow Analysis)

Abstract

:
Electromagnetic flowmeters are used to measure the speed of water flow in water distribution systems. Corrosion problem in metal pipelines can be solved by cathodic protection methods. This paper presents a research on corruptive effects of the cathodic protection system on electromagnetic flowmeter depending on its measuring principle. Experimental measurements are realized on the water distribution pipelines of the Izmir Municipality, Department of Water and Drainage Administration (IZSU) in Turkey and measurement results are given. Experimental results proved that the values measured by the electromagnetic flowmeter (EMF) are affected by cathodic protection system current. Comments on the measurement results are made and precautions to be taken are proposed.

1. Introduction

A water supply system can be classified into three basic components: Water supply source, water treatment process and the distribution unit. Water is distributed from the source to the treatment plant by conduits and aqueducts, either by pressure or open channel flow. After treatment, water enters the distribution system directly or is transported to the system via supply conduits [1]. The velocity of water must be known at the output of the water supply source or at some specific points in order to collect and analyze statistical information and supervise the performance of the water distribution system. The speed of water can be measured using electromagnetic flowmeter.
Pipelines are important devices for drinking water systems. Corrosion is the major cause of pipeline failures in some applications. It is a dissolving and wearing away of metal caused by a chemical reaction between water and metal pipes and can cause structural failure, leaks, loss of capacity, and deterioration of chemical and microbiological water quality[2].
Cathodic protection is the electrical solution to the corrosion problems. This system is widely used on buried metallic pipelines and cables. It protects pipeline structures and metalwork from corrosion, making the metal surface to be protected by a cathode element in a path of electric current, encouraging corrosion to form elsewhere in the circuit in a less critical or cheaper material [3, 4]. Cathodic protection can be provided trough the use of impressed current or sacrificial anodes. The principle of cathodic protection is that an external anode is connected to the metal to be protected; anodes transmit protective current from the power supply to the metal and the electrochemical potential of the structure becomes more negative, eventually reaching a value that provides cathodic protection [5]. Electromagnetic flowmeters will only perform correctly and have a long life if they are installed properly. The environment, the electrical installation, and the mechanical installation all contribute to the performance over the longer term. During the installation of electromagnetic flowmeters in pipelines with cathodic protection, the specific system conditions must be taken into account. The cathodic protection industry is generally accustomed to look at voltages and that makes sense because it is the voltage levels that protect the pipes. It is flow of the current that creates these potentials [6-8].

2. Electromagnetic Flowmeters

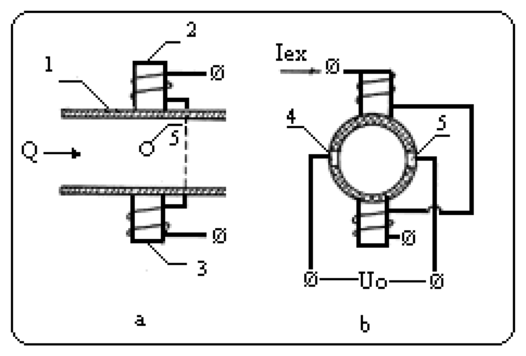
Electromagnetic flowmeters are used to measure the quantity or flow rate of water being transported in water networks. They are wide ranging, accurate and reliable and are now widely accepted as the first choice meter to replace traditional methods such as positive displacement meters. Although the technology has become more reliable, electromagnetic flowmeters are not perfect. They require to be specified, be installed and used correctly to achieve the expected performance [9, 10]. The electromagnetic flowmeter operation is based on the “Faraday's Law of Electromagnetic Induction”. By measuring the size of an induced electromagnetic force, the flow rate can be calculated. Electromagnetic force value in terms of voltage and volume flow can be calculated from the following expressions.
U = B L v
Q = v A
where U, B, L, v, Q, A terms represent induced voltage, magnetic field, distance between electrodes, flow velocity, volume flow, pipe cross-sectional area, respectively. An electromagnetic flowmeter diagram is shown in Figure 1.
The flowmeter consists of a conductive pipe with an insulated inner surface liner or a nonconductive pipe which is mounted in the gap of the magnet (1), two electrodes (4 and 5), and electromagnet such as a permanent magnet (2 and 3). The liquid must be electro-conductive. The conductive electrodes are in contact with the liquid and are oriented perpendicularly to both the direction of flow and the lines of the magnetic field. When the magnet coils are energized by a current, small magnetic field is created across the fluid (Figure 2) [11, 12].
The electrode probes sense the electromagnetic force induced and this signal is conditioned so it can be used by external displays and recording instruments such as microcontrollers. Depending upon the specific applications, the output may be calibrated. Because of the weak magnetic field the magnitude of the induced electromagnetic force is extremely small. The small electromagnetic force may lead to problems with electrical noise and significant errors in the measurement. If it is desired to install an electromagnetic flowmeter, precautions must be checked to ensure that the meter is installed properly and it is operational. For example; it must be avoided locations near equipment producing electrical radiation such as transformers, radio transmitters, motors, ignition systems, cathodic protection system, and other equipment that causes electromagnetic or electrostatic interference. Electromagnetic or electrostatic interference affects the operation of an electromagnetic flowmeter. Failure in grounding the detector properly will result in unsteady readings and inaccurate measurements.

3. Corrosion and Cathodic Protection

Cathodic protection is a technique to control the corrosion of a metal surface by making that surface the cathode of an electrochemical cell in order to protect metal structures from corrosion. Cathodic protection systems are most commonly used to protect steel water and fuel pipelines and tanks; ships, and offshore oil platforms.
Corrosion is an electrochemical process that occurs when a current leaves a structure at the anode side, passes through an electrolyte (it is generally soil in buried metal pipeline), and reenters the structure at the cathode side, also known as oxidation. It causes deterioration of intrinsic properties in a material due to reactions with its environment (Figure 3-a). Corrosion current flows between anode and cathode because of the potential difference between them(Figure 3-b). The anode potential is more negative than the cathode potential, and this difference supplies the driving force of the corrosion current. The total system is defined as the corrosion cell which has anode, cathode, electrolyte and metal connection.
Cathodic protection is a well-known and successful method of corrosion prevention for a wide variety of metallic structure. This is achieved by applying a current to the structure to be protected from some outside source. When the structure becomes at the same potential, anode and cathode electrodes will not exist. The essential feature of cathodic protection is that pipelines are surrounded by a conducting electrolyte such as soil. This system can be provided through the use of impressed current or galvanic (sacrificial) anodes [13, 14].
A galvanic cathodic protection system works depending on the principle that the reactive metals such as auxiliary anodes are directly connected to the metal to be protected. Galvanic cathodic system is called as sacrificial anode cathodic protection system (Figure 4-a). In order to control corrosion, cathodic protection systems intentionally sacrifice one material to protect another. This technique uses the natural potential difference between the structure and a second system consists of galvanic (sacrificial) anodes, direct welding to the protected pipe and the galvanic anode. Anode and the pipe are directly welded in order to attain minimum resistance.
Figure 4-b shows the use of an external power source to provide the cathodic polarization of the structures. The system consists of an external DC power source such as transformer/rectifier circuit, an impressed current electrode, and the metal structure (pipe to be protected). The DC source drives positive current from impressed current electrode through the corrosion media and onto the metal structure. The structure is thereby cathodically polarized- that means its potential is lowered- and the positive current returns through the circuit to the power supply. Thus to achieve cathodic protection, the impressed current-electrode and the structure must be in both electrolytic and electrically in contact.
In both cases, fundamental design considerations must be made to select the type of system and the most suitable type of anode for that system. Current requirement is the basic parameter to be considered. Current required for cathodic protection is predicted according to the total area of the pipe including both the bottom and side areas together with the total pipe length, covering material of the pipe, pH and resistance values of the ground. Also, it is required that the connection cable between the anode and the pipe should be well-insulated and have minimum resistance.
Galvanic anode system is generally used for systems that require low current. For high current requirements, impressed current anode systems are more appropriate.

4. EMI Effects of Cathodic Protection System

4.1. Experimental results

The DC source of cathodic protection system drives positive current from impressed current electrode through the corrosion media and onto the metal structure. The protective electrical currents cause electromagnetic or electrostatic interference. Transducer performance can be affected since electromagnetic interference (EMI) can distort the magnetic field of the electromagnetic flowmeter. If specific precautions; such as installing an electromagnetic flowmeter in pipelines with cathodic protection are not taken, measurements will be wrong.
Figure 5 shows the electrically insulated test set-up. Short circuit is occurred between two reciprocal flanges. When a short circuit occurs between two flanges, cathodic protection current flows through EMF sensor. This event is an undesired problem and causes measurement error.
Approximate measurement results for pipes with cathodic protection are given in Table 1. According to the experimental operation it can be noticed that; if DC voltage and current values increase, the flowmeter values decrease.
Measurement results in Table 1 are shown graphically in Figure 6. The graphic represents the effect of the cathodic protection current on the flow rate of the electromagnetic flowmeter.
The diameter of the steel pipe investigated in this study is 1000 millimeters and its length is about 7 kilometers. These types of pipes are generally used by the Izmir Municipality, Department of Water and Drainage Administration (IZSU) in Turkey. Cathodic protection method used for this pipeline is impressed current anode system. Current requirement from transformer/rectifier (T/R) unit varies between 5 and 7 Amperes depending on the season. It can be seen from the graphic that the measured flow rate decreases as the current increases. Decrease in flow rate becomes more important when current value exceeds 9 Amperes.

4.2 Necessary Precautions

When installing an electromagnetic flowmeter in pipelines with cathodic protection, some specific conditions must be taken into account. The sensor and the medium must have roughly the same electrical potential to ensure that the measurement is accurate and no electrical erosion takes place at the electrodes. Normally the reference electrode in the sensor or the metal pipe ensures that the potentials are equalized [15, 16]. The transmitter must be supplied through an isolation transformer for compact mounting. The EMF should be installed with grounding plates, located between flanges, up- and downstream of the flowmeter which are insulated from the pipeline in order to provide a shunt path for the Cathodic Corrosion Protection (CCP) potential for pipelines with interior insulating liners. The grounding plates up- and downstream of the EMF are at the ground potential (Figure 7).
Grounding plates should be installed up- and downstream of the flowmeter primary. They must be insulated from the flanges and connected to ground together with the flowmeter primary. The flange bolts should be insulated and installed properly. The CCP potential must be shunted around the insulated flowmeter primary [7].

5. Conclusion

In this study, the operation of an electromagnetic flowmeter, cathodic protection system and methods, and also electromagnetic interference effect of cathodic protection on electromagnetic flowmeter sensor are presented. Although the calculation principles and measurements of cathodic protection system seem to be quite simple, their application in real systems is often sufficiently complex. In addition, cathodic protection currents can create undesired interference. These spoiling signals may affect flowmeter sensor operation principle.
Measurements are realized on the water distribution pipelines of the Izmir Municipality, Department of Water and Drainage Administration (IZSU) in Turkey. Cathodic protection method used for this pipeline is impressed current anode system. It is noticed from the measurement results that the measured flow rate decreases as the current increases. Decrease in flow rate becomes more important when current value exceeds 9 Amperes. Current requirement of the pipeline on which the measurements are made does not exceed 7 Amperes. So, maximum flowmeter error is less than 10%.
At galvanic anode systems where low current is used, flowmeter operation is usually not affected by electromagnetic interference in a great deal. But for high current requirements, impressed current anode systems are used and experimental results obtained in this study shows that the flow rates decrease when the current is greater than 9 Amperes. It is concluded that the CCP method used by the IZSU is appropriate and flowmeter error is less than 10%. Some precautions, proposed in 4.2, can be applied for reducing flowmeter error for applications with higher current requirements.

Acknowledgments

We would like thank Izmir Municipality, Department of Water and Drainage Administration (IZSU) since they allowed us to make measurements on their pipelines.

References

  1. National Research Council. Safe Drinking Water Committee. In Drinking Water and Health; The National Academic Press: Washington, D.C, 1982; Vol. 4, pp. 9–10. [Google Scholar]
  2. Javaherdashti, R. How Corrosion Affects Industry and Life. Journal of Anti-Corrosion Methods and Materials 2000, 47, 30–34. [Google Scholar]
  3. Sarfi, R.J.; Salama, M.M.A.; Gebotys, C.; Chikhani, A.Y. Optimal Design of Cathodic Protection Schemes: A Power Engineering Application. Canadian Conf. on Electrical and Computer Eng. 1993, 2, 664–667. [Google Scholar]
  4. Kleiner, Y.; Rajani, B. Quantifying Effectiveness of Cathodic Protection in Water Mains: Theory. Journal of Infrastructure Systems 2004, 10(2), 43–51. [Google Scholar]
  5. Kean, R.L.; Davies, K.G. Cathodic Protection, Report prepared British Department of Trade and Industry. The UK National Physical Laboratory 1981, 2–4. [Google Scholar]
  6. Flow Measurement Guidance Notes. Electromagnetic Flowmeters for the Water Industry. Nel Technology for life 2003, 1–3. [Google Scholar]
  7. ABB Automation Products GmbH. Electromagnetic Flowmeter Primary with pulsed DC magnetic Field Technology (DM_2/DM_4F Models); 2006; pp. 19–22. [Google Scholar]
  8. Parker, Gord W. New electromagnetic method to locate and asses buried CP problems. Nace Western Conference-Saskatoon 2000, 1–15. [Google Scholar]
  9. Instrumentation News and Notes Low Measurement Primer-Magnetic Flowmeters. CI Journals 2004.
  10. Bevir, M.K. The Theory of Induced Voltage Electromagnetic Flowmeters. Journal of Fluid Mechanics Digital Archive 1970, 43, 577–590, published online by Cambridge University Press. Mar.29, 2006. [Google Scholar]
  11. Khazan, A.D. Transducers and Their Elements; PTR Prentice Hall: Englewood Cliffs, NJ, USA, 1994. [Google Scholar]
  12. Xiao-Zhang Zhang. The Virtual Current of an Electromagnetic Flowmeter in Partially Filled Pipes. Inst. of Physics Electronic Journal, Measurement Science and Technology 1998, 9, 1852–1855. [Google Scholar]
  13. Krasnoyarski, V.V. Parameters of Cathodic Protection-Development of the Theory. Journal of Protection of Metals 2002, 38, 157–160. [Google Scholar]
  14. US Army Corps of Engineers. Electrical Design Cathodic Protection. Headquarters, Department of the Army 1985, Chapter 1. 1–2. [Google Scholar]
  15. Badgermeter, Inc. Magneto flow Electromagnetic Flowmeters; pp. 2–4.
  16. Endress+Hauser GmbH + Co.KG. Electromagnetic Flow Measuring System (PROline promag 10 model); 2003; pp. 43–45. [Google Scholar]
Figure 1. An electromagnetic flowmeter diagram.
Figure 1. An electromagnetic flowmeter diagram.
Sensors 07 00075f1
Figure 2. A flowmeter model.
Figure 2. A flowmeter model.
Sensors 07 00075f2
Figure 3. (a) Corrosion effects on pipelines; (b) corrosion process.
Figure 3. (a) Corrosion effects on pipelines; (b) corrosion process.
Sensors 07 00075f3
Figure 4. (a) Galvanic system; (b) impressed-current methods.
Figure 4. (a) Galvanic system; (b) impressed-current methods.
Sensors 07 00075f4
Figure 5. Electrical insulation test.
Figure 5. Electrical insulation test.
Sensors 07 00075f5
Figure 6. Graphic of EMF value via current.
Figure 6. Graphic of EMF value via current.
Sensors 07 00075f6
Figure 7. Flowmeter with grounding plates and ground.
Figure 7. Flowmeter with grounding plates and ground.
Sensors 07 00075f7
Table 1. Experimental measurement results.
Table 1. Experimental measurement results.
Measurement Results
DC Source(T/R)EMF's value
Voltage
(V)
Current
(A)
Flow
(lt/sn)
00425
22.1420
44.2415
66.35390
88.4380
99.5350
1010.5230
1213210
1415.5205
1619195

Share and Cite

MDPI and ACS Style

Gundogdu, S.; Sahin, O. E.M.I Effects of Cathodic Protection on Electromagnetic Flowmeters. Sensors 2007, 7, 75-83. https://doi.org/10.3390/s7010075

AMA Style

Gundogdu S, Sahin O. E.M.I Effects of Cathodic Protection on Electromagnetic Flowmeters. Sensors. 2007; 7(1):75-83. https://doi.org/10.3390/s7010075

Chicago/Turabian Style

Gundogdu, Serdar, and Ozge Sahin. 2007. "E.M.I Effects of Cathodic Protection on Electromagnetic Flowmeters" Sensors 7, no. 1: 75-83. https://doi.org/10.3390/s7010075

APA Style

Gundogdu, S., & Sahin, O. (2007). E.M.I Effects of Cathodic Protection on Electromagnetic Flowmeters. Sensors, 7(1), 75-83. https://doi.org/10.3390/s7010075

Article Metrics

Back to TopTop