A Novel Control Strategy for Soft Open Point to Address Terminal Voltage Violations and Load Rate Imbalance in Low-Voltage Power Distribution Station Areas
Abstract
1. Introduction
- A novel control strategy for SOP is proposed which relies solely on SOP local information and the load rate of transformers. This strategy can effectively address issues of voltage violations at the end of feeders and load rate imbalance among adjacent DSAs. It does not require reliance on a global sensor network and communication network, making it highly applicable in low-voltage distribution networks.
- Due to its independence from gathering global information for centralized decision-making, this strategy can respond on shorter time scales. As a result, it can serve as a complementary approach to hourly optimization scheduling strategies.
2. Topology, Sensor Network, and Voltage Regulation Principles of Flexible Interconnected Low-Voltage DSAs
2.1. Topology and Sensor Network of Flexible Interconnected Low-Voltage DSAs
2.2. Voltage Regulation Principles at the End of Feeders Based on SOP
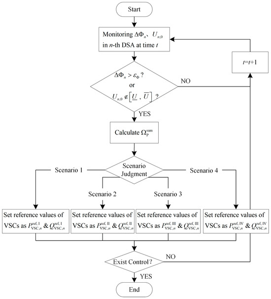
3. Proposed Strategy for Addressing Terminal Voltage Violations and Load Rate Imbalance
3.1. The Range of Adjustable Active Power Output of Each VSC
3.2. The Proposed Strategy for SOP
- (1)
- Scenario 1: does not include 0, i.e., or , as shown in Figure 6.
- (2)
- Scenario 2: The upper limit of is set to 0, i.e., , as shown in Figure 7.
- (3)
- Scenario 3: The lower limit of is equal to 0, i.e., , as shown in Figure 8.
- (4)
- Scenario 4: includes 0, i.e., , as shown in Figure 9.
4. Case Study
4.1. Settings of Cases
4.2. Results and Discussion
5. Conclusions
Author Contributions
Funding
Institutional Review Board Statement
Informed Consent Statement
Data Availability Statement
Conflicts of Interest
References
- Wang, Y.; Ai, X.; Tan, Z.; Yan, L.; Liu, S. Interactive dispatch modes and bidding strategy of multiple virtual power plants based on demand response and game theory. IEEE Trans. Smart Grid 2015, 7, 510–519. [Google Scholar] [CrossRef]
- Jianqiao, Z.; Jianwen, Z.; Dongmin, X.; Aozhe, Z.; Weipeng, Z.; Xu, C. Terminal voltage overlimit regulation of low-voltage distribution network based on coordinated active and reactive power control of soft open point. Autom. Electr. Power Syst. 2023, 47, 110–122. [Google Scholar]
- Yichao, D.; Shouxiang, W.; Bingke, Y. Review on evaluation methods and improvement techniques of dg hosting capacity in distribution network. Power Syst. Technol. 2019, 43, 2258–2266. [Google Scholar]
- Olivier, F.; Aristidou, P.; Ernst, D.; Van Cutsem, T. Active management of low-voltage networks for mitigating overvoltages due to photovoltaic units. IEEE Tran. Smart Grid 2016, 7, 926–936. [Google Scholar] [CrossRef]
- Yu, Y.; Fushuan, W.; Xinglong, Z.; Licheng, W.; Cong, W.; Yichun, G. Research review of voltage cooperative control in distribution system with high photovoltaic penetration. Electr. Power Autom. Equip. 2023, 43, 48–58. [Google Scholar]
- Cheng, Q.; Xincong, L.; Minhao, X.; Jianwen, Z.; Jianqiao, Z.; Gang, S. End-line voltage control of flexible interconnected distribution grid based on Back-to-Back voltage source converter. Renew. Energy Resour. 2022, 40, 94–100. [Google Scholar]
- Wenling, L.; Zhipeng, L.; Haitao, L. An overview of morphological development and operation control technology of power electronics dominated distribution area. Proc. CSEE 2023, 43, 4899–4922. [Google Scholar]
- Haitao, L.; Xinzhou, D.; Xiong, X.; Yini, X. Energy interconnection and energy microcirculation system of terminal power grid based on low-voltage flexible DC. Autom. Electr. Power Syst. 2023, 47, 40–47. [Google Scholar]
- Cao, W.; Wu, J.; Jenkins, N.; Wang, C.; Green, T. Benefits analysis of soft open points for electrical distribution network operation. Appl. Energy 2016, 165, 36–47. [Google Scholar] [CrossRef]
- Jafari, M.R.; Parniani, M.; Ravanji, M.H. Decentralized control of OLTC and PV inverters for voltage regulation in radial distribution networks with high PV penetration. IEEE Trans. Power Deliv. 2022, 37, 4827–4837. [Google Scholar] [CrossRef]
- Zhang, Z.J.; Zhang, Y.D.; Yue, D.; Dou, C.X.; Ding, L.; Tan, D.Y. Voltage regulation with high penetration of low-carbon energy in distribution networks: A source-grid-load-collaboration-based perspective. IEEE Trans. Industr. Inform. 2022, 18, 3987–3999. [Google Scholar] [CrossRef]
- Krein, P.T.; Galtieri, J.A. Active management of photovoltaic system variability with power electronics. IEEE Trans. Emerg. Sel. Top. Power Electron. 2021, 9, 6507–6523. [Google Scholar] [CrossRef]
- Cao, W.; Wu, J.; Jenkins, N.; Wang, C.; Green, T. Operating principle of soft open points for electrical distribution network operation. Appl. Energy 2016, 164, 245–257. [Google Scholar] [CrossRef]
- Li, P.; Ji, H.; Wang, C.; Zhao, J.; Song, G.; Ding, F.; Wu, J. Coordinated control method of voltage and reactive power for active distribution networks based on soft open point. IEEE Trans. Sustain. Energy 2017, 8, 1430–1442. [Google Scholar] [CrossRef]
- Li, P.; Ji, H.; Song, G.; Yao, M.; Wang, C.; Wu, J. A combined central and local voltage control strategy of soft open points in active distribution networks. Energy Procedia 2019, 158, 2524–2529. [Google Scholar] [CrossRef]
- Ji, H.; Yu, H.; Song, G.; Li, P.; Wang, C.; Wu, J. A decentralized voltage control strategy of soft open points in active distribution networks. Energy Procedia 2019, 159, 412–417. [Google Scholar] [CrossRef]
- Li, P.; Ji, H.; Yu, H.; Zhao, J.; Wang, C.; Song, G.; Wu, J. Combined decentralized and local voltage control strategy of soft open points in active distribution networks. Appl. Energy 2019, 241, 613–624. [Google Scholar] [CrossRef]
- Zhu, G.; Zhang, Y.; Ge, L.; Wang, L. Multi-timescale voltage optimization of flexible interconnected distribution network with self-energy storage. Autom. Electr. Power Syst. 2021, 45, 71–79. [Google Scholar]
- Lu, X.J.; Zhou, J.; Omer, S. Two-layer operation optimization of concentrated solar power with thermal energy storage system and soft open point. Int. J. Electr. Power Energy Syst. 2023, 146, 14. [Google Scholar] [CrossRef]
- Su, Y.; Teh, J. Two-stage optimal dispatching of AC/DC hybrid active distribution systems considering network flexibility. J. Mod. Power Syst. Clean Energy 2023, 11, 52–65. [Google Scholar] [CrossRef]
- Zheng, Y.; Song, Y.; Hill, D.J. A general coordinated voltage regulation method in distribution networks with soft open points. Int. J. Electr. Power Energy Syst. 2020, 116, 105571. [Google Scholar] [CrossRef]
- Bo, Z.; Wei, T.; Yongxiang, C.; Yue, W.; Lu, C. Collaborative configuration of energy storage systems and communication networks for accommodation of high-penetration residential PVs. Grid Technol. 2018, 42, 3161–3369. [Google Scholar]
- Yang, Z.; Yang, F.; Min, H.; Shen, Y.; Tang, X.; Hong, Y.; Qin, L. A local control strategy for voltage fluctuation suppression in a flexible interconnected distribution station area based on soft open point. Sustainability 2023, 15, 4424. [Google Scholar] [CrossRef]
- Cixuan, C. Fundamentals of Electrical Engineering, 3rd ed.; China Electric Power Press: Beijing, China, 2016; pp. 133–134. [Google Scholar]
- Zheng, X.; Hai, C. Review and applications of VSC HVDC. High Volt. Technol. 2007, 1, 1–10. [Google Scholar]
- Niancheng, Z.; Maofan, Z.; Xiaoxiao, M.; Jianquan, L.; Qianggang, W.; Yongjie, L. Control and stability analysis of power transmission between microgrids based on back-to-back converter interconnection. Autom. Electr. Power Syst. 2023, 47, 34–41. [Google Scholar]















| DSAs | Terminal Node Voltage (V) | Load Rate (%) | SOP Output Active Power (kW) | |||
|---|---|---|---|---|---|---|
| Before | After | Before | After | Before | After | |
| DSA 1 | 219.14 | 215.63 | 13.27 | 24.73 | −0.058 | −17.407 |
| DSA 2 | 214.74 | 209.91 | 12.27 | 25.58 | −6.000 | −31.145 |
| DSA 3 | 205.45 | 210.21 | 67.34 | 31.46 | 6.001 | 48.494 |
| DSAs | Terminal Node Voltage (V) | Load Rate (%) | SOP Output Active Power (kW) | |||
|---|---|---|---|---|---|---|
| Before | After | Before | After | Before | After | |
| DSA 1 | 219.14 | 213.21 | 13.27 | 29.38 | −0.058 | −24.093 |
| DSA 2 | 214.74 | 212.92 | 12.27 | 33.37 | −6.000 | −40.047 |
| DSA 3 | 201.04 | 214.35 | 87.38 | 38.00 | 6.001 | 64.081 |
| DSAs | Terminal Node Voltage (V) | Load Rate (%) | SOP Output Active Power (kW) | |||
|---|---|---|---|---|---|---|
| Before | After | Before | After | Before | After | |
| DSA 1 | 241.84 | 223.18 | −16.11 | 12.64 | −0.062 | −53.464 |
| DSA 2 | 214.74 | 213.80 | 12.27 | 20.06 | −6.000 | −20.468 |
| DSA 3 | 201.04 | 227.84 | 87.38 | 29.66 | 6.000 | 73.868 |
| DSAs | Before Adjustment | First Adjustment (0.6 s) | Second Adjustment (1.0 s) | Third Adjustment (1.5 s) | |
|---|---|---|---|---|---|
| Terminal node voltage (V) | DSA 1 | 242.87 | 215.20 | 215.19 | 215.19 |
| DSA 2 | 240.42 | 236.56 | 235.59 | 235.26 | |
| DSA 3 | 200.11 | 204.76 | 204.76 | 204.76 | |
| Load Rate (%) | DSA 1 | −17.15 | −8.53 | −8.52 | −8.52 |
| DSA 2 | −30.52 | 25.93 | −24.78 | −24.38 | |
| DSA 3 | 94.48 | 83.20 | 83.20 | 83.20 | |
| SOP output active power (kW) | DSA 1 | 2.271 | −11.721 | −11.724 | −11.723 |
| DSA 2 | −63.338 | −63.339 | −63.338 | −63.337 | |
| DSA 3 | 61.000 | 74.999 | 75.000 | 75.000 |
Disclaimer/Publisher’s Note: The statements, opinions and data contained in all publications are solely those of the individual author(s) and contributor(s) and not of MDPI and/or the editor(s). MDPI and/or the editor(s) disclaim responsibility for any injury to people or property resulting from any ideas, methods, instructions or products referred to in the content. |
© 2024 by the authors. Licensee MDPI, Basel, Switzerland. This article is an open access article distributed under the terms and conditions of the Creative Commons Attribution (CC BY) license (https://creativecommons.org/licenses/by/4.0/).
Share and Cite
Yang, Z.; Min, H.; Yang, F.; Lei, Y.; He, X.; Sun, H.; Tang, X. A Novel Control Strategy for Soft Open Point to Address Terminal Voltage Violations and Load Rate Imbalance in Low-Voltage Power Distribution Station Areas. Sensors 2024, 24, 1976. https://doi.org/10.3390/s24061976
Yang Z, Min H, Yang F, Lei Y, He X, Sun H, Tang X. A Novel Control Strategy for Soft Open Point to Address Terminal Voltage Violations and Load Rate Imbalance in Low-Voltage Power Distribution Station Areas. Sensors. 2024; 24(6):1976. https://doi.org/10.3390/s24061976
Chicago/Turabian StyleYang, Zhichun, Huaidong Min, Fan Yang, Yang Lei, Xiangling He, Haichang Sun, and Xu Tang. 2024. "A Novel Control Strategy for Soft Open Point to Address Terminal Voltage Violations and Load Rate Imbalance in Low-Voltage Power Distribution Station Areas" Sensors 24, no. 6: 1976. https://doi.org/10.3390/s24061976
APA StyleYang, Z., Min, H., Yang, F., Lei, Y., He, X., Sun, H., & Tang, X. (2024). A Novel Control Strategy for Soft Open Point to Address Terminal Voltage Violations and Load Rate Imbalance in Low-Voltage Power Distribution Station Areas. Sensors, 24(6), 1976. https://doi.org/10.3390/s24061976
