Gap Analysis of Ambient Electromagnetic Noise Measurements Stored in the ITU Data Banks
Abstract
1. Introduction
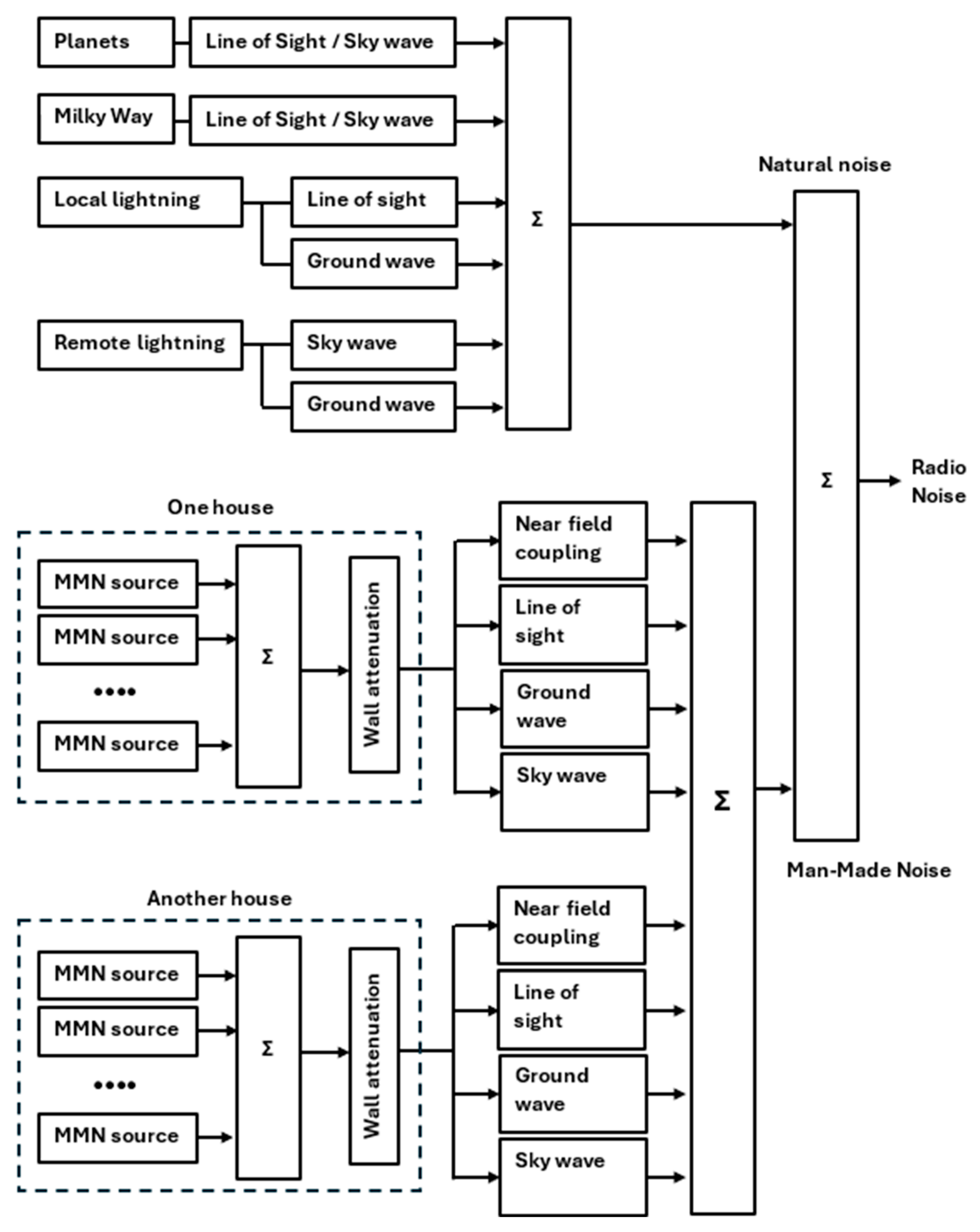
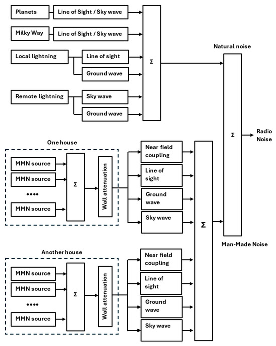
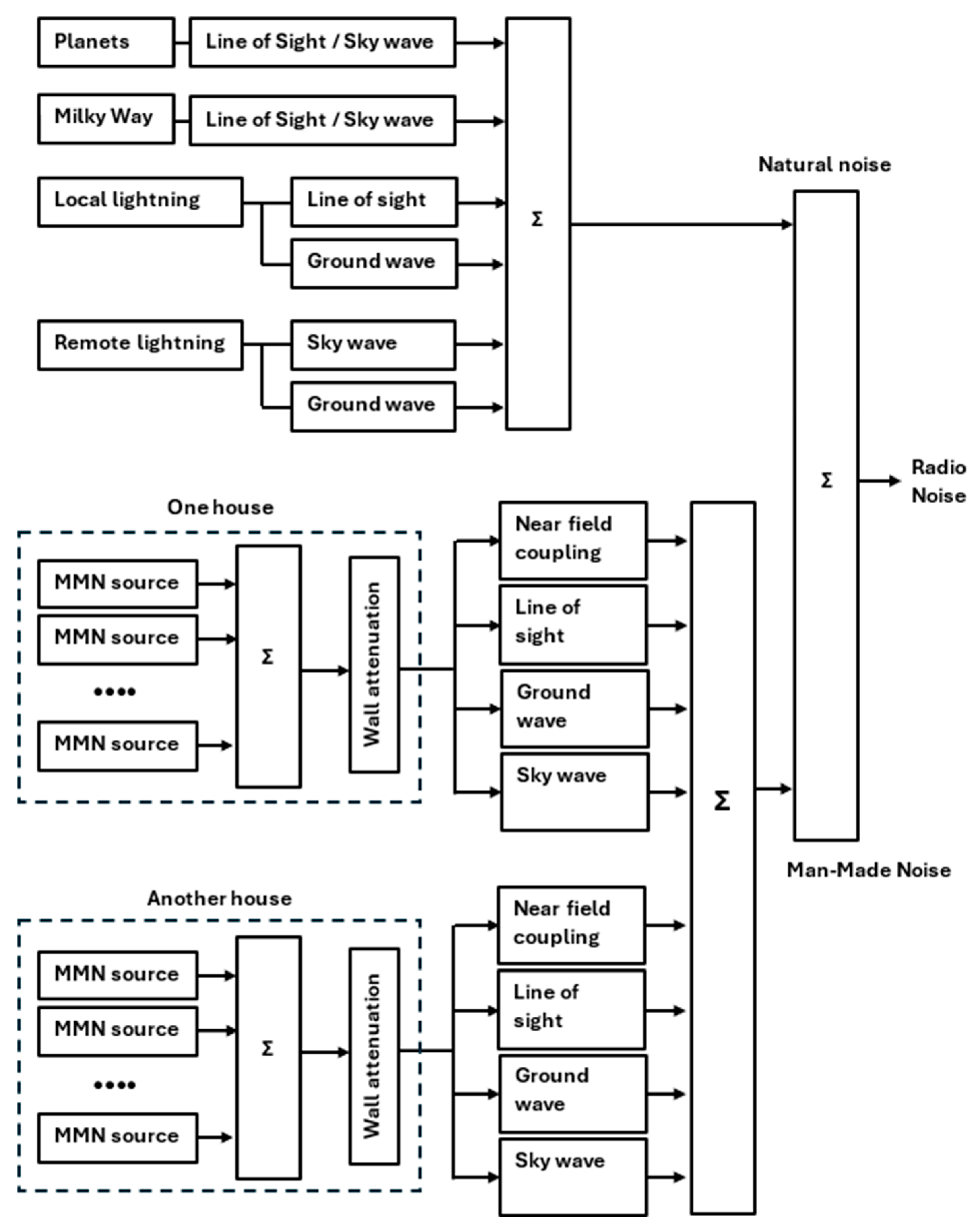
1.1. Natural Sources of Radio Noise
1.2. Man-Made Radio Noise
1.3. Radio Noise Level Predictions
1.4. The Desire to Update P.372
1.5. The Current Model Is Empirical
2. Man-Made Noise Levels in P.372
3. Gap Analysis
3.1. Geographical Distribution of Measurements
3.2. Measurements per Environment Type
| REMR | Remote Rural (P.372: Quiet Rural) |
| RURL | Rural |
| RESD | Residential |
| CITY | City |
| URBN | Urban |
| INDA | Industrial Area |
| ROAD | Highway |
| OFFC | Office area |
3.3. Spectral Coverage of the Measurements
3.4. Temporal Distribution of Measurements
4. Discussion and Recommendation
4.1. Impact of Insufficient Geographical Coverage
4.2. Insufficient Coverage of Environment Types
4.3. Insufficient Spectral Coverage
4.4. Impact of Insufficient Temporal Coverage
4.5. A Recommendation for Improved Participation of External Organizations
4.6. A Recommended Alternative Approach to Establish an ITU Noise Model
5. Future Work: A Physical Model, Validated with Measurements
6. Conclusions
6.1. RNDB Data Set Should Not Be Used for an Empirical Model
6.2. Application of the Model to Regulatory Discussions
Funding
Institutional Review Board Statement
Informed Consent Statement
Data Availability Statement
Acknowledgments
Conflicts of Interest
References
- Kraus, J.D. Antennas, 2nd ed.; McGraw-Hill: New York, NY, USA, 1988. [Google Scholar]
- Breton, D.J.; Haedrich, C.E.; Kamrath, M.J.; Wilson, D.K. Street-scale mapping of urban radio frequency noise at very high frequency and ultra high frequency. Radio Sci. 2019, 54, 934–948. [Google Scholar] [CrossRef]
- Rhee, J.H.; Kim, S.; Son, P.W.; Seo, J. Enhanced accuracy simulator for a future Korean nationwide eLoran system. IEEE Access. 2021, 9, 115042–115052. [Google Scholar] [CrossRef]
- Buchanan, K.; Xu, L.; Dilay, C.; Sternberg, O.; Hilton, D. Temporal HF Noise Cross-Correlation Trends in San Diego Waters. In Proceedings of the IEEE International Symposium on Antennas and Propagation and USNC-URSI Radio Science Meeting, Atlanta, Georgia, USA, 7–12 July 2019; pp. 2109–2110. [Google Scholar]
- Brentjens, M.A.; van Maanen, E.; Bolli, P.; Norden, M.J.; Witvliet, B.A.; Virone, G.; Paonessa, F.; Boonstra, A.J. Conditions for LOFAR radio telescope and wind farm co-existence. In Proceedings of the URSI RFI Workshop 2019: Coexistence with Radio Frequency Interference, Toulouse, France, 24 September 2019. [Google Scholar]
- Witvliet, B.A.; Alsina-Pagès, R.M.; Van Maanen, E.; Laanstra, G.J. Design and validation of probes and sensors for the characterization of magneto-ionic radio wave propagation on Near Vertical Incidence Skywave paths. Sensors 2019, 19, 2616. [Google Scholar] [CrossRef] [PubMed]
- Coleman, C.J.A. A direction-sensitive model of atmospheric noise and its application to the analysis of HF receiving antennas. Radio Sci. 2002, 37-3, 1–10. [Google Scholar] [CrossRef]
- Cecconi, B.; Hess, S.; Hérique, A.; Santovito, M.R.; Santos-Costa, D.; Zarka, P.; Alberti, G.; Blankenship, D.; Bougeret, J.-L.; Bruzzone, L.; et al. Natural radio emission of Jupiter as interferences for radar investigations of the icy satellites of Jupiter. Plan. Space Sci. 2012, 61, 32–45. [Google Scholar] [CrossRef]
- Ryabov, V.B.; Vavriv, D.M.; Zarka, P.; Ryabov, B.P.; Kozhin, R.; Vinogradov, V.V.; Denis, L. A low-noise, high-dynamic-range, digital receiver for radio astronomy applications: An efficient solution for observing radio-bursts from Jupiter, the Sun, pulsars, and other astrophysical plasmas below 30 MHz. Astron. Astrophys 2010, 510, A16. [Google Scholar] [CrossRef]
- Jansky, K.G. Electrical disturbances apparently of extraterrestrial origin. Proc. Inst. Radio Eng. 1933, 21, 1387–1398. [Google Scholar] [CrossRef]
- Ryan, A.M. Low Frequency Observations of the Solar Corona Using LOFAR. Ph.D. Thesis, Trinity College, Dublin, Ireland, 2021. [Google Scholar]
- Gu, X.; Li, G.; Pang, H.; Wang, S.; Ni, B.; Luo, F.; Peng, R.; Chen, L. Statistical analysis of very low frequency atmospheric noise caused by the global lightning using ground-based observations in China. J. Geophys. Res. Space Phys. 2021, 126, e2020JA029101. [Google Scholar] [CrossRef]
- Witvliet, B.A.; Alsina-Pagès, R.M.; Altadill, D.; Van Maanen, E.; Laanstra, G.J. Separation of ambient radio noise and radio signals received via ionospheric propagation. Atmosphere 2023, 14, 529. [Google Scholar] [CrossRef]
- Witvliet, B.A.; van Maanen, E.; Bentum, M.J.; Slump, C.H.; Schiphorst, R. A novel method for the evaluation of polarization and hemisphere coverage of HF radio noise measurement antennas. In Proceedings of the IEEE International Symposium on Electromagnetic Compatibility (EMC), Dresden, Germany, 16–22 August 2015; pp. 289–294. [Google Scholar]
- Radio Noise; Recommendation ITU-R P.372-17; International Telecommunication Union, Radio Sector: Geneva, Switzerland, 2024.
- Compilation of Measurement Data Relating to Building Entry Loss; Report ITU-R P.2346-3; International Telecommunication Union, Radio Sector: Geneva, Switzerland, 2019.
- Methods for Measurements of Radio Noise; Recommendation ITU-R SM.1753-2; International Telecommunication Union, Radio Sector: Geneva, Switzerland, 2021.
- International Telecommunication Union, Radio Sector, Study Group 3 ‘Radiowave Propagation’. Available online: https://www.itu.int/en/ITU-R/study-groups/rsg3/Pages/default.aspx (accessed on 1 October 2024).
- Fockens, K.T.W.H.; Leferink, F. Correlation between measured man-made noise levels and the density of habitation. Trans. Electromagn. Compat. 2020, 62, 2696–2703. [Google Scholar] [CrossRef]
- Haedrich, C.E.; Breton, D.J. Modeling RF Noise in Urban Environments with Spatially Distributed Point Sources. In Proceedings of the USNC-CNC-URSI North American Radio Science Meeting (Joint with AP-S Symposium), Toronto, ON, Canada, 5–10 July 2020; pp. 163–164. [Google Scholar]











| Country | Nr of Meas. | Rel. nr. of Meas. |
|---|---|---|
| Germany | 15,347 | 17% |
| Japan | 71,796 | 80% |
| Netherlands | 750 | 1% |
| Spain | 22 | 0% |
| UK | 2062 | 2% |
| USA | 228 | 0% |
| total | 90,205 |
| Country | Nr of Meas. | Rel. nr. of Meas. |
|---|---|---|
| Germany | 654 | 79% |
| Japan | 80 | 10% |
| The Netherlands | 61 | 7% |
| Spain | 1 | 0% |
| UK | 33 | 4% |
| USA | 4 | 0% |
| Total | 833 |
| Country | REMR | RURL | RESD | CITY | URBN | INDA | ROAD | OFFC | Other |
|---|---|---|---|---|---|---|---|---|---|
| Germany | 1336 | 10,804 | 3207 | ||||||
| Japan | 15,663 | 19,008 | 12,960 | 11,205 | 12,960 | ||||
| The Netherlands | 80 | 120 | 430 | 96 | 24 | ||||
| Spain | 22 | ||||||||
| UK | 465 | 286 | 306 | 218 | 242 | 178 | 367 | ||
| USA | 137 | 91 | |||||||
| Total | 102 | 1921 | 27,183 | 22,754 | 13,269 | 11,447 | 13,138 | 367 | 24 |
| Country | REMR | RURL | RESD | CITY | URBN | INDA | ROAD | OFFC |
|---|---|---|---|---|---|---|---|---|
| Germany | 70% | 40% | 14% | |||||
| Japan | 58% | 84% | 98% | 98% | 99% | |||
| The Netherlands | 78% | 6% | 2% | 0.4% | ||||
| Spain | 22% | |||||||
| UK | 24% | 1% | 1% | 2% | 2% | 1% | 100% | |
| USA | 0.6% | 0.7% |
| Country | REMR | RURL | RESD | CITY | URBN | INDA | ROAD | OFFC | Other |
|---|---|---|---|---|---|---|---|---|---|
| Germany | 12 | 13 | 11 | ||||||
| Japan | 14 | 12 | 12 | 12 | 12 | ||||
| The Netherlands | 28 | 12 | 12 | 12 | 12 | ||||
| Spain | 1 | ||||||||
| UK | 2 | 2 | 2 | 2 | 2 | 2 | 2 | ||
| USA | 3 | 2 |
Disclaimer/Publisher’s Note: The statements, opinions and data contained in all publications are solely those of the individual author(s) and contributor(s) and not of MDPI and/or the editor(s). MDPI and/or the editor(s) disclaim responsibility for any injury to people or property resulting from any ideas, methods, instructions or products referred to in the content. |
© 2024 by the author. Licensee MDPI, Basel, Switzerland. This article is an open access article distributed under the terms and conditions of the Creative Commons Attribution (CC BY) license (https://creativecommons.org/licenses/by/4.0/).
Share and Cite
Witvliet, B.A. Gap Analysis of Ambient Electromagnetic Noise Measurements Stored in the ITU Data Banks. Sensors 2024, 24, 6832. https://doi.org/10.3390/s24216832
Witvliet BA. Gap Analysis of Ambient Electromagnetic Noise Measurements Stored in the ITU Data Banks. Sensors. 2024; 24(21):6832. https://doi.org/10.3390/s24216832
Chicago/Turabian StyleWitvliet, Ben A. 2024. "Gap Analysis of Ambient Electromagnetic Noise Measurements Stored in the ITU Data Banks" Sensors 24, no. 21: 6832. https://doi.org/10.3390/s24216832
APA StyleWitvliet, B. A. (2024). Gap Analysis of Ambient Electromagnetic Noise Measurements Stored in the ITU Data Banks. Sensors, 24(21), 6832. https://doi.org/10.3390/s24216832

