Estimating Heart Rate and Respiratory Rate from a Single Lead Electrocardiogram Using Ensemble Empirical Mode Decomposition and Spectral Data Fusion
Abstract
1. Introduction
2. Materials and Proposed Method
2.1. Dataset
2.2. The Proposed Method
2.2.1. Using EEMD to Decompose the ECG Signal
2.2.2. Grouping IMFs for HR and RR
2.2.3. IMFs Mapping to Frequency Levels
2.2.4. Spectral Data Fusion of IMFs for HR and RR
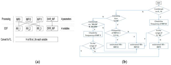
2.2.5. The Rules of Selection for RR Estimations
- The frequencies of RR_1, RR_2, and RR_3 are the same; if the frequency appears in IMF9–IMF11, then the frequency is selected as estimated RR.
- If the combinations of FLs are composed at least of two ‘H’ FLs and one from the DRR_IMF, then the IMF9 is selected as the estimated RR, as showing in Table 3, combination I.
- If combinations II of FLs are not obvious to identify whether IMF9 or IMF10 is selected as the estimated RR, then check the frequency of IMF10 according to the rule, as shown in Figure 4, to select the IMF.
- If the combinations of FLs are composed at least of three ‘M’ FLs, then the IMF10 is selected the estimated RR, as shown in Table 3, combination III.
- If the combinations of FLs are composed at least of two ‘L’ FLs among RR_1-RR_3, and DRR_IMF is ‘M’, then the IMF10 is selected as the estimated RR, as shown in Table 3, combination IV
- If the combination of FL is ‘LLLM’, then it needs to check IMF11 further. If the FL of IMF11 is ‘L’, then the IMF11 is selected as the estimated RR, as shown in Figure 4b.
- If the combination of FL is ‘MLLM’ or ‘MLMM’, then it needs to check IMF9 further. If the FL of IMF9 is ‘M’, then the IMF9 is selected as the estimated RR, as shown in Figure 4b.
- For outliers handling, if the outliner is over 5.5 BPM above the mean value of 3 previous values, then the previous one is selected to replace the currently estimated frequency (outlier).
2.2.6. The Optimal RR
2.2.7. EEMD-PCA Method
2.2.8. Estimation of HR and RR
2.3. Performance Measures
3. Results
4. Discussion
5. Conclusions
Author Contributions
Funding
Institutional Review Board Statement
Informed Consent Statement
Data Availability Statement
Acknowledgments
Conflicts of Interest
References
- Jacob Rodrigues, M.; Postolache, O.; Cercas, F. Physiological and Behavior Monitoring Systems for Smart Healthcare Environments: A Review. Sensors 2020, 20, 2186. [Google Scholar] [CrossRef]
- Varon, C.; Morales, J.; Lázaro, J. A Comparative Study of ECG-derived Respiration in Ambulatory Monitoring using the Single-lead ECG. Sci. Rep. 2020, 10, 5704. [Google Scholar] [CrossRef] [PubMed]
- Rajakariar, K.; Koshy, A.N.; Sajeev, J.K. Accuracy of a smartwatch based single-lead electrocardiogram device in detection of atrial fibrillation. Heart 2020, 106, 665–670. [Google Scholar] [CrossRef] [PubMed]
- Himmelreich, C.L. Diagnostic Accuracy of a Smartphone-Operated, Single-Lead Electrocardiography Device for Detection of Rhythm and Conduction Abnormalities in Primary Care. Ann. Fam. Med. 2019, 17, 403–411. [Google Scholar] [CrossRef]
- Haverkamp, H.T.; Fosse, S.O.; Schuster, P. Accuracy and usability of single-lead ECG from smartphones—A clinical study. Indian Pacing Electrophysiol. J. 2019, 19, 145–149. [Google Scholar] [CrossRef] [PubMed]
- Van Loon, K.; van Zaane, B.; Bosch, E.J.; Kalkman, C.J.; Peelen, L.M. Non-Invasive Continuous Respiratory Monitoring on General Hospital Wards: A Systematic Review. PLoS ONE 2015, 10, e0144626. [Google Scholar] [CrossRef] [PubMed]
- Webster, J. Medical Instrumentation: Application and Design; John and Wiley and Sons: New York, NY, USA, 2009. [Google Scholar]
- Constant, I.; Laude, D.; Murat, I.; Elghozi, J.L. Pulse rate variability is not a surrogate for heart rate variability. Clin. Sci. (Lond.) 1999, 97, 391–397. [Google Scholar] [CrossRef]
- Jan, H.; Chen, M.; Fu, T.; Lin, W.C.; Tsai, C.-L.; Lin, K.-P. Evaluation of Coherence between ECG and PPG Derived Parameters on Heart Rate Variability and Respiration in Healthy Volunteers with/without Controlled Breathing. J. Med. Biol. Eng. 2019, 39, 783–795. [Google Scholar] [CrossRef]
- Wong, J.S.; Lu, W.A.; Wu, K.T.; Liu, M.; Chen, G.Y.; Kuo, C.D. A comparative study of pulse rate variability and heart rate variability in healthy subjects. J. Clin. Monit. Comput. 2012, 26, 107–114. [Google Scholar] [CrossRef]
- Liu, H.; Allen, J.; Zheng, D.; Chen, F. Recent development of respiratory rate measurement technologies. Physiol. Meas. 2019, 40, 07TR01. [Google Scholar] [CrossRef]
- Janbakhshi, P.; Shamsollahi, M.B. ECG-derived respiration estimation from single-lead ECG using gaussian process and phase space reconstruction methods. Biomed. Signal Process. Control 2018, 45, 80–90. [Google Scholar] [CrossRef]
- Zhao, Y.; Zhao, J.; Li, Q. Derivation of Respiratory Signals from Single-Lead ECG. In Proceedings of the 2008 International Seminar on Future BioMedical Information Engineering, Wuhan, China, 18 December 2008; pp. 15–18. [Google Scholar]
- Charlton, P.H.; Bonnici, T.; Tarassenko, L.; Alastruey, J.; Clifton, D.A.; Beale, R.; Watkinson, P.J. Extraction of respiratory signals from the electrocardiogram and photoplethysmogram: Technical and physiological determinants. Physiol. Meas. 2017, 38, 669–690. [Google Scholar] [CrossRef]
- Boyle, J.; Bidargaddi, N.; Sarela, A.; Karunanithi, M. Automatic detection of respiration rate from ambulatory single-lead ECG. IEEE Trans. Inf. Technol. Biomed. 2009, 13, 890–896. [Google Scholar] [CrossRef] [PubMed]
- Espíritu Santo, A.E.; Carbajal, C. Respiration rate extraction from ECG signal via discrete wavelet transform. In Proceedings of the 2010 2nd Circuits and Systems for Medical and Environmental Applications Workshop (CASME), Merida, Mexico, 13–15 December 2010; pp. 1–4. [Google Scholar]
- Charlton, P.H.; Bonnici, T.; Tarassenko, L.; Clifton, D.A.; Beale, R.; Watkinson, P.J. An assessment of algorithms to estimate respiratory rate from the electrocardiogram and photoplethysmogram. Physiol. Meas. 2016, 37, 610–626. [Google Scholar] [CrossRef]
- Huang, E.; Shen, Z.; Long, S.; Wu, M.L.C.; Shih, H.H.; Zheng, Q.; Yen, N.; Tung, C.; Liu, H.H. The Empirical Mode Decomposition and the Hilbert Spectrum for Nonlinear and Non-Stationary Time Series Analysis. Proc. Math. Phys. Eng. Sci. 1998, 454, 903–995. [Google Scholar] [CrossRef]
- Campolo, M.; Labate, D.; La Foresta, F.; Morabito, F.C.; Lay-Ekuakille, A.; Vergallo, P. ECG-derived respiratory signal using Empirical Mode Decomposition. In Proceedings of the 2011 IEEE International Symposium on Medical Measurements and Applications, Bari, Italy, 30–31 May 2011; pp. 399–403. [Google Scholar]
- Zheng, J.; Wang, W.; Zhang, Z.; Wu, D.; Wu, H.; Peng, C.K. A robust approach for ECG-based analysis of cardiopulmonary coupling. Med. Eng. Phys. 2016, 38, 671–678. [Google Scholar] [CrossRef] [PubMed]
- Hidalgo-Muñoz, A.R.; Tomé, A.M.; Zarzoso, V. Empirical mode decomposition for noninvasive atrial fibrillation dominant frequency estimation. In Proceedings of the 2015 23rd European Signal Processing Conference (EUSIPCO), Nice, France, 31 August–4 September 2015; pp. 2581–2585. [Google Scholar]
- Wu, Z.; Huang, N.E. Ensemble empirical mode decomposition: A noise-assisted data analysis method. Adv. Adapt. Data. Anal. 2009, 1, 1–41. [Google Scholar] [CrossRef]
- Labate, D.; La Foresta, F.; Occhiuto, G.; Morabito, F.C.; Lay-Ekuakille, A.; Vergallo, P. Empirical Mode Decomposition vs. Wavelet Decomposition for the Extraction of Respiratory Signal From Single-Channel ECG: A Comparison. IEEE Sens. J. 2013, 13, 2666–2674. [Google Scholar] [CrossRef]
- Mandic, D. Data Fusion for Modern Engineering Applications: An Overview. ICANN 2005, 715–721. [Google Scholar] [CrossRef]
- Langley, P.; Bowers, E.J.; Murray, A. Principal Component Analysis as a tool for Analyzing Beat-to-Beat Changes in ECG Features: Application to ECG-Derived Respiration. IEEE Trans. BioMed. Eng. 2010, 57, 821–829. [Google Scholar] [CrossRef]
- Widjaja, D.; Perez, J.C.; Dorado, A.C.; Van Huffel, S. An improved ECG-Derived Respiration Method using Kernel Principal Component Analysis. In Proceedings of the Computing in Cardiology, Hangzhou, China, 18–21 September 2011; pp. 45–48. [Google Scholar]
- Gao, Y.; Yan, H.; Xu, Z.; Xiao, M.; Song, J. A principal component analysis based data fusion method for ECG-derived respiration from single-lead ECG. Australas Phys. Eng. Sci. Med. 2018, 41, 59–67. [Google Scholar] [CrossRef]
- Orphanidoua, C.; Fleming, S.; Shah, S.A.; Tarassenko, L. Data fusion for estimating respiratory rate from a single-lead ECG. Biomed. Signal Process. Control 2013, 8, 98–105. [Google Scholar] [CrossRef]
- Alikhani, I.; Noponen, K.; Hautala, A.; Ammann, R.; Seppänen, T. Spectral fusion-based breathing frequency estimation; experiment on activities of daily living. BioMed Eng. OnLine 2018, 17, 99. [Google Scholar] [CrossRef] [PubMed]
- Motin, M.A.; Karmakar, C.K.; Palaniswami, M. Ensemble Empirical Mode Decomposition with Principal Component Analysis: A Novel Approach for Extracting Respiratory Rate and Heart Rate from Photoplethysmographic Signal. IEEE J. Biomed. Health 2018, 22, 766–774. [Google Scholar] [CrossRef] [PubMed]
- Fleming, S.; Thompson, M.; Stevens, R.; Heneghan, C. Normal ranges of heart rate and respiratory rate in children from birth to 18 years of age: A systematic review of observational studies. Lancet 2011, 377, 1011–1018. [Google Scholar] [CrossRef]
- Schmidt, M.; Krug, J.W.; Schumann, A.; Bär, K.; Rose, G. Estimation of a respiratory signal from a single-lead ECG using the 4th order central moments. Curr. Dir. Biomed. Eng. 2015, 1, 61–64. [Google Scholar] [CrossRef]
- Walsh, J.A., III; Topol, E.J.; Steinhubl, S.R. Novel wireless devices for cardiac monitoring. CIRC J. 2014, 130, 573–581. [Google Scholar] [CrossRef]
- Khalil, A.; Kelen, G.; Rothman, R.E. A simple screening tool for identification of community-acquired pneumonia in an inner city emergency department. Emerg. Med. J. 2007, 24, 336–338. [Google Scholar] [CrossRef]











| Frequency Level | Range (BPM) | Range (Hz) | RR Conditions |
|---|---|---|---|
| H | H > 20 BPM | H > 0.3333 | greater than normal |
| M | 12 < M ≤ 20 | 0.2 < M ≤ 0.3333 | normal range of RR for adult |
| L | L ≤ 12 BPM | L < 0.2 | less than normal |
| Item | IMF9 (BPM) | IMF10 (BPM) | IMF11 (BPM) | IMF12 (BPM) |
|---|---|---|---|---|
| median | 23.80 | 12.81 | 7.32 | 4.57 |
| maximum | 44.86 | 27.46 | 13.73 | 7.32 |
| minimum | 14.64 | 8.23 | 4.57 | 4.57 |
| frequency level | H | M | L | excluded |
| I | II | III | IV | V | |
|---|---|---|---|---|---|
| HLLH | HLHM | MLMM | MLLM | MLLH | |
| FL | HLHH | HMHM | MHMM | LLLM | HLLM |
| combinations | HMHH | MLMH | MMMM | LMLM | LLLH |
| HHHH | HLMM | MMMH | LHLM | ||
| MLHH HHHM | HMMM MMLM | ||||
| Selected IMF | IMF9 | IMF9 or IMF10 | IMF10 | IMF10 | IMF9 or IMF10 |
| EEMD-SDF (BPM) | EEMD-PCA (BPM) | |
|---|---|---|
| MAE | 0.92 | 0.91 |
| rMAE | 1.46% | 1.43% |
| RMSE | 1.32 | 1.28 |
| bias | −0.02 | −0.07 |
| LoA(2 SD) | (−2.67, 2.50) | (−2.57, 2.46) |
| EEMD-SDF (BPM) | EEMD-RR_3 (BPM) | EEMD-PCA (BPM) | Optimal RR (BPM) | |
|---|---|---|---|---|
| MAE | 2.20 | 3.81 | 7.03 | 1.82 |
| rMAE | 17.02% | 27.19% | 55.77% | 12.78% |
| RMSE | 2.92 | 6.00 | 10.78 | 2.52 |
| bias | −0.08 | −0.46 | 5.34 | −0.25 |
| LoA(2 SD) | (−5.83, 5.65) | (−12.16, 11.35) | (−13.05, 23.74) | (−5.17, 4.65) |
| Method | Age | Situation | MAE | rMAE (%) | Reference |
|---|---|---|---|---|---|
| EEMD-SDF | Healthy young and elderly mixed | rest and recovered mixed | 2.2 | 17.0 | The proposed approach |
| Band pass filter plus RSA | healthy young to middle aged | lying | 2.0 | 18.0 | [15] |
| Recoverd1 | 3.1 | 16.0 | |||
| Recoverd2 | 4.4 | 20.0 | |||
| Features extraction and central moment | young | rest and watch movie | 2.0 | 12.2 | [32] |
| 2.7 | 16.9 | ||||
| 2.1 | 11.8 | ||||
| elderly | 1.3 | 7.0 | |||
| 2.2 | 13.1 | ||||
| 3.2 | 18.1 |
| Algorithm | Over All Rank | 2SD (BPM) | Bias (BPM) | 95% LoA | Proportion of Estimated Data (%) |
|---|---|---|---|---|---|
| The proposed approach | 7 | 5.7 | −0.08 | −5.83 to 5.65 | 92.3 |
| A | 1 | 4.7 | 0.0 | −4.7 to 4.7 | 73.8 |
| B | 2 | 5.2 | 1.4 | −3.8 to 6.4 | 72.3 |
| C | 3 | 5.2 | 2.0 | −3.3 to 7.2 | 75.4 |
| D | 4 | 5.3 | 1.4. | −3.8 to 6.7 | 72.5 |
| clinical monitor | 5 | 5.4 | −0.2 | −5.8 to 5.2 | 100 |
| F | 6 | 5.6 | −0.2 | −5.8 to 5.4 | 100 |
| G | 8 | 5.7 | −0.2 | −5.9 to 5.4 | 100 |
| H | 9 | 5.7 | −0.2 | −6.0 to 5.5 | 100 |
| I | 10 | 5.7 | 0.5 | −5.2 to 6.3 | 100 |
Publisher’s Note: MDPI stays neutral with regard to jurisdictional claims in published maps and institutional affiliations. |
© 2021 by the authors. Licensee MDPI, Basel, Switzerland. This article is an open access article distributed under the terms and conditions of the Creative Commons Attribution (CC BY) license (http://creativecommons.org/licenses/by/4.0/).
Share and Cite
Chung, I.-Q.; Yu, J.-T.; Hu, W.-C. Estimating Heart Rate and Respiratory Rate from a Single Lead Electrocardiogram Using Ensemble Empirical Mode Decomposition and Spectral Data Fusion. Sensors 2021, 21, 1184. https://doi.org/10.3390/s21041184
Chung I-Q, Yu J-T, Hu W-C. Estimating Heart Rate and Respiratory Rate from a Single Lead Electrocardiogram Using Ensemble Empirical Mode Decomposition and Spectral Data Fusion. Sensors. 2021; 21(4):1184. https://doi.org/10.3390/s21041184
Chicago/Turabian StyleChung, Iau-Quen, Jen-Te Yu, and Wei-Chi Hu. 2021. "Estimating Heart Rate and Respiratory Rate from a Single Lead Electrocardiogram Using Ensemble Empirical Mode Decomposition and Spectral Data Fusion" Sensors 21, no. 4: 1184. https://doi.org/10.3390/s21041184
APA StyleChung, I.-Q., Yu, J.-T., & Hu, W.-C. (2021). Estimating Heart Rate and Respiratory Rate from a Single Lead Electrocardiogram Using Ensemble Empirical Mode Decomposition and Spectral Data Fusion. Sensors, 21(4), 1184. https://doi.org/10.3390/s21041184
