Optical Fibre-Based Sensors for Oil and Gas Applications
Abstract
1. Introduction
2. Optical Fibre-Based Sensors
2.1. Wavelength Modulation-Based Sensing
2.2. Intensity Modulation-Based Sensing
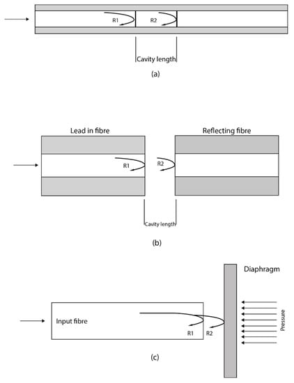
2.3. Interferometry-Based Sensing
2.4. Polarisation Modulation-Based Sensing
2.5. Fibre Bragg Grating Sensors
2.6. Distributed Fibre-Optic Sensing (DFOS) Technologies Based on Rayleigh, Raman and Brillouin Scattering
3. DFOS in the Oil and Gas Industry
3.1. Distributed Temperature Sensing (DTS)
3.2. Distributed Acoustic Sensing (DAS)
3.3. Distributed Temperature and/or Strain Sensing (DTSS)
3.4. Distributed Pressure Sensing (DPS)
3.5. Distributed Chemical Sensing (DCS)
4. DTS for Oil and Gas Well Monitoring
4.1. DTS Fibre Configuration in Oil Well
4.1.1. Single-Ended Configuration
4.1.2. Duplexed Single-Ended Configuration
4.1.3. Double Ended Configuration
4.2. Typical Oil and Gas Well Installation of Distributed Sensing System
4.2.1. Retrievable Installation
4.2.2. Semi-Permanent Installation
4.2.3. Permanent Installation
5. Optical Fibre-Based Multiparameter Sensors
6. Outlook
7. Conclusions
Author Contributions
Funding
Institutional Review Board Statement
Informed Consent Statement
Data Availability Statement
Acknowledgments
Conflicts of Interest
References
- Lehmkoster, J. Schroder, T. Oil and gas from the sea. In World Ocean Review; Maribus gGmbH: Hamburg, Germany, 2014. [Google Scholar]
- Algeroy, J.; Lovell, J.; Tirado, G.; Meyyappan, R.; Brown, G.; Greenaway, R.; Carney, M.; Meyer, J.H.; Davies, J.E.; Pinzon, I.D. Permanent monitoring: Taking it to the reservoir. Oilfield Rev. Spring 2010, 22, 34–41. [Google Scholar]
- Zhang, Y.; Xiao, L.; Fu, J.; Chen, H.; Zhao, X. The perspective of the permanent monitoring with an FBG sensor network in oil and gas production in China. Int. Soc. Opt. Photonics 2005, 6041, 60410X. [Google Scholar] [CrossRef]
- Xu, X.-H.; Peng, G.; Liu, X.-F.; Shao, Y.-L.; Xiao-Hong, X.; Gang, P.; Xue-Feng, L.; Yan-Lin, S. Oil and gas exploration information integration management plan based on GIS technology. In Proceedings of the 2012 Fourth International Conference on Computational and Information Sciences, Chongqing, China, 17–19 August 2012; pp. 526–529. [Google Scholar] [CrossRef]
- Akhondi, M.R.; Talevski, A.; Carlsen, S.; Petersen, S. Applications of wireless sensor networks in the oil, gas and resources industries. Adv. Inf. Netw. Appl. 2010, 941–948. [Google Scholar]
- Stalford, H.; Ahmed, R. Intelligent Casing-Intelligent Formation (ICIF) Design. In Proceedings of the Offshore Technology Conference, Houstin, TX, USA, 5–8 May 2014. [Google Scholar] [CrossRef]
- Zhang, Y.Z.; Xiao, L.Z.; Wang, J.Y. Oil well real-time monitoring with downhole permanent FBG sensor network. Control and automation. In Proceedings of the 2007 IEEE International Conference on Control and Automation, Seoul, Korea, 17–20 October 2007; pp. 2591–2594. [Google Scholar]
- Makhlouf, A.S.H.; Aliofkhazraei, M. (Eds.) Handbook of Materials Failure Analysis with Case Studies from the Oil and Gas Industries; Butterworth-Heinemann: Oxford, UK, 2015. [Google Scholar]
- Gysling, D.; Bostick, F. Changing paradigms in oil and gas reservoir monitoring—The introduction and commercialization of in-well optical sensing systems. In Proceedings of the 2002 15th Optical Fiber Sensors Conference, Portland, OR, USA, 6–10 May 2002. [Google Scholar] [CrossRef]
- Meehan, N. Reservoir Monitoring Handbook; Elsevier Science & Technology Books: Contoocook, NH, USA, 2012. [Google Scholar]
- Craig, B. Deep oil and gas well construction. Adv. Mater. Processes. 2008, 166, 33–35. [Google Scholar]
- DeBruijn, G.; Skeates, C.; Greenaway, R.; Harrison, D.; Parris, M.; James, S.; Mueller, F.; Ray, S.; Riding, M.; Temple, L.; et al. High-pressure, high-temperature technologies. Oilfield Rev. 2008, 20, 46–60. [Google Scholar]
- Hoffmann, L.; Muller, M.S.; Kramer, S.; Giebel, M.; Schwotzer, G.; Wieduwilt, T. Applications of fibre optic temperature meas-urement. Proc. Est. Acad. Sci. Eng. 2007, 13, 363–378. [Google Scholar]
- Mukhopadhyay, S.C. New Developments in Sensing Technology for Structural Health Monitoring; Springer: New York, NY, USA, 2011. [Google Scholar]
- Lee, B. Review of the present status of optical fiber sensors. Opt. Fiber Technol. 2003, 9, 57–79. [Google Scholar] [CrossRef]
- Hill, D. Managing oil and gas with fibre-optic sensing. EIC Energy Focus 2014, 3, 221–222. [Google Scholar]
- Choudhury, P.; Singh, O.N. Frontiers in Optical Technology: Materials and Devices; Nova Publishers: Hauppauge, NY, USA, 2007. [Google Scholar]
- Gholamzadeh, B.; Nabovati, H. Fiber optic sensors. World Acad. Sci. Eng. Technol. 2008, 42, 335–340. [Google Scholar]
- Kinet, D.; Mégret, P.; Goossen, K.W.; Qiu, L.; Heider, D.; Caucheteur, C. Fiber bragg grating sensors toward structural health monitoring in composite materials: Challenges and solutions. Sensors 2014, 14, 7394–7419. [Google Scholar] [CrossRef]
- Cooper, K.L.; Wang, A.; Pickrell, G.R. Optical Fiber High Temperature Sensor Instrumentation for Energy Intensive Industries; Virginia Polytechnic Institute and State University: Blacksburg, VA, USA, 2006. [Google Scholar] [CrossRef]
- Owen, C. Fibre Optic Exploration. 2012. Available online: http://www.oilandgastechnology.net/upstream-news/fibre-optic-exploration (accessed on 19 April 2021).
- Million Worldwide Distributed Acoustic Sensing Industry to 2025—Impact of COVID-19. 2020. Available online: https://www.globenewswire.com/news-release/2020/06/18/2050020/0/en/792-Million-Worldwide-Distributed-Acoustic-Sensing-Industry-to-2025-Impact-of-COVID-19.html (accessed on 19 April 2021).
- Fidanboylu, K.; Efendioglu, H. Fiber optic sensors and their application. In Proceedings of the 5th International Advanced Technologies Symposium (IATS’09), Karabuk, Turkey, 13–15 May 2009. [Google Scholar]
- Hecht, E. Optics; Pearson: London, UK, 2014. [Google Scholar]
- Giaccari, P.; Limberger, H.G.; Kronenberg, P. Influence of humidity and temperature on polyimide-coated fiber Bragg gratings. In Proceedings of the Bragg Gratings, Photosensitivity, and Poling in Glass Waveguides, Stresa, Italy, 4 July 2001. [Google Scholar]
- Gusarov, A.; Chojetzki, C.; McKenzie, I.; Thienpont, H.; Berghmans, F. Effect of the fiber coating on the radiation sensitivity of type I FBGs. IEEE Photon- Technol. Lett. 2008, 20, 1802–1804. [Google Scholar] [CrossRef]
- Yeo, T.; Sun, T.; Grattan, K.; Parry, D.; Lade, R.; Powell, B. Characterisation of a polymer-coated fibre Bragg grating sensor for relative humidity sensing. Sen. Actuators B Chem. 2005, 110, 148–156. [Google Scholar] [CrossRef]
- Hill, D.; Cranch, G. Gain in hydrostatic pressure sensitivity of coated fibre Bragg grating. Electron. Lett. 1999, 35, 1268. [Google Scholar] [CrossRef]
- Fiber Coatings, Buffering and Cabling Materials. Available online: https://www.ofsoptics.com/optical-fiber-coatings/ (accessed on 19 April 2021).
- Guobin, R.; Zhi, W.; Shuqin, L.; Yan, L.; Shuisheng, J. Full-vectorial analysis of complex refractive index photonic crystal fibers. Opt. Express 2004, 12, 1126–1135. [Google Scholar] [CrossRef]
- Cucinotta, A. Photonic Crystal Fiber: Theory and Fabrication; Bentham Science: Sharjah, United Arab Emirates, 2012; pp. 84–92. [Google Scholar]
- Dainese, P.; Russell, P.S.J.; Joly, N.; Knight, J.C.; Wiederhecker, G.S.; Fragnito, H.L.; Laude, V.; Khelif, A. Stimulated Brillouin scattering from multi-GHz-guided acoustic phonons in nanostructured photonic crystal fibres. Nat. Phys. 2006, 2, 388. [Google Scholar] [CrossRef]
- Bae, H.; Yu, M. Miniature fabry-perot pressure sensor created by using UV-molding process with an optical fiber based mold. Opt. Express 2012, 20, 14573–14583. [Google Scholar] [CrossRef]
- Lee, C.; Taylor, H. Fiber-optic Fabry-Perot temperature sensor using a low-coherence light source. J. Lightw. Technol. 1991, 9, 129–134. [Google Scholar] [CrossRef]
- Liu, T.; Fernando, G.F. A frequency division multiplexed low-finesse fiber optic Fabry–Perot sensor system for strain and displacement measurements. Rev. Sci. Instrum. 2000, 71, 1275–1278. [Google Scholar] [CrossRef]
- Udd, E. Fiber optic smart structures. Proc. IEEE 1996, 84, 884–894. [Google Scholar] [CrossRef]
- Kee, H.H.; Lees, G.P.; Newson, T.P. 1.65 µm Raman-based distributed temperature sensor. Electron. Lett. 1999, 35, 1869–1871. [Google Scholar]
- Chen, X.; Shen, F.; Wang, Z.; Huang, Z.; Wang, A. Micro-air-gap based intrinsic Fabry-Perot interferometric fiber-optic sensor. Appl. Opt. 2006, 45, 7760–7766. [Google Scholar] [CrossRef]
- Pinet, E. Fabry-Pérot fiber-optic sensors for physical parameters measurement in challenging conditions. J. Sens. 2009, 2009, 720980. [Google Scholar] [CrossRef]
- Song, M.; Lee, B.; Lee, S.B.; Choi, S.S. Interferometric temperature-insensitive strain measurement with different-diameter fiber Bragg gratings. Opt. Lett. 1997, 22, 790–792. [Google Scholar] [CrossRef]
- Rao, Y. In-fibre Bragg grating sensors. Meas. Sci. Technol. 1997, 8, 355. [Google Scholar] [CrossRef]
- Parker, T.R.; Farhadiroushan, M.; Handerek, V.A.; Rogers, A.J. Temperature and strain dependence of the power level and frequency of spontaneous Brillouin scattering in optical fibers. Opt. Lett. 1997, 22, 787–789. [Google Scholar] [CrossRef] [PubMed]
- Wait, P.; De Souza, K.; Newson, T. A theoretical comparison of spontaneous Raman and Brillouin based fibre optic distributed temperature sensors. Opt. Commun. 1997, 144, 17–23. [Google Scholar] [CrossRef][Green Version]
- Luo, J.; Hao, Y.; Ye, Q.; Hao, Y.; Li, L. Development of optical fiber sensors based on brillouin scattering and FBG for on-line mon-itoring in overhead transmission lines. J. Lightw. Technol. 2013, 31, 1559–1565. [Google Scholar] [CrossRef]
- Hill, K.O.; Fujii, Y.; Johnson, D.C.; Kawasaki, B.S. Photosensitivity in optical fiber waveguides: Application to reflection filter fabrication. Appl. Phys. Lett. 1978, 32, 647–649. [Google Scholar] [CrossRef]
- Arie, A.; Lissak, B.; Tur, M. Static fiber-Bragg grating strain sensing using frequency-locked lasers. J. Lightw. Technol. 1999, 17, 1849–1855. [Google Scholar] [CrossRef]
- Xu, M.; Geiger, H.; Dakin, J. Fibre grating pressure sensor with enhanced sensitivity using a glass-bubble housing. Electron. Lett. 1996, 32, 128–129. [Google Scholar] [CrossRef]
- Chakravartula, V.; Samiappan, D.; Kumar, R. Sensitivity enhancement analysis due to different coating materials of Fibre Bragg Grating-based depth sensor for underwater applications. Opt. Quantum Electron. 2020, 52, 1–5. [Google Scholar] [CrossRef]
- Schroeder, R.J. High pressure and temperature sensing for the oil industry using fiber Bragg gratings written onto side hole single mode fiber. In Proceedings of the 13th International Conference on Optical Fiber Sensors, Bellingham, WA, USA, 1 September 1999; p. 109. [Google Scholar] [CrossRef]
- Amos, S.; Njuguma, J.; Prabhu, R. Modelling and simulation of fiber Bragg grating characterization for oil and gas sensing ap-plications. In Proceedings of the 2014 First International Conference on Systems Informatics, Modelling and Simulation, Sheffield, UK, 29 April–1 May 2014; pp. 255–260. [Google Scholar]
- Sennhauser, U.; Frank, A.; Mauron, P.; Nellen, P. Reliability of optical fiber Bragg grating sensors at elevated temperature. In Proceedings of the 2000 IEEE International Reliability Physics Symposium, San Jose, CA, USA, 10–13 April 2002; pp. 264–269. [Google Scholar] [CrossRef]
- Lin, B.; Bao, J.; Yu, L.; Giurgiutiu, V. Acoustic emission detection with fiber optical sensors for dry cask storage health monitoring. In Proceedings of the Sensors and Smart Structures Technologies for Civil, Mechanical, and Aerospace Systems, Las Vegas, NV, USA, 21–24 March 2016; Volume 9803, p. 98031H-1. [Google Scholar] [CrossRef]
- Shao, Z.; Rong, Q.; Chen, F.; Qiao, X. High-spatial-resolution ultrasonic sensor using a micro suspended-core fiber. Opt. Express 2018, 26, 10820–10832. [Google Scholar] [CrossRef]
- Berthold, J. Historical review of microbend fiber-optic sensors. J. Lightw. Technol. 1995, 13, 1193–1199. [Google Scholar] [CrossRef]
- Molenaar, M.M.; Fidan, E.; Hill, D.J. Real-time downhole monitoring of hydraulic fracturing treatments using fibre optic dis-tributed temperature and acoustic sensing. In Proceedings of the SPE/EAGE European Unconventional Resources Conference & Exhibition-From Potential to Production. European Association of Geoscientists & Engineers, Vienna, Austria, 20 March 2012; p. 285. [Google Scholar]
- Amos, S. Cross Sensitivity Analysis of Optical Fibre-Based Sensing for High Pressure, High Temperature Measurement in Oil and Gas Applications. Ph.D. Thesis, Robert Gordon University, Aberdeen, UK, 2018. [Google Scholar]
- Yin, S.; Yu, F.T.S. Fiber Optic Sensors; CRC Press: Boca Raton, FL, USA, 2002. [Google Scholar]
- Chen, L.; Chan, C.; Yuan, W.; Goh, S.; Sun, J. High performance chitosan diaphragm-based fiber-optic acoustic sensor. Sen. Actuators A Phys. 2010, 163, 42–47. [Google Scholar] [CrossRef]
- Marques, R.D.S.; Prado, A.R.; Antunes, P.F.D.C.; André, P.S.D.B.; Ribeiro, M.R.N.; Neto, A.F.; Pontes, M.J. Corrosion resistant FBG-based quasi-distributed sensor for crude oil tank dynamic temperature profile monitoring. Sensors 2015, 15, 30693–30703. [Google Scholar] [CrossRef]
- Amos, S.; Prabhu, R.; Njuguna, J. Theoretical design and analysis of a sensing system for high pressure and temperature meas-urement in subsea underwater applications. In Proceedings of the OCEANS 2017, Aberdeen, UK, 19 June 2017. [Google Scholar]
- Liao, Y.-C.; Liu, B.; Liu, J.; Wan, S.-P.; He, X.-D.; Yuan, J.; Fan, X.; Wu, Q. High temperature (Up to 950 °C) sensor based on micro taper in-line fiber mach–zehnder interferometer. Appl. Sci. 2019, 9, 2394. [Google Scholar] [CrossRef]
- Zhao, Y.; Dai, M.; Chen, Z.; Liu, X.; Gandhi, M.S.A.; Li, Q.; Fu, H.Y. Ultrasensitive temperature sensor with Vernier-effect improved fiber Michelson interferometer. Opt. Express 2021, 29, 1090–1101. [Google Scholar] [CrossRef] [PubMed]
- Wang, Q.; Han, L.; Fan, X.; Zhu, J. Distributed fiber optic vibration sensor based on polarization fading model for gas pipeline leakage testing experiment. J. Low Freq. Noise, Vib. Act. Control. 2017, 37, 468–476. [Google Scholar] [CrossRef]
- Krohn, D.A.; MacDougall, T.W.; Mendez, A. Fiber Optic Sensors: Fundamentals and Applications; Spie Press: Bellingham, WA, USA, 2014. [Google Scholar] [CrossRef]
- Barlow, A.; Payne, D. The stress-optic effect in optical fibers. IEEE J. Quantum Electron. 1983, 19, 834–839. [Google Scholar] [CrossRef]
- McStay, D.; Shiach, G.; Nolan, A.; McAvoy, S. Optoelectronic sensors for subsea oil and gas production. J. Physics: Conf. Ser. 2007, 76, 012065. [Google Scholar] [CrossRef]
- Gooneratne, C.P.; Li, B.; Moellendick, T.E. Downhole applications of magnetic sensors. Sensors 2017, 17, 2384. [Google Scholar] [CrossRef]
- Spillman, W.B. Multimode fiber-optic pressure sensor based on the photoelastic effect. Opt. Lett. 1982, 7, 388–390. [Google Scholar] [CrossRef]
- Giles, I.P.; McNeill, S.; Culshaw, B. A stable remote intensity based optical fiber sensor. J. Phys. E Sci. Instrum. 1985, 18, 502–504. [Google Scholar] [CrossRef]
- Mendez, A. Fiber Bragg grating sensors: A market overview. In Third European Workshop on Optical Fibre Sensors; International Society for Optics and Photonics: Bellingham, WA, USA, 2007; Volume 6619, p. 661905. [Google Scholar] [CrossRef]
- Meltz, G.; Morey, W.W.; Glenn, W.H. Formation of Bragg gratings in optical fibers by a transverse holographic method. Opt. Lett. 1989, 14, 823–825. [Google Scholar] [CrossRef] [PubMed]
- Yariv, A. Coupled-mode theory for guided-wave optics. IEEE J. Quantum Electron. 1973, 9, 919–933. [Google Scholar] [CrossRef]
- Erdogan, T. Fiber grating spectra. J. Lightw. Technol. 1997, 15, 1277–1294. [Google Scholar] [CrossRef]
- Lemaire, P.J.; Atkins, R.M.; Mizrahi, V.; Reed, W.A. High pressure H2 loading as a technique for achieving ultrahigh UV photosensitivity and thermal sensitivity in GeO2 doped optical fibres. Electron. Lett. 1993, 29, 1191–1193. [Google Scholar] [CrossRef]
- Hill, K.O.; Malo, B.; Bilodeau, F.; Johnson, D.C.; Albert, J. Bragg gratings fabricated in monomode photosensitive optical fiber by UV exposure through a phase mask. Appl. Phys. Lett. 1993, 62, 1035–1037. [Google Scholar] [CrossRef]
- Othonos, A.; Xavier, L. Novel and improved methods of writing Bragg gratings with phase masks. IEEE Photonics Technol. Lett. 1995, 7, 1183–1185. [Google Scholar] [CrossRef]
- He, J.; Xu, B.; Xu, X.; Liao, C.; Wang, Y. Review of femtosecond-laser-inscribed fiber bragg gratings: Fabrication technologies and sensing applications. Photon-Sensors 2021, 11, 203–226. [Google Scholar] [CrossRef]
- Qiao, X.; Shao, Z.; Bao, W.; Rong, Q. Fiber Bragg grating sensors for the oil industry. Sensors 2017, 17, 429. [Google Scholar] [CrossRef]
- Riant, I. UV-photoinduced fibre gratings for gain equalization. Opt. Fiber Technol. 2002, 8, 171–194. [Google Scholar] [CrossRef]
- Erdogan, T.; Sipe, J.E. Tilted fiber phase gratings. J. Opt. Soc. Am. A 1996, 13, 296–313. [Google Scholar] [CrossRef]
- Vengsarkar, A.M.; Lemaire, P.J.; Judkins, J.B.; Bhatia, V.; Erdogan, T.; Sipe, J.E. Long-period fiber gratings as band-rejection filters. J. Lightw. Technol. 1996, 14, 58–65. [Google Scholar] [CrossRef]
- Eggleton, B.; Ouellette, F.; Poladian, L.; Krug, P. Long periodic superstructure Bragg gratings in optical fibres. Electron. Lett. 1994, 30, 1620–1622. [Google Scholar] [CrossRef]
- Malo, B.; Hill, K.; Thériault, S.; Bilodeau, F.; Johnson, D.; Albert, J. Apodised in-fibre Bragg grating reflectors photoimprinted using a phase mask. Electron. Lett. 1995, 31, 223–225. [Google Scholar] [CrossRef]
- Sipe, J.E.; Poladian, L.; De Sterke, C.M. Propagation through nonuniform grating structures. J. Opt. Soc. Am. A 1994, 11, 1307–1320. [Google Scholar] [CrossRef]
- Loh, W.H.; Laming, R.I. 1.55 micron phase-shifted distributed feedback fibre laser. Electron. Lett. 1995, 31, 1440–1442. [Google Scholar] [CrossRef]
- Smolen, J.J.; Van Der Spek, A. Distributed Temperature Sensing: A DTS Primer for Oil & Gas Production, 2003. The Hague: Shell International Exploration and Production, B.V. Available online: http://drilling.posccaesar.org/export/385/projects/DailyProductionReport_1.0/XML/Version1.0/WITSML131/doc/Shell_DTS_Primer.pdf (accessed on 19 April 2021).
- Inaudi, D.; Branko, G. Fiber Optic Sensing for innovative oil and gas production and transport systems. In Opt. Fiber Sensors; Optical Society of America: Washington, DC, USA, 2006. [Google Scholar]
- Oulundsen, G.; Hennessey, D.; Conroy, M. Laser Focus World. 2015. Available online: http://www.laserfocusworld.com/articles/print/volume-51/issue-01/features/fiber-for-remote-sensing-downhole-sensing-applications-enhanced-by-specialty-optical-fibers.html (accessed on 19 April 2021).
- Wang, X.; Lee, J.; Vachon, G. Distributed Temperature Sensor (DTS) System Modeling and Application. In Proceedings of the SPE Saudi Arabia Section Technical Symposium, Al-Khobar, Saudi Arabia, 10 May 2008. [Google Scholar] [CrossRef]
- Liu, B.; Buric, M.P.; Chorpening, B.T.; Yu, Z.; Homa, D.S.; Pickrell, G.R.; Wang, A. Design and implementation of distributed ultra-high temperature sensing system with a single crystal fiber. J. Lightwave Technol. 2018, 36, 5511–5520. [Google Scholar] [CrossRef]
- E. Silva, M.S.P.; Alves, H.P.; Nascimento, J.F.D.; Martins-Filho, J.F. Impact of pulse width on the sensitivity and range of a raman-based distributed fiberoptic temperature sensor. J. Microw. Optoelectron. Electromagn. Appl. 2018, 17, 539–551. [Google Scholar] [CrossRef]
- Tanimola, F.; Hill, D. Distributed fibre optic sensors for pipeline protection. J. Nat. Gas Sci. Eng. 2009, 1, 134–143. [Google Scholar] [CrossRef]
- Boone, K.; Ridge, A.; Crickmore, A.; Onen, D. Detecting leaks in abandoned gas wells with fibre-optic distributed acoustic sensing. In Proceedings of the International Petroleum Technology Conference, Doha, Qatar, 19–22 January 2014. [Google Scholar]
- Boering, M.; Braal, R.; Cheng, L.K. Toward the next fiber optic revolution and decision making in the oil and gas industry. In Proceedings of the Offshore Technology Conference, Houston, TX, USA, 6–9 May 2013. [Google Scholar] [CrossRef]
- Hull, J.; Gosselin, L.; Borzel, K. Well integrity monitoring & analysis using distributed acqustic fiber optic sensors. In Proceedings of the ADC/SPE Drilling Conference and Exhibition, New Orleans, LA, USA, 2–4 February 2010. [Google Scholar]
- Bao, X.; Chen, L. Recent progress in distributed fiber optic sensors. Sensors 2012, 12, 8601–8639. [Google Scholar] [CrossRef] [PubMed]
- Hausner, M.B.; Suarez, F.; Glander, K.E.; Van De Giesen, N.; Selker, J.S.; Tyler, S.W. Calibrating single-ended fiber-optic raman spectra distributed temperature sensing data. Sensors 2011, 11, 10859–10879. [Google Scholar] [CrossRef] [PubMed]
- Poeggel, S.; Tosi, D.; Duraibabu, D.; Leen, G.; McGrath, D.; Lewis, E. Optical fibre pressure sensors in medical applications. Sensors 2015, 15, 17115–17148. [Google Scholar] [CrossRef]
- Méndez, A.; Diatzikis, E. Fiber Optic Distributed Pressure Sensor Based on Brillouin Scattering; Optical Society of America: Washington, DC, USA, 2006. [Google Scholar]
- Hashemian, H.; Black, C.; Farmer, J. Assessment of Fiber Optic Pressure Sensors. 1995. Available online: https://www.osti.gov/servlets/purl/7139 (accessed on 19 April 2021).
- Zhang, L.; Yang, Z.; Szostkiewicz, Ł.; Markiewicz, K.; Nasilowski, T.; Thévenaz, L. Fully distributed pressure sensing with ul-tra-high-sensitivity using side-hole fibers. In Proceedings of the 26th International Conference on Optical Fiber Sensors, Lausanne, Switzerland, 24–28 September 2018. [Google Scholar]
- Pospíšilová, M.; Kuncová, G.; Trögl, J. Fiber-Optic Chemical Sensors and Fiber-Optic Bio-Sensors. Sensors 2015, 15, 25208–25259. [Google Scholar] [CrossRef]
- Boersma, A.; Saalmink, M.; Lucassen, T.; Wiegersma, S.; Jansen, R.; Jansen, R.; Cheng, L. Fiber Bragg Distributed Chemical Sensor; IEEE: New York, NY, USA, 2011; pp. 1480–1483. [Google Scholar] [CrossRef]
- Hwang, D.; Yoon, D.-J.; Kwon, I.-B.; Seo, D.-C.; Chung, Y. Novel auto-correction method in a fiber-optic distributed-temperature sensor using reflected anti-Stokes Raman scattering. Opt. Express 2010, 18, 9747–9754. [Google Scholar] [CrossRef]
- Van De Giesen, N.; Steele-Dunne, S.C.; Jansen, J.; Hoes, O.; Hausner, M.B.; Tyler, S.; Selker, J. Double-Ended Calibration of Fiber-Optic Raman Spectra Distributed Temperature Sensing Data. Sensors 2012, 12, 5471–5485. [Google Scholar] [CrossRef]
- Suh, K.; Lee, C. Auto-correction method for differential attenuation in a fiber-optic distributed-temperature sensor. Opt. Lett. 2008, 33, 1845–1847. [Google Scholar] [CrossRef]
- Tyler, S.W.; Selker, J.S.; Hausner, M.B.; Hatch, C.E.; Torgersen, T.; Thodal, C.E.; Schladow, S.G. Environmental temperature sensing using Raman spectra DTS fiber-optic methods. Water Resour. Res. 2009, 45. [Google Scholar] [CrossRef]
- Zhang, Z.; Wang, J.; Li, Y.; Gong, H.; Yu, X.; Liu, H.; Jin, Y.; Kang, J.; Li, C.; Zhang, W.; et al. Recent progress in distributed optical fiber Raman photon sensors at China Jiliang University. Photon-Sensors 2012, 2, 127–147. [Google Scholar] [CrossRef][Green Version]
- Chou, C.-C.; Sun, N.-H. Analysis of leaky-mode losses for optical fibers. J. Opt. Soc. Am. B 2008, 25, 545–554. [Google Scholar] [CrossRef]
- Alexander Schmidt, M.; Argyros, A.; Sorin, F. Hybrid optical fibers–An innovative platform for in-fiber photonic devices. Adv. Opt. Mater. 2016, 4, 13–36. [Google Scholar] [CrossRef]
- Duo, Y.; Xiangge, H.; Fei, L.; Lijuan, G.; Min, Z.; Xiaokang, Q.; Han, Y. Self-suppression of common-mode noises of the different fiber optic interferometric accelerometers. Opt. Express 2018, 26, 15384–15397. [Google Scholar] [CrossRef] [PubMed]
- Singer, J.M.; Karabacak, D.M.; Farnan, M.; Ibrahim, S.K.; Todd, M. A fiberoptic sensing system for system health monitoring in oil & gas industry applications. In Proceedings of the European Workshop on Structural Health Monitoring, Bilbao, Spain, 5–8 July 2016. [Google Scholar]
- Miah, K.; Potter, D.K. A Review of hybrid fiber-optic distributed simultaneous vibration and temperature sensing technology and its geophysical applications. Sensors 2017, 17, 2511. [Google Scholar] [CrossRef]
- Pevec, S.; Donlagić, D. Multiparameter fiber-optic sensors: A review. Opt. Eng. 2019, 58, 072009. [Google Scholar] [CrossRef]
- Rao, Y. Recent progress in applications of in-fibre Bragg grating sensors. Opt. Lasers Eng. 1999, 31, 297–324. [Google Scholar] [CrossRef]
- Davis, C.; Carome, E.; Weik, M.; Ezekiel, S.; Einzig, R. Fiberoptic Sensor Technology Handbook; Optical Technology Inc.: Herndon, VA, USA, 1986. [Google Scholar]
- Zhang, W.; Dong, X.; Zhao, Q.; Kai, G.; Yuan, S. FBG-type sensor for simultaneous measurement of force (or displacement) and temperature based on bilateral cantilever beam. IEEE Photon- Technol. Lett. 2001, 13, 1340–1342. [Google Scholar] [CrossRef]
- Xu, M.; Archambault, J.; Reekie, L.; Dakin, J. Thermally-compensated bending gauge using surface-mounted fibre gratings. In-ternational. J. Optoelectron. 1994, 9, 281–284. [Google Scholar]
- Song, M.; Lee, S.B.; Choi, S.S.; Leeb, B. Simultaneous measurement of temperature and strain using two fiber bragg gratings embedded in a glass tube. Opt. Fiber Technol. 1997, 3, 194–196. [Google Scholar] [CrossRef]
- Xu, M.G.; Reekie, L.; Dakin, J.P.; Archambault, J.-L. Discrimination between strain and temperature effects using dual-wavelength fibre grating sensors. Electron. Lett. 1994, 30, 1085–1087. [Google Scholar] [CrossRef]
- Rogers, A.J.; Handerek, V.A.; Kanellopoulos, S.E.; Zhang, J. New ideas in nonlinear distributed optical fiber sensing. In Proceedings of the European Symposium on Optics for Environmental and Public Safety International Society for Optics and Photonics, Munich, Germany, 15 September 1995; pp. 162–174. [Google Scholar]
- James, S.; Dockney, M.; Tatam, R. Simultaneous independent temperature and strain measurement using in-fibre Bragg grating sensors. Electron. Lett. 1996, 32, 1133–1134. [Google Scholar] [CrossRef]
- Zhou, Z.; Graver, T.W.; Hsu, L.; Ou, J. Techniques of Advanced FBG sensors: Fabrication, demodulation, encapsulation and their application in the structural health monitoring of bridges. Pac. Sci. Rev. 2003, 5, 116–121. [Google Scholar]
- Saitoh, T.; Nakamura, K.; Takahashi, Y.; Iida, H.; Iki, Y.; Miyagi, K. Ultra-long-distance fiber bragg grating sensor system. IEEE Photon- Technol. Lett. 2007, 19, 1616–1618. [Google Scholar] [CrossRef]
- Kong, D.; Chang, J.; Gong, P.; Liu, Y.; Sun, B.; Liu, X.; Wang, P.; Wang, Z.; Wang, W.; Zhang, Y. Analysis and improvement of SNR in FBG sensing system. Photon-Sensors 2012, 2, 148–157. [Google Scholar] [CrossRef][Green Version]
- Johny, J.; Prabhu, R.; Fung, W.K.; Watson, J. Investigation of positioning of FBG sensors for smart monitoring of oil and gas subsea structures. In Proceedings of the OCEANS 2016, Shanghai, China, 10–13 April 2016; pp. 1–4. [Google Scholar] [CrossRef]
- Johny, J.; Summers, J.; Bhavsar, K.; Joseph, G.P.; Fung, W.K.; Prabhu, R. Theoretical investigation of positional influence of FBG sensors for structural health monitoring of offshore structures. In Proceedings of the OCEANS 2017, Aberdeen, UK, 19 June 2017; pp. 1–5. [Google Scholar] [CrossRef]
- Huang, J.; Zhou, Z.; Zhang, D.; Wei, Q. A fiber bragg grating pressure sensor and its application to pipeline leakage detection. Adv. Mech. Eng. 2013, 5, 590451. [Google Scholar] [CrossRef]
- Frazao, O.; Carvalho, J.; Ferreira, L.; Araújo, F.; Santos, J. Discrimination of strain and temperature using Bragg gratings in mi-crostructured and standard optical fibres. Meas. Sci. Technol. 2005, 16, 2109. [Google Scholar] [CrossRef]
- Knight, J.; Birks, T.A.; Russell, P.; Atkin, D.M. All-silica single-mode optical fiber with photonic crystal cladding. Opt. Lett. 1996, 21, 1547–1549. [Google Scholar] [CrossRef] [PubMed]
- Knight, J.C. Photonic crystal fibres. Nature 2003, 424, 847–851. [Google Scholar] [CrossRef]
- Martelli, C.; Canning, J.; Groothoff, N.; Lyytikainen, K. Bragg gratings in photonic crystal fibers: Strain and temperature characterization. In Proceedings of the International Society for Optics and Photonics, Bruges, Belgium, 23–27 May 2005; pp. 302–305. [Google Scholar]
- Jollivet, C.; Guer, J.; Hofmann, P.; Schulzgen, A. Monolithic fiber lasers combining active PCF with bragg gratings in conven-tional single-mode fibers. IEEE J. Sel. Top. Quantum Electron. 2014, 20, 36–41. [Google Scholar] [CrossRef]
- Cusano, A.; Paladino, D. Developments and Applications of Microstructured Fiber Bragg Gratings. J. Lightw. Technol. 2009, 27, 1663–1697. [Google Scholar] [CrossRef]
- Zhao, Y.; Zhang, Y.; Wu, D.; Wang, Q. Magnetic field and temperature measurements with a magnetic fluid-filled photonic crystal fiber bragg grating. Instrum. Sci. Technol. 2013, 41, 463–472. [Google Scholar] [CrossRef]
- Chen, W.; Li, J.; Lu, P. Progress of photonic crystal fibers and their applications. Frontiers of Optoelectronics in China. Sel. Publ. Chin. Univ. 2009, 2, 50–57. [Google Scholar]
- Johny, J.; Prabhu, R.; Fung, W.K. Investigation of structural parameter dependence of confinement losses in PCF–FBG sensor for oil and gas sensing applications. Opt. Quantum Electron. 2016, 48, 1–9. [Google Scholar] [CrossRef]
- Johny, J.; Smith, T.; Bhavsar, K.; Prabhu, R. Design of optical fibre based highly sensitive acoustic sensor for underwater applica-tions. In Proceedings of the OCEANS 2017, Aberdeen, UK, 19 June 2017. [Google Scholar]
- Wolinski, T.; Szaniawska, K.; Ertman, S.; Lesiak, P.; Domanski, A.W.; Dabrowski, R.; Nowinowski-Kruszelnicki, E.; Wojcik, J. Influence of temperature and electrical fields on propagation properties of photonic liquid-crystal fibres. Meas. Sci. Technol. 2006, 17, 985–991. [Google Scholar] [CrossRef]
- Algorri, J.F.; Urruchi, V.; Bennis, N.; Sánchez-Pena, J.M. A Novel high-sensitivity, low-power, liquid crystal temperature sensor. Sensors 2014, 14, 6571–6583. [Google Scholar] [CrossRef]
- Algorri, J.; Zografopoulos, D.; Tapetado, A.; Poudereux, D.; Sánchez-Pena, J. Infiltrated photonic crystal fibers for sensing ap-plications. Sensors 2018, 18, 4263. [Google Scholar] [CrossRef] [PubMed]
- Rajan, G. Optical Fiber Sensors: Advanced Techniques and Applications; CRC Press: Boca Raton, FL, USA, 2015. [Google Scholar]
- Johny, J.; Prabhu, R.; Fung, W.K. Numerical investigation of nanostructured silica pcfs for sensing applications. JOM 2017, 69, 2286–2291. [Google Scholar] [CrossRef]
- Johny, J.; Prabhu, R.; Fung, W.K. Computational study of nanostructured composite materials for photonic crystal fibre sensors. IOP Conf. Series Mater. Sci. Eng. 2017, 195, 12012. [Google Scholar] [CrossRef]
- Chen, D. Nanostructured photonic crystal fiber with ultra-high birefringence. In Proceedings of the 2006 International Symposium on Biophotonics, Nanophotonics and Metamaterials, Hangzhou, China, 16–18 October 2006; pp. 362–365. [Google Scholar] [CrossRef]
- Islam, M.S.; Ng, B.W.H.; Abbott, D. Porous-core photonic crystal fibers guide polarization-preserving terahertz waves. Laser Focus World 2018, 54, 49. [Google Scholar]
- Cubillas, A.M.; Unterkofler, S.; Euser, T.; Etzold, B.J.; Jones, A.C.; Sadler, P.J.; Wasserscheid, P.; Russell, P.S. Photonic crystal fibres for chemical sensing and photochemistry. Chem. Soc. Rev. 2013, 42, 8629–8648. [Google Scholar] [CrossRef]
- Pinto, A.M.R.; Lopez-Amo, M. Photonic crystal fibers for sensing applications. J. Sens. 2012, 2012, 1–21. [Google Scholar] [CrossRef]
- Lumholt, O.; Bjarklev, A.; Rasmussen, T.; Lester, G. Rare earth-doped integrated glass components: Modeling and optimization. J. Lightw. Technol. 1995, 13, 275–282. [Google Scholar] [CrossRef]
- Wang, F.; Hu, L.; Xu, W.; Wang, M.; Feng, S.; Ren, J.; Zhang, L.; Chen, D.; Ollier, N.; Gao, G.; et al. Manipulating refractive index, homogeneity and spectroscopy of Yb-doped silica-core glass towards high-power large mode area photonic crystal fiber lasers. Opt. Express 2017, 25, 25960. [Google Scholar] [CrossRef]
- Nandi, P.; Srinivasan, A.; Jose, G. Structural dependent thermal and optical properties of rare earth doped glass with mixed glass formers. Opt. Mater. 2009, 31, 653–659. [Google Scholar] [CrossRef]
- Chimalawong, P.; Kirdsiri, K.; Kaewkhao, J.; Limsuwan, P. Investigation on the physical and optical properties of Dy3+ doped soda-lime-silicate glasses. Procedia Eng. 2012, 32, 690–698. [Google Scholar] [CrossRef]
- Cui, J.; Hope, G.A. Raman and fluorescence spectroscopy of CeO2, Er2O3, Nd2O3, Tm2O3, Yb2O3, La2O3, and Tb4O. J. Spectrosc. 2015, 2015, 1–8. [Google Scholar] [CrossRef]
- Burruss, R.C.; Ging, T.G.; Eppinger, R.G.; Samson, A.M. Laser-Excited Fluorescence of Rare Earth Elements in Fluorite: Initial Observations with a Laser Raman Microprobe; Elsevier Science: New York, NY, USA, 1992. [Google Scholar]
- Quoi, K.; Lieberman, R.; Cohen, L.; Shenk, D.; Simpson, J. Rare-earth doped optical fibers for temperature sensing. J. Lightw. Technol. 1992, 10, 847–852. [Google Scholar] [CrossRef]
- Amira, Z.; Bouyahi, M.; Ezzedine, T. Measurement of temperature through raman scattering. Procedia Comput. Sci. 2015, 73, 350–357. [Google Scholar] [CrossRef]
- Dakin, J.; Pratt, D.; Bibby, G.; Ross, J. Distributed optical fibre Raman temperature sensor using a semiconductor light source and detector. Electron. Lett. 1985, 21, 569–570. [Google Scholar] [CrossRef]
- Wolfbeis, O.S. Materials for fluorescence-based optical chemical sensors. J. Mater. Chem. 2005, 15, 2657–2669. [Google Scholar] [CrossRef]
- Soto, M.A.; Nannipieri, T.; Signorini, A.; Lazzeri, A.; Baronti, F.; Roncella, R.; Bolognini, G.; Di Pasquale, F. Raman-based distributed temperature sensor with 1 m spatial resolution over 26 km SMF using low-repetition-rate cyclic pulse coding. Opt. Lett. 2011, 36, 2557–2559. [Google Scholar] [CrossRef] [PubMed]























Publisher’s Note: MDPI stays neutral with regard to jurisdictional claims in published maps and institutional affiliations. |
© 2021 by the authors. Licensee MDPI, Basel, Switzerland. This article is an open access article distributed under the terms and conditions of the Creative Commons Attribution (CC BY) license (https://creativecommons.org/licenses/by/4.0/).
Share and Cite
Johny, J.; Amos, S.; Prabhu, R. Optical Fibre-Based Sensors for Oil and Gas Applications. Sensors 2021, 21, 6047. https://doi.org/10.3390/s21186047
Johny J, Amos S, Prabhu R. Optical Fibre-Based Sensors for Oil and Gas Applications. Sensors. 2021; 21(18):6047. https://doi.org/10.3390/s21186047
Chicago/Turabian StyleJohny, Jincy, Solomon Amos, and Radhakrishna Prabhu. 2021. "Optical Fibre-Based Sensors for Oil and Gas Applications" Sensors 21, no. 18: 6047. https://doi.org/10.3390/s21186047
APA StyleJohny, J., Amos, S., & Prabhu, R. (2021). Optical Fibre-Based Sensors for Oil and Gas Applications. Sensors, 21(18), 6047. https://doi.org/10.3390/s21186047

