Activity Level Assessment Using a Smart Cushion for People with a Sedentary Lifestyle
Abstract
:1. Introduction
- a novel Body Posture Analysis Model (BPAM), proposed to analyze the sitting behavior;
- a novel smart cushion, with an integrated embedded unit that better combines pressure and inertial sensors;
- a method of activity level assessment, proposed to recognize activities and activity levels.
2. Related Work
2.1. Activity Level Assessment
2.1.1. Single Sensor-Based Method
2.1.2. Multi Sensor Fusion Method
2.2. Sitting Posture Analysis and Smart Cushion Systems
3. Measurement Method
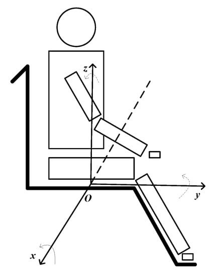
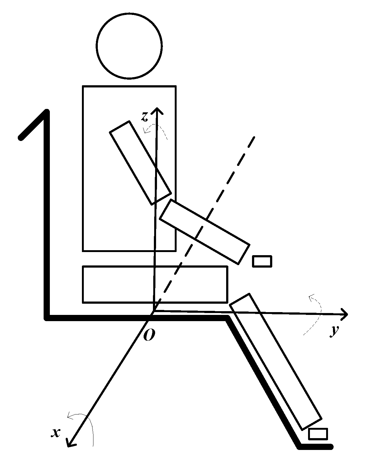
3.1. Body Posture Analyze Model of Sitting Behavior
3.2. The Novel Designed Smart Cushion
- it is one integration unit that better combine the pressure sensors and accelerometer;
- it is easy to deploy, since all the sensors were deployed on the cushion seat;
- it is noninvasive, with the facility to monitor the sitting postures and activities.
3.2.1. Pressure Detection Unit
3.2.2. Inertial Measurement Unit (IMU)
3.3. Implementation of Smart Cushion
- Micro Controller Unit (MCU), to process the sensor data using Arduino Pro Mini [38];
- Bluetooth communication unit, to send the processed results to remote devices (such as computer, smartphone, or tablet);
- Vibration Motor, controlled by the MCU, is used to alarm the users;
- Power supply circuit, to provide the power to the circuit board.
4. Activity Level Assessment Method
4.1. Data Pre-Processing
4.2. Activity Assessment Index
5. Experiments and Results
5.1. Experiment Protocol
- Light intensity activity level,
- Moderate intensity activity level, and
- Vigorous intensity activity level.
5.2. Data Processing and Time Window Choosing
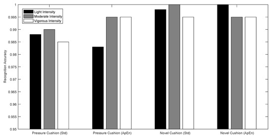
5.3. Results Comparison with k-Fold Cross Validation
5.3.1. Recognition Results Using Pressure Sensors Unit
5.3.2. Recognition Results Using the Novel Designed Cushion
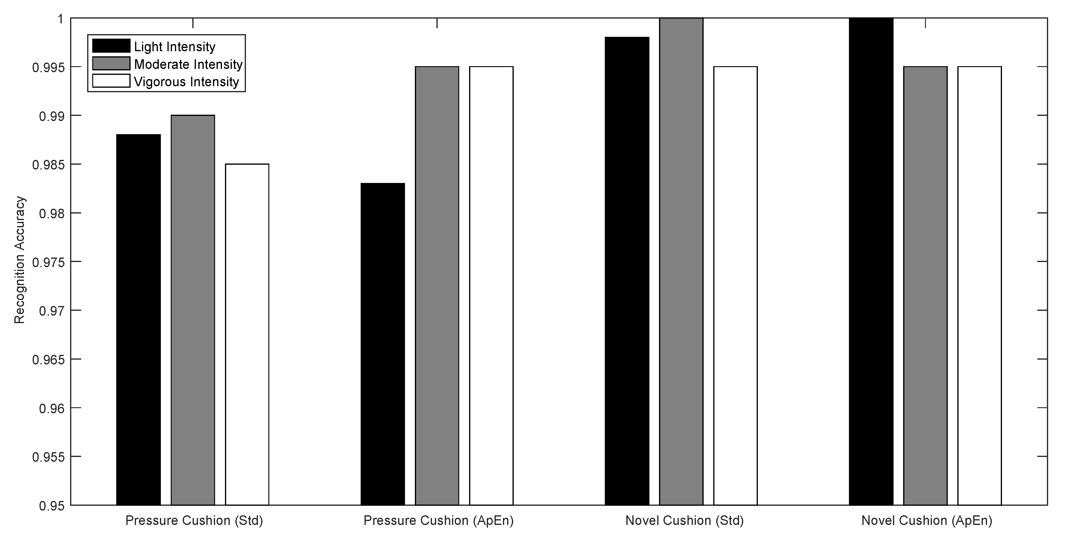
5.4. Results Comparison with Leave One Out Cross Validation
6. Conclusions
Acknowledgments
Author Contributions
Conflicts of Interest
References
- Fortino, G.; Giannantonio, R.; Gravina, R.; Kuryloski, P.; Jafari, R. Enabling Effective Programming and Flexible Management of Efficient Body Sensor Network Applications. IEEE Trans. Hum.-Mach. Syst. 2013, 43, 115–133. [Google Scholar] [CrossRef]
- Gravina, R.; Alinia, P.; Ghasemzadeh, H.; Fortino, G. Multi-sensor fusion in body sensor networks: State-of-the-art and research challenges. Inf. Fusion 2017, 35, 68–80. [Google Scholar] [CrossRef]
- Fortino, G.; Guerrieri, A.; Bellifemine, F.; Giannantonio, R. Platform-independent development of collaborative wireless body sensor network applications: SPINE2. In Proceedings of the IEEE International Conference on Systems, Man and Cybernetics (SMC 2009), San Antonio, TX, USA, 11–14 October 2009; pp. 3144–3150. [Google Scholar]
- Chen, M.; Ma, Y.; Li, Y.; Wu, D.; Zhang, Y.; Youn, C.H. Wearable 2.0: Enabling Human-Cloud Integration in Next Generation Healthcare Systems. IEEE Commun. Mag. 2017, 55, 54–61. [Google Scholar] [CrossRef]
- Gravina, R.; Ma, C.; Pace, P.; Aloi, G.; Russo, W.; Li, W.; Fortino, G. Cloud-based Activity-aaService cyberphysical framework for human activity monitoring in mobility. Futur. Gener. Comput. Syst. 2017, 75, 158–171. [Google Scholar] [CrossRef]
- Cicirelli, F.; Fortino, G.; Giordano, A.; Guerrieri, A.; Spezzano, G.; Vinci, A. On the Design of Smart Homes: A Framework for Activity Recognition in Home Environment. J. Med. Syst. 2016, 40, 200. [Google Scholar] [CrossRef] [PubMed]
- Martins, L.; Lucena, R.; Belo, J.; Almeida, R.; Quaresma, C.; Jesus, A.; Vieira, P. Intelligent Chair Sensor–Classification and Correction of Sitting Posture. In Proceedings of the XIII Mediterranean Conference on Medical and Biological Engineering and Computing, Seville, Spain, 25–28 September 2013; pp. 1489–1492. [Google Scholar]
- Chen, M.; Hao, Y.; Kai, H.; Wang, L.; Wang, L. Disease Prediction by Machine Learning over Big Data from Healthcare Communities. IEEE Access 2017, 5, 8869–8879. [Google Scholar] [CrossRef]
- Chen, M.; Zhou, P.; Fortino, G. Emotion Communication System. IEEE Access 2017, 5, 326–337. [Google Scholar] [CrossRef]
- Fortino, G.; Gravina, R.; Li, W.; Ma, C. Using Cloud-assisted Body Area Networks to Track People Physical Activity in Mobility. In Proceedings of the 10th International Conference on Body Area Networks, Sydney, Australia, 28–30 September 2015; pp. 85–91. [Google Scholar]
- Arnrich, B.; Setz, C.; La Marca, R.; Tröster, G.; Ehlert, U. What does your chair know about your stress level? IEEE Trans. Inf. Technol. Biomed. 2010, 14, 207–214. [Google Scholar] [CrossRef] [PubMed]
- Ma, C.; Li, W.; Cao, J.; Wang, S.; Wu, L. A Fatigue Detect System Based on Activity Recognition. In Proceedings of the International Conference on Internet and Distributed Computing Systems, Calabria, Italy, 22–24 September 2014; pp. 303–311. [Google Scholar]
- Ma, C.; Li, W.; Gravina, R.; Fortino, G. Activity Recognition and Monitoring for Smart Wheelchair Users. In Proceedings of the 2016 IEEE Computer Supported Cooperative Work in Design, Nanchang, China, 4–6 May 2016; pp. 664–669. [Google Scholar]
- Liu, K.C.; Liu, C.T.; Chen, C.W.; Lin, C.C.; Chan, C.T. Accelerometry-Based Motion Pattern Analysis for Physical Activity Recognition and Activity Level Assessment. Appl. Mech. Mater. 2013, 479–480, 818–822. [Google Scholar] [CrossRef]
- He, Q.; Agu, E. On11: An activity recommendation application to mitigate sedentary lifestyle. In Proceedings of the 2014 Workshop on Physical Analytics, Bretton Woods, NH, USA, 16 June 2014; pp. 3–8. [Google Scholar]
- Fahim, M.; Khattak, A.M.; Chow, F.; Shah, B. Tracking the sedentary lifestyle using smartphone: A pilot study. In Proceedings of the International Conference on Advanced Communication Technology, Pyeongchang, Korea, 31 January–3 February 2016; pp. 296–299. [Google Scholar]
- Liu, C.T.; Chan, C.T. A Fuzzy Logic Prompting Mechanism Based on Pattern Recognition and Accumulated Activity Effective Index Using a Smartphone Embedded Sensor. Sensors 2016, 16, 1322. [Google Scholar] [CrossRef] [PubMed]
- Grillon, A.; Perez-Uribe, A.; Satizabal, H.; Gantel, L.; Andrade, D.D.S.; Upegui, A.; Degache, F. A Wireless Sensor-Based System for Self-tracking Activity Levels Among Manual Wheelchair Users. In eHealth 360, Social Informatics and Telecommunications Engineering, Budapest, Hungary, 14–16 June 2017; Springer: Cham, Switzerland, 2017; pp. 229–240. [Google Scholar]
- Duclos, M.; Fleury, G.; Lacomme, P.; Phan, R.; Ren, L.; Rousset, S. An acceleration vector variance based method for energy expenditure estimation in real-life environment with a smartphone/smartwatch integration. Expert Syst. Appl. 2016, 63, 435–449. [Google Scholar] [CrossRef]
- Liu, S.; Gao, R.X.; John, D.; Staudenmayer, J.W.; Freedson, P.S. Multisensor data fusion for physical activity assessment. IEEE Trans. Biomed. Eng. 2012, 59, 687–696. [Google Scholar] [PubMed]
- Jung, Y.; Yoon, Y.I. Multi-level assessment model for wellness service based on human mental stress level. Multimed. Tools Appl. 2017, 76, 11305–11317. [Google Scholar] [CrossRef]
- Mork, P.; Westgaard, R. Back posture and low back muscle activity in female computer workers: A field study. Clin. Biomech. 2009, 24, 169–175. [Google Scholar] [CrossRef] [PubMed]
- Scena, S.; Steindler, R. A Facility for the Study of Pelvis and Trunk Displacements during Sitting Posture. Strain 2011, 47, e426–e431. [Google Scholar] [CrossRef]
- Geffen, P.V.; Molier, B.I.; Reenalda, J.; Veltink, P.H.; Koopman, B.F.J.M. Body segments decoupling in sitting: Control of body posture from automatic chair adjustments. J. Biomech. 2008, 41, 3419–3425. [Google Scholar] [CrossRef] [PubMed]
- Maradei, F.; Quintana, L.; Castellanos, J. Macro repositioning movements of pelvis and trunk during simulated driving tasks. Int. J. Ind. Ergon. 2015, 46, 19–28. [Google Scholar] [CrossRef]
- Yu, H.; Stoelting, A.; Wang, Y.; Yi, Z.; Sarrafzadeh, M. Providing a cushion for wireless healthcare application development. IEEE Potentials 2010, 29, 19–23. [Google Scholar] [CrossRef]
- Barba, R.; Madrid, Á.P.D.; Boticario, J.G. Development of an inexpensive sensor network for recognition of sitting posture. Int. J. Distrib. Sens. Netw. 2015, 2015, 161. [Google Scholar] [CrossRef]
- Zemp, R.; Tanadini, M.; Plüss, S.; Schnüriger, K.; Singh, N.B.; Taylor, W.R.; Lorenzetti, S. Application of Machine Learning Approaches for Classifying Sitting Posture Based on Force and Acceleration Sensors. BioMed Res. Int. 2016, 2016, 5978489. [Google Scholar] [CrossRef] [PubMed]
- Cheng, J.; Zhou, B.; Sundholm, M.; Lukowicz, P. Smart Chair: What Can Simple Pressure Sensors under the Chairs Legs Tell Us about User Activity. In Proceedings of the UBICOMM13: The Seventh International Conference on Mobile Ubiquitous Computing, Systems, Services and Technologies, Porto, Portugal, 29 September–3 October 2013; pp. 81–84. [Google Scholar]
- Fu, T.; Macleod, A. IntelliChair: An Approach for Activity Detection and Prediction via Posture Analysis. In Proceedings of the International Conference on Intelligent Environments, Shanghai, China, 30 June–4 July 2014; pp. 211–213. [Google Scholar]
- Kumar, R.; Bayliff, A.; De, D.; Evans, A.; Das, S.K.; Makos, M. Care-Chair: Sedentary Activities and Behavior Assessment with Smart Sensing on Chair Backrest. In Proceedings of the 2016 IEEE International Conference on Smart Computing, St. Louis, MO, USA, 18–20 May 2016; pp. 1–8. [Google Scholar]
- Zhu, Y. Design and Validation of a Low-Cost Portable Device to Quantify Postural Stability. Sensors 2017, 17, 619. [Google Scholar] [CrossRef] [PubMed]
- Ma, C.; Li, W.; Cao, J.; Gravina, R.; Fortino, G. Cloud-based Wheelchair Assist System for Mobility Impaired Individuals. In Proceedings of the 9th International Conference on Internet and Distributed Computing Systems, Wuhan, China, 28–30 September 2016; pp. 107–118. [Google Scholar]
- Ma, C.; Gravina, R.; Li, W.; Zhang, Y.; Li, Q.; Fortino, G. Activity Level Assessment of Wheelchair Users Using Smart Cushion. In Proceedings of the IEEE International Conference BodyNets, Turin, Italy, 15–16 December 2016; pp. 104–110. [Google Scholar]
- Ma, C.; Li, W.; Gravina, R.; Fortino, G. Posture Detection Based on Smart Cushion for Wheelchair Users. Sensors 2017, 17, 719. [Google Scholar] [CrossRef] [PubMed]
- Fsr Sensor Website. Available online: http://www.interlinkelectronics.com (accessed on 10 September 2017).
- MPU9250 Sensor Website. Available online: https://www.invensense.com/products/motion-tracking/9-axis/mpu-9250/ (accessed on 10 September 2017).
- Arduino Promini Website. Available online: https://www.arduino.cc/en/Guide/ArduinoProMini (accessed on 10 September 2017).
- Pincus, S.M. Approximate entropy as a measure of system complexity. Proc. Natl. Acad. Sci. USA 1991, 88, 2297–2301. [Google Scholar] [CrossRef] [PubMed]
- Yentes, J.M.; Hunt, N.; Schmid, K.K.; Kaipust, J.P.; Mcgrath, D.; Stergiou, N. The appropriate use of approximate entropy and sample entropy with short data sets. Ann. Biomed. Eng. 2013, 41, 349–365. [Google Scholar] [CrossRef] [PubMed]
- Fard, F.; Moghimi, S.; Lotfi, R. Evaluating Pressure Ulcer Development in Wheelchair-Bound Population Using Sitting Posture Identification. Engineering 2013, 5, 132–136. [Google Scholar] [CrossRef]
- Metabolic Equivalent Website. Available online: https://en.wikipedia.org/wiki/Metabolic_equivalent (accessed on 10 September 2017).
- Alshurafa, N.; Xu, W.; Liu, J.J.; Huang, M.C.; Mortazavi, B.; Roberts, C.K.; Sarrafzadeh, M. Designing a Robust Activity Recognition Framework for Health and Exergaming Using Wearable Sensors. IEEE J. Biomed. Health Inform. 2014, 18, 1636–1646. [Google Scholar] [CrossRef] [PubMed]
- Mark, H.; Eibe, F.; Geoffrey, H.; Bernhard, P.; Peter, R.; Ian, H.W. The WEKA data mining software: An update. ACM SIGKDD Explor. Newsl. 2009, 11, 10–18. [Google Scholar]
- Patil, T.; Sherekar, S. Performance analysis of Naive Bayes and J48 classification algorithm for data classification. Int. J. Comput. Sci. Appl. 2013, 6, 256–261. [Google Scholar]
- Arlot, S.; Celisse, A. A survey of cross-validation procedures for model selection. Stat. Surv. 2009, 4, 40–79. [Google Scholar] [CrossRef]
- Gravina, R.; Fortino, G. Automatic methods for the detection of accelerative cardiac defense response. IEEE Trans. Affect. Comput. 2016, 7, 286–298. [Google Scholar] [CrossRef]
- Fortino, G.; Giampa, V. PPG-based methods for non invasive and continuous blood pressure measurement: An overview and development issues in body sensor networks. In Proceedings of the IEEE International Workshop on Medical Measurements and Applications Proceedings (MeMeA), Ottawa, ON, Canada, 30 April–1 May 2010; pp. 10–13. [Google Scholar]












| Author | Pressure Sensor | Accelerometer | Integrate | Features | Classification | Accuracy |
|---|---|---|---|---|---|---|
| Unit | Method | |||||
| Yu et al. [26] | 2 on the seat and | Backrest | No | N/A | SVM | N/A |
| 4 on the backrest | ||||||
| Barba et al. [27] | 8 on the seat and | No | - | N/A | N/A | N/A |
| 8 on the backrest | ||||||
| Zemp et al. [28] | 16 pressure sensors | Backrest | No | N/A | SVM, MNR, | 90.9% |
| Boosting, | ||||||
| NNs, RF | ||||||
| Cheng et al. [29] | 4 under the | No | - | Mean, RMS, | LDA | 88% |
| chair leg | Center of weight | |||||
| Fu et al. [30] | 4 on the seat and | No | - | N/A | HMM | N/A |
| 4 on the backrest | ||||||
| Kumar et al. [31] | 4 on the backrest | No | - | Mean and | ERT | 86% |
| variance, FFT etc. | ||||||
| Zhu [32] | 4 pressure sensors | No | - | Approximate Entropy | N/A | N/A |
| Ma et al. [33] | 2 on the seat and | Waist | No | Mean and standard | J48 | 96.85% |
| 1 on the backrest | deviation |
| Sensor No. | Coordinate (x, y) |
|---|---|
| Fsr1 | −1, 2 |
| Fsr2 | 1, 2 |
| Fsr3 | −2, 0 |
| Fsr4 | 2, 0 |
| Fsr5 | −1, −2 |
| Fsr6 | 1, −2 |
| Activity Level | Description | Activities |
|---|---|---|
| Light intensity | User performs common daily life activities in sitting condition. | Reading a book, Desk working, Conversation |
| Moderate intensity | User performs moderate activities to prevent pressure ulcer. | Swing left-right or front-back |
| Vigorous intensity | User is doing exercise to keep fit. | Doing exercise |
| Description | Underweight | Normal | Overweight and Obese |
|---|---|---|---|
| BMI | <18.5 | [18.5, 25) | ≥25 |
| Number of subjects | 2 | 4 | 2 |
| Research | Sampling Frequency (Hz) | Time Window (s) |
|---|---|---|
| Liu, K. et al. [14] | 40 | 10, 270, 430 |
| Liu, C. et al. [17] | 40 | 2 |
| Liu, S. et al. [20] | 30 | 30 |
| Zhu, Y. et al. [32] | 10 | 30 |
| 10 s | 20 s | 30 s | ||||
|---|---|---|---|---|---|---|
| ApEn | Std | ApEn | Std | ApEn | Std | |
| Reading | 0.78 | 0.962 | 0.88 | 0.98 | 0.967 | 0.988 |
| Desk Working | 0.665 | 0.922 | 0.812 | 0.949 | 0.92 | 0.962 |
| Conversation | 0.776 | 0.953 | 0.902 | 0.967 | 0.95 | 0.972 |
| Swing | 0.985 | 0.997 | 0.995 | 0.997 | 0.997 | 0.997 |
| Doing Exercise | 0.828 | 0.995 | 0.992 | 0.995 | 0.995 | 0.995 |
| Mean F-measure | 0.828 | 0.966 | 0.916 | 0.978 | 0.966 | 0.983 |
| Std Feature | ApEn Feature | Std & ApEn Feature | |||||||
|---|---|---|---|---|---|---|---|---|---|
| Accuracy | Precision | F-Measure | Accuracy | Precision | F-Measure | Accuracy | Precision | F-Measure | |
| Reading | 0.985 | 0.975 | 0.98 | 0.93 | 0.845 | 0.885 | 0.98 | 0.97 | 0.975 |
| Desk Working | 0.889 | 0.947 | 0.917 | 0.688 | 0.815 | 0.747 | 0.879 | 0.926 | 0.902 |
| Conversation | 0.96 | 0.918 | 0.939 | 0.824 | 0.808 | 0.816 | 0.945 | 0.913 | 0.928 |
| Swing | 1.0 | 0.995 | 0.997 | 0.995 | 1.0 | 0.997 | 1.0 | 0.995 | 0.997 |
| Doing Exercise | 0.995 | 0.995 | 0.995 | 0.995 | 0.957 | 0.975 | 1.0 | 1.0 | 1.0 |
| Total Results | 0.966 | 0.966 | 0.966 | 0.886 | 0.885 | 0.884 | 0.961 | 0.961 | 0.961 |
| Std Feature | ApEn Feature | Std & ApEn Feature | |||||||
|---|---|---|---|---|---|---|---|---|---|
| Accuracy | Precision | F-Measure | Accuracy | Precision | F-Measure | Accuracy | Precision | F-Measure | |
| Light intensity | 0.998 | 1.0 | 0.999 | 0.983 | 0.998 | 0.991 | 0.998 | 1.0 | 0.999 |
| Moderate intensity | 1.0 | 0.995 | 0.997 | 0.995 | 0.995 | 0.995 | 1.0 | 0.995 | 0.997 |
| Vigorous intensity | 0.995 | 0.995 | 0.995 | 0.995 | 0.952 | 0.973 | 1.0 | 1.0 | 1.0 |
| Total Results | 0.998 | 0.998 | 0.998 | 0.988 | 0.988 | 0.988 | 0.999 | 0.999 | 0.999 |
| Std Feature | ApEn Feature | Std & ApEn Feature | |||||||
|---|---|---|---|---|---|---|---|---|---|
| Accuracy | Precision | F-Measure | Accuracy | Precision | F-Measure | Accuracy | Precision | F-Measure | |
| Reading | 0.995 | 0.98 | 0.988 | 0.96 | 0.974 | 0.967 | 0.995 | 0.98 | 0.988 |
| Desk Working | 0.955 | 0.969 | 0.962 | 0.925 | 0.915 | 0.92 | 0.95 | 0.974 | 0.962 |
| Conversation | 0.97 | 0.975 | 0.972 | 0.955 | 0.945 | 0.95 | 0.98 | 0.975 | 0.977 |
| Swing | 1.0 | 0.995 | 0.997 | 0.995 | 1.0 | 0.997 | 1.0 | 0.995 | 0.997 |
| Doing Exercise | 0.995 | 0.995 | 0.995 | 0.995 | 0.995 | 0.995 | 1.0 | 1.0 | 1.0 |
| Total Results | 0.983 | 0.983 | 0.983 | 0.966 | 0.966 | 0.966 | 0.985 | 0.985 | 0.985 |
| Std Feature | ApEn Feature | Std & ApEn Feature | |||||||
|---|---|---|---|---|---|---|---|---|---|
| Accuracy | Precision | F-Measure | Accuracy | Precision | F-Measure | Accuracy | Precision | F-Measure | |
| Light intensity | 0.998 | 1.0 | 0.999 | 1.0 | 0.997 | 0.998 | 0.998 | 1.0 | 0.999 |
| Moderate intensity | 1.0 | 0.995 | 0.997 | 0.995 | 1.0 | 0.997 | 1.0 | 0.99 | 0.995 |
| Vigorous intensity | 0.995 | 0.995 | 0.995 | 0.995 | 1.0 | 0.997 | 0.995 | 1.0 | 0.997 |
| Total Results | 0.998 | 0.998 | 0.998 | 0.998 | 0.998 | 0.998 | 0.998 | 0.998 | 0.998 |
© 2017 by the authors. Licensee MDPI, Basel, Switzerland. This article is an open access article distributed under the terms and conditions of the Creative Commons Attribution (CC BY) license (http://creativecommons.org/licenses/by/4.0/).
Share and Cite
Ma, C.; Li, W.; Gravina, R.; Cao, J.; Li, Q.; Fortino, G. Activity Level Assessment Using a Smart Cushion for People with a Sedentary Lifestyle. Sensors 2017, 17, 2269. https://doi.org/10.3390/s17102269
Ma C, Li W, Gravina R, Cao J, Li Q, Fortino G. Activity Level Assessment Using a Smart Cushion for People with a Sedentary Lifestyle. Sensors. 2017; 17(10):2269. https://doi.org/10.3390/s17102269
Chicago/Turabian StyleMa, Congcong, Wenfeng Li, Raffaele Gravina, Jingjing Cao, Qimeng Li, and Giancarlo Fortino. 2017. "Activity Level Assessment Using a Smart Cushion for People with a Sedentary Lifestyle" Sensors 17, no. 10: 2269. https://doi.org/10.3390/s17102269
APA StyleMa, C., Li, W., Gravina, R., Cao, J., Li, Q., & Fortino, G. (2017). Activity Level Assessment Using a Smart Cushion for People with a Sedentary Lifestyle. Sensors, 17(10), 2269. https://doi.org/10.3390/s17102269

