A Wireless Sensor Network for Urban Traffic Characterization and Trend Monitoring
Abstract
:1. Introduction
- Intrusive sensors: they must be installed on the road, so they are expensive and usually require traffic to be shut for their installation. They give a high precision in counting vehicles. The most common intrusive sensors are inductive loops, magnetometers and pneumatic tubes.
- Non-intrusive sensors: this group includes elements which do not require installation on the road, such as radars, lasers and video cameras. In the last years, magnetic sensors which do not have to be installed under the road surface have also been developed [8,9]. They are usually more expensive than intrusive sensors.
- Counting sensors: these sensors count the vehicles which travel through a determined control section, without distinguishing the lane or the direction. Within WSN applied to traffic control, there are initiatives based on counting sensors, such as those shown in Jeon et al. [11].
- Path-ID sensors: they need the installation of a wireless device in the vehicle to establish a Vehicle-to-Infrastructure (V2I) communication [12]. It is foreseeable that they will spread in the next years thanks to initiatives such as Drive C2X, EcoDrive and EcoMove of the EU [13,14,15]. Nowadays they are used in some cities so that special vehicles like buses, emergency vehicles and dangerous transportation vehicles can inform automatically of their route.
- Image sensors: they count the vehicles circulating through a certain control section and they differentiate the lane and/or the direction they are riding.
- Vehicle-ID sensors: this group covers all those sensors which are able to obtain a unique identification of the vehicle that they have detected, typically plate numbers acquired by image processing [16], or RFID readers [17]. Sensors which obtain the Media Access Control (MAC) address, such as built-in Bluetooth devices, can also be included in this group.
2. Overview of UIS

3. UIS Architecture
3.1. Topology

3.2. UIS Nodes
3.2.1. UIS Bluetooth Node (UIS BT Node)
- MAC: It is unique for each Bluetooth device manufactured in the world. It identifies a device from any other unequivocally. Since users can decide whether their systems are visible or not, there are no privacy issues. However, if necessary, a part of the MAC address can be considered, instead of the whole identification.
- CoD: It describes the type of device (i.e., hands-free, smartphone, laptop, etc.). It helps to decide whether a certain MAC should be considered as belonging to a vehicle or not.

3.2.2. UIS Ultrasound Node (UIS ULT Node)

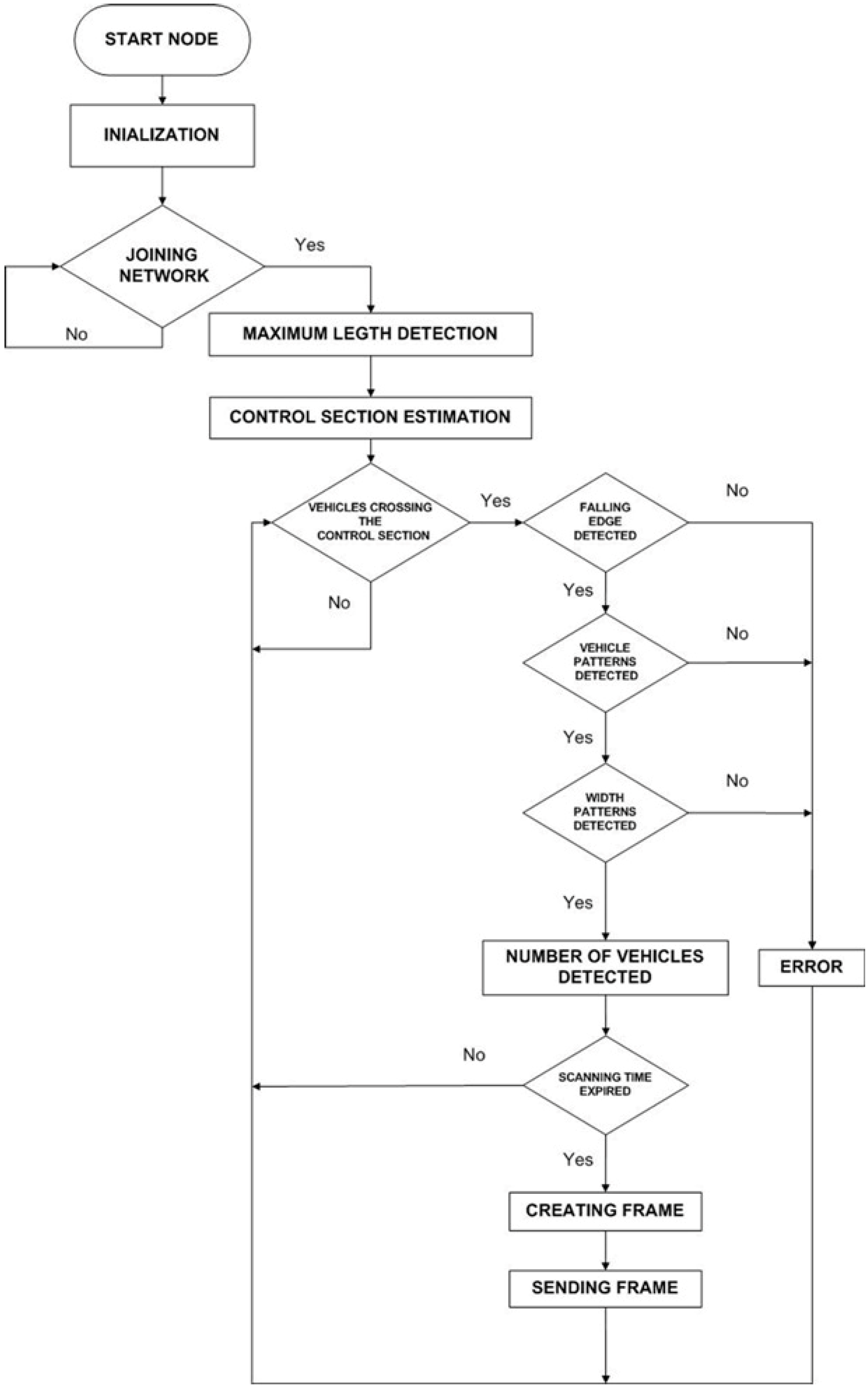
3.2.3. UIS Laser Node

- Laser sensor: Hokuyo UTM-30 LX-EW, class 1 2D scanner laser range finder.
- Processing unit: a Pico-ITX board.
- Communication modem: a ZigBee module is used to interface with the rest of the elements of the UIS.


3.2.4. Additional Sensors
- Humidity sensor: J808H5V5 Humidity transmitter, from JIN ZON ENTREPRISE CO.
- Atmospheric Pressure sensor: MPX4115A, from Motorola.
- Temperature sensor: MCP9700/9701, from Microchip.
- O2 sensor: SK-25, from Fígaro.
- O3 sensor: MICS-2610, from E2V.
- CO2 sensor: TGS 4161, from Fígaro.
- CO sensor: TGS 2442, from Fígaro.
- NH3 sensor: TGS 2444, from Fígaro.
- VOC sensor: TGS 2600, from Fígaro.
- Dust sensor: GP2Y1010AU0F, from Sharp.
- Light intensity sensor: GL5528 photo resistor.
- Noise sensor: WM-61a, from Panasonic.


3.2.5. UIS Receiver Node
- Meshlium modem, from Libelium.
- Photovoltaic module, specific for Meshlium modem, from Libelium.
- 12 V battery.


3.3. Communication

| Waspmote ID | ID | Frame Type | Payload | |||
|---|---|---|---|---|---|---|
| 366334232 | N1BT | 26 | MAC | 50:2d:1d:fb:78:2f | −80 | P |
3.4. SCADA

4. Travel Trends: Origin-Destination Matrix
- That a time longer than the characteristic time between the origin and destination has passed (“inc_max”). The value of this parameter will depend on the average time that it takes for a vehicle to cover any possible itinerary, plus a security time.
- That a certain number of frames has been analyzed (“frames_max”). This parameter is introduced to limit the processing, and depends on the number of frames received per time unit. This is a function of the number of installed sensors and the vehicle flow in the study area.
- Average vehicle speed.
- Distance between the Bluetooth nodes.
- Number of nodes installed in the control area.

5. Experimental Validation
5.1. Tests on the UIS BT Node
5.1.1. Indoor Tests
| Configuration | Measured Energy Consumption (Wh/d) | Battery Contribution (80%, Wh) | Solar Panel Contribution Per Day (Wh) | |
|---|---|---|---|---|
| ULT Node | 24.42 Wh battery, 3 W panel | 5.68 | 19.54 | 15.89 |
| BT Node | 24.42 Wh battery, 3 W panel | 8.35 | 19.54 | 15.89 |
| Gas Node | 24.42 Wh battery, 3 W panel | 12.70 | 19.54 | 15.89 |
| EP Node | 24.42 Wh battery, 3 W panel | 5.68 | 19.54 | 15.89 |
| Laser Node | 24.42 Wh battery, 2 × 20 W panels | 172.80 | 72.00 | 264.89 |
| Receiver Node | 24.42 Wh battery, 20 W panel | 124.20 | 72.00 | 132.45 |
5.1.2. Outdoor Tests

| Vehicles Counted | Number of Received Frames | Unique MAC Address Detected | Percentage of Detected Vehicles | |
|---|---|---|---|---|
| Roadway A-357 | 3580 | 1155 | 477 | 12.48% |
| Valle Inclán Av. | 5868 | 1535 | 555 | 9.88% |
| Total | 9448 | 2690 | 1032 | 10.92% |


5.2. Tests Carried Out with the UIS ULT Node


5.3. Tests Carried Out with the UIS Laser Node

5.4. UIS Tests


- The proper separation between the Bluetooth nodes in order to identify the entry and exit node of each vehicle.
- The performance of ultrasound nodes for vehicle counting.
- The reliability of the frame reception of the UIS transmitter nodes at the UIS Receiver node, as well as their coverage in different situations.
- The data obtained from the UIS Gas nodes and UIS EP nodes.
- The performance of the SCADA systems with real data.

| MAC Analysis (BMAC) | Video Recording (Bvideo) | |||||||
|---|---|---|---|---|---|---|---|---|
| Origin/Destination | 1 | 2 | 3 | 4 | 1 | 2 | 3 | 4 |
| 1 | 10.59 | 55.29 | 22.35 | 11.76 | 12.61 | 43.61 | 21.89 | 21.89 |
| 2 | 13.36 | 0.72 | 31.77 | 54.15 | 1.83 | 2.65 | 13.03 | 82.49 |
| 3 | 28.04 | 63.55 | 3.74 | 4.67 | 22.19 | 70.10 | 0 | 7.70 |
| 4 | 11.11 | 72.22 | 16.67 | 0 | 6.65 | 80.59 | 10.91 | 1.85 |
| MAC analysis (ODMMAC) | Video recording (ODMvideo) | ||||||||
|---|---|---|---|---|---|---|---|---|---|
| Origin/Destination | 1 | 2 | 3 | 4 | 1 | 2 | 3 | 4 | Trips with origin i (Ei) |
| 1 | 100 | 300 | 100 | 100 | 72 | 249 | 125 | 125 | 571 |
| 2 | 300 | 10 | 600 | 1.000 | 39 | 52 | 256 | 1.611 | 1.958 |
| 3 | 200 | 500 | 30 | 40 | 170 | 537 | 0 | 59 | 766 |
| 4 | 100 | 800 | 200 | 0 | 72 | 872 | 118 | 20 | 1.082 |
| Trips with destination j (Ui) | 700 | 1.610 | 930 | 1.140 | 353 | 1710 | 499 | 1815 | |
6. Conclusions
Acknowledgments
Author Contributions
Conflicts of Interest
References
- Dimitrakopoulos, G.; Demestichas, P. Intelligent Transportation Systems. IEEE Veh. Technol. Mag. 2010, 5, 77–84. [Google Scholar] [CrossRef]
- D’Orey, P.M.; Ferreira, M. ITS for Sustainable Mobility: A Survey on Applications and Impact Assessment Tools. IEEE Trans. Intell. Transp. Syst. 2014, 15, 477–493. [Google Scholar] [CrossRef]
- Friesen, M.; Jacob, R.; Grestoni, P.; Mailey, T.; McLeod, R.D. Vehicular Traffic Monitoring Using Bluetooth. In Proceedings of the 26th IEEE Canadian Conference of Electrical and Computer Engineering (CCECE 2013), Regina, SK, Canada, 5–8 May 2013.
- Yoo, S.E. A wireless sensor network-based portable vehicle detector evaluation system. Sensors 2013, 13, 1160–1182. [Google Scholar] [CrossRef] [PubMed]
- Losilla, F.; Garcia-Sanchez, A.J.; Garcia-Sanchez, F.; Garcia-Haro, J.; Haas, Z.J. A comprehensive approach to WSN-based ITS applications: A survey. Sensors 2011, 11, 10220–10265. [Google Scholar] [CrossRef] [PubMed]
- Li, L.; Xu, Y.; Soong, B.H.; Ma, L. A reinforcement sensor embedded vertical handoff controller for vehicular heterogeneous wireless networks. Sensors 2013, 13, 15026–15047. [Google Scholar] [CrossRef] [PubMed]
- Tubaishat, M.; Zhuang, P.; Qi, Q.; Shang, Y. Wireless sensor networks in intelligent transportation systems. Wirel. Commun. Mob. Comput. 2009, 9, 287–302. [Google Scholar] [CrossRef]
- Yang, B.; Lei, Y. Vehicle Detection and Classification for Low-Speed Congested Traffic with Anisotropic Magnetoresistive Sensor. IEEE Sens. J. 2015, 15, 1132–1138. [Google Scholar] [CrossRef]
- Taghvaeeyan, S.; Rajamani, R. Portable roadside sensors for vehicle counting, classification, and speed measurement. IEEE Trans. Intell. Transp. Syst. 2014, 15, 73–83. [Google Scholar] [CrossRef]
- Gentili, M.; Mirchandani, P.B. Locating sensors on traffic networks: Models, challenges and research opportunities. Transp. Res. Part C Emerg. Technol. 2012, 24, 227–255. [Google Scholar] [CrossRef]
- Jeon, S.; Kwon, E.; Jung, I. Traffic Measurement on Multiple Drive Lanes with Wireless Ultrasonic Sensors. Sensors 2014, 14, 22891–22906. [Google Scholar] [CrossRef] [PubMed]
- Barnard, Y.; Fischer, F.; Flament, M. Field Operational Tests and Deployment Plans. In Vehicular Ad Hoc Networks; Springer International Publishing: Cham, Switzerland, 2015; pp. 393–408. [Google Scholar]
- Drive C2X. Available online: http://www.drive-c2x.eu/project/ (accessed on 28 July 2015).
- EcoDriver. Available online: http://www.ecodriver-project.eu/ (accessed on 28 July 2015).
- EcoMove. Available online: http://www.ecomove-project.eu/ (accessed on 28 July 2015).
- Anagnostopoulos, C.N.E.; Anagnostopoulos, I.E.; Psoroulas, I.D.; Loumos, V.; Kayafas, E. License plate recognition from still images and video sequences: A survey. IEEE Trans. Intell. Transp. Syst. 2008, 9, 377–391. [Google Scholar] [CrossRef]
- Wang, C.; Li, X.; Wang, A.; Yang, F.; Zhou, X. An Intelligent Transportation System Using RFID Based Sensors. In Proceedings of the IEEE 10th International Conference on High Performance Computing and Communications & Embedded and Ubiquitous Computing (HPCC & EUC 2013), Zhangjiajie, China, 13–15 November 2013; pp. 337–344.
- Martín-Guzmán, M.; Martín-Ávila, J.; Fernández-Lozano, J.J.; García-Cerezo, A. A rapid deployment wireless sensor network for sustainable urban mobility. In Proceedings of the 23th Mediterranean Conference on Control and Automation (MED 2015), Torremolinos, Spain, 16–19 June 2015; pp. 967–972.
- Friesen, M.R.; McLeod, R.D. Bluetooth in Intelligent Transportation Systems: A Survey. Int. J. Intell. Transp. Syst. Res. 2014, 13, 143–153. [Google Scholar] [CrossRef]
- Barceló, J.; Montero, L.; Marqués, L.; Carmona, C. Travel Time Forecasting and Dynamic Origin-Destination Estimation for Freeways Based on Bluetooth Traffic Monitoring. Transp. Res. Rec. J. Transp. Res. Board 2010, 2175, 19–27. [Google Scholar] [CrossRef]
- Malinovskiy, Y.; Wu, Y.J.; Wang, Y.; Lee, U.K. Field experiments on Bluetooth-based travel time data collection. In Proceedings of the 89th Transportation Research Board Annual Meeting, Washington, DC, USA, 10–14 January 2010.
- Wasson, J.S.; Sturdevant, J.R.; Bullock, D.M. Real-Time Travel Time Estimates Using Media Access Control Address Matching. ITE J. 2008, 78, 20–23. [Google Scholar]
- Haseman, R.J.; Wasson, J.S.; Bullock, D.M. Real-Time Measurement of Travel Time Delay in Work Zones and Evaluation Metrics Using Bluetooth Probe Tracking. Transp. Res. Rec. J. Transp. Res. Board 2010, 2169, 40–53. [Google Scholar] [CrossRef]
- Sawant, H.; Tan, J.T.J.; Yang, Q.Y.Q.; Wang, Q.W.Q. Using Bluetooth and sensor networks for intelligent transportation systems. In Proceedings of the 7th International IEEE Conference on Intelligent Transportation Systems, Washington, DC, USA, 3–6 October 2004.
- Brennan, T.M.; Ernst, J.M.; Day, C.M.; Bullock, D.M.; Krogmeier, J.V.; Martchouk, M. Influence of Vertical Sensor Placement on Data Collection Efficiency from Bluetooth MAC Address Collection Devices. J. Transp. Eng. 2010, 136, 1104–1109. [Google Scholar] [CrossRef]
- Araghi, N.B.; Pedersen, S.K.; Christensen, T.L.; Krishnan, R.; Lahrmann, H. Accuracy of Travel Time Estimation Using Bluetooth Technology: Case Study Limfjord Tunnel Aalborg. Int. J. Intell. Transp. Syst. Res. 2012, 13, 1–26. [Google Scholar]
- Wireless Data Collection System for Real-Time Arterial Travel Time Estimates. Available online: http://trid.trb.org/view.aspx?id=1101267 (accessed on 10 October 2015).
- Zoto, J.; La, R.J.; Hamedi, M.; Haghani, A. Estimation of average vehicle speeds traveling on heterogeneous lanes using Bluetooth sensors. In Proceedings of the IEEE Vehicular Technology Conference, Québec City, QC, 3–6 September 2012.
- Hainen, A.M.; Wasson, J.S.; Hubbard, S.M.L.; Remias, S.M.; Farnsworth, G.D.; Bullock, D.M. Estimating Route Choice and Travel Time Reliability with Field Observations of Bluetooth Probe Vehicles. Transp. Res. Rec. J. Transp. Res. Board 2012, 2256, 43–50. [Google Scholar] [CrossRef]
- Tsubota, T.; Bhaskar, A.; Chung, E.; Billot, R. Arterial traffic congestion analysis using Bluetooth Duration data. In Australasian Transport Research Forum, Adelaide, Australia, 28–30 September 2011; pp. 28–30.
- Hathaway, E.; Urbanik, T. Memorandum on Tualatin-Sherwood Road SCATS Evaluation. Available online: http://sites.kittelson.com/kittelsondownloads/Downloads/Download/11030 (accessed on 25 August 2015).
- Cascetta, E. Estimation of trip matrices from traffic counts and survey data: A generalized least squares estimator. Transp. Res. Part B Methodol. 1984, 18, 289–299. [Google Scholar] [CrossRef]
- Tornero, R.; Martínez, J. A Multi-Agent System for Obtaining Dynamic Origin/Destination Matrices on Intelligent Road Networks Categories and Subject Descriptors. In Proceedings of the 6th Euro American Conference on Telematics and Information Systems, Valencia, Spain, 23–25 May 2012.
- Libelium Comunicaciones Distribuidas. Available online: http://www.libelium.com/ (accessed on 28 July 2015).
- Iyengar, S.; Parameshwaran, N.; Phoha, V.; Balakrishnan, N.; Okoye, C. Standards for Building Wireless Sensor Network Applications. In Fundamentals of Sensor Network Programming: Applications and Technology; Wiley-IEEE Press: Hoboken, NJ, USA, 2011; pp. 207–214. [Google Scholar]
- Bera, S.; Rao, K.V.K. Estimation of origin-destination matrix from traffic counts: The state of the art. Eur. Transp Trasp. Eur. 2011, 49, 3–23. [Google Scholar]
- ADRASE. Available online: http://www.adrase.es/ (accessed on 10 September 2015).
© 2015 by the authors; licensee MDPI, Basel, Switzerland. This article is an open access article distributed under the terms and conditions of the Creative Commons Attribution license (http://creativecommons.org/licenses/by/4.0/).
Share and Cite
Fernández-Lozano, J.J.; Martín-Guzmán, M.; Martín-Ávila, J.; García-Cerezo, A. A Wireless Sensor Network for Urban Traffic Characterization and Trend Monitoring. Sensors 2015, 15, 26143-26169. https://doi.org/10.3390/s151026143
Fernández-Lozano JJ, Martín-Guzmán M, Martín-Ávila J, García-Cerezo A. A Wireless Sensor Network for Urban Traffic Characterization and Trend Monitoring. Sensors. 2015; 15(10):26143-26169. https://doi.org/10.3390/s151026143
Chicago/Turabian StyleFernández-Lozano, J.J., Miguel Martín-Guzmán, Juan Martín-Ávila, and A. García-Cerezo. 2015. "A Wireless Sensor Network for Urban Traffic Characterization and Trend Monitoring" Sensors 15, no. 10: 26143-26169. https://doi.org/10.3390/s151026143
APA StyleFernández-Lozano, J. J., Martín-Guzmán, M., Martín-Ávila, J., & García-Cerezo, A. (2015). A Wireless Sensor Network for Urban Traffic Characterization and Trend Monitoring. Sensors, 15(10), 26143-26169. https://doi.org/10.3390/s151026143

