Abstract
We present a model of information processing which is based on two concurrent ways of describing the world, where a description in one of the languages limits the possibilities for realisations in the other language. The two describing dimensions appear in our common sense as dichotomies of perspectives: subjective – objective; diversity – similarity; individual – collective. We abstract from the subjective connotations and treat the test theoretical case of an interval on which several concurrent categories can be introduced. We investigate multidimensional partitions as potential carriers of information and compare their efficiency to that of sequenced carriers. We regard the same assembly once as a contemporary collection, once as a longitudinal sequence and find promising inroads towards understanding information processing by auto-regulated systems. Information is understood to point out that what is the case from among alternatives, which could be the case. We have translated these ideas into logical operations on the set of natural numbers and have found two equivalence points on N where matches between sequential and commutative ways of presenting a state of the world can agree in a stable fashion: a flip-flop mechanism is envisioned. By following this new approach, a mathematical treatment of some poignant biomathematical problems is allowed. Also, the concepts presented in this treatise may well have relevance and applications within the information processing and the theory of language fields.
1. Introduction: Sequences Versus States
There is an agreement in theoretical genetics that the genetic information is stored in a sequence, namely the DNA. The information contained in this long sequence is read off by a biochemical mechanism and is passed onto subsystems of chemical gradients which show an intricate interdependence. That is the best image for the present work: we are offering a new explanational model on how the information stored in sequences gets translated into "states of sets" and, as importantly, back again. Arguably, it may not be a direct model of the processes of the biological cell, but it offers a rational view of the functioning of numerous instances of autoregulation in the natural and social realms.
In the philosophy to be presented here, the world happens just by itself; it works as an autoregulated system. This does away with teleological aspects and concepts of transcendence. Interestingly, there is no need for any driving "mechanical" forces behind that what happens. In order to advance this philosophy, we need to understand, first, the way our expectations shape the images of the outside world: How much our ideas about the real, outside world have the properties of rational, solid, predictable, equally spaced, mechanically clear, reasonable and useful. Actually, we have two differing collections of mental images: outside world and inner world. Our ideas about the objects of both worlds are that they have common qualities and places, have a common logic, can mould into each other, and can simply cease to exist. But both kinds of concepts are organised differently. We shall talk in this treatise about logical concepts that may link up the two kinds of "object management".
If we want to understand nature, first we have to understand ourselves. Information is equivalent to the change in our expectations. If I understand myself, how much information have I generated? We will try to discuss this question here under a new approach. In general, we will discuss autoregulation in this work. The best way one approaches the concept of autoregulation is to consolidate the abstract, rational, cybernetic ideas about feedback processes with the way biochemistry does its own autoregulation. We may establish a link between compositions of liquids and sequential patterns of symbols – for instance, patterns of electrical discharges. The idea presented here establishes a link between different ways of looking at things, allowing a translation conceptually – as an information theoretical process – between what we express as a contemporary "composition" and what we build as syntactically organized, sequential patterns based on "position".
We wish to investigate the mechanics of the translation of the information content of a sequence into compositional extents that are not a sequence but a state. To look closely into the mathematics of information translation between a sequence and a state we abstract from biological reality and discuss the translation mechanism between a sequence and a state by discussing arrangements of cuts on an interval and the composition of overlaps of abstract properties' extents. That is, we discuss how we can connect the concept of "how many" with concepts of "how far". Actually we present ideas related to counting: why to count, what to count and finally, how to count.
Making Cuts on an Interval: Partitions
An example may be helpful: let us visualize a library with n books, where n may be a few dozen to a few hundred. We shall index the books on as many describing dimensions as we may see fit, in an extreme case in such an extent that it would no more be practical to have that many and detailed indexes. In such an extreme case, the room for the catalogues in this abstract library may need more space than the room for the books, as each book may appear in quite many indexes (catalogues) concurrently.
We set up indexes for language of the book, colour of the binding, subject, secondary subject, price of the book, place of appearance, author, year of publication and many more properties of each individual book. Then we put the books on shelves, ideally on one long shelf. We wish to optimise the logistics of book retrieval and shall place books belonging to the most sought-after categories of the indexes as near to one end of the shelf as we can.
We shall now discuss:
- -
- the quantity of separators between books
- -
- and the height of the separators between books,
E.g. we need two separators, right and left of all French books on gardening which have a blue binding, and those French books on gardening which have a different colour binding. If the last blue French book on gardening and the first red book on gardening belong otherwise – in every other respect – to the same index categories, then we speak of a unit height separator. (In this example, the last blue and the first red book would have been written by the same author, published in the same edition in the same year, having the same title and the same content.)
The unit height separator will be replaced by the two units height separator if the cut is concurrently across two index entries. In the example, we shall need a double height separator between red French books on gardening and blue French books by the same author and the same text but having appeared in a different year.
If three index categories terminate with the same physical object on a shelf we shall use a 3-high book separator. This would be the case if the last blue French book on gardening of that year were next to the first red book on gardening that had a different year of publication and were say, in German. In all other categories, the continuity of index entries would be saved, as the two neighbouring books would still be lumped together by the same author, same content, same number of pages, same price, etc.
As a matter of fact, we discuss cuts on an interval and watch the depth of the cuts as we lay several intervals one above the other. In theoretical terms, we discuss congruence relations between multidimensional partitions and states of sets. We can speak of partitions because each index partitions the number of books into summands of the library, the total of books at the end of the index giving always n. We can speak of multidimensional partitions, because we repeat the one-dimensional partition of cataloguing the books several times, independently of each other. This translates into a description of a state of the set, because if we know how many books we have in the most sought-after section of the shelf, we can reorder the books to shorten the necessary steps until retrieval, thus optimising the state of the set.
The mixture of properties creates types. We can better imagine this in the following practical case with the books:
Let us take an interval,
/- - - - - - - - - -/ this is a 10 long interval representing 10 books
Let us put cuts on it.
/- - - | - - - | - |- - -/ the interval has been cut into segments 3,3,1,3
Let us give names to the cuts we made:
/- - - | - - - | - |- - -/ the interval has been cut into segments a,b,c,d
a b c d e.g. a: red, b: blue, c: green, d: black books
Let us re-index the books on another property
/- - - - | - - - - |- -/ the interval has been cut into segments 4,4,2
Let us give names to the cuts we made:
/- - - - | - - - - |- -/ the interval has been cut into segments e,f,g
e f g e.g. e: crime, f: love, g: number theory
One would be able to establish the expected strength of the sections "blue crime", also of "green love" and of "red number theory". This goes down to Fisher's research into the Chi-square distribution (1), (2).
In this paper, we generalise the concept of Chi-square-based prediction probability to logical types which shall be present in any case if the size of the group comes above a minimal limit. The reasoning behind generating logical types of property clusters is that we could by this technique produce a table of logical, multidimensional truths which are definitely present if we discuss a "normal" set.
Let me give a different example:
If the hair colour of the population is distributed like 40% brown, 30% black, 20% fair, 5% red, 3% grey and 2% else; and
The marital status of the population is distributed like 40% married, 30% single, 20% divorced, 5% widowed, and 5% else
Then on any streetcar one shall have among the passengers with a probability of … % at least 1 person who has brown hair and is married.
This thought can be detailed further into a series of probabilities which describe the –falling– probabilities of meeting anyone who represents a combination of the i-th frequent attribute of Category I together with the j-th frequent attribute of Category II.
If we have this technique, then we are not at all far from deducing the concept of a periodic system of elements which we can regard as types (archetypes) of combinations (compositions) of logical properties.
2. The Concept of Information
We have received an information if we know that which is the case. That what is the case could have been otherwise, as there were alternatives to the actual case. If it could not have been otherwise, it would mean no info (would have no news value): that it is so, that it is the case. If the info received states that something is the case with some thing that has not altered in its characteristics, then we deduct that the information lies in the communication that it is now that something is the case.
Let us contrast to the temporal concept of a communication (that something that is not altered in its nature is now, as opposed to left or right in time) the attribute concept of a communication which details the existence/change or non-existence of a category within the object which is the case, has been the case and will be the case.
An attribute on a category has been altered relative to an expected attribute in that category. An attribute is like an entry in an index that can cover one or more books. The combination of attributes "Spanish" and "History" will yield several books while a combination of "Contemporary Royals" and "French" will prove an empty intersection.
A communication has an informational value in that case if it changes the category structure by eliminating or adding incertitude. Let us discuss this on an example further following Russell (3):
Mary is pregnant by Fritz
Is in that case an info
If Mary has not been pregnant by Fritz yesterday and this category change (between not-pregnant and pregnant) has rearranged the structure of the categories of our knowledge.
Is not an info
If Mary is always pregnant and of course always by Fritz; if Mary had to our knowledge been pregnant by Fritz since eternities, not because Mary had gotten pregnant so long ago but because we had known this to happen ever since they met, or because someone has told us the facts yesterday in the cafeteria. In any of these cases there was no necessity of rearranging the incertitude in our inner image of Mary (and of Fritz)
Mary is pregnant by Fritz
Is an info
If any other female had a reasonable rate of success in her plans to become pregnant by Fritz.
Is no info
If the question "who else" returns empty if addressed to the task of finding, who would be made pregnant by Fritz.
If the necessity to maintain an index with several categories ceases to exist, then the communication is an information.
Mary is pregnant by Fritz
Is an info
If the individuality of that attribute in the category "future father of Mary's child" had several possible entries;
Is not an info
If Mary could not conceivable be made pregnant by any other logical entity but Fritz.
We treat the concept of information as pointing out something in the composition or the distance of data which is or is not accordance with expectations.
If there is information, there is an expectation which has or has not been satisfied. Let us take the case where the expectation has been satisfied and the information has been sufficient and full.
Relative to the expectations the information points out the existence of a realisation. If the expectation space is not empty, the communication is an information.
{Susan, Ann, … , Mary, …, no one} is pregnant by Fritz has a width of expectation (possible alternatives) while
{Mary, Mary, Mary} or {Mary} is pregnant by Fritz has no such space.
Here we recourse to sentences 4.25 and ff of the Tractatus (4) and investigate relations between combinations of Sachverhalte and their distinctness.
3. Sequential and Commutative Messages Transmission
In practically all ways of communication - or of storing and transmitting information - we make use of a sequential property. Be it in natural or formal speech, we almost always rely on the sequence of symbols. A sentence "Mary had a little lamb" is useful only if we don't shuttle the symbols around. The sentence "lmaamr thyad a bilte l" has the same number and kind of symbols as "Mary had a little lamb". The information content lies in the sequence of the symbols.
Even more extreme is the case with formal languages where the individuality of the properties of the symbols can get reduced to the bare essentials of 0 and 1. It would be inconceivable to transmit a binary digit by shuffling around its zeroes and ones. "100101101100101011001" is of course different to "000000000011111111111" or to "100110011001100110011", although these examples agree with respect to number and kinds of symbols used. The DNA itself is an excellent example of how the information is contained in the sequence of the media. A scrambled and reassembled DNA would not work or would produce different results than in its original sequence.
Let us counterpoise this (traditional, Shannonian) way of communication to a radically new approach. One would call the new way of transmitting info the commutative way, because the arguments in the logical sentence are commutative. They can come in any order. In practical terms this means that they appear concurrently. If there were a relevant "sooner" and a "later" differentiating between symbols, the communication would again be a sequential one.
In everyday life one meets many practical examples of commutative ways of transmitting info, like the smell or taste of things, the composition of the blood or any other component of the humoreal system. The commutative approach to information transmission utilises a concept which is easier to demonstrate than to explain. See Figure 1.
Figure 1.
Examples of sociograms.
These drawings in Figure 1 present a concept known from social psychology's different branches, e.g. group dynamics, family therapy, team cohesion building or descriptive sociology. The diagrams are known as sociogram and they illustrate the tensions among coalitions of individuals. Here, it is not the sequence of the media which is important, but rather how the attributes in the categories are distributed.
We assign some symbols to distinguishable groups. Usually, the groups are differentiated by means of semantically, ontologically fixed symbols (which “mean” something). In a later step, we shall abstract from the “meaning” of the symbol and investigate group relations, whatever the symbol which distinguishes two groups.
In the semantic example with the books (Figure 2):
Figure 2.
Semantic examples of multidimensional partitions.
In example A of Fig. 2 there may be two red, two blue books and one white and black each. Example B may discuss the books published before and after 1900. In Example C we see two large sized books and four pocket books. One each of the large and the small books are in French, while the remaining 3 of the small books and the one remaining large book may be in any other language. We allow concurrent belonging-to of any object to one attribute of each category. A category is here like an index and an attribute is one given realisation out of many possible realisations.
With regard to transmitting messages by employing concurrent media, one will recall that we use a multitude of quality descriptions in our communications with each other, both in an everyday, common-sense interaction and in a formalised language. If talking to someone we say "this is a good book" we transmit the info by pointing out an attribute of a category. In case our gradation of books contains only the attributes {good, bad}, the message shall have a small informational value. If our communication partner knows that we may use any of the words {useful, entertaining, light, hilarious, readable, good, bad}he shall have a more precise instruction on how to restructure his expectations. The information lies in the collapse of that which might have been otherwise into that which is so, what is the case. If the expectation is gone, information has been transmitted. By this, the amount of possible information is governed by the maximal extent of expectations that can be reduced.
The unit change of "expectation into reality” translates into the concept of a unit of information. We can make use of formal conventions about how we measure and technically define this minimal unit of "aha" which we experience on receiving of a minimal info. There is a lowering of a level of something if we receive knowledge about what is the case. The subjective evidence of the term "information" is obvious, we all intuitively know what we talk about when we discuss about information. Let us see whether a comparison of qualities with distances can give a bridge towards a public concept expressed in the language of mathematics.
4. Congruence Relations between Descriptions
We shall now discuss the translation of mixtures into sequences and the other way around. This touches on basic philosophical problems as we try to formalise that feeling of "if it is so it belongs here" we have learnt well before the age of learning to speak at all, let alone in mathematical terms. The basic idea of this section is that the things in themselves are not split up into (do not possess separate) "quality" and "place" components, but that our thinking appears to split up the impressions as we learn the concepts of order.
The congruence between position and quality descriptors is the basis for our learned concept of order. If the toothbrush is in the frig, or the butter in the drawer, something is of an informational value. Such facts would make a restructuring of our expectations necessary. We manipulate inner concepts if we speak of domestic order: where everything is on its place, the qualities of the objects translate into experiences of places. It is our sensory apparatus and neurological processes which make us experience and speak of differently how a thing is and where it is to be found. We have learnt very deeply that what a thing is made of determines its place. Also, we know that there are regions, spots, places, where things of a distinct how-ness are inappropriate. You can and cannot put things in a {church, kitchen table, advertisement, boat, your bed, ….} in dependence of the things being {white, smelly, offensive, fluid, ….} or not. We seem to give places a different inner logical how-ness than to kinds of things. The things are more different from (among) each other than the places.
Like {A, B, *, !} are more different from each other than _ _ _ where on each place anything can be. The anything that can be on a place has many more possible attributes than the place it can be on. A place is just a place. Places are as uniform as places can get. The place itself, without anything in it, is as dull as, well, as a mathematical object with no definitions attached to it as yet. The only difference a place will have to any other place is how many steps it is far away from that. The place as such is a non-entity with regard to qualities, at least in our concepts. We actually do not know any place without any qualities (at least, we have not sensually experienced any).
The challenge of information theory is to discuss how things alter their qualities or their places. Relative to that that the thing is of a given make, it should be there. If this is a red book then it belongs here. The attribute within the category determines the spatial neighbourhood relations in a well-ordered system. If there is order in a house, then the things are on their places. Rigidity appears if the things never change their places, fixation describes a social psychological process of staying too long the same, even on different places, without changing the inherent structure of the units of the system.
We introduce the concept of matching place and quality descriptors with each other by first treating the bulk of knowledge one can gain by knowing the sequence of things as opposed to the bulk coming from knowing their composition. We count descriptions of "where-ness" and descriptions of "how-ness" for given sizes of assemblies and compare the number of possible descriptions. We do not yet match the individual properties to each other, we just discuss how many we have of these, whether they can have a match. Like we discussed the number of catalogue entries for "subjects" and "authors" for each size of a library.
Let us again trouble the librarian: he will know something about the composition of the library if he has knowledge about the number, height and number-per-height attributes of his categories of separators. The other way around, regarding the cross-tabulations of properties of the books, he can make decisions about the number, height and number-per-height of the separators he shall need to order and delineate the books according to the properties of the library's catalogues.
It appears that there are actually two possible sizes of sets (regions on N) on which an equilibrium between number of possible places and number of possible qualities of things can be conceptualised. We shall discuss how a mixture can be rolled down into a sequence and how to find regions on N with an equilibrium concept by clothing the ideas into a semantic meaning at first, by using another example. This example picks up the idea of group structures from Chapter 2.
Example: A nation sends a team of athletes to a preparatory camp, before partaking at a competition. Two trainers accompany the sportsmen and sportswomen: one is to train them in their discipline, the other to do social coaching. They shall each day telegraph home their findings. The result-oriented coach will always send back a sequence of names showing who is the best, second best etc. As we shall nominate to the fighting team only the first few of the best, based on their ranking, their actual physical results (how many kg, sec., etc.) are not important, nor is of any relevance, what kind of sports they engage in. We have to know their individual names, the important thing being a match between a name and a place.
The social trainer shall always send back a sociogram describing group alliances between and among the athletes. There, the individuality of who is currently sharing a goal or a grudge with whom is less important than the message whether the team marginalizes some subgroups of members; whether it is totally torn apart along one or more major issues; whether there is a division among three or four roughly equally numbered fractions, or whether there are complex alliances among the team's members like in a highly structured crime plot in an elaborate phantasy like a spirited rendition of some of Constantinople's intrigues. Group structures can become extremely complex, as any politician will tell. So the social trainer shall also have a tremendous number of possible messages, among which he shall choose each day that one which best represents the actual scene, landscape, drama of human contacts in the camp.
Now we shall have a day when Athlete D has overtaken Athlete C while in the social scene everything has pretty much stayed the same. On the other hand, the day may well arrive where the group situation has gotten radically changed, not at all influencing that day's ranking by objective merits. So we see that in our example the two concepts of transmittable news are at least numerically independent of each other. If this were not an objective event with sporting results but a contest in social beauty (media presence, likability experiments, social competence evaluation exercises), then we would be discussing the pure and abstract concept of how group alliances translate into linear rankings. The concept behind Big Brother type of social contests is that there exists an interpersonal agreement on the possibility of arriving at a correct result when translating "how one is made up" into "the how-many-eth place in a ranking". In the present example here we still keep with the idea that the objective ranking happens by some skill and that this skill is not a social one. The weakest or the strongest of the athletes can be liked socially in any extent between nil (no one ever associates with this person) and the maximum.
We state the independence of an external property of a member of the set from the tendency of this or any other member, to be included in groups. Gregariousness is thought to fluctuate in each member independently of his or her physical prowess. The description of a set by the sequence of named individuals contrasts with the other, commutative way that describes the same set as decision-makers in diverse coalitions. In the commutative way of talking about a team of athletes one talks basically about counts, proportions, strengths of subgroups: what proportion of the whole is included in this combination of attributes from different categories.
We now visualise the staples of reports for both of the trainers. Before we receive a team, we prepare all possible results for both of the trainers and put them at their disposal one next the other. We shall see that we shall have ever increasing heights of paper towers as we conceptualise to have teams of more and more athletes. That the two towers both grow uniformly as the team's size grows is of course elementary. A team of 32 athletes can have more distinct results than a team of 31 athletes.
The number of possible sociograms rises almost as steeply as the number of possible rankings. The group structures depicted in the sociograms represent possible or real boundaries between groups of individuals. We would come to discuss the height of the separators again, if we enter the chain of thought, how the self-description of the social structure of a group by each member and by an outside observer may or may not fall together. Those coalition patterns and alliances, which we think possible or likely or at least sometimes hinted at, they need not actually be true.We have an instinctive knowledge about group structures by living and working among other humans. Society would have thrown us out if we were not able to react, and act, correctly on a social plane. This is also an ability we have gained in its fundamentals before we were formally educated. We operate on the social plane by using different brain areas to those brain areas we use if we sit by our own trying to figure out the mysteries of combinatorics. The contemporary assemblies in an information theoretical sense (symbol carriers used as commutative arguments in a logical expression) are sensual impressions used by organisms which have no memory, so cannot use sequential information. Primitive organisms live in the moment. We live in a life of temporal succession and few of us consider the capacity of the cross-sectional as a carrier of information.
We now discuss only the bulk of these distinct group structures, the overall amount of how many group relations exist. In a team of 32 athletes, there can be roughly 10**35 distinct coalition patterns!
The concept of equilibrium we have hinted at utilises a mathematical fact, that there are two sizes for sets where the descriptions regarding the composition of the set and the ranking of its members have roughly the same bulk. These are near 32 and 97. If the team of athletes consists of either 32 or 97 persons, both the results trainer and the social coach will have an identically high staple of possible reports to choose 1 report from. The staple for both ways of describing a set matches in size (roughly 10**35 and 10**152 for sets sized 32 and 97).
This example has demonstrated that there are two concurrent ways of describing an assembly of objects. The concurrent ways are numerically independent of each other, both relating to the number of objects in the assembly. The relevance of this step shall be discussed in the sections which follow.
5. The Concept of the Logical Sentence
The main idea of this section is that assertions in any scientific investigations are logical sentences; that logical sentences have formal properties; and that logical sentences with formal properties can be schematized, brought into a general, uniform form --and thus can be systematically generated. Having generated all idealized logical sentences we shall have generated all formal sentences science can ever deal with.
We apply the thoughts of Carnap (4) (sections 73 and ff of Wissenschaftslogik und Syntaxtheorie) in the approach presented here.
When speaking of states of the world, which are common knowledge of all, we should be able to express ourselves in a public language. The more basic a fact, the more basic the language we use to point it out. The deictic language structures the denotation of a concept by assigning connotation memories to it. As we learn our first language, we continuously receive deictic definitions from society and/or reality which establish in us the meaning of "hot", "book" and "sweet". We also learn to distinguish between formal language and the colloquial slang we use when among ourselves. There is an agreement in science that one only uses grammatically correct sentences. In science, assuming that we speak in an ideal language, we should be able to construct the set of everything that can be said (within that science). If every concept is expressed clearly, then its relation to every other concept in the same system of definitions and rules is crystal clear. This is what Wittgenstein said.
Carnap has given a communicative drill to this thought. He lays bare the skeleton of the language –in its idealised form, speaking about true states of the world recognised correctly– and shows it to be a snap-on-snap-off Lego of formal logic. To the Master's sentence "we can understand each other" he adds "if we will have understood each other, we shall have spoken in a language obeying a strict grammar".
The suggestion in this treatise is that we use a very plain and very public language to express ourselves with. We throw together all sentences of all sciences about all objects and investigate the form of the sentences. If that what can be said correctly is among the words of a public language, then the recipient of the message shall have the same interpretation of the word that was told him. A sentence evaluates into an address or returns empty. If the sender has not been understood, the element in the vocabulary of the other has not been present or not been found. True sentences shall point out an element of a logical collection and connect this element to other elements.
In an ideal language, every result of a sentence refers to a logical entity. Why not give this entity a representation in N by a natural number? We simply enumerate the concepts and state everything possible about them.
Mary is pregnant by Fritz
is a logical sentence if we abstract from the actual persons and consider the sentence as an example in public grammar. Then the example would read rather like:
- <female>.<state>.<impregnator>.
We state that in an abstract sense, anything that can be said correctly at all, can be said by talking exactly. By talking exactly, we use words that each have a specific, unique meaning which makes it to relate to the other words of the lexicon in a clear-cut, exact fashion. If we have an agreement that "horse" has a well-defined, clear meaning then we can agree on the sentences which have a valid, useful, correct meaning when applied to this concept. In some contexts, the set of correct sentences in that language may be rather small, e.g. {"subject to stamp duty" | "not subject to stamp duty"}. The language determines by its rules the context as much as the context makes the evaluation of the sentences of the language to be true or false.
We do not need to investigate the fine points of formal languages as we are not concerned with their contents but only with their gross number. We state that an equilibrium exists if the concept we are talking about in a formal language has a numeric representation on N of either 32 or 97.
The concept of a numeric representation of a logical sentence goes back to the idea of Carnap that a formal language is used to speak about those states of the world about which we can speak correctly (6). If the thing we speak about is communicable at all, the words of the language we speak about it in will have a formal relation to the thing. In a semantic interpretation: if we say about something that it is made up of some parts, which have specific relations among each other, then we find such an element of N that the specific relations of the parts add up to a concept of the thing enumerated correctly. We simply select that natural number for which the stated relation of the parts will hold true.
Investigating each possible way for a set to be a collection of parts will give us the whole body of all possible sentences of science. We do not care, which of the combinations of the arguments will be useful, technically elegant or needed at all; that task is a question of application of the language while we discuss the grammar of the language. As we shall have created all sentences that can be said, the useful sentences will be among these.
The more states of the world we wish to speak about, the more the collection of all sentences shall grow we can say about them. If we discuss 5 whatevers, we can say less distinct sentences as if we discussed 6 whatevers. Tabulating now all possible sentences which talk about a set of 5, 6, 7, etc. whatevers, we shall investigate whether we can say more about them as a collection of individuals or as a team consisting of subteams.
The concept of a numeric representation of a logical sentence implies that
- we speak in a public language,
- the words used have a definite relation among each other,
- we talk about something being made up of parts,
- the something we talk about is publicly known.
We now generate every possible logical sentence referring to a concept (word) of the public language, by using every possible concept (word) that has a definite meaning. By this, we shall have the collection of all possible sentences which describe everything that can be said in the public language. In practice, this means that we generate each and every addition that details the relations of every possible combination of summands to the whole. Whatever will be said in whichever scientific investigation about any of the objects of that science shall be (is, will be, is necessarily included) among these sentences. There is of course also a huge lot of useless sentences, but the pruning off of the irrelevant is a subsequent task. In this step we have generated all possible sentences. Next we shall discuss how to weed out the redundant, irrelevant, useless from among the whole lot of all possible logical sentences.
6. The Separation Operator (Disjunction, Dissonance): System M
In our communications about the world, we talk about similarity and dissimilarity. In order to clarify the meaning of "information" and "expectation" we must introduce a concept of variability. We know that the information value of the message is the extent of restructuring the expectation space. The more it could have been otherwise the more is the information value.
This makes it useful to introduce a measure of possibly being otherwise. We invent a tool to measure the extent of being possibly otherwise. To this end, we conceptualise a property of sets to be made up of different subsets. In everyday life, we refer to the dissimilarity property of things quite often, usually in connection with expressions of dislike. If something is not like it should be, it is otherwise. We could not have a concept of order if we had no immediate evidence of the feeling of disorder.
Let us introduce a public rule of grammar which allows us to express the property of similarity and dissimilarity by using public words. Let us regard the words of the public language and see whether we can find some that are alike in their dissimilarity properties. We shall term a concept to be maximally dissimilar, if it can be built up without using any word twice while using every word that can be used. If a thing is in one piece, it has identical similarity and dissimilarity properties. If it comes in two parts, then the two parts can be equal to each other or not. If it comes in 3, 4, 5, or even more parts, it would run contrary to our intuition to assume that no two of the parts are alike. Recognising is based on similarity. We appear to be hard-wired neurologically to recognise the common first, and the distinctive only as a figure before a background. Our social conventions train us additionally, not to be divisive, to be integrated, to find the common ground and we do like independently of culture several kinds of uniforms.
There is a proposal now to use an operator -- System M -- which stresses the differences in assemblies of whatever. Initially we will apply it to the overlapping of abstract qualities and their representation through the logical structures of public language, but it may also become applied in biology. Biology being the breeding ground of the otherwise, one may find useful to employ a tool which is made to categorise sets according to their potential of being otherwise.
6.1. The Concept of Truth of a Logical Sentence
That a logical sentence - expressed in the public language, that is, by means of numbers - is grammatically correct, that it is "true", is by itself not an information. The definition of a logical sentence includes that it will evaluate into a logical constant, which has been regarded as coming in only two varieties, namely true and false, denoted .t. and .f., respectively.
A logical sentence in a public language can only be .t. if it is grammatically correct. We do not consider 2+2=5 to be a grammatically correct sentence, because it does not obey the grammar of "=", which means (or understood to mean) that the expressions on the left of it agree with the expression on the right of it. So 2+2=5 does not appear in the list of all possible (grammatically correct) logical sentences, which deal with relations of subconcepts of the concept "5". That, what the concept "5" stands for cannot be expressed by using the two concepts "2" and "2" and nothing else. 2+2=5 is a false logical sentence. This sentence cannot be among the sentences that can be built from words of the public language, at least not correctly.
To observe the grammar rules of a language means that one uses only such arguments (words) that can be combined correctly into a meaningful (grammatically correct) sentence in that language. As the public language has very strict rules regarding its grammar, one cannot speak any untruths in the public language without violating the grammar of it. Yet there are things in the world that need explaining, that appear incomprehensible or downright wrong. One has therefore to extend the concept of the truth of a logical sentence so that the concept becomes flexible enough to accomodate observations, which we are presently not able to express in the public language.
The approach presented here proposes the use of additional grammatical rules, which raise the truth level of a sentence above the simple one-dimensional value range of {.t.,.f.}.
We propose to leave the .f. attribute to sentences we do not use at all, and to split the .t. attribute into several values. Then we may have simple truths, or .1. sentences, doubly true sentences, to be denoted by .2. and so forth.
If we arrive at a concept of the average truth "height" of a logical sentence being .i., where i can be any number > 1, then we may meaningfully say about two statements (logical sentences) that one of them is less true than the other, while both are of course .t.. In order to arrive at this goal we propose to discuss the similarity and the diversity of sets at the same time. If we find a way of saying about a set that its parts are in the same extent diverse to each other as they are similar to each other, we shall have found a concept of “something special”. The proposed rule allows setting some statements about the world into a more “existing” category than the rest, which remains “possible”. The existing can then be seen as a value range on a distribution, thus allowing us to conceptualise applicational bands like “physiological value”. Equilibrium becomes possible if the attributes for otherwiseness match the attributes for alikeness.
In fact, we want to approach the concept so common in biology that something is reasonable, usual, as it has to be. We want to relate an observation to an expectation, and in order to be able to do so, we have to first discuss our expectations. We need the concept of expectation, because in biology we see that levels are within or without their usual, acceptable, "right" limits. We may call the limits for the values concerned "physiological ranges", "livable habitat", "digestible food" or any other applicational name: the fact remains that we need a concept on how we distinguish some way of belonging-together against different ways of belonging-together which are less right. We are looking for a way of putting our concept of "Laws of Nature" into abstract speech. Otherwise we could not discuss what we observe without remaining attached to a subject-science.
So far, we have possible sentences in the public language which are each of them in the same fashion .t..; and there are no categories of additions which jump to the eye as being specifically .t. so that we could say that a set made up by this kind of subsets shall have a preference against other ways for the set to be made up. I have already argued about the necessity for introducing a concept which will allow us to consider some of the additions as being more .t. than others. Let us see a parsimonious way to do that.
6.2. The Concept of Doubly True Sentences
We remember the separation operator System M having been proposed at the beginning of this chapter. We have argued that we need a concept of diversity as opposed to uniformity, a concept for the potential to be otherwise, basically because our social (and biological) environment is an interplay between the alike and the different. The whole concept of numbering goes back to the central idea of basic units of which everything is made up. This unit carries the name of 1 and we all agree that every other word in the language is understood to be made up by this elementary unit. We think 5 to be made up of 5 times the 1 and 7 to be made up of seven units. The concept of multiplication is rooted solidly in the idea of likeness.
Now we want to discuss the unlikeness, the differences among the units. We shall consider that word to be maximally unlike, of which no single part is like the other parts, or indeed no two parts of it are like each other.
This means we look at words that are made up of subwords which each are different to each other. We have a way to do so, by regarding the differences among the words. "1" as a word is different to the word "2" which is again different to the word "3" and so forth. We shall regard a word's usefulness in expressing concepts of difference in dependence of that word's dissimilarities of components. Any extent if expressed as a multitude of units is optimally suited to represent the concept of similarity. The sentence 5=1+1+1+1+1 is as far away from an ideal of diversity as is 6=1+1+1+1+1+1. How can we reach an optimum for diversity?
We can express 5 as an imbalanced entity, a collection with unlike parts in the following fashions: 5=4+1, 3+2, and that's it. In any other way of putting it, we repeat at least 1 word at least once. 5=3+1+1 is as far away from our ideal of otherwiseness as is 5=2+2+1. Looking for the ideal of unlikeness we reach 6, where we can write 6=1+2+3 and we have found what we have looked for. In the sentence 6=1+2+3 we have observed the rules for maximal unlikeness of a set regarding its parts, namely: every unit that is different is included and secondly, every different unit is included only once.
Going thru this exercise for the next few different units of distinct concepts (we agree that 1 expresses somehow a different concept to 2, and that 4 is in a fashion different to 5), we get to a series of numbers which run: 1, 3, 6, 10, 15, 21, 28, 36, 45, 55, 66, 78, 91, 105. One should learn the m-zero numbers up till 100 by heart.
We have attached parallel to N a second number line which recodes each symbol of N into a value on M. My students and my children had no difficulty learning to use M and count in M. Counting in M somehow sharpens the mind for concepts of diversity and alienation, because it allows discussing by how much something is different and contradictory in itself.
The translation N → M happens by means of an arbitrary definition. Its rules are:
- function m(n)
- local integer tmp, first, len, zero, m
- tmp = int(sqrt(n/2))
- first = 2*tmp**2
- len = 4*tmp + 2
- zero = if(n-first < len/2, first + tmp, first + len/2 + tmp)
- m = n – zero
- return(m)
| The translation of N values into M values brings the following System M: | |||||||||||
| N value: | 1 | 2 | 3 | 4 | 5 | 6 | 7 | 8 | 9 | 10 | … |
| M-value | 0 | -1 | 0 | 1 | -1 | 0 | 1 | -2 | -1 | 0 | … |
We conceptualise an attribute of the words of the public language which gives a measure of how disjunct they can get. As we translate an extent (the meaning of a word regarding its uniformity by being made up by several of the units) into a diversity attribute, we are able to implicate the potential for diversity of that observation we talk about. By saying 5+5=10 we state that something (whatever in the physical world that may be) is regarding its uniformity is altogether 10 (long, strong, thick, hot) and is currently observed to be in two pieces which both are regarding their uniformity of the extent 5 (long, strong, thick, hot). By repeating this sentence in M, where it reads 0 = -1 + -1, we state that something of the separation measure 0 comes in two pieces which each have a diversity measure of -1. The sentence 10 = 5+5 is .t. in N but not true in M. To construct something which has the uniformity measure of 10 (and thereby the diversity measure 0) and yields such a diversity description that the m-sentence shall be .t. on N too, we should choose 10 = 6+3+1 or 10=4+2+3+1 which translate into M as 0 = 0+0+0 and 0 = 1-1+0+0, respectively. Such sentences shall be termed .d. (or .2.) for doubly true.
Among all additions on N there are some additions which are true if conducted on the m-representatives too. Counting and tabulating these, one will find that a rather stable percentage of additions will agree to the .d. grammar. See Figure 3.
Figure 3.
Absolute number of partitions of n, absolute number of .d. partitions.
Here we transport to elements of the public imagination (our concepts about the world, expressed by means of publicly agreed on archetypes) a concept which we find in each and every culture, namely that of the selected few. This idea obeys as well our urge towards symmetry, equality and justice and as well our impulses and observations that asymmetries, inequalities and injustices exist. Each addition is equal in a sense, but there are some, which are more equal than the others.
Before we can address the mechanics of compositional information transfer we must agree on basic concepts like homogeneity, diversity and the like. By whatever means we structure our collection of inner images we do differentiate among some elements of them which have an immanent, innate advantage above the others. This advantage may appear ridiculous and arbitrary for an external spectator: but we should be able to talk about preferences of some states of the world above other states. The parallel evaluation of an N-expression on its M-representatives too, allows us to propose an arbitrary criterium in such a fashion that everyone can agree. It is a rather arbitrary criterium, which may or may not relate to diversity as opposed to uniformity, but it does set some states apart from the others.
Here we have a distinguishing criterium which allows us to transport our concepts about the world into publicly hold ideas about the grammar of the public language. A grammar is the collection of what is right and what is wrong in the spoken language of a natural language X. Peeling off the particularities (following Kant's concept of the object as such we discuss now the grammar as such) of language X, we have a grammar serving any natural language. Abstracting from the biologic (probably neurological) restrictions on a language, which make it a natural language, we arrive at the concept of a language which can be universally spoken. Anything that can be said (will be said or has been said) may be abstractly represented in this language. Its sentences, words, and rules are embedded in something, which is outside the language, the non-words, the non-sentences, the a-grammatical. Silence itself is an element of the language but cannot ever be said. Let us leave that portion of .t., which is not .d. to be the background before which that which can be said steps into the foreground.
The collection of all additions tells us all about all that ever is possibly there that can be said. Some of these states of the world will never happen, so we shall never speak of them. In a fashion, these sentences are as equal to any other sentence as our concepts of equality, indeed equilibrium cause us to think elementary abstract units to be equal one to the other. There is an element of arbitrariness to the set of things that happen as included in the set of things that could have happened, and often, should have happened. The non-realised collection is still there, it can actually hurt that it is still here, or that it is non-realised. We need a concept for those things that could be but that never shall come to pass, at least not so as we had wished them to come. Selecting – arbitrarily – a subset of all logical sentences for which an – arbitrary – additional rule will hold allows us to regard the non-selected as a mere potential. We select by means of an arbitrary rule some of the additions, which thereby receive an attribute .d. and are included in the set of all .t. additions.
6.3. Longevity of Statements
We do have a concise set of concepts in which to discuss autoregulation, equilibrium and information content. We transfer publicly known procedures to a language all can understand. For instance, we have learnt in history about a hierarchy of kings: we repeat this concept in other fields of our thinking. Many order relations in our natural philosophy follow the concept of a central ruler of whom many depend. As long as the king's family was around as long the interests of that subset of decision makers were enforced. If a dynasty has outlived the other, it has somehow won.
Let me suggest that one uses the expected number of generations measure to present the idea of heredity in the public thought. Let us think the M-class attribute of a sentence to be like a "caste", or a sociological "class" of individuals with a specific group symbol. 36, 3+3, 45+15 and 1+1+1 would be examples of the M-Null class. As long as one can translate a sentence of the fragmentation class i into a sentence of the fragmentation class i, i-1 or i+1 while remaining in the same M class, as long shall be assumed that this sentence "lives" and its descendants live too.
One will find the domain of permitted (living) neighbourhoods rather restricted relative to the whole set of possible additions if one enforces rules that say that the transformee and the transformed belong to the same M class.
As an example we can point out that in the region up to 100 rather few M-true sentences of the M0-class exist, which describe the first split of a unit into 2 subunits. 6=3+3, 21=15+6, 36=21+15, 55=45+10, 66=21+45 cover it all. These few additions are but an example for a “pure blood” descendancy, where both parents and siblings belong to the same (here: M0) category.
Summarising this section we may restate that an attribute of sentences exists which makes some sentences carry a .d. flag. These bring identical M-values on both sides of the equation. The number of steps while a sentence remains on the N-plane and the M-plane and walks up or down, or remains, regarding its K-plane of fragmentation (see later) may be used to discuss the logical longevity of sentences.
7. States of sets and their place in space
Our central aim is to find a concise explanation for the relationship between "how" and "where" as this is the backbone of the concept of order. Our concepts of "where" are since Descartes connected to a rigid, 3-dimensional space which has 3 orthogonal axes, the x, y and z axes.
The "how" dimension of things has not been yet discussed in detail in such a fashion that anyone fluent in the public language could add his or her views to it. We know that if something is broken in pieces its place is no more where it used to be as long as it was functioning but usually it awaits being transported to a no-place where it shares a wait for destruction with other things lacking in usefulness. The non-place is usually outside the useful places, behind something or on the edge.
We shall similarly construct an idea that the more valuable a something is the more it is in the mainstream. In actual fact, the measure of valuableness shall be shown to derive from the central position of the element. We have a cultural understanding that it is good to be where the majority is: to "follow the masses", to be among equals and one's peers. We shall try to translate these wisdoms (these preconceptions of how place, main bulk of the mass, and the place of those who are somehow outside the usual, interact) in a concept of how the world of qualities is organised. To do so, we take recourse to placing all we know in a rigid web of possible places like Descartes did.
The only improvement we make on Descartes is that we rename and reinterpret 2 of the 3 axes. The x axe we leave as it was, it being gradated 1,2,3,… and so forth. This axe we call N for the sequence of natural numbers. On this axe, we may read off, how many (or how much) of that what we imagine to be placed at all, numbers. Regarding its overall numeric extent, case A has the value of, say, 66.
Now we wish to investigate in how many pieces this case A may be at all. If all of case A is in one piece, we have a dot on the N axe at the distance 66 from the central origo. All logical statements which refer to case A being in 2 pieces we shall place at a step above the x axe's plane, conceptually vertically above the dot (66,1). We may remember that there is only 1 dot on the (66,1) place but there are 33 dots on the (66,2) place.
So far, we have 2 axes, one for the fragmentation which we call K and one for the overall extent which we call N. We find for each partition of a natural number a place in a two-dimensional plane.
Now we add the separation measure to the state of the set we discuss. The logical sentence 66=36+20+10 will have a place n=66, k=3 and m=-1, because the sentence refers to an x evaluation of 66, it comes in 3 pieces, therefore y=3 and (remembering the translation N → M) we see the expression 36+20+10 to translate into M values like 36:0, 20:-1, 10:0, giving –1 as the result (0+-1+0=-1).
We now have a perfect 3-dimensional space wherein each state of a set will be marked by an entry in a matrix. Potentially, the space can extend on the x-axis (N in our case) up till infinite. It appears a reasonable assumption to think the overall space to be conceptually rather finite. If the space would be thought infinite, we could have no concepts of differing densities, nor of spontaneous "crystallisations". This because each of the f(n) being monotone growing there would remain no segments with a density less than infinite. Once we start differentiating (distinguishing) degrees of infinitely dense segments, we are back at a concept of a finite number of steps which we can distinguish (even if in the outer, real world there are an infinite number of possible gradations of physical phenomena which could translate into sensory impressions, we cannot distinguish but a limited number of them, as we have a limited number of sensory and nervous cells). So let us treat this space as conceptually limited in extents, mainly thru the uselessness of making any meaningful logical assertion in the public language about the connection of where and how beyond the size of the set of roughly 12 dozens.
To visualize the density of this space one may note that a) k as a f(n) is closely related to sqrt(n) [as Prof. Gerd Baron of the TU Wien has pointed out] with respect to the most dense subsection of the fragmentation – granulation axis, and b) m as a f(n) will reach leftwards at the maximum to (–n/2) and on the right side to up to (n/4). The space wherein "matter" lies – that is, the logical space, into which we dot each of the partitions of the natural numbers up to say 140 – may be thought equally spaced with regard to the axes, but there will be nothing in it on the edges. What is in the space (that is, the 3-dimensional representation of the density of the events in the logical space) has a non-Euclidean form. Peeling off the n layers starting backwards from 140 one will notice that each of the layers shows a typical form, up till the last remaining 1 which sits at the coordinate (1,1,0) having no form at all. The typical form resembles a left-dralled whale peak (nose, bead). The drawing to include here is in effect four-dimensional, so cannot be easily reproduced in print.
Now we have the basic structure of the space and the distribution of logical events in the space. We shall now discuss the density of the segments and what we can deduct from a static approach to the density first.
The segments are differently dense. Making a cartography of the segments one will notice that the density varies from 1 to several tens of thousands of entries into each of the cells of the matrix. The {M-Zero, k-max} cross-section is always the most dense, for each n. While the k-max peak falls right and left differently rapidly, appear the left and right (-1m, 1m) neighbours on M identically strong, as regards the absolute numbers, over all k-s.
Each entry in this matrix is one fragmentational state of a set, expressed concurrently in terms of n, k and m. For the same n and k, we have the ways that this number n be written up as a sum of k summands, which in their sum add up to the specific m value. E.g. for (6,2,0) we have the expressions (4+2) and (3+3) [but not (5+1)].
These sentences are concurrently true, relating to any possible state the set can be in. Yet, there is an important combinatorial distinction to be made: not each pair, triplet, quadruplet, etc. of the logical statements relating to this specific state of the set can combine with each other. In this respect, one may say that while each potential statement is .t., combinations of them may not be possible, and if they are possible, they order the sequence of the summands.
An example may help to clarify this thought:
Let us investigate the example of the density of the cell (10,3,0). This contains the expressions (7+2+1), (6+3+1), (5+4+1). The interval is 10 units long, and we see 2 cuts on it. If we rotate (permutate), say, (7+2+1) into (6+3+1), we shall observe that there are several ways to do so, namely if we merge the segments (6+1) into the segment 7 while we merge the segments (2+1) into 3. This example shall show the concept of differing heights of cuts: unit cuts (between 6, 1 and 2,1) and one double cut (between 7 and 3) in the first example, and next to 1 a double-height cut and between 2,7 and 3,6 in the second.
- 777777|7||22|1
- 666666|1||33|3
- 1||22|7|777777
- 1||33|3|666666
It appears that one may translate the "height" of a cut into a knowledge about the arrangement of the segments of the interval. Additions of logical sentences, seen as cuts on an interval, open an aspect to spatial arrangements of combinations of logical arguments, by generating collections of different height cuts (different thickness of boundaries).
One will want to look into the concept of "individuality" of the elements of the set (minimal, unit lengths of segments of the interval) to be able to compare the information carrying capability of the collection as carrier of overlaps as opposed to a sequenced collection of distinguishable individuals. In the examples above we can demonstrate the concept of "individuality" by pointing out that we can distinguish elements with "flags" {2,3}, {1,3}, {1,7} and {6,7} in example A and elements with "flags" {1,1}, {2,3}, {3,7} and {6,7} in example B against each other. In dependence of which sequence we use we shall have a differing collection of properties of the individuals, thence a differing number of possible messages to transmit if we line the elements up.
Discussing the case that the sentences relating to the set come from differing M classes while remaining in the same N and K class would require too much detail now. We run into very complex tasks also when discussing how combinations of sentences within the same n, k, m cell of the matrix alter the k value. As we have seen, the number and height of cuts have an intricate relationship if we want to maintain the concept that the overall category of fragmentation remains the same. Adding two concurrent statements about a set makes the k-value go dramatically up, thus "moving" the case up the K axis. One may introduce negative values on the number of cuts as the result of the height of cuts (in order to remain conceptually in the same K class), but this appears an explosive approach which deserves careful thought.
8. The Sequential and the Collective Description
The proposal to put forward is to compare the information content of descriptions of assemblies once as a list of individuals and once as a collective. The same dichotomy has been approached in this paper before: we have had a polarisation of sentences once as a statement about the sameness of a thing composed of subassemblies and once about the differences of the subassemblies of the same thing. The idea is that we can describe anything by relating its similarities to a system of distinct entities, and we can point out the properties of this same anything by relating its dissimilarities to a system of alike things. The proposal here is that we have a complete description of it only in that case when both descriptions collide.
Once we have transmitted the polarities of our conceptual space (which dimensions we are able to place thru the possible) and also its central object (what we consider to be a well-balanced entity) then we are able to place anything we encounter in this cartography of the thinkable. The mechanics of our thinking suggests the hypothesis that we understand something if we match quality and place descriptions: the moment of understanding matches a place to a quality. Both of our concepts (place, quality) are but constructs without an agreed-on definition in the public language, comparable with the constructs of intelligence, or the sense of aesthetics.
Indeed one may use the idea of a musical concert where many instruments play and one hears a stream of accords with many soloists acting together using (the same) partiture. Of course, the instrumentalists each have their own ticker-tape of Zeroes and Ones, play now, stay silent now, goes the instruction to the individual. The cross-section of the flow of information shows a very different picture. An accord as a cross-section of the flow of information will show group relations quite clearly. We may have some strings, some brass and some percussion. But we may also have the key, the pitch, the tone, the positions within harmonies. There are several dimensions to a cross-section while to a longitudinal recording of information there is only one, the temporal dimension (in which we use in the extreme case only two symbols: 0 and 1).
Like we can give rather easily each of the soloists' grammar as he sequentially turns on and again off his signal, but we don't jump at the task to classify the relations between the accords these instruments make up. There, group relations may be substituted in the public discourse on how understanding arises: multidimensional partitions are statements about the collective, while individual rankings are statements about the individual. We now count the assemblies of temporal information and compare this to the assemblies of cross-sectional information. At any given moment some instruments play and some are silent. We want to record how many different ways are there that instruments play or are silent and compare this number to the number of possible accords. The two things are different. It is important to work out this point properly.
We cannot enumerate as clearly the different nuances of an accord as we can enumerate the soloists' note sheets. We count in confluences and similarities as we evaluate contemporaneous sensory inputs and there are no agreed-on procedures to translate the subjectively and interpersonally clear distinctions between an assembly that matches well and one which has a bad taste. The cross-sectional information evaluates in the brain differently to that which comes sequentially. This is why we cling to the objective truth which comes interculturally as a sequenced information. In the books we have symbols one after the other, if we write we place one symbol after the other and it is considered somehow more objective to code things by numbers and not by colours, tastes, or smells. The very concept of rational is that it can somehow translate into N. The sequenced way has a far better press with respect to respectability than the subjective, individual, intuitive which comes typically as a mixture of impressions and emotions, at a whiff.
Apparently, we sense contemporary assemblies by deeper, more primitive regions of the brain than those which come to us sequentially. We need not discuss neurophysiological particularities of intimate human experiences but we may refer to their existence, and in this treatise, regarding their distinctness, we may suggest to count them.
The concept of a cross-sectional information is that of a contemporary assembly. Here, we talk about the set as a whole which has parts. The individuality of the element is not of much regard, rather one views the individual as a member of a group. We oppose this group-numerosity to the numerosity of sequential information carrying capacity. The information carrying capacity of a collection as a collective and the information carrying capacity of a collection as an assembly of individuals are two differently measured extents and will yield differing results for any given size of the collection. Let us imagine that we compare the number of messages which we can transmit by using differing arrangements of the beads of a necklace on one hand, with the number of messages we can transmit if we cut the string ranking the beads and instead hand over as many beads in a sack. It is obvious that the sequential arrangement will have an upper limit for the number of distinct messages which can be transmitted with a given fixed number of symbol carriers. It is less intuitive but similarly obvious that the number of different overlap structures which we observe if we use a concurrent collection of symbol carriers is equally limited.
In the sequential method, one differentiates a,b,c,d as 1 of 4 objects. The sequence "abcd" shall be interpreted differently to a sequence "bcda" or "cdab" etc. While in the commutative method, where the symbol carriers may arrive in any order, practically always concurrently, we distinguish overlap structures. Thus "a", "b", "c" and "d" don't mean here individual objects but categories of describing dimensions. Let "a" mean "language I can read in", let "b" mean "subject I am interested in", "c" mean "price I can afford" and "d" mean "style and brevity which are suited for the time and energy allocated". Then I shall consider a library of 4 books which reads "a,b,c,d" differently to a library of 4 books which reads "a, ab, ab, c" or "a, ad, bd, bc". It is important to notice that there is no absolute link to entries in an objective lexicon. No one will know which subjects I am interested in, what languages are suitable and how much time I allocate for a book. These overlap structures are transportable over cultures and individuals. Similarly, when we visualise transmitting messages by means of the beads of a necklace which come without any sequential order (in a sack) we don't restrict the usage of symbols to any specific variety of symbols. For instance, "#,#%,%,&" means literally the same as "!,!?,?,*" or “q, qw, w, r”. They all mean "in a collection of 4, there is 1 on its own and the remaining 3 have 1 which comes in both categories and 1 each which are disjunct".
Counting these possible messages is not really intuitive. Probably one of the reasons why multidimensional partitions have been left undefined for so long. Yet, there appear possible applications which justify the search for an answer to the question "how many distinct arrangements of symbols can I apply on a set of n objects so that each arrangement remains distinguishable to all other arrangements?". We boldly disregard any ontological interpretation of the symbols employed and look only at the distinctness and the size of the resulting overlap structures.
To cut a long story short, there is an upper limit to the number of concurrently transmittable messages by means of using n objects, and this limit relates clearly to the number of objects used. In fact, the upper limit comes out to be a straightforward formula which leads almost directly down to the number of objects used. For each size of the assembly, there is a number of ways the assembly can be written up as a sum of subassemblies. (Like 5 can be written up as: 5, 4+1, 3+2, 3+1+1, 2+2+1, 2+1+1+1, 1+1+1+1+1, in altogether 7 ways.) This is called "partitions". The upper limit comes then to the number of partitions of the set size raised to the power of the logarithm of the number of partitions of the set size. One may suggest to use the notation "n?" for this function of n. In formal terms, if E(n) is the number of partitions of n, then the upper limit of information carrying capacity of n objects - if used commutatively - is equal to E(n)**ln[E(n)].
This upper limit we compare to the upper limit of information carrying capacity of n objects which come in a sequence. This function has been known for long, and agrees to the number known as the factorial of the natural number n. Its usual notation is "n!" (Figure 4).
Figure 4.
Number of distinct commutative states per number of distinct sequences.
In the two equivalence points we talk about as many possibilities for matches between sentences of one kind as there are possibilities for matches brought about by sentences of the other kind. If the party's size is around 32 or 97 then there are roughly (or exactly) as many sentences that talk about the uniformity of the set as there are sentences that talk about the diversity of its components. The same concept applies if we interpret the equivalence to the number of sentences about a collective and the number of sentences about the individuals. The mechanics of the public language appears to boil down to a relation between odd and even numbers. (One can have more multiplications using even numbers than with odd numbers.)
Footnote to exactitude: the two functions follow each other rather exactly. At the maximum of difference to the favor of group-style states (or messages about these states), we see 2.1E+93 to contrast to 5.4E+92 cases (states, messages). The contrast the other way around is the most marked near 12, where the distinguishable cases number 1.1E+7 and 4.0E+7, respectively. The functions diverge obviously after n > 135. The relative error allows then (the first time) a slack swalloving 1 carrier object. This slack may well turn out to have relevance in applied fields.
Relevance of the deviation of Function 1 relative to Function 2: what in an economic viewpoint matters, is, how many messages can I transmit with n objects, which question one may rephrase into: “How many objects do I need to transmit x messages with?”. Here, this model allows transmission efficiency increases. A flip-flop mechanism appears. There is about a 280% efficiency when switching from sequence to state, and one of about 380 % when switching from state to sequence. The switches are optimal if effected with set sizes of 12 and 66, respectively. Closer scrutiny is needed to establish the compounded (consolidated) gain, but even if not reaching a factor of 10 in throughput increase, an improvement of 150% to 200% on the Shannon algorithm appears to be achievable on a conservative estimate. The idea is to use a few dozen message carriers and continuously switch between regarding them in an individual or a group state.
One can build around a nice curve showing the relations between two mathematical entities a philosophy of sameness and differences imagined into natural numbers. This allows a public discussion about concepts of a global order. One of the constructs shows the uniformity of sentences (multiplications), the other one shows the diversity (by counting in disjunct subsets of sets). There are two sizes of sets where the matches between 'same' and 'different' are equivalent, at least in terms of bulk. Outside the range 33-97 there are more sentences detailing uniformity than those relating to diversity. Within the range we find more logical sentences which point out the diversity of group relations than there are sentences which consist of uniform summands. In another plane of visualisation, we discuss the proportion of alike to different in the summands of additions which agree in their result but may generate distinct cuts on an interval.
9. Matching Place and Quality
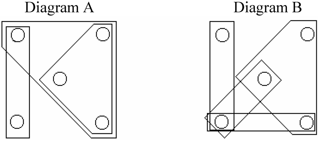
In this section we discuss proposals relating to a combination of place and quality attributes. We apply a concurrent visualization of group belongings and sequences. The unit of information appears as the unit shrinking of the expectation space of matches of individual and collective descriptions. Let us refer to two simple sociograms as an example (Figure 5):
Figure 5.
Two simple sociograms demonstrating distinct characteristics of places.
The two ways of describing the position and the subgroup-belonging-to of elements would be:
| Collective | Individual | Expectation space |
| 5 | abcde | Any of 5 can be any of abcde |
| (3,[1),1] | cdbae | i is 1-of-4; |
| Diagram A | i is 1-of-2; | |
| i is 1-of-3; | ||
| i is 1-of 2 and 4; | ||
| i is 1-of 3 and 4; | ||
| <repeat for 5 arguments> | ||
| (1,{[1), (1],1},1) | bdeac | i is 1-of-2; |
| Diagram B | i is 1-of-3; | |
| i is 1-of 2 and 3 | ||
| i is 1-of-2 and 2 and 2 | ||
| <repeat for 5 arguments> |
In the first row we see the present-day approach to information interaction between group structure and individual position. The group structure does not play any role at all.
In the second row we see two kinds of information whose confluence we suggest to use as the upper limit of expectation space. The sequential way is familiar. The group structure is an information about the collective and its matching to the individuals may enhance our knowledge. In reality we do not know anything about the individuals, but we construct their individuality out of the group structure which characterises them. Yet, here, for the sake of applied information we assume a prescient knowledge on our part or dog-tags identifying the individuals as a thru e. Then, it would be news that not i is now 1-of-3 but it is j. By the same token we would welcome the info that i is now a 1-of-3 and not a 1-of-4.
The total amount of potential information one can read off an assembly of n objects is definitely finite as long as n is finite, and is the sum of the squared logarithm of the partitions of n and the logarithm of factorial of n. Of this amount, a great part is useless information.
For information to be useful, meaningful, it needs a harder criterium. The useful information discusses position data in concurrence with quality data. Useful information says “relative that the case is on place {i}, its composition is {j}”. We select always pairs of sentences which refer to each other. In the example above, we have the potential info that a) the sequence is one among n! (in the middle, “individual” column); b) column 1 (“collective”) shows three cases (5, (4,1), (3,2)) out of n?. The column “expectation space” discusses the additional info that may come out of a combination of sequence and group-style presentation. We shall have to go into neighbourhood relations to show that individuals with tags on their object cannot stand next to each other if the group structure is of a sufficient density.
Example: On the same table, we first discuss redundancy of overlap structures, then individuality of the objects. The interval is of length 10. We give “names” to the segments 1 thru 10 (here: columns of a table) by naming them a thru j. Each segment carries a tag showing how long the subinterval is into which it now belongs.
![]() |
Columns d and e of row 1 are grouped together by a symbol. This symbol (whatever it may be) points out 2 elements. Columns c thru g of row 4 are grouped together by a symbol. This symbol groups 5 elements together, so each of the elements carries a tag saying “I am included in a group of 5”. This is the meaning of the number 5 we see 5 times in that row.
We can see this example as an indexing of a library. Rows 1 thru 5 are the indexes, objects a thru j are the books.
Each of the neighbourhood relations is permissible. One could add more non-redundant group relations. The symbol(s) pointing out a property of books f, g and h of rows R1 and R5 are pointing to an identical subset, therefore one of these symbol(s) is redundant. The same is the case with objects i and j with respect to the symbol(s) employed in R1 and R5. The number of rows yet to be added containing at least one nonredundant symbol is clearly finite.
There is a relevance to messages transmission in this approach. If one transmits concurrently a structured collection, the sequence of the objects may become self-explanatory. This happens in dependence of agreements between sender and receiver on the depth of cuts. In the example above, concurrent transmission of R1, R2 and R3 brings automatically a sequence of the objects about, with the possible non-individuality of objects (a,b,c), (f,g) and (i,j). These objects can be mixed up, unless they have an additional identification.
The individuation of an object can be discussed by reading the same example not across but down.
![]() |
Read “down”, the objects (here: columns) carry characteristic descriptions. The 2nd column (object b) has following description: {3,4,7,2,5}. This object cannot lie between two objects which had say descriptions {2,3,7,2,5} und {1,2,7,2,5}. At least one of the neighbours would have to continue a group of the size 3 and 4, respectively. Because the logical statement "I am included /among other groups/ in a group of extent 3" would not agree with the descriptions of the neighbours (and the assertion "ordered sequence").
Summarising this section, we may restate that:
Symbols pointing out identical elements of a set can be replaced by a natural number showing the cardinality of the subset generated such;
If several symbols point to the identical object(s), all but one of these are redundant;
Communicating an overlap structure by transmitting objects concurrently may lead to a sequence to evolve “by itself”;
Individual objects can carry info by their sequence;
Non-individuated objects can carry an info by pointing out characteristics of the place;
A combination of both sequence and structure info is the total expectation space;
Of this potential only that can carry info that can be otherwise.
In the next section we shall discuss how many coincidences of place and quality descriptors are possible at all.
10. Cyclicity and Neighbourhood
This approach means that information is the pointing out of one step in a cyclicity. Because we define that as an information that we know into which position as understood in the group-style presentation comes which position as pointed out by the collection of multiplications.
We return to the example of Figure 5. One can point out on that drawing how many positions are there within a subgroup and how many of these distinct. In Diagram A we see 2 individuals (1-in-2, 1-in-2-and-4) and 3 non-individuals (1-in-3-and-4). In Diagram B the individuals are: 1-in-2, 1-in-3 and 1-in-2-and-2-and-2. The two objects with characteristics 1-in-3-and-2 are not individuals. An addition in M would treat the 3 in Diagram A differently to the 3 in Diagram A. These are the places’ descriptions. Unto each of the places one distinguishable object (individual) can come. The two Diagrams can also be seen as very simplified drama plots. Then, one would interpret, e.g. 4 brothers, 3 of them red hair, the black-haired has a wife. In Diagram B: 3 brothers of whom 2 are in love with 1 of 2 girls (the same one).
The idea is that on each of the group positions one individual can sit. But this is not true in reality because then you cannot have two such next to each other as will not fit for lack of a rolling-down of the picture.
The term rolling-down means the attempt to linearise a group structure by arranging the objects with differing number and heights of cuts. By putting down the objects next to each other, with their dog-tags on, one will notice the number of discontinuities and of logical contradictions to be dependent on the sequence of the objects. (See other table about the cuts and the dog-tags when one reads the table down.). The term rolling-down means a permutation but with the additional info that the permutation does have a collection of cuts of various heights and of course numbers. So the term rolling-down means one distinguishable variety of neighbourhoods-cum-heights-and-numbers-of-cuts. The same permutation can be several rolling-downs, which would reflect the group structure information. An identical roll-down to lay over different permutations should also be possible. The height, number and distance of the cuts is what makes a roll-down unique, not the dog-tags of the members. To a group sociogram there are several roll-downs. The collection of the roll-downs describes a sociogram exhaustively.
One may use good judgement on how to restrict the rolling-downs to such as will be possible and those that only make some tension and those that will want to be next to each other and so on. This would lead back to the probability approach to the subject (1.1.), where we discussed several concurrent partitions to be present and used the chi-square prediction about what should be the bulk of our units.
For number theoretical reasons it may be offered that one investigates the region around n=66 for a first orientation. The most usual logical sentence evaluates to around 67 on N and has some 13 arguments and may be described in up to roughly 15 different ways. The ways will become rather redundant above a few, the 2nd already at a huge loss to the 1st (which is thankfully N).
In that case that the logical sentence is an addition with the result 67 and is expressed several times concurrently with group sizes roughly around 5, then this sentence does not say anything at all logically. This is the description of the central element. Every other sentence gets interpreted relative to this sentence. Any sentence is somehow different to the logical Zero-sentence. The LZS carries the least information. Relative to the LZS is anything that is the case an information. System M is well suited to discuss concepts of (two) central element(s), which have an extent of Zero.
In an numeric sense one will expect quite a huge lot of LZS-es. They are not very interesting as individual sentences but as generators of rolling-downs. Because one can exercise on them concepts of cyclicity and distances describing how-ness.
Now there are several possible approaches to cyclicity and how it makes one to expect the same state-of-the-world after a vector of steps has been gone thru. Coming up from the table-version into the group-version one will not have those rolling-downs which are impossible. These don't get generated. On the other hand, generating the overlaps and laying them down one after the other, one will not have neighbourhoods which do not fit.
Summary
I have presented in this work a model of autoregulation. Generally speaking, autoregulation means an interdependent cybernetic system. The structure of this interdependence has been discussed in depth: two concurrent ways of describing the world have been evolved, where a description in one of the languages presents limits of possibilities for realisations in the other language. The intersection of states of the world which are concurrently included in the set of possible descriptions in both languages is that what can be meaningfully talked about.
The describing dimensions are available in our common sense as dichotomies of perspectives: subjective – objective; diversity – similarity; individual – collective. On each of these subjective descriptions I have placed a psychological construct of continuity like the describing dimension a test measures. Then I have abstracted from the actual subjective connotations and treated the test theoretical case that we have an interval on which categories can be introduced. Around the middle of the interval I have proposed to assume a region which we experience and feel as “normal”, “reasonable”, “usual”, “well-ordered”.
The concept of a continuum being placed between two readily distinguishable extremes and having a bulk near the middle is well known from the Gauss distribution. The distribution I investigate here is usually referred to as the Euler distribution and regards the probabilities of things to be in parts. Its concepts are rooted in properties of the natural numbers.
The bulk in the middle of the continuum is like an intersection of our sentences about the world which are concurrently subjective and objective, relate to the diversities and the similarities of the things at the same time, and narrate congruently about the individuals and the social organism of the group. A property of some of our sentences has been pointed out, namely that we can speak reasonably and usefully. Among all sentences that we can say, we assume some to be there which have an informational value. An information is useful, reasonable in that case if the expectation has been reduced. So we assume an expectation space to be the intersection of our sentences which speak of the subjective on the one hand, and the objective on the other; the diversity on one hand and the similarity on the other; the individual on one hand and the collective on the other.
The information is understood to point out that what is the case from among alternatives which could be the case. States of the world which are stated only in one of the languages (relating only to the diversity or the similarity of things, e.g.), will not carry any information: these remain unrealised.
To make these concepts transportable in a publicly understandable way, we translate the ideas into logical operations on the set of natural numbers. In the tradition of Carnap, we regard logical sentences as being able to be fully represented by words of the public language, that is, by numbers. By generating all sentences that can be said in a scientific investigation we have the set of all logical sentences that can be said of the world. The meaningful, useful sentences shall be among these. We now postulate that there is a property of words of the public language, which refers to their ability to describe being otherwise. We introduce classes (categories) of words according to their potential to refer to diversity.
This allows conceptualising concurrent ways of describing the world, once as a collection of properties which point out the alike and once as a collection of properties which point out the diverse. The same dichotomy will be at work when describing a group as a team consisting of subgroups and once as a group being made up of individuals (without the intermediate level of belonging to categories). This is like describing a screenplay by means of the drama plot and/or by the actors who shall play the roles. One may say “this plot is good regardless of who plays in which role” and “this lot of actors is so good that the film will be a hit, whatever the plot”. Then we call the sum of the number of possible plots plus the number of possible castings the total expectation space. Within this space, an information is received if a place-descriptor collides with a quality-descriptor. The information value lies in the extent of the collapse of the expectation space.
We have found two equivalence points on N where matches between sequential and commutative ways of presenting a state of the world can agree in a stable fashion. Between them, there is more of cross-sectional potential than longitudinal. Outside the equivalence points, there are always more possibilities for assemblies to consist of alike parts than of diverse ones.
The concept presented in this treatise allows a new mathematical approach to a unified field theory. It introduces as a central tool the diversity operator System M. By discussing neighbourhood and cyclicity questions it may also help to understand some poignant biomathematical problems. Finally, the concepts presented in this treatise may well turn out to have some relevance and applications within the information processing and the theory of language fields.
Acknowledgements
Many thanks to Pedro C. Marijuán for his invitation to contribute to FIS2002 (Electronic Conference on Foundations of Information Science), and for his help in preparing this manuscript. His kind cooperation during all these years is much appreciated by the author.
References
- FISZ, M. Die Polynomialverteilung. In Wahrscheinlichkeitsrechnung und mathematische Statistik; Berlin, 1973; p. 195. [Google Scholar]
- FISHER, R. A. The conditions under which χ² measures the discrepancy between observation and hypothesis. J. Royal Statist. Soc. 1924, 87, 442. [Google Scholar]
- RUSSELL, B. Ueber das Kennzeichnen (About Denotation). In Philosophische und politische Aufsaetze, Stuttgart; 1971. [Google Scholar]
- Wittgenstein, L. Tractatus logico-philosophicus; Suhrkamp: Frankfurt, 1973. [Google Scholar]
- Carnap, R. Logische Syntax der Sprache; Springer: Wien/New York, 1968. [Google Scholar]
- Carmap, R. Einfuehrung in die symbolische Logik mit besonderer Beruecksichtigung ihrer Anwendungen; Wien, 1954. [Google Scholar]
© 2003 by MDPI (http://www.mdpi.org). Reproduction for noncommercial purposes permitted.

