Sign in to use this feature.

Years

Between: -

Subjects

remove_circle_outline
remove_circle_outline
remove_circle_outline

Journals

Article Types

Countries / Regions

Search Results (3)

Search Parameters:
Keywords = Robson classification (RTGCS)

Order results
Result details
Results per page
Select all
Export citation of selected articles as:
10 pages, 201 KB  
Article
Benchmarking Cesarean Section Trends: A Case Study from Tu Du Hospital Using Robson’s Model
by Hai Thanh Pham, Thanh Quang Le and Nam Hoang Tran
Healthcare 2025, 13(16), 2070; https://doi.org/10.3390/healthcare13162070 - 21 Aug 2025
Cited by 1 | Viewed by 892
Abstract
Background: Cesarean section (CS) is a critical surgical procedure in obstetrics but is increasingly overused worldwide. Vietnam has seen rising CS rates, especially in urban tertiary hospitals, with limited standardized analysis to guide interventions. This study assesses CS rates at Tu Du Hospital [...] Read more.
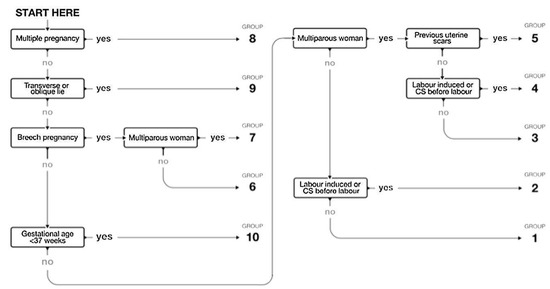
Background: Cesarean section (CS) is a critical surgical procedure in obstetrics but is increasingly overused worldwide. Vietnam has seen rising CS rates, especially in urban tertiary hospitals, with limited standardized analysis to guide interventions. This study assesses CS rates at Tu Du Hospital using the WHO-endorsed Robson 10-Group Classification System. Methods: A cross-sectional descriptive study was conducted over one month in 2017 at Tu Du Hospital, a major obstetrics referral center in southern Vietnam. All women who delivered during this period were classified into Robson’s 10 groups based on parity, gestational age, labor onset, presentation, fetal number, and prior CS. CS rates and group-specific contributions were analyzed. Results: Among 5287 deliveries, the overall CS rate was 42.6%. Group 5 (previous CS) contributed 29.7% of all CSs, followed by Group 2 (nulliparous, induced/pre-labor CS, 26.2%) and Group 1 (nulliparous, spontaneous labor, 12.8%). Failed induction, fetal distress, and cephalopelvic disproportion were common indications. Only 22% of eligible women in Group 5 were offered a trial of labor after cesarean (TOLAC), although the success rate for vaginal birth after cesarean (VBAC) was 67%, indicating underutilization of this option. Conclusions: This study provides rare Robson-based evidence from Vietnam, identifying key target groups for intervention. The findings support expanded use of VBAC and more stringent criteria for induction. Future research should explore behavioral and systemic drivers of high CS rates to guide national policy. Full article
12 pages, 775 KB  
Article
Indications of Induction and Caesarean Sections Performed Using the Robson Classification in a University Hospital in Spain from 2010 to 2021
by Rafael Vila-Candel, Nadia Piquer-Martín, Nerea Perdomo-Ugarte, José Antonio Quesada, Ramón Escuriet and Anna Martin-Arribas
Healthcare 2023, 11(11), 1521; https://doi.org/10.3390/healthcare11111521 - 23 May 2023
Cited by 2 | Viewed by 2298
Abstract
Background: The Robson Ten Group Classification System (RTGCS) enables the assessment, monitoring, and comparison of caesarean section rates both within healthcare facilities and between them, and the indications of caesarean sections (CS) performed in a maternity ward. The aims of the present study [...] Read more.
Background: The Robson Ten Group Classification System (RTGCS) enables the assessment, monitoring, and comparison of caesarean section rates both within healthcare facilities and between them, and the indications of caesarean sections (CS) performed in a maternity ward. The aims of the present study were to conduct an analysis to assess the levels and distribution of birth from a descriptive approach by CS in La Ribera University Hospital (Spain) between 2010–2021 using the Robson classification; to describe the indications for the induction of labour and the causes of caesarean sections performed; and to examine the association between the induction of labour and CS birth. Methods: A retrospective study between 1 January 2010 and 31 December 2021. All eligible women were classified according to the RTGCS to determine the absolute and relative contribution by each group to the overall CS rate. The odds ratio (OR) of the variables of interest was estimated by logistic regression. In an analysis of the subgroups, the level of significance was adjusted using the Bonferroni method. Results: 20,578 women gave birth during the study period, 19% of them by CS. In 33% of births, induction was performed, and the most common cause was the premature rupture of membranes. Group 2 (nulliparous with induced labour/elective CS before labour) accounted for the largest contribution to the overall rate of CS (31.5%) and showed an upward trend from 23.2% to 39.7% in the time series, increasing the CS rate by 6.7%. The leading cause of CS was suspected fetal distress, followed by induction failure. Conclusions: In our study, Robson Group 2 was identified as the main contributor to the hospital’s overall CS rate. Determining the causes of induction and CS in a population sample classified using the RTGCS enables the identification of the groups with the greatest deviation from the optimal rate of CS and the establishment of improvement plans to reduce the overall rate of caesarean sections in the maternity unit. Full article
Show Figures

Figure 1

12 pages, 1017 KB  
Article
Analysis of Caesarean Section Rates Using the Robson Classification System at a University Hospital in Spain
by Rafael Vila-Candel, Anna Martín, Ramón Escuriet, Enrique Castro-Sánchez and Francisco Javier Soriano-Vidal
Int. J. Environ. Res. Public Health 2020, 17(5), 1575; https://doi.org/10.3390/ijerph17051575 - 29 Feb 2020
Cited by 23 | Viewed by 7486
Abstract
Background: The WHO recommends the use of the Robson ten-group classification system (RTGCS) as an effective monitoring and analysis tool to assess the use of caesarean sections (CS). The present study aimed to conduct an analysis of births using the RTGCS in La [...] Read more.
Background: The WHO recommends the use of the Robson ten-group classification system (RTGCS) as an effective monitoring and analysis tool to assess the use of caesarean sections (CS). The present study aimed to conduct an analysis of births using the RTGCS in La Ribera University Hospital over nine years and to assess the levels and trends of CS births. Methods: Retrospective study between January 1, 2010, and December 31, 2018. All eligible women were allocated in RTGCS to determine the absolute and relative contribution made by each group to the overall CS rate; linear regression and weighted least squares regression analysis were used to analyze trends over time. The risk of CS of women with induced versus spontaneous onset of labor was calculated with an odds ratio (OR) with a 95% CI. Results: 16,506 women gave birth during the study period, 19% of them by CS. Overall, 20.4% of women were in group 1 (nulliparous, singleton cephalic, term, spontaneous labor), 29.4% in group 2 (nulliparous, singleton cephalic, term, induced labor or caesarean before labor), and 12.8% in group 4 (multiparous, singleton cephalic, term, induced or caesarean delivery before labor) made the most significant contributions to the overall rate of CS; Conclusions: In our study, Robson Groups 1, 2, and 4, were identified as the main contributors to the hospital’s overall CS rate. The RTGCS provides an easy way of collecting information about the CS rate, is a valuable clinical method that allows standardized comparison of data, and time point, and identifies the groups driving changes in CS rates. Full article
(This article belongs to the Section Women's Health)
Show Figures

Figure 1

Back to TopTop