In-Situ Monitoring and Prediction of Frost Growth on Plant Leaves Based on Dielectric Spectrum Analysis and an SWT-SSA-LSTM Model
Abstract
1. Introduction
2. Principle of Dynamic Dielectric Spectrum Monitoring and System Construction
2.1. Physical Mechanism of Monitoring Frost Growth via Dielectric Spectrum
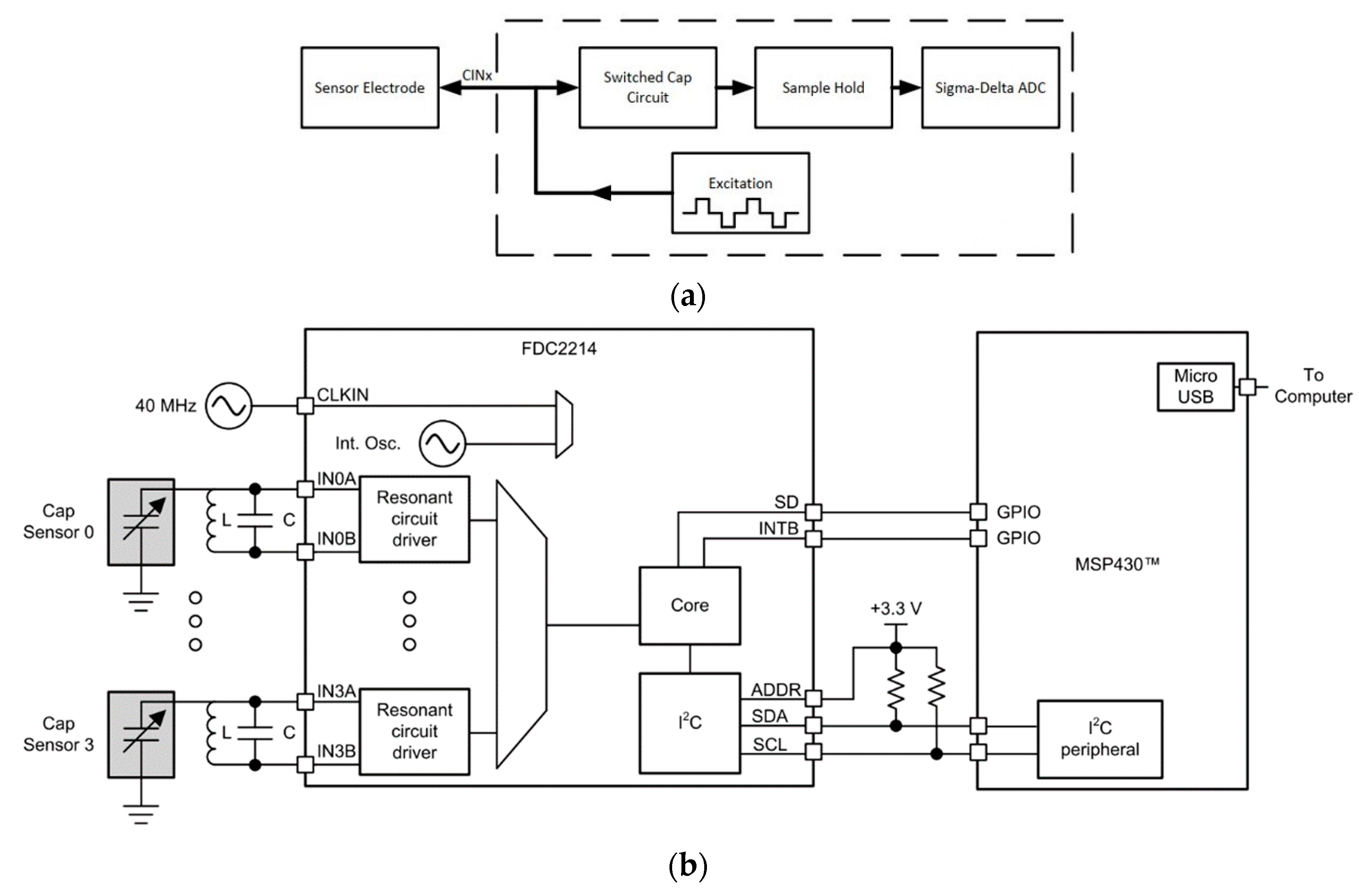
2.2. Capacitive Sensing System Design and Implementation
2.2.1. Key Component Selection and Performance Considerations
2.2.2. Innovative Mesh Electrode Design and Advantage Analysis
2.3. Signal Processing and System Calibration
2.3.1. Signal Processing
2.3.2. System Calibration
3. Field Experiment and Data Analysis
3.1. Experimental Materials and Methods
3.1.1. Experimental Site and Samples
3.1.2. Data Acquisition Protocol and Procedure
- Several reserve leaves, physiologically consistent with the target leaves, were pre-selected near the sensor.
- Every hour, one reserve leaf was carefully detached from the stem using plastic tweezers.
- The leaf was immediately weighed using an electronic balance (Model: FA1204) with a precision of 0.1 mg to record the total mass Mtotal.
- The leaf was then placed indoors. After the frost layer completely melted and evaporated, the leaf’s self-weight Mleaf was measured again.
- The Frost Mass was calculated as Mfrost = Mtotal − Mleaf. This procedure ensured the accuracy of the mass data.
- An industrial microscope camera equipped with a ring LED fill light (Ningbo Weifeng Equipment Group Co., Ltd., Ningbo, Zhejiang, China) was fixed beside the capacitive sensor (Jiangsu University, Zhenjiang, Jiangsu, China). Synchronized with the weighing, a high-resolution (5-megapixel) microscopic image of the leaf surface was automatically captured every hour.
- Subsequently, an image processing algorithm based on Gaussian filtering and adaptive threshold segmentation was applied to process the images, separating the frost-covered areas from the leaf background.
- Thickness was calculated using the formula:
3.1.3. Meteorological Conditions
3.2. Results and Analysis: Analysis of Dielectric Spectrum Dynamic Response and Frost Formation Process
3.2.1. Observation of Typical Parameters During a Representative Frost Night
3.2.2. Frost Thickness Acquisition and Processing
3.2.3. Quantitative Evaluation of Frost Segmentation Accuracy
3.2.4. Quantitative Relationship Analysis Between Dielectric Spectrum and Frost Amount
4. Capacitive Signal Denoising and Prediction Modeling Based on SWT-SSA-LSTM
4.1. Overall Architecture of the Hybrid Prediction Model
4.2. (SWT) Signal Denoising: Synchrosqueezed Wavelet Transform (SWT)
4.3. (LSTM) Sequence Prediction: Long Short-Term Memory (LSTM) Network
4.4. (SSA) Model Optimization: Sparrow Search Algorithm (SSA)
4.5. Algorithm Flow and Key Parameters
- (1)
- Denoise the capacitive time-series data using the SWT method, which primarily consists of three sub-steps: Continuous Wavelet Transform (CWT), instantaneous frequency acquisition, and compression and reconstruction.
- (2)
- Optimize the LSTM model using SSA to construct the SSA-LSTM combined prediction model.
- (3)
- Input the SWT-denoised data into the SSA-LSTM model for rolling prediction. Compare the results with other methods using error evaluation metrics to analyze the predictive performance of the proposed model.
4.6. Results and Analysis
4.6.1. SWT-SSA-LSTM Results
4.6.2. Model Performance Analysis and Comparison
5. Frost Amount-Capacitance Regression Model and Validation
5.1. Nonlinear Frost Amount-Capacitance Regression Model
5.2. Independent Model Validation and Error Analysis
5.3. In-Depth Analysis of Error Sources
6. Conclusions
Author Contributions
Funding
Institutional Review Board Statement
Informed Consent Statement
Data Availability Statement
Conflicts of Interest
References
- Kimura, K.; Kudo, K.; Maruyama, A. Spatiotemporal distribution of the potential risk of frost damage in tea fields from 1981–2020: A modeling approach considering phenology and meteorology. J. Agric. Meteorol. 2021, 77, 224–234. [Google Scholar] [CrossRef]
- Liu, T.; Zhang, S.; Sun, T.; Ma, C.; Xue, X. Review of active plant frost protection equipment and technologies: Current status, challenges, and future prospects. Agronomy 2025, 15, 1164. [Google Scholar] [CrossRef]
- Feng, X.; Zhang, X.; Tian, G. Recent advances in bioinspired superhydrophobic ice-proof surfaces: Challenges and prospects. Nanoscale 2022, 14, 5960–5993. [Google Scholar] [CrossRef] [PubMed]
- Wu, L.; Zhang, L.; Jiang, J.; Zhang, X.; Shen, J.; Song, M. Growth and behavior characteristics of frost crystals on a single micro-sized frozen droplet at different surface temperatures. Int. Commun. Heat Mass Transf. 2024, 159, 108040. [Google Scholar] [CrossRef]
- Zhao, Y.; Yang, C. Frost spreading on microscale wettability/morphology patterned surfaces. Appl. Therm. Eng. 2017, 121, 136–145. [Google Scholar] [CrossRef]
- Deng, Y.; Chen, H. Precision Pest Management: IoT and Remote Sensing in Tea Plant Protection. Mol. Entomol. 2024, 15, 209–220. [Google Scholar] [CrossRef]
- Aggarwal, K.; Reddy, G.S.; Makala, R.; Srihari, T.; Sharma, N.; Singh, C. Studies on energy efficient techniques for agricultural monitoring by wireless sensor networks. Comput. Electr. Eng. 2024, 113, 109052. [Google Scholar] [CrossRef]
- Cardamis, M.; Jia, H.; Qian, H.; Chen, W.; Yan, Y.; Ghannoum, O.; Hu, W. Leafeon: Towards Accurate Sensing of Leaf Water Content for Protected Crop, with mm Wave Radar. IEEE Internet Things J. 2025, 12, 19646–19659. [Google Scholar] [CrossRef]
- Shen, Y.; Wang, X. Real-time frost porosity detection using capacitance sensing approach. Int. J. Heat Mass Transf. 2019, 134, 1171–1179. [Google Scholar] [CrossRef]
- Hakobyan, D.; Hamdi, M.; Redon, O.; Ballestero, A.; Mayaudon, A.; Boyer, L.; Abraham, E. Non-destructive evaluation of ceramic porosity using terahertz time-domain spectroscopy. J. Eur. Ceram. Soc. 2022, 42, 525–533. [Google Scholar] [CrossRef]
- Su, Z.; Zhou, F.; Liang, J.; Liu, A.; Wang, J.; Liang, J.; Yang, J. Fractal theory based identification model for surface crack of building structures. Eng. Struct. 2024, 305, 117708. [Google Scholar] [CrossRef]
- Song, H.; Hu, Y. Detecting emerging frost crystals on leaf surfaces using microscopic imaging. Comput. Electron. Agric. 2023, 210, 107931. [Google Scholar] [CrossRef]
- Hosseini, S.H.; Valizadeh, M.; Zendehboudi, A.; Song, M. General correlation for frost thermal conductivity on parallel surface channels. Energy Build. 2020, 225, 110282.1–110282.9. [Google Scholar] [CrossRef]
- Qiu, G.; Li, S.; Shi, Y.; Fang, X.; Cai, W. Development and validation of a numerical model for frost growth based on nucleation theory. Int. J. Heat Mass Transf. 2024, 221, 125137. [Google Scholar] [CrossRef]
- Shen, Y.; Zou, H.; Wang, S. Detection of frost growth and distribution on louver and offset strip fins of a microchannel heat exchanger using capacitance sensing approach. Int. J. Heat Mass Transf. 2023, 217, 124650. [Google Scholar] [CrossRef]
- Song, H.; Hu, Y. A predictive model of frost formation on leaf surface and estimation of frost amount. Case Stud. Therm. Eng. 2023, 43, 102789. [Google Scholar] [CrossRef]
- Roell, Y.E.; Beucher, A.; Møller, P.G.; Greve, M.B.; Greve, M.H. Comparing a random forest based prediction of winter wheat yield to historical yield potential. Agronomy 2020, 10, 395. [Google Scholar] [CrossRef]
- Ullah, K.; Ahsan, M.; Hasanat, S.M.; Haris, M.; Yousaf, H.; Raza, S.F.; Ullah, Z. Short-term load forecasting: A comprehensive review and simulation study with CNN-LSTM hybrids approach. IEEE Access 2024, 12, 111858–111881. [Google Scholar] [CrossRef]
- Zhou, I.; Lipman, J.; Abolhasan, M.; Shariati, N.; Lamb, D.W. Frost monitoring cyber-physical system: A survey on prediction and active protection methods. IEEE Internet Things J. 2020, 7, 6514–6527. [Google Scholar] [CrossRef]
- Yao, Y.D.; Li, X.; Cui, Y.P.; Wang, J.J.; Wang, C. Energy-efficient routing protocol based on multi-threshold segmentation in wireless sensors networks for precision agriculture. IEEE Sens. J. 2022, 22, 6216–6231. [Google Scholar] [CrossRef]
- Shan, Z.; Wang, Z.; Yang, J.; Zhou, D.; Liu, H. Extracting non-stationary signal under strong noise background: Time-varying system analysis. J. Vib. Control 2023, 29, 4036–4045. [Google Scholar] [CrossRef]
- Alizadegan, H.; Rashidi Malki, B.; Radmehr, A.; Karimi, H.; Ilani, M.A. Comparative study of long short-term memory (LSTM), bidirectional LSTM, and traditional machine learning approaches for energy consumption prediction. Energy Explor. Exploit. 2025, 43, 281–301. [Google Scholar] [CrossRef]
- Diwakar, M.; Tripathi, A.; Joshi, K.; Sharma, A.; Singh, P.; Memoria, M. A comparative review: Medical image fusion using SWT and DWT. Mater. Today Proc. 2021, 37, 3411–3416. [Google Scholar] [CrossRef]
- Marashdih, A.W.; Zaaba, Z.F.; Suwais, K. Predicting input validation vulnerabilities based on minimal SSA features and machine learning. J. King Saud Univ.-Comput. Inf. Sci. 2022, 34, 9311–9331. [Google Scholar] [CrossRef]
- Alhatami, E.; Aslam, B.U.; Huang, M.; Feng, S. Advanced fuzzy denoising technique for agricultural remote sensing: Modified partition filter for suppressing impulsive. IEEE Access 2024, 12, 159025–159035. [Google Scholar] [CrossRef]
- Wu, M.; Wu, J.; Tan, X.; Huang, J.; Jansson, P.E.; Zhang, W. Simulation of dynamical interactions between soil freezing/thawing and salinization for improving water management in cold/arid agricultural region. Geoderma 2019, 338, 325–342. [Google Scholar] [CrossRef]
- Chatterjee, R.; Chaudhari, U.; Anand, S. How to select phase change materials for tuning condensation and frosting. Adv. Funct. Mater. 2023, 33, 2206301. [Google Scholar] [CrossRef]
- Láznička, M.; Tůma, L.; Vandírková, V.; Wohlmuthová, M.; Kotek, M.; Kumhála, F.; Kumhálová, J. Monitoring of winter wheat growth in categories of frost damage and production potential using SAR and optical images. Int. Agrophys. 2025, 39, 99–111. [Google Scholar] [CrossRef] [PubMed]
- Liu, Y.; Ban, S.; Wei, S.; Li, L.; Tian, M.; Hu, D.; Liu, W.; Yuan, T. Estimating the frost damage index in lettuce using UAV-based RGB and multispectral images. Front. Plant Sci. 2024, 14, 1242948. [Google Scholar] [CrossRef] [PubMed]
- Guo, Z.; Feng, L. Multi-step prediction of greenhouse temperature and humidity based on temporal position attention LSTM. Stoch. Environ. Res. Risk Assess. 2024, 38, 4907–4934. [Google Scholar] [CrossRef]
- Ahmed, S.F.; Alam, M.S.B.; Hassan, M.; Rozbu, M.R.; Ishtiak, T.; Rafa, N.; Gandomi, A.H. Deep learning modelling techniques: Current progress, applications, advantages, and challenges. Artif. Intell. Rev. 2023, 56, 13521–13617. [Google Scholar] [CrossRef]
- Diedrichs, A.L.; Bromberg, F.; Dujovne, D.; Brun-Laguna, K.; Watteyne, T. Prediction of frost events using machine learning and IoT sensing devices. IEEE Internet Things J. 2018, 5, 4589–4597. [Google Scholar] [CrossRef]



















| Material | Remarks | |
|---|---|---|
| Air | ~1 | -- |
| Water | ~80 | At 20 °C |
| Water vapor | ~1.00007 | At 0 °C |
| Frost | ~2.3 | -- |
| Ice | ~3.2 | -- |
| Meteorological Parameter | Range (Mean ± SD) |
|---|---|
| Air Temperature | −5.2 °C to 3.8 °C (−1.4 ± 2.1 °C) |
| Relative Humidity | 72% to 98% (89 ± 7%) |
| Wind Speed | 0.1 m/s to 1.8 m/s (0.5 ± 0.4 m/s) |
| Evaluation Metric | Value | Remarks |
|---|---|---|
| Mean Absolute Error (MAE) | 0.03 mm | Average absolute error between algorithmic and manual measurements |
| Root Mean Square Error (RMSE) | 0.05 mm | Root mean square error |
| Frosting Phase | ΔC Range (pF) | Frost Mass Growth Rate (mg/h) | Frost Thickness Growth Rate (mm/h) |
|---|---|---|---|
| Initial (I) | <50 | 0.12 | 0.03 |
| Growth (II) | 50–200 | 0.85 | 0.18 |
| Saturation (III) | >200 | 0.09 | 0.02 |
| Model | MAE | MAPE (%) | RMSE | R2 | CC | NSC |
|---|---|---|---|---|---|---|
| LSTM | 4.4521 | 32.1321 | 7.7572 | 0.96072 | 0.98016 | 0.95465 |
| SSA-LSTM | 3.6357 | 29.6713 | 7.4506 | 0.96237 | 0.981 | 0.95816 |
| SWT-LSTM | 2.2676 | 10.9063 | 3.2920 | 0.99322 | 0.99661 | 0.99183 |
| SVR | 4.9876 | 35.1234 | 8.1234 | 0.95123 | 0.97530 | 0.94518 |
| SWT-SSA-LSTM | 0.81438 | 13.9458 | 1.4750 | 0.99841 | 0.9992 | 0.99836 |
| Goodness of Fit Metric | Frost Amount | |
|---|---|---|
| Frost Mass-Capacitance Model | Frost Thickness-Capacitance Model | |
| Root of Mean Square Error (RMSE) | 0.025 | 0.198 |
| Sum of Square Error (SSE) | 0.004 | 0.273 |
| Correlation Coef. (R) | 0.961 | 0.987 |
| R-Square(R2) | 0.924 | 0.975 |
| Determination Coef. (DC) | 0.923 | 0.966 |
| Exp. Group | Predicted Value | Measured Value | Frost Mass Error Rate (%) | Frost Thickness Error Rate (%) | ||||
|---|---|---|---|---|---|---|---|---|
| Capacitance | Frost Mass | Frost Thickness | Capacitance | Frost Mass | Frost Thickness | |||
| 1 | 15.285 | 0.052 | 0.122 | 5.406 | 0.050 | 0.30 | 4.00 | 60.00 |
| 2 | 75.310 | 0.159 | 0.450 | 11.366 | 0.090 | 0.450 | 76.67 | 0.00 |
| 3 | 78.708 | 0.068 | 2.969 | 8.594 | 0.140 | 1.80 | 51.43 | 64.58 |
| 4 | 272.587 | 0.179 | 2.479 | 181.238 | 0.180 | 2.270 | 0.56 | 9.21 |
| 5 | 260.789 | 0.330 | 2.485 | 199.209 | 0.330 | 2.930 | 0.00 | 15.19 |
| 6 | 74.588 | 0.179 | 2.750 | 71.919 | 0.280 | 2.750 | 36.07 | 0.00 |
| 7 | 74.929 | 0.169 | 2.580 | 74.015 | 0.200 | 2.580 | 15.50 | 0.00 |
Disclaimer/Publisher’s Note: The statements, opinions and data contained in all publications are solely those of the individual author(s) and contributor(s) and not of MDPI and/or the editor(s). MDPI and/or the editor(s) disclaim responsibility for any injury to people or property resulting from any ideas, methods, instructions or products referred to in the content. |
© 2026 by the authors. Licensee MDPI, Basel, Switzerland. This article is an open access article distributed under the terms and conditions of the Creative Commons Attribution (CC BY) license.
Share and Cite
Song, H.; Wang, L.; Gao, Y.; Guo, S.; Tian, B.; Hu, Y. In-Situ Monitoring and Prediction of Frost Growth on Plant Leaves Based on Dielectric Spectrum Analysis and an SWT-SSA-LSTM Model. AgriEngineering 2026, 8, 67. https://doi.org/10.3390/agriengineering8020067
Song H, Wang L, Gao Y, Guo S, Tian B, Hu Y. In-Situ Monitoring and Prediction of Frost Growth on Plant Leaves Based on Dielectric Spectrum Analysis and an SWT-SSA-LSTM Model. AgriEngineering. 2026; 8(2):67. https://doi.org/10.3390/agriengineering8020067
Chicago/Turabian StyleSong, Huan, Lijun Wang, Yuguo Gao, Shuman Guo, Baoqiang Tian, and Yongguang Hu. 2026. "In-Situ Monitoring and Prediction of Frost Growth on Plant Leaves Based on Dielectric Spectrum Analysis and an SWT-SSA-LSTM Model" AgriEngineering 8, no. 2: 67. https://doi.org/10.3390/agriengineering8020067
APA StyleSong, H., Wang, L., Gao, Y., Guo, S., Tian, B., & Hu, Y. (2026). In-Situ Monitoring and Prediction of Frost Growth on Plant Leaves Based on Dielectric Spectrum Analysis and an SWT-SSA-LSTM Model. AgriEngineering, 8(2), 67. https://doi.org/10.3390/agriengineering8020067

