Next Article in Journal
A Study on Laser-Assisted Cylindrical Grinding of Superhard Diamond Composite (DSiC) Materials: Surface Integrity and Efficiency
Previous Article in Journal
The Influence of Laser Cutting Parameters on the Heat-Affected Zone in Fast-Growing Malaysian Wood Species
 
 
Font Type:
Arial Georgia Verdana
Font Size:
Aa Aa Aa
Line Spacing:
Column Width:
Background:
Article

The Influence of Welding Parameters on the Performance of Ultrasonic-Welded Copper-to-Copper Joints

1
Belgian Welding Institute, 9052 Zwijnaarde, Belgium
2
Department of Electromechanical, Systems and Metal Engineering, Ghent University, 9052 Zwijnaarde, Belgium
3
Department of Industrial Engineering, University of Salerno, 80084 Fisciano, Italy
*
Author to whom correspondence should be addressed.
J. Manuf. Mater. Process. 2025, 9(2), 55; https://doi.org/10.3390/jmmp9020055
Submission received: 17 December 2024 / Revised: 4 February 2025 / Accepted: 6 February 2025 / Published: 10 February 2025

Abstract

Copper joints are indispensable in electronics and the electrical power industry due to their predominant usage in battery pack manufacturing for electric vehicle). Traditional joining methods are often limited by oxidation-related challenges. Recent efforts have focused on addressing these limitations by employing solid-state techniques like ultrasonic welding (USW) for joining similar metals. USW presents attractive advantages such as a lower processing temperature and shorter weld time. This study investigates the ultrasonic welding of Cu-Cu joints with a thickness of 0.5 mm, focusing on both mechanical and metallurgical properties. The influence of key process parameters, such as the welding time, pressure and vibration amplitude, was examined in relation to the welding energy and lap shear strength. Additionally, the relationship between the input energy and lap shear strength was explored. A Pareto chart analysis revealed the standardized effects of these parameters on the welding energy and average lap shear strength. The welding time had a significant influence on the welding energy, while the vibration amplitude had the greatest impact on the joint strength. Longer weld times of 2.50 to 4 s yielded a higher lap shear strength, averaging up to 2.30 kN. Notably, a higher lap shear strength was achieved at lower welding energy levels.

1. Introduction

Lightweighting is a generally well-known strategy in the fields of aerospace and automotives that aims to drive fuel efficiency and decrease fuel consumption while trying to reduce environmental damage and the effects of climate change [1,2,3]. In order to meet the emission requirements, the automotive sector specifically is implementing lightweighting and energy storage solutions. Li-ion batteries, for example, are widely used in electric vehicle applications, where it is crucial to connect individual cells in series or in parallel [4,5]. This motivates the use of tab-to-busbar joints with higher electrical and thermal conductivity. Copper (Cu) is a widely used material of choice for busbar applications [6,7]. Copper is typically known for its high electrical and thermal conductivity, corrosion resistance and excellent machinability. Specifically, the joining of copper is crucial for applications in the automotive, electronics and electrical power industries, especially in the context of battery pack manufacturing for electric vehicles (EV) [8,9,10].
The high thermal conductivity and oxidation tendency of copper present significant challenges for conventional fusion welding processes. Therefore, solid-state welding methods are preferred for joining these materials [11]. Ultrasonic welding (USW) is one such solid-state welding method. This process creates coalescence through the simultaneous application of high-frequency vibrations and moderate clamping forces [12]. Sonotrode vibration induces plastic deformation, friction and heat. Sufficient friction can provide improved bonding at the interface [13]. When compared to resistance spot welding, USW utilizes a lower welding energy of 0.6 to 1.5 kJ [12]. USW possesses advantages like low power requirements, short welding times, no requirement of shielding gases and the absence of typical metallurgical defects in the heat affected zone (HAZ) [14]. The USW process can be performed at relatively low temperatures (300 °C) and in short welding times (typically less than 1 s) [15]. USW has been employed for manufacturing Li-ion battery packs connected via busbars, which were employed in the General Motor’s Chevy Volt and the Nissan LEAF.
During USW, the microstructure of the base metal undergoes significant changes, often being substantially modified or entirely replaced by a fine-grained structure [16]. The metallographic analysis of ultrasonic welds across various metals reveals three metallurgical phenomena triggered by the vibratory energy in the weld zone. These include interfacial phenomena, such as interpenetration and the disruption of surface films, working effects, such as plastic flow, grain distortion and edge extrusion and heat effects, including recrystallization, precipitation, phase transformation and diffusion.
The specific phenomena observed depend on the welding machine settings. During welding, local plastic deformation occurs at the weld interface due to interdiffusion, recrystallization and the disruption of surface films. Additionally, recrystallization commonly happens within the weld nugget. In cases where sufficient heat is generated, certain alloys may exhibit precipitation or phase transformations. However, diffusion across the interface is typically limited by the short welding times inherent to ultrasonic welding.
USW is an environmentally friendly and energy-saving method and is suitable for similar as well as dissimilar metal joining [17,18]. For soft and ductile materials like copper, the presence of multiple slip systems in its face-centered cubic structure and medium stacking fault energy facilitates dislocation slip as the primary deformation mode. Under such conditions, dynamic recovery and recrystallisation can occur rapidly, leading to grain refinement. This grain refinement can enhance the mechanical performance of Cu-Cu joints [19].
In [20], the microsections of ultrasonic welds of Cu are discussed. Measuring the length of these welds was challenging because the welded area consisted of multiple discrete welded regions or “islands”. It was proposed to measure the weld length by categorizing the micro-welds of the welded interface according to their size and calculating an average based on the distribution. Despite this, distinguishing between adjacent micro-welds remained difficult.
The microstructure of the welds depends heavily on the energy input. The cross-sections of welds with varying energy levels demonstrate notable differences. A low welding energy produces a straight weld interface, while increasing the energy transforms the interface from flat to sinusoidal, eventually forming a complex wavy pattern. Higher energy levels result in more localized micro-welds, contributing to the weld length growth. These micro-welds predominantly form in regions under the peaks of the sonotrode tip, likely due to higher localized pressure. Close to the weld, the grain structure remains relatively undisturbed, whereas a fine, irregular or even amorphous structure is present at the weld interface. At higher energy levels, increased temperatures lead to material softening and significant plastic deformation in the weld zone [16,21,22].
The optimization of the process parameters, such as the clamping force and the welding time, has been found to enhance the weld strength [18]. Murzinova et al. investigated the ultrasonic welding of 0.8 mm thick copper sheets, focusing on the bonding fraction and the weld density. They found that increasing the welding time generally enhanced the weld strength, with the lowest lap shear strength of 50 MPa occurring for a welding time of 1 to 1.5 s [18]. Another study emphasized the significant impact of the welding energy on copper sheet welds (0.8 mm thick), demonstrating that defect-free joints could be obtained within a welding energy range of 1600–2400 J, with a constant clamping force of 2350 N. Yang et al. further demonstrated that an increase in the welding energy initially improved the lap shear strength, until it reached a constant value [11]. However, using an excessive welding energy beyond a threshold caused joint fractures in the base material, indicating adverse effects on the joint strength [23].
Electrical resistance measurement has proven to be a valuable tool for the testing and optimizing of ultrasonic welds of metals. These methods offer non-destructive ways to assess the weld quality, detect imperfections and optimize the welding parameters. In a study on USW of multiple Cu-Al layers, researchers found that unbonded weld interfaces produced an increase in joint electrical resistance [24]. This finding suggests that electrical resistance measurements can be used to detect imperfections or weak bonds in ultrasonic welds. Another study comparing varnished and unvarnished ultrasonic-welded joints demonstrated the use of electrical resistance measurements to evaluate the weld quality [25]. The researchers measured the resistance at different points on the welded joint, providing insights into the uniformity and effectiveness of the weld.
The literature underscores industrial challenges such as a sub-optimal weld quality and strength resulting from improper process parameter selection [26,27]. While extensive research has been conducted on dissimilar metal joining using USW, studies on the joining of similar metals remain limited. In-depth investigations are needed to better understand the impact of the process parameters, such as the amplitude, material thickness and welding time, on the weld quality. In this context, the present study examines the USW of Cu-Cu joints using base metals with a thickness of 0.5 mm. It evaluates the influence of the welding time, the clamping pressure and the welding amplitude on the lap shear strength and the welding energy. Additionally, the relationship between the input energy and lap shear strength is analyzed, complemented by a detailed microstructural examination.

2. Materials and Methods

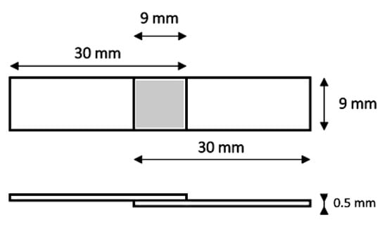
Copper (Cu) sheets with a thickness of 0.5 mm and a purity of 99.97% were joined using the ultrasonic welding method. The material EN Cu-ETP (Electrolytic Tough Pitch) exhibits a high electrical conductivity, ductility, plasticity and corrosion resistance. The selection of the material thickness was made to represent a common dimension in components for electrical connectors, batteries and heat exchangers. The copper sheets were joined in the overlap configuration, with the specific dimensions illustrated in Figure 1.
Ultrasonic welding was performed using the Telsonic MPX Ultrasonics Linear Metal Welding Press (Telsonic, Bronschhofen, Switzerland), a flexible system capable of welding both ferrous and non-ferrous metal alloys. The equipment features a nominal power of 3.6 kW, operates at a frequency of 20 kHz, supports a maximum load of 1600 N and achieves a maximum vibration amplitude of 66 µm. The control software enables the vibration amplitude to be adjusted between 50 and 100% of the specified maximum value.
This study focused on three main process parameters: welding amplitude, pressure and time, and their impact on the joint performance. Other process parameters were kept constant. All experiments were performed in time mode because this mode tends to vary less than other modes and was therefore a more suitable reference for comparison. The sonotrode vibration started at 0.04 s, which was as the set trigger time. The time required to achieve the required pressure was equal to 0.30 s. Additionally, the hold function was important to ensure that the welded sheets remained clamped together upon completion of the weld cycle. The experiments were conducted at room temperature. A standard sonotrode made of hardened steel was used, with a pattern characterized by a pitch of 0.8 mm and a depth of 0.25 mm. The anvil had a coarser knurled pattern, with a 1.2 mm pitch.
As part of a preliminary testing campaign [27,28], welded specimens were subjected to a metallographic analysis and peel testing. Four repetitions were performed for each parameter combination, resulting in three specimens for lap shear testing and one for metallographic examination. The outcomes from the visual inspection and peel tests were used to establish the boundary conditions and develop the full factorial design of experiments (DoE). The determined parameter window (welding time: 1–4 s, pressure: 1.5–5.5 bar and amplitude: 33–52.8 µm) was based on the influence of the parameters on the heat generation, plastic deformation and weld formation at the weld interface. While other parameters such as the vibration frequency can influence the joint formation, the frequency was maintained constantly at 20 kHz as it is optimized for the equipment’s power delivery system and transducer design. The chosen parameter ranges were found to be suitable for welding 0.5 mm copper sheets, considering their thermal conductivity and mechanical properties. Preliminary trials indicated that these ranges provided sufficient energy for bond formation while avoiding excessive material deformation. Table 1 presents the values of the process parameters for the 3-factor, 3-level full factorial DoE.
Sample preparation for optical microscopy involved cutting the specimens parallel to the direction of the sonotrode vibrations. After polishing, the specimen was etched using a 10% ammonia solution in water, saturated with hydrogen peroxide. For the metallographic examination, the optical microscope Olympus MX51 (Olympus, Hamburg, Germany) was used. The maximum enlargement possible with this microscope is ×1000. To be able to evaluate the cross-section of the welds, the samples are cut perpendicularly to the direction of the sonotrode vibration and cold mounted in an Epoxy layer. When the Epoxy has sufficiently hardened, the samples are ground and polished. Further details on the preparation process can be found in our previous publication [27].
The lap shear testing of the welded joints was performed in accordance with the ISO 14273 standard [29] using the Instron 8872 servo hydraulic tensile and fatigue testing machine at the Belgian Welding Institute (Instron, Darmstadt, Germany). The testing machine has a dynamic load capacity of 25 kN and uses a controlled displacement rate of 0.0333 mm/s. Three samples were tested for each combination of process parameters. The average value and relative standard deviation were calculated, with a displacement rate of 2 mm/min applied during tensile testing. Both sides of the welded specimens were clamped using 2-wedge action grips, with no additional support provided. Spacer sheets were used to apply shear loading to the exposed weld, preventing peel stresses. The welded specimens were clamped in the machine at both ends and pulled apart until they failed. For each process parameter set in the DoE, four specimens were used to measure the welding energy.

3. Results and Discussion

3.1. Determination of Parameter Window

The parameter window for this campaign was determined by producing a series of exploratory welds in order to define the boundary conditions for each scenario, followed by a visual evaluation combined with peel testing [27]. Setting parameters with insufficient energy values does not create a welded joint between the workpieces, while excessively high energy values can lead to several undesired phenomena, including the deformation of the sheets at the weld site, the upward bending of the upper sheet during the welding cycle and occasionally even the rupture of the sheets while clamped under the sonotrode. For thin sheets, a high pressure or vibration amplitude can lead to the deformation of the weld surface and even cracks in the copper sheets. High pressure causes the thinning of the workpieces as the sonotrode penetrates deeper into the material, while a high vibration amplitude increases the friction, introducing more heat into the weld. Figure 2 illustrates a welded specimen deformed at the weld nugget and bent upwards during welding. In some welds, heat development visually manifests as discoloration around the weld nugget, as shown in Figure 3.
The pressure and amplitude can be significantly increased for thicker sheets. This is most likely because the thicker sheets can absorb more energy, and the welding energy is directly related to the input parameters.
After the parameter window determination, a full factorial DoE was performed. Peel testing was performed for each combination of parameters to have an initial indication of the weld quality [27]. Not all combinations of the parameter values within the parameter window resulted in a joint between the workpieces in the case of thinner sheets [27]. For the series of experiments with t = 0.5 mm, nearly all welding conditions resulted in a peel test that caused a fracture in the base material.

3.2. Metallographic Examination

The welds were etched, prepared and examined using optical microscopy (see Figure 4a). During the weld cycle, very localized welded spots are typically formed, which are also referred to in the literature as welded islands [20]. In Figure 4c, these welded islands are clearly visible at the interface. The polished condition does not reveal the slight gaps at the interface present for each welding condition. However, further etching exposes these gaps in certain areas as a faint dark line (see Figure 4b). These lines indicate regions where no bonding has occurred between the sheets. In areas without distinct gaps in the etched samples, the workpieces appear to be fully interconnected. Aside from these gaps and porosities, no other welding defects were observed.
The selection of lower process parameter values can impact the weld quality, as indicated by the noticeable gap between the weld adherends at the interface (see Figure 5). The combination of process parameters significantly influences the material mixing and coalescence, leading to the formation of welded islands when intermediate process parameters are used. The relatively low average welding energy value of 544.4 J of weld 6.2 explains the microstructural observations shown in Figure 5. The welding energy values are generated as an output by the machine.
When high values of the process parameters were used, the welding zone was sometimes deformed, featuring smooth curved regions (see Figure 6c). This may result from selecting the highest amplitude magnitude. At the weld interface, specific areas were magnified after etching and observed using optical microscopy. This examination revealed a uniform grain distribution throughout the weld (Figure 6a). A further magnification of a specific location near the weld interface (Figure 6b) revealed a faint, thin line separating the two weld adherends. In adjacent regions, finer grain distributions indicate grain refinement, while grain growth was not observed in other areas, suggesting the influence of the relatively high process parameters selection.
Future work could include a quantitative analysis of the microstructure using image analysis software to measure the grain size distribution, the bonded area percentage and the porosity levels. Electron backscatter diffraction (EBSD) analysis could provide valuable insights into the grain orientation and recrystallization patterns at the weld interface.

3.3. Influence of the Welding Parameters on the Welding Energy

The welding energy values in ultrasonic welding are highly influenced by the selected welding parameters, with varying values observed during the experiments. Each welding condition was performed four times, yielding four distinct welding energy values. The energy response for the different welding conditions in the DoE was analyzed. Figure 7 presents the welding energy measurements for all the welds. The standard deviation of the energy values for each welding condition was calculated using Equation (1).
σ = 1 N i = 1 N ( x i μ ) 2
µ is the average value, N the number of measurements (=4) and x the measured energy value obtained as an output of the machine.
The standard deviations are within a few percent of the average welding energy value for each welding condition, indicating a slight variation in the measurements. An exception to this was sample 6.12, where one measurement was considerably lower than the average value, resulting in a standard deviation of 17%. The deviating standard deviation in sample 6.12 could be due to various factors, such as material inconsistencies like impurities or uneven thickness, improper coupling between the welding sonotrode and the sample, or a misalignment of the sheets during welding. The consistency of the other samples suggests that the process is robust for constant welding conditions. However, as expected, significant differences in energy values are observed when the welding parameters are varied. This observation is supported by the literature, which provides evidence that all three welding parameters are directly related to the energy delivered to the weld zone [30].
To evaluate the influence of the welding parameters, a Pareto chart was created (see Figure 8), displaying the standardized effects of all parameters and their interactions on the average welding energy from four measurements. The results reported in Figure 8 clearly demonstrate that each parameter significantly affects the welding energy. In a Pareto chart, α = 0.05 represents a 5% significance level used in statistical analysis. It indicates the threshold for determining whether specific categories significantly contribute to the overall problem. If the p-value from a test is less than 0.05, the category is considered statistically significant. In the case of Figure 8, the limit of the statistically significant influence is 2.09 indicated in Figure 8 with a red dashed line). A similar approach will be used for the effect of the welding parameters on the lap shear strength, for which the limit of the statistically significant influence is 2.093.
Equation (2) is the corresponding regression equation for the tests performed with a sheet thickness of 0.5 mm.
E = 128 + 148 A 133 B 0.7 C + A B + 1.74 A C + 1.59 B C + 2.95 A B C
The chart shows that the welding time (A) has the greatest influence on the welding energy, followed by the pressure (B) and the vibration amplitude (C). In this study, the welding time emerged as the most influential parameter, contrasting with the findings of Satpathy et al. [30], where the vibration amplitude was identified as the dominant factor. The interaction between welding parameters shows statistically significant effects on the welding energy. To determine the optimal welding condition, it is essential to consider the combination of parameters. Specifically, an optimal value for one parameter under a given welding condition may not remain optimal if the welding condition changes, as parameter interactions affect the welding energy and, consequently, the weldability.
The interactions between welding parameters have a significant impact on welding energy, as evidenced by the Pareto chart (Figure 8) and regression equation (Equation (2)). While the welding time has the greatest individual effect, the interactions between parameters, such as the welding time and pressure (AB) or the amplitude and pressure (BC), reveal the intricate interdependence within the process. Contour plots (see Figure 9) further illustrate that the welding energy increases with higher amplitude and pressure, particularly when the welding time is at its maximum, highlighting the synergistic effects of these parameters. These results underscore the importance of considering parameter interactions when optimizing welding conditions, as changes in one parameter can influence the effectiveness of others. This holistic approach of parameter selection is crucial for achieving a consistent weld quality and aligns with prior studies that observed similar trends in the relationship between welding energy and the parameter combinations.
The relative average welding energy in relation to amplitude and pressure at constant welding times of 1.0, 2.5 and 4.0 s are shown in Figure 9a–c, respectively.
Contour plots of the average energy versus amplitude and pressure at a constant welding time reveal an increase in energy as either of the welding parameters is increased. Figure 9 presents contour plots for a sheet thickness of 0.5 mm for all three welding times. These plots indicate a maximum energy value in the upper-right corner, corresponding to the highest amplitude and pressure values. The energy values show a significant increase when the welding time reaches its maximum.
The observations in Figure 9 align with findings reported in the literature. In a study by H. Imai et al., higher welding energy values were also associated with an increased welding time, pressure and amplitude [31].

3.4. Influence of the Welding Parameters on the Lap Shear Strength

All process parameters affect the lap shear strength of the weld. Generally, the lap shear strength is used as an indicator for the weld quality. High-quality welds subjected to lap shear testing typically fail in the base material before the weld nugget itself fails. The results of the lap shear tests were recorded as the average of three trials (test B, C and D). Figure 10 presents the results of all lap shear tests conducted on the welded samples.
It is important to note that selecting high values for the welding parameters can result in the specimen undergoing significant plastic deformation. This deformation is caused by the increased heat input and pressure during the weld cycle. The resulting higher plastic deformation, in turn, affects the mechanical properties of the weld. The standard deviations reflect the variation of the measurements for samples produced under the same welding conditions. This suggests that the repeatability of the process is not optimal, as the weld strength varies between repetitions conducted under identical conditions.
The influence of the welding parameters can be analyzed through a Pareto chart (Figure 11), which shows the standardized effects of the parameters on the average lap shear strength.
The corresponding regression equation is as follows:
S = 0.1905 + 0.0060 A + 0.0066 B + 0.00081 C + 0.01112 A B 0.000016 A C + 0.000009 B C 0.000240 A B
where S refers to the lap shear strength, A the welding time, B the pressure and C the vibration amplitude, respectively.
Overall, the effects of each parameter on the lap shear strength are considerably smaller than their impact on the welding energy. Unlike the welding energy, the amplitude has the largest effect on the average strength, rather than the welding time. As noted in the existing literature on welding 0.3 mm thick sheets, the lap shear strength is primarily influenced by the welding time and amplitude, with the pressure having little impact on the strength of these welds. However, as the sheet thickness increases, both the pressure and the combined effects of the welding parameters become more significant [27].
The amplitude in ultrasonic welding significantly influences the lap shear strength by directly affecting interfacial heating and material deformation. Higher amplitudes generate more heat through friction, leading to increased material softening and potential degradation. However, the extent of degradation depends on the material and the welding parameters. The welding time influences the heat generation more gradually, allowing for a better heat dissipation and potentially reducing the risk of excessive material changes.
The amplitude also directly influences the strain rate during plastic deformation, which affects the final grain structure and consequently, the joint strength. Higher strain rates can impact the grain size and orientation, potentially affecting the weld’s mechanical properties. Optimizing the amplitude and welding time is therefore crucial for achieving strong and reliable ultrasonic welds.
A generalized theory predicting the relative influence of the amplitude and welding time for USW is, however, challenging. This is because their impact on the joint strength varies significantly depending on a multitude of factors, including the material properties, joint design, surface finish, etc. This emphasizes the complexity of the system and the need for a tailored approach for parameter optimization for each specific welding scenario. A limited amount of literature specifically addresses this generalized influence of the amplitude and other parameters on the lap shear strength in USW. One notable publication investigates the impact of the vibration amplitude on the microstructure and mechanical strength of copper–aluminum joints [32].
In the following results, the average lap shear strength is expressed as the joint efficiency (or relative strength), calculated by the ratio of the lap shear strength of the weld joint to that of the base metal, which has a strength of 241 MPa [27].
The contour plots shown in Figure 12 illustrate the relationship between the relative lap shear strength and the welding parameters. The average relative lap shear strength is presented as a function of the pressure and vibration amplitude for a constant welding time. The relative average welding energy in relation to amplitude and pressure at the constant welding times of 1.0, 2.5 and 4.0 s are shown in Figure 12a–c, respectively.
It can be observed from the plots that a low vibration amplitude results in stronger welds. The dark green region represents the parameter combinations that produce the highest weld strength. In summary, achieving an optimal weld strength requires selecting the combination of all parameters carefully. A specific welding time that yields an optimal weld strength for certain parameter values may not produce the same result if the other parameter values are changed.
Referring to Figure 12a, a short welding time necessitates a high pressure to result in a strong weld. Conversely, increasing the welding time to 2.5 s or 4 s can result in a higher lap shear strength, even at lower pressure values.
Another process parameter, the vibration amplitude, exhibits a similar trend: lower vibration amplitudes result in higher strength values. This can be attributed to the increased heat input at higher vibration amplitudes. The higher heat generation, caused by an increased frictional area at higher amplitudes, reduces the strength of the workpieces. Selecting the highest welding time of 4 s can affect the weld quality, as the combined use of a higher amplitude and pressure tends to deteriorate the lap shear performance of the welds. However, with an intermediate weld time, there is a greater likelihood of achieving higher-strength welds across a broader range of amplitude and pressure values (see Figure 12b).
The amplitude significantly impacts the lap shear strength because it directly influences the heat generation and material behavior during welding. Higher amplitudes lead to more heat being generated, causing material degradation and weakening the weld, whereas lower amplitudes maintain the structural integrity. This makes the amplitude a more critical factor than the welding time, as its precise control is essential for optimizing the weld quality.

3.5. Relation Welding Energy—Lap Shear Strength

The welding energy and lap shear strength values are influenced by the input parameters. The previous subsections explored the individual relationships between the selection of welding parameters and their impact on the resulting welding energy and lap shear strength values. However, these individual results do not fully capture the relationship between the lap shear strength and input energy.
The current literature suggests that an increase in lap shear strength may be associated with a higher welding energy, a result influenced by plastic deformation at the weld interface. For example, H. Li et al. [33] noted that the plastic deformation of the surfaces enhances interfacial friction, leading to a larger welding area. Therefore, it is expected that an increasing welding energy could improve the lap shear strength. However, this view is not entirely accurate when considering the effects of softening. At a higher welding energy, the increased heat generation at the weld interface can lead to material softening, which may cause a thinning of the sheets and crack formation around the weld nugget. This in turn clearly affects the weld strength. Thus, the maximum weld strength is likely to occur at an optimized input energy level, sufficient to create the weld, but not too high to avoid crack formation or excessive thinning. Achieving a delicate balance between these factors is essential for optimal welding conditions.
These hypotheses are supported by the plots (see Figure 13), which show the average welding energy versus the relative average lap shear strength in relation to the base metal strength. It is noteworthy that during the tensile tests, all samples failed in the copper base material. Most of the welds demonstrated a weld strength equal to that of the base metal. However, there were some exceptions where the weld strength was lower than the base metal strength, suggesting that the material properties of the base metal had deteriorated.
As shown in Figure 13, a significant decrease in weld strength is observed at high values of the welding energy. This reduction can be attributed to the increased heat input associated with higher energy levels. At an elevated heat input, the mechanical properties such as the strength and/or hardness are likely to deteriorate. Similar findings were reported by Kumar et al., where the joint strength correlated with the temperature observed at the interface [34]. Additionally, another process parameter, the welding pressure, can influence the welding energy, as a higher pressure leads to an increase in the welding energy. An increase in the welding pressure can cause a thinning of the copper sheets and alter their mechanical properties. In summary, as shown in Figure 13, the scatter of values indicates that no clear relationship between the energy and the lap shear strength can be established, which can be attributed to material inconsistencies, parameter tolerances or slight variations in specimen alignment during welding or weld testing.

4. Conclusions

This study investigated the ultrasonic welding of 0.5 mm thick copper sheets, focusing on the influence of welding time, pressure and vibration amplitude on the welding energy and the lap shear strength. The weld quality was assessed through metallographic examination, revealing the formation of welded islands and the importance of parameter optimization to avoid defects like gaps and porosities. The findings demonstrated that the welding time had the most significant impact on the welding energy, while the vibration amplitude was the dominant factor influencing the lap shear strength. The optimal lap shear strength values were achieved at intermediate energy levels, highlighting the importance of balancing the heat generation and plastic deformation at the weld interface.
The pareto chart analysis indicated that the welding time influenced the welding energy more significantly compared to the vibration amplitude, which had a more pronounced effect on the average strength.
The study also revealed that an excessive energy input led to material softening and mechanical degradation, emphasizing the necessity for precise parameter optimization. Metallographic analysis confirmed the formation of bonded regions and grain refinement at the weld interface, contributing to the joint strength. For the ultrasonic welding of the selected materials, the optimal parameter ranges were determined to be a welding energy of 544.4 to 1192.3 J, a welding time of 2.5 to 4.0 s, a pressure of 3.5 to 5.5 bar and an amplitude of 42.9 to 52.8 µm. Additionally, the results underscored the importance of selecting process parameters tailored to the material thickness and desired performance outcomes.

Author Contributions

Conceptualization, H.P. and V.E.; methodology, F.R.; software, S.D.M.; validation, H.P. and V.E.; formal analysis, R.N.; investigation, S.D.M.; resources, K.F.; data curation, H.P.; writing—original draft preparation, H.P. and V.E.; writing—review and editing, K.F. and R.N.; visualization, R.N.; supervision, W.D.W.; project administration, K.F.; funding acquisition, K.F. All authors have read and agreed to the published version of the manuscript.

Funding

This research was funded by FPS Economy, grant number CCN/NBN/PN2023A68.

Data Availability Statement

Data are contained within the article.

Acknowledgments

The authors would like to express their heartfelt gratitude to Pierpaolo Carlone from the Department of Industrial Engineering, University of Salerno, Italy, for his support, guidance and collaboration throughout this project. His expertise has significantly contributed to the success of this work. We are also thankful for the fruitful collaboration facilitated through the ERASMUS program, which enabled the exchange of students and the strengthening of academic and research ties between the Belgian Welding Institute and the University of Salerno. Additionally, we extend our sincere thanks to the Federal Public Service (FPS) Economy, Belgium, for generously funding this project. Their financial support has been instrumental in carrying out the research and achieving the outlined objectives. The administrative and technical staff who were involved are also gratefully acknowledged for their assistance, dedication and contributions which have ensured the smooth progression of this work.

Conflicts of Interest

The authors declare no conflicts of interest.

References

  1. Ni, Z.; Zhao, H.; Mi, P.; Ye, F. Microstructure and mechanical performances of ultrasonic spot welded Al/Cu joints with Al 2219 alloy particle interlayer. Mater. Des. 2016, 92, 779–786. [Google Scholar] [CrossRef]
  2. Balasundaram, R.; Patel, V.K.; Bhole, S.D.; Chen, D.L. Effect of zinc interlayer on ultrasonic spot welded aluminum-to-copper joints. Mater. Sci. Eng. A 2014, 607, 277–286. [Google Scholar] [CrossRef]
  3. Silva, R.G.N.; De Meester, S.; Faes, K.; De Waele, W. Development and Evaluation of the Ultrasonic Welding Process for Copper-Aluminium Dissimilar Welding. J. Manuf. Mater. Process. 2022, 6, 6. [Google Scholar] [CrossRef]
  4. Lee, S.S.; Kim, T.H.; Hu, S.J.; Cai, W.W.; Abell, J.A. Joining Technologies for Automotive Lithium-Ion Battery Manufacturing: A Review. In Proceedings of the ASME 2010 International Manufacturing Science and Engineering Conference, Erie, PA, USA, 12–15 October 2010; pp. 541–549. [Google Scholar] [CrossRef]
  5. Thackeray, M.M.; Wolverton, C.; Isaacs, E.D. Electrical energy storage for transportation—Approaching the limits of, and going beyond, lithium-ion batteries. Energy Environ. Sci. 2012, 5, 7854–7863. [Google Scholar] [CrossRef]
  6. Das, A.; Barai, A.; Masters, I.; Williams, D. Comparison of Tab-To-Busbar Ultrasonic Joints for Electric Vehicle Li-Ion Battery Applications. World Electr. Veh. J. 2019, 10, 55. [Google Scholar] [CrossRef]
  7. de Leon, M.; Shin, H.S. Review of the advancements in aluminum and copper ultrasonic welding in electric vehicles and superconductor applications. J. Mater. Process. Technol. 2022, 307, 117691. [Google Scholar] [CrossRef]
  8. Ni, Z.L.; Wang, X.X.; Li, S.; Ye, F.X. Mechanical strength enhancement of ultrasonic metal welded Cu/Cu joint by Cu nanoparticles interlayer. J. Manuf. Process. 2019, 38, 88–92. [Google Scholar] [CrossRef]
  9. Macwan, A.; Chen, D.L. Microstructure and mechanical properties of ultrasonic spot welded copper-to-magnesium alloy joints. Mater. Des. 2015, 84, 261–269. [Google Scholar] [CrossRef]
  10. Lewchalermwong, N.; Masomtob, M.; Lailuck, V.; Charoenphonphanich, C. Material selection and assembly method of battery pack for compact electric vehicle. IOP Conf. Ser. Mater. Sci. Eng. 2018, 297, 012019. [Google Scholar] [CrossRef]
  11. Yang, J.; Cao, B.; Lu, Q. The Effect of Welding Energy on the Microstructural and Mechanical Properties of Ultrasonic-Welded Copper Joints. Materials 2017, 10, 193. [Google Scholar] [CrossRef]
  12. Patel, V.K.; Bhole, S.D.; Chen, D.L. Microstructure and mechanical properties of dissimilar welded Mg–Al joints by ultrasonic spot welding technique. Sci. Technol. Weld. Join. 2012, 17, 202–206. [Google Scholar] [CrossRef]
  13. Macwan, A.; Patel, V.K.; Jiang, X.Q.; Li, C.; Bhole, S.D.; Chen, D.L. Ultrasonic spot welding of Al/Mg/Al tri-layered clad sheets. Mater. Des. 2014, 62, 344–351. [Google Scholar] [CrossRef]
  14. Shin, H.S.; de Leon, M. Mechanical performance and electrical resistance of ultrasonic welded multiple Cu-Al layers. J. Mater. Process. Technol. 2017, 241, 141–153. [Google Scholar] [CrossRef]
  15. Chen, Y.C.; Bakavos, D.; Gholinia, A.; Prangnell, P.B. HAZ development and accelerated post-weld natural ageing in ultrasonic spot welding aluminium 6111-T4 automotive sheet. Acta Mater. 2012, 60, 2816–2828. [Google Scholar] [CrossRef]
  16. O’Brien, A.; Guzman, C. Welding Handbook; Chapter 8: Ultrasonic Welding of Metals, 9th ed.; American Welding Society: Miami, FL, USA, 2007; Volume 3. [Google Scholar]
  17. Das, A.; Masters, I.; Williams, D. Process robustness and strength analysis of multi-layered dissimilar joints using ultrasonic metal welding. Int. J. Adv. Manuf. Technol. 2019, 101, 881–900. [Google Scholar] [CrossRef]
  18. Murzinova, M.A.; Shayakhmetova, E.R.; Mukhametgalina, A.A.; Sarkeeva, A.A.; Nazarov, A.A. Local Plastic Deformation and Quality of Cu-Cu Joints Obtained by Ultrasonic Welding. Metals 2023, 13, 1661. [Google Scholar] [CrossRef]
  19. Ma, Q.; Ma, J.; Zhou, J.; Ji, H. Intrinsic dependence of welding quality and recrystallization on the surface-contacted micro-asperity scale during ultrasonic welding of Cu–Cu joints. J. Mater. Res. Technol. 2022, 17, 353–364. [Google Scholar] [CrossRef]
  20. Harthoorn, J.L. Ultrasonic Metal Welding. Ph.D. Thesis, Technische Hogeschool Eindhoven, Eindhoven, The Netherlands, 1978. [Google Scholar] [CrossRef]
  21. Matheny, M.P.; Graff, K.F. 11-Ultrasonic welding of metals. In Power Ultrasonics; Gallego-Juárez, J.A., Graff, K.F., Eds.; Woodhead Publishing: Sutton, UK, 2015; pp. 259–293. ISBN 9781782420286. [Google Scholar] [CrossRef]
  22. Xue, P.; Xie, G.M.; Xiao, B.L.; Ma, Z.Y.; Geng, L. Effect of heat input conditions on microstructure and mechanical properties of friction-stir-welded pure copper. Metall. Mater. Trans. A 2010, 41, 2010–2021. [Google Scholar] [CrossRef]
  23. Owa, T.; Kondo, T.; Takizawa, H. Production and bond strength of similar-titanium ultrasonic welded joints. Weld. Int. 2010, 24, 182–187. [Google Scholar] [CrossRef]
  24. Yang, J.W.; Cao, B.; He, X.C.; Luo, H.S. Microstructure evolution and mechanical properties of Cu–Al joints by ultrasonic welding. Sci. Technol. Weld. Join. 2014, 19, 500–504. [Google Scholar] [CrossRef]
  25. Logar, A.; Klobčar, D.; Trdan, U.; Nagode, A.; Černivec, G.; Vuherer, T. Impact of Ultrasonic Welding Parameters on Weldability and Sustainability of Solid Copper Wires with and without Varnish. Materials 2024, 17, 5033. [Google Scholar] [CrossRef] [PubMed]
  26. Elangovan, S.; Prakasan, K.; Jaiganesh, V. Optimization of ultrasonic welding parameters for copper to copper joints using design of experiments. Int. J. Adv. Manuf. Technol. 2010, 51, 163–171. [Google Scholar] [CrossRef]
  27. Faes, K.; Nunes, R.; De Meester, S.; De Waele, W.; Rubino, F.; Carlone, P. Influence of the Process Parameters on the Properties of Cu-Cu Ultrasonic Welds. J. Manuf. Mater. Process. 2023, 7, 19. [Google Scholar] [CrossRef]
  28. Nunes, R.; Faes, K.; De Meester, S.; De Waele, W.; Kubit, A. Influence of welding parameters and surface preparation on thin copper–copper sheets welded by ultrasonic welding process. Int. J. Adv. Manuf. Technol. 2022, 123, 373–388. [Google Scholar] [CrossRef]
  29. ISO 14273; Resistance Welding—Destructive Testing of Welds—Specimen Dimensions and Procedure for Tensile Shear Testing Resistance Spot and Embossed Projection Welds. ISO: Geneva, Switzerland, 2016.
  30. Satpathy, M.P.; Moharana, B.R.; Dewangan, S.; Sahoo, S.K. Modeling and optimization of ultrasonic metal welding on dissimilar sheets using fuzzy based genetic algorithm approach. Eng. Sci. Technol. Int. J. 2015, 18, 634–647. [Google Scholar] [CrossRef]
  31. Imai, H.; Matsuoka, S.I. Finding the optimum parameters for ultrasonic welding of aluminum alloys. JSME Int. J. Ser. A Solid Mech. Mater. Eng. 2006, 48, 311–316. [Google Scholar] [CrossRef][Green Version]
  32. Liu, J.; Cao, B.; Yang, J. Effects of Vibration Amplitude on Microstructure Evolution and Mechanical Strength of Ultrasonic Spot Welded Cu/Al Joints. Metals 2017, 7, 471. [Google Scholar] [CrossRef]
  33. Li, H.; Cao, B. Effects of welding pressure on high-power ultrasonic spot welding of Cu/Al dissimilar metals. J. Manuf. Process. 2019, 46, 194–203. [Google Scholar] [CrossRef]
  34. Pradeep Kumar, J. Effect of Temperature Distribution in Ultrasonically Welded Joints of Copper Wire and Sheet Used for Electrical Contacts. Materials 2018, 11, 1010. [Google Scholar] [CrossRef]
Figure 1. Illustration of the joint configuration for the ultrasonic welding of copper sheets arranged in an overlapping configuration (overlap indicated in grey color).
Figure 1. Illustration of the joint configuration for the ultrasonic welding of copper sheets arranged in an overlapping configuration (overlap indicated in grey color).
Jmmp 09 00055 g001
Figure 2. Bent and deformed weld specimen 6.27.
Figure 2. Bent and deformed weld specimen 6.27.
Jmmp 09 00055 g002
Figure 3. Heat development around the weld nugget 6.15.
Figure 3. Heat development around the weld nugget 6.15.
Jmmp 09 00055 g003
Figure 4. Sample 6.6A: (a) polished condition, (b) etched condition, and (c) magnified view of (b).
Figure 4. Sample 6.6A: (a) polished condition, (b) etched condition, and (c) magnified view of (b).
Jmmp 09 00055 g004
Figure 5. Sample 6.2A: (a) polished; (b) etched condition.
Figure 5. Sample 6.2A: (a) polished; (b) etched condition.
Jmmp 09 00055 g005
Figure 6. Sample 6.27A: (a) detail 1 of (c), (b) detail 2 of (c) and (c) etched condition.
Figure 6. Sample 6.27A: (a) detail 1 of (c), (b) detail 2 of (c) and (c) etched condition.
Jmmp 09 00055 g006
Figure 7. Welding energy (in J) for all combinations of welding parameters.
Figure 7. Welding energy (in J) for all combinations of welding parameters.
Jmmp 09 00055 g007
Figure 8. Pareto chart showing the standardized effects of the welding parameters on welding energy for a sheet thickness of 0.5 mm (A: welding time; B: welding pressure; C: amplitude).
Figure 8. Pareto chart showing the standardized effects of the welding parameters on welding energy for a sheet thickness of 0.5 mm (A: welding time; B: welding pressure; C: amplitude).
Jmmp 09 00055 g008
Figure 9. Contour plots of the relative average welding energy (J) vs. amplitude and pressure at a constant welding time of (a) 1.0 s; (b) 2.5 s; (c) 4.0 s for a sheet thickness of 0.5 mm.
Figure 9. Contour plots of the relative average welding energy (J) vs. amplitude and pressure at a constant welding time of (a) 1.0 s; (b) 2.5 s; (c) 4.0 s for a sheet thickness of 0.5 mm.
Jmmp 09 00055 g009
Figure 10. Tensile failure load (in kN) during lap shear tensile testing for all welding parameter combinations (scatter indicated by the red lines).
Figure 10. Tensile failure load (in kN) during lap shear tensile testing for all welding parameter combinations (scatter indicated by the red lines).
Jmmp 09 00055 g010
Figure 11. Pareto chart of the standardized effects of the welding parameters on the lap shear strength for a sheet thickness of 0.5 mm (A: welding time; B: welding pressure; C: amplitude).
Figure 11. Pareto chart of the standardized effects of the welding parameters on the lap shear strength for a sheet thickness of 0.5 mm (A: welding time; B: welding pressure; C: amplitude).
Jmmp 09 00055 g011
Figure 12. Contour plots of the relative average lap shear strength versus amplitude and pressure at a constant welding time (a) 1.0 s; (b) 2.5 s; (c) 4.0 s.
Figure 12. Contour plots of the relative average lap shear strength versus amplitude and pressure at a constant welding time (a) 1.0 s; (b) 2.5 s; (c) 4.0 s.
Jmmp 09 00055 g012
Figure 13. Relative lap shear strength vs energy.
Figure 13. Relative lap shear strength vs energy.
Jmmp 09 00055 g013
Table 1. Welding parameter combinations used in the DoE.
Table 1. Welding parameter combinations used in the DoE.
SampleWelding Time (s)Pressure (Bar)Amplitude (µm)
6.111.533.0 (50%)
6.211.542.9 (65%)
6.311.552.8 (80%)
6.413.533.0 (50%)
6.513.542.9 (65%)
6.613.552.8 (80%)
6.715.533.0 (50%)
6.815.542.9 (65%)
6.915.552.8 (80%)
6.102.51.533.0 (50%)
6.112.51.542.9 (65%)
6.122.51.552.8 (80%)
6.132.53.533.0 (50%)
6.142.53.542.9 (65%)
6.152.53.552.8 (80%)
6.162.55.533.0 (50%)
6.172.55.542.9 (65%)
6.182.55.552.8 (80%)
6.1941.533.0 (50%)
6.2041.542.9 (65%)
6.2141.552.8 (80%)
6.2243.533.0 (50%)
6.2343.542.9 (65%)
6.2443.552.8 (80%)
6.2545.533.0 (50%)
6.2645.542.9 (65%)
6.2745.552.8 (80%)
Disclaimer/Publisher’s Note: The statements, opinions and data contained in all publications are solely those of the individual author(s) and contributor(s) and not of MDPI and/or the editor(s). MDPI and/or the editor(s) disclaim responsibility for any injury to people or property resulting from any ideas, methods, instructions or products referred to in the content.

Share and Cite

MDPI and ACS Style

Faes, K.; Nunes, R.; De Meester, S.; De Waele, W.; Parmar, H.; Esperto, V.; Rubino, F. The Influence of Welding Parameters on the Performance of Ultrasonic-Welded Copper-to-Copper Joints. J. Manuf. Mater. Process. 2025, 9, 55. https://doi.org/10.3390/jmmp9020055

AMA Style

Faes K, Nunes R, De Meester S, De Waele W, Parmar H, Esperto V, Rubino F. The Influence of Welding Parameters on the Performance of Ultrasonic-Welded Copper-to-Copper Joints. Journal of Manufacturing and Materials Processing. 2025; 9(2):55. https://doi.org/10.3390/jmmp9020055

Chicago/Turabian Style

Faes, Koen, Rafael Nunes, Sylvia De Meester, Wim De Waele, Hetal Parmar, Vitantonio Esperto, and Felice Rubino. 2025. "The Influence of Welding Parameters on the Performance of Ultrasonic-Welded Copper-to-Copper Joints" Journal of Manufacturing and Materials Processing 9, no. 2: 55. https://doi.org/10.3390/jmmp9020055

APA Style

Faes, K., Nunes, R., De Meester, S., De Waele, W., Parmar, H., Esperto, V., & Rubino, F. (2025). The Influence of Welding Parameters on the Performance of Ultrasonic-Welded Copper-to-Copper Joints. Journal of Manufacturing and Materials Processing, 9(2), 55. https://doi.org/10.3390/jmmp9020055

Article Metrics

Back to TopTop