Metal–Polymer Joining by Additive Manufacturing: Effect of Printing Parameters and Interlocking Design
Abstract
1. Introduction
2. Experimental Procedure
3. Selection of Printing Parameters
4. Discussion
5. Results
- (a)
- The initial part of the curve, where the load begins to be applied, shows a sudden drop in joint resistance. This moment was ensured by the paint, which acted as an adhesive and at that moment lost its effect, resulting in the detachment between the Al and PLA parts of the specimen. This reinforces that the paint is solely to ensure proper deposition of the polymer on the metallic substrate, not providing resistance to the joint.
- (b)
- Here, the pin tends to rotate out of the plane parallel to the load direction, leading to a reduction in load after reaching the maximum load that the specimen can withstand before failing.
- (c)
- The rotation of the pin led to a reduction in load, corresponding to the tearing/cutting of the conical portion of the anchoring pin near the surface of the metal. The load is then supported by the pin itself, specifically the conical portion, which is braced against the internal wall of the hole in the metallic substrate. This moment, where the load starts to decrease, indicates the onset of failure of the joint. At this stage, the deformation of the PLA part becomes more visible as it cracks and propagates through the thickness of the part.
- (d)
- As deformation continued, the parts slowly separated from each other, decreasing the load supported until the total loss of mechanical resistance occurred due to the fracture of the PLA part.
- (a)
- CL50-CN50—When the pin is a combination of both previous geometries, CL50-CN50, the failure mechanism is determined by which part fractures first. As previously mentioned, these two modes, (I) and (II), occur simultaneously, leading to failure either by a radial crack at the conical portion of the pin or by a crack at the PLA part.
- (b)
- CL—When the pin consists solely of a cylindrical part, as in the specific case of the CL design, due to the lack of movement restriction in the direction perpendicular to the load, ensured by the conical portion, the pin tends to “jump” and become attached to the hole, and simultaneously, the failure occurs due to the fracture of the PLA plate. So, in CL geometry, only the behaviour of (I) is observed.
- (c)
- CN—On the other hand, when the pin is completely conical, CN, failure occurs by cutting the entire conical portion of the pin before the PLA part fractures. Here, just the action noted in (II) happens; once the pin is totally conical, all the material is supported by the cavity of the hole and ends up being cut off due to the pulling direction and the sharp geometry of the Al part.
6. Conclusions
- By optimising the printing parameters and joint geometries, the mechanical performance of these joints was significantly improved, underscoring the importance of optimising printing parameters to achieve a nearly 100% density at the interface between the pin and the PLA part. This optimisation is crucial for establishing a robust attachment, ensuring the integrity of the joint in the primary area responsible for its resistance, thus increasing the durability and efficacy of the joints.
- While the metal–polymer joints inherently present challenges in adhering dissimilar materials, the optimised CL50-CN50 Al-PLA joints exhibited a substantial increase in mechanical strength, with an improvement in the maximum average load of 368.97% compared to joints without interlocking. This improvement is attributed to the effective stress distribution and the reduction in voids achieved through precise and uniform polymer deposition.
Author Contributions
Funding
Data Availability Statement
Conflicts of Interest
References
- Sun, G.; Chen, D.; Zhu, G.; Li, Q. Lightweight Hybrid Materials and Structures for Energy Absorption: A State-of-the-Art Review and Outlook. Thin-Walled Struct. 2022, 172, 108760. [Google Scholar] [CrossRef]
- Bader, B.; Türck, E.; Vietor, T. Multi Material Design. A Current Overview of the Used Potential in Automotive Industries. In Technologies for Economical and Functional Lightweight Design; Springer: Berlin/Heidelberg, Germany, 2019; pp. 3–13. [Google Scholar]
- Gartner, J.; Maresch, D.; Fink, M. The Potential of Additive Manufacturing for Technology Entrepreneurship: An Integrative Technology Assessment. Creat. Innov. Manag. 2015, 24, 585–600. [Google Scholar] [CrossRef]
- İyibilgin, O.; Gepek, E. Additive Manufacturing Technologies and Its Future in Industrial Applications. Int. J. Integr. Eng. 2021, 13, 245–257. [Google Scholar] [CrossRef]
- Deshmukh, K.; Kovářík, T.; Muzaffar, A.; Basheer Ahamed, M.; Khadheer Pasha, S.K. Mechanical Analysis of Polymers. In Polymer Science and Innovative Applications: Materials, Techniques, and Future Developments; Elsevier: Amsterdam, The Netherlands, 2020; pp. 117–152. ISBN 9780128168080. [Google Scholar]
- Lyu, M.Y.; Choi, T.G. Research Trends in Polymer Materials for Use in Lightweight Vehicles. Int. J. Precis. Eng. Manuf. 2015, 16, 213–220. [Google Scholar] [CrossRef]
- Lambiase, F.; Scipioni, S.I.; Lee, C.J.; Ko, D.C.; Liu, F. A State-of-the-Art Review on Advanced Joining Processes for Metal-Composite and Metal-Polymer Hybrid Structures. Materials 2021, 14, 1890. [Google Scholar] [CrossRef]
- Amancio-Filho, S.T.; Dos Santos, J.F. Joining of Polymers and Polymer-Metal Hybrid Structures: Recent Developments and Trends. Polym. Eng. Sci. 2009, 49, 1461–1476. [Google Scholar] [CrossRef]
- Cloud, G.L. 2012 William M. Murray Lecture: Some Curious Unresolved Problems, Speculations, and Advances in Mechanical Fastening: Issues and Opportunities for Research in Joining. Exp. Mech. 2013, 53, 1073–1104. [Google Scholar] [CrossRef]
- Šedivka, P.; Bomba, J.; Böhm, M.; Boška, P. Influence of Temperature on the Strength of Bonded Joints. Bioresources 2015, 10, 3999–4010. [Google Scholar] [CrossRef][Green Version]
- Sonia, P.; Venkata Mahesh, P.; Nijhawan, G.; Hlail, S.H.; Revathi, V.; Kakoli Rao, A. Review on Hybrid Welding Techniques for Improved Joint Performance. E3S Web Conf. 2024, 505, 01022. [Google Scholar] [CrossRef]
- Li, L.; Haghighi, A.; Yang, Y. A Novel 6-Axis Hybrid Additive-Subtractive Manufacturing Process: Design and Case Studies. J. Manuf. Process 2018, 33, 150–160. [Google Scholar] [CrossRef]
- Wohlers, T.; Gornet, T. History of Additive Manufacturing. 2015. Available online: https://papers.ssrn.com/sol3/papers.cfm?abstract_id=4474824 (accessed on 24 April 2024).
- Chen, L.; He, Y.; Yang, Y.; Niu, S.; Ren, H. The Research Status and Development Trend of Additive Manufacturing Technology. Int. J. Adv. Manuf. Technol. 2017, 89, 3651–3660. [Google Scholar] [CrossRef]
- Zhai, Y.; Lados, D.A.; Lagoy, J.L. Additive Manufacturing: Making Imagination the Major Limitation. JOM 2014, 66, 808–816. [Google Scholar] [CrossRef]
- Chennakesava, P.; Narayan, Y.S. Fused Deposition Modeling—Insights. In Proceedings of the International Conference on Advances in Design and Manufacturing (ICAD&M’14), Tiruchirappalli, Tamil Nadu, India, 5–7 December 2014. [Google Scholar]
- Rouf, S.; Malik, A.; Singh, N.; Raina, A.; Naveed, N.; Siddiqui, M.I.H.; Haq, M.I.U. Additive Manufacturing Technologies: Industrial and Medical Applications. Sustain. Oper. Comput. 2022, 3, 258–274. [Google Scholar] [CrossRef]
- Attaran, M. The Rise of 3-D Printing: The Advantages of Additive Manufacturing over Traditional Manufacturing. Bus. Horiz. 2017, 60, 677–688. [Google Scholar] [CrossRef]
- Ngo, T.D.; Kashani, A.; Imbalzano, G.; Nguyen, K.T.Q.; Hui, D. Additive Manufacturing (3D Printing): A Review of Materials, Methods, Applications and Challenges. Compos. B Eng. 2018, 143, 172–196. [Google Scholar] [CrossRef]
- Ozlati, A.; Movahedi, M.; Tamizi, M.; Tartifzadeh, Z.; Alipour, S. An Alternative Additive Manufacturing-Based Joining Method to Make Metal/Polymer Hybrid Structures. J. Manuf. Process 2019, 45, 217–226. [Google Scholar] [CrossRef]
- Falck, R.; Goushegir, S.M.; dos Santos, J.F.; Amancio-Filho, S.T. AddJoining: A Novel Additive Manufacturing Approach for Layered Metal-Polymer Hybrid Structures. Mater. Lett. 2018, 217, 211–214. [Google Scholar] [CrossRef]
- Belei, C.; Pommer, R.; Amancio-Filho, S.T. Optimization of Additive Manufacturing for the Production of Short Carbon Fiber-Reinforced Polyamide/Ti-6Al-4V Hybrid Parts. Mater. Des. 2022, 219, 110776. [Google Scholar] [CrossRef]
- Prusa Polymers Technical Data Sheet-Prusament PLA by Prusa Polymers. Available online: https://www.prusa3d.com/product/prusament-pla-galaxy-silver-1kg/ (accessed on 28 February 2024).
- Yong, Y. Research on Properties and Applications of New Lightweight Aluminum Alloy Materials. In Proceedings of the Highlights in Science, Engineering and Technology, ACMME, Melbourne, Australia, 27 February 2024; Volume 2023. [Google Scholar]
- Murariu, M.; Dubois, P. PLA Composites: From Production to Properties. Adv. Drug Deliv. Rev. 2016, 107, 17–46. [Google Scholar] [CrossRef]
- Leitão, C.; Leal, R.M.; Pereira, M.A.R.; Essacalalo, L.F.; Galvão, I. Development of a Joint Concept for Producing Dissimilar Joints Using a 3D Printing-Supported Technique. Key Eng. Mater. 2023, 969, 3–10. [Google Scholar] [CrossRef]
- Gordeev, E.G.; Galushko, A.S.; Ananikov, V.P. Improvement of Quality of 3D Printed Objects by Elimination of Microscopic Structural Defects in Fused Deposition Modeling. PLoS ONE 2018, 13, e0198370. [Google Scholar] [CrossRef] [PubMed]
- Mohamed, O.A.; Masood, S.H.; Bhowmik, J.L. Optimization of Fused Deposition Modeling Process Parameters: A Review of Current Research and Future Prospects. Adv. Manuf. 2015, 3, 42–53. [Google Scholar] [CrossRef]
- Kamer, M.S.; Temiz, Ş.; Yaykaşli, H.; Kaya, A.; Akay, O. Effect of Printing Speed on FDM 3D-Printed PLA Samples Produced Using Different Two Printers. Int. J. 3D Print. Technol. Digit. Ind. 2022, 6, 438–448. [Google Scholar] [CrossRef]
- Sunlu FilaDryer S2 3D Printing-Mate-Manual. Available online: https://p3d.mx/blogs/download/sunlun-filadryer-s2-manual?srsltid=AfmBOoobFmTs_k8TtA7FhCJTarAqaQhtB2FKTOkl4qkuMsiLoj-vMD9d (accessed on 28 February 2024).
- Czyżewski, P.; Marciniak, D.; Nowinka, B.; Borowiak, M.; Bieliński, M. Influence of Extruder’s Nozzle Diameter on the Improvement of Functional Properties of 3D-Printed PLA Products. Polymers 2022, 14, 356. [Google Scholar] [CrossRef] [PubMed]
- Çakan, B.G. Effects of Raster Angle on Tensile and Surface Roughness Properties of Various FDM Filaments. J. Mech. Sci. Technol. 2021, 35, 3347–3353. [Google Scholar] [CrossRef]
- Veselý, P. Nozzle Temperature Effect on 3D Printed Structure Properties. In Proceedings of the Zborník Príspevkov z Medzinárodnej Konferencie Elektrotechnológia, Zuberec, Slovakia, 21–23 May 2019. [Google Scholar]
- Aalco Metals Ltd. Mechanical Properties. Available online: https://www.aalco.co.uk/ (accessed on 2 July 2024).
- Alhmoudi, A.; Sheikh-Ahmad, J.; Almaskari, F.; Bojanampati, S. Joining of Polymer-Metal Hybrid Structures by Fused Deposition Modelling. In Proceedings of the 2022 Advances in Science and Engineering Technology International Conferences (ASET), Dubai, United Arab Emirates, 21–24 February 2022. [Google Scholar]
- Oliveira, G.H.M.; Belei, C.; de Carvalho, W.S.; Canto, L.B.; Amancio-Filho, S.T. On the Fully Additive Manufacturing of PC/AlSi10Mg Hybrid Structures. Mater. Lett. 2023, 330, 133378. [Google Scholar] [CrossRef]














| Parameters | Optimised Values | |
|---|---|---|
| Environmental Factors | Filament temperature | 50 °C |
| Filament humidity | 20–25% | |
| Nozzle temperature | First layer | 215 °C |
| Infill | 210 °C | |
| Printing speed | Contour | 36 mm/s |
| First layer | 20 mm/s | |
| Infill | 64 mm/s | |
| Top layer | 32 mm/s | |
| Bed temperature | 60 °C | |
| Raster angle | 45° | |
| Layer thickness | 0.1 mm | |
| Number of contours | 3 | |
| Properties | Before Optimisation | After Optimisation |
|---|---|---|
| Average Maximum Load [kN] | 1.23 | 1.39 |
| Standard deviation [kN] | 0.00 | 0.02 |
| Average Maximum Normal Stress [MPa] | 48.44 | 53.43 |
| Ratio of voids in the transverse section [%] | 7.57 | 1.21 |
| Properties | Before Optimisation | After Optimisation |
|---|---|---|
| Average Maximum Load [kN] | 0.63 | 0.85 |
| Standard deviation [kN] | 0.18 | 0.23 |
| Mechanical Interlocking Abbreviation | Geometry | ||
|---|---|---|---|
| Without pin | - | - | - |
| 100% Cylindrical | CL | ![]() | ![]() |
| 50% Cylindrical 50% Conical | CL50-CN50 | ![]() | ![]() |
| 100% Conical | CN | ![]() | ![]() |
| Material | Density [g/cm3] | Young’s Modulus [GPa] | Yield Strength [MPa] |
|---|---|---|---|
| AA5754-H111 | 2.66 [34] | 68 | 110 |
| PLA | 1.24 [23] | 37.32 | 70 |
| Reference | Method | Geometry | Materials | Failure |
|---|---|---|---|---|
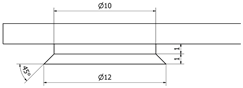
| Present Research | Overlapping joint with mechanical interlocking between the additive part and the pre-drilled Al sheet | Pin connection, cylindrical and conical geometry, with 10 mm diameter contact area; PLA and Al sheets with 40 × 20 × 2 mm3 | PLA and AA5754-H111 | Fracture of the PLA part near the joint area |
| Ozlati et al., 2019 [20] | Overlapping joint with mechanical interlocking between the additive part and the pre-drilled Al sheet | Cylindrical pin connection, with a 13 mm diameter; PP and Al sheets with 75 × 25 × 1 mm3 | Polypropylene (PP) and AA5083 | Fracture of the joint interface, between additive parts |
| Falck et al., 2018 [21] | Single-lap joint configuration by deposition of the PA6/CF-PA6 on the Al | Without a mechanical interlocking, Al sheet with 101.6 × 25.5 × 2 mm3 with an overlap area of 12.5 × 25.5 mm2 | Polyamide-6 and carbon-fibre-reinforced polyamide-6 (PA6/CF-PA6) and AA2024-T3 | Fracture of the joint within the fibre-reinforced printed layer |
| Belei et al., 2022 [22] | Single-lap joint configuration between sandblasted Ti-6Al-4V substrate and PA-CF | Without a mechanical interlocking, Ti-6Al-4V and PA/CF sheets with 100 × 25.4 × 0.6 mm3 and 100 × 25.4 × 2.2 mm3, respectively | PA/CF and Ti-6Al-4V | Adhesive failure between metal and coating layer |
| Alhmoudi et al. 2022 [35] | Single-lap joint configuration by depositing PLA on textured Al | Without a mechanical interlocking, Al and ABS sheets with 2 mm thickness and 100 × 25 mm2 and 100 × 30 mm2, respectively | PLA and AA5052 | Fracture of the PLA part near the joint area |
| Oliveira et al., 2023 [36] | Single-lap joint configuration by depositing PC on the AlSi10Mg substrate with structures printed by laser powder bed fusion | Without a mechanical interlocking, AlSi10Mg and PC sheets with 56.5 × 24.8 mm2 and, 1.6 mm and 4 mm thickness, respectively, with an overlap area of 12.7 × 24.8 mm2 | Polycarbonate (PC) and AlSi10Mg | Fracture and displacement of the PC plate in the joint area |
Disclaimer/Publisher’s Note: The statements, opinions and data contained in all publications are solely those of the individual author(s) and contributor(s) and not of MDPI and/or the editor(s). MDPI and/or the editor(s) disclaim responsibility for any injury to people or property resulting from any ideas, methods, instructions or products referred to in the content. |
© 2024 by the authors. Licensee MDPI, Basel, Switzerland. This article is an open access article distributed under the terms and conditions of the Creative Commons Attribution (CC BY) license (https://creativecommons.org/licenses/by/4.0/).
Share and Cite
Abreu, T.; Leal, R.M.; Leitão, C.; Galvão, I. Metal–Polymer Joining by Additive Manufacturing: Effect of Printing Parameters and Interlocking Design. J. Manuf. Mater. Process. 2024, 8, 228. https://doi.org/10.3390/jmmp8050228
Abreu T, Leal RM, Leitão C, Galvão I. Metal–Polymer Joining by Additive Manufacturing: Effect of Printing Parameters and Interlocking Design. Journal of Manufacturing and Materials Processing. 2024; 8(5):228. https://doi.org/10.3390/jmmp8050228
Chicago/Turabian StyleAbreu, Teresa, Rui M. Leal, Carlos Leitão, and Ivan Galvão. 2024. "Metal–Polymer Joining by Additive Manufacturing: Effect of Printing Parameters and Interlocking Design" Journal of Manufacturing and Materials Processing 8, no. 5: 228. https://doi.org/10.3390/jmmp8050228
APA StyleAbreu, T., Leal, R. M., Leitão, C., & Galvão, I. (2024). Metal–Polymer Joining by Additive Manufacturing: Effect of Printing Parameters and Interlocking Design. Journal of Manufacturing and Materials Processing, 8(5), 228. https://doi.org/10.3390/jmmp8050228







