Abstract
Lubrication is one of the key factors to improve metal-forming quality. In the process of deep drawing, seizing tumors easily occur on the contact surfaces between the tantalum metal and the mold, which greatly affects the forming quality of the deep-drawn parts. Quality-forming quality problems that occur during the deep drawing of tantalum metal are studied from the perspective of lubrication in this paper. Three lubrication media, caster oil, PE (polyethylene) film, and DLC (Diamond Like Carbon) film, were adopted in the deep drawing of tantalum cylindrical cups. A universal testing machine and microscope were used to investigate the effect of lubrication media on the limit-drawing ratio, maximum forming force, and surface topography quality during the deep drawing process of the tantalum sheet. The results reveal that the lubrication of the PE film and DLC film can greatly improve the forming quality of the tantalum metal sheet, in which the DLC film has higher wear resistance and lower friction coefficient and can be used as the lubricating medium in the industrial forming process of tantalum deep-drawn parts.
1. Introduction
The tantalum and tantalum alloy are some of the most important high-temperature and corrosion-resistant functional materials in modern industry [1], which have a high melting point, good electrical and thermal conductivity, chemical stability, high-temperature strength, and workability [2]. Due to the excellent properties of the tantalum material, it has been used in aerospace [3], weapons and equipment [4], chemical industry [5], electronics [6] and medical and health fields [7]. At present, tantalum is widely produced in tantalum capacitors. Compared to other capacitors in the field of capacitors, tantalum capacitors have outstanding advantages, such as a high specific capacity, high reliability, long life, small size, lightweight, and wide operating temperature range, which makes it one of the indispensable ideal electronic components in high-tech fields such as aerospace, aviation, military engineering, electronic computers, automatic control equipment, communication equipment, and medical electronic devices. Among the many branches of tantalum capacitors, liquid tantalum capacitors [8], which are known as “never fail” capacitors in the industry, have excellent performance and are mainly made of a deep-drawn tantalum alloy shell containing electrolytes and sealed by glass [9].
Deep drawing is an important process for forming thin-walled tantalum alloy containers and other shell parts [10]. The problem of adhesive wear is one of the key problems in the deep drawing of thin wall tantalum alloy members. In addition to common cracking and wrinkling defects, during the deep drawing process of the tantalum alloy sheet, the material is transferred from the sheet to the mold due to factors such as low deformation resistance, low hardness as well as weak scratch resistance, resulting in adhesion, the surface wear of the sheet and the formation of a seizing tumor on the mold surface [11]. The growth and drop out of the seizing tumor are periodic, which can eventually lead to the severe adhesive wear of the die and sheet [12] and further cause a decrease in the service performance of the deep-drawn parts and result in great safety risks when the deep-drawn parts experience extreme service conditions. Taking the case of the tantalum alloy electrolytic capacitor as an example, the surface wear of the deep-drawn part could lead to the leakage of the embedded electrolyte.
To solve the seizing tumor phenomenon during the deep drawing process, numerous scholars have carried out in-depth-related studies. In the study of Freiße [13], a laser-generated tool surface with a supporting plateau of hard particles is presented. Spherical fused tungsten carbides were injected into the surface via a laser melt injection. The metallic matrix of the composite was rejected by applying laser ablation. As a consequence, the hard particles stood out of the matrix and were in direct contact with the sheet material. Dry and lubricated forming experiments were carried out by strip drawing with the bending and deep drawing of cups. Within this work, the feasibility of dry metal forming high-alloy steel was demonstrated by applying the MMC surface, whereby adhesive wear could be reduced. Marchin and Ashrafifizadeh [14] investigated the effect of carbon addition on the tribological behavior of multilayered TiSiN coating, and the performance of TiSiCN and TiSiN coatings on cold-forming steel dies were compared. Tribological tests were conducted on a ball-on-disc wear tester using a zirconia ball, indicating the lower coefficient of friction of the coatings compared to the steel substrate; the lowest value of 0.2 was experienced by the TiSiCN-coated surface. A study of wear mechanisms proved that the application of coatings changed the mode of prevailing wear from adhesive to abrasive, decreasing the wear rate to one-third. Adding carbon to TiSiN changed the tribological behavior of the coating, similar to a self-lubricant film. Field tests of TiSiCN coating on forming dies for deep drawing operation of steel tubes and the results revealed that the service life of the die increased by 10 times.
Ke Xugui and Zhang Rongqing [15] believed that the effective prevention of seizing tumors was closely related to the mold material, mold surface treatment, and lubricating medium. High-speed steel SKH2 was chosen instead of cemented carbide as the mold material, and then oxygen and nitrogen treatment was carried out on the mold surface to make its hardness reach more than 60 HRC. Tantalum cylindrical cups with smooth surfaces which meet the quality requirements have been successfully formed. The research results showed that effective measures to prevent the adhesion wear of pure tantalum sheets during deep drawing should be considered from many aspects, such as mold material, mold surface quality, and the lubricating medium. Liu Hao et al. [16] designed a mold using Si3N4 ceramic as the mold material and analyzed the influence of the lubricating medium on the surface quality of pure tantalum cylindrical cups and the flowability of the material in specific areas. The results showed that the use of ceramic molds can significantly reduce the surface seizing tumor of pure tantalum cylindrical cups, proving that a suitable lubricating medium can reduce the surface roughness of pure tantalum cylindrical cups and improve the material flowability of the pure tantalum sheet formed.
B. Sresomroeng and V. Premanond et al. [17] evaluated the anti-adhesion performance of commercial nitride and DLC films coated on cold work tool steel against HSS in the forming operation. The anti-adhesion performance of biofilm-coated tools in the metal stamping process was also investigated by performing a U-bending experiment. The results displayed how, for high-strength steel (HSS), the adhesion wear of workpiece material on a non-coated die surface was detected after 49 strokes, whereas adhesion wear could not be found in the case of stamping SPCC sheets up to 500 strokes. This indicates that the type of workpiece material is one of the major effects that influences the occurrence of adhesion wear. All types of coating selected on the die surface can be used to improve anti-adhesion properties when HSS is formed. Andreas Wank, Guido Reisel, and Bernhard Wielage [18] investigated the behavior of DLC coatings in the lubricant-free, cold, massive formation of aluminum. The capability of diamond-like carbon coatings to permit the formation of massive lubricant-free cold aluminum is tested by forced-in tests featuring a high deformation degree. The frictional behavior during penetration into AA6016 material is tested for PVD a-C as well as PECVD a-C: H and a-C:H: Si coatings in comparison to an uncoated 1.3343 tool of steel. It is shown that the use of diamond-like carbon coatings does not generally result in a reduction in aluminum workpiece material transfer to respective tool surfaces in cold, massive forming processes with high deformation degrees. Despite increased friction and material take-up, a-C: H-coated punches show important advantages concerning the formation of the product surface quality improvement. Both in axial and circumferential directions, the lower roughness of produced bores compared to uncoated punches and silicon-doped or hydrogen-free diamond-like carbon coatings is achieved. Also, in contrast to uncoated punches, no change in surface quality is observed for repeated testing. Steiner. J, Andreas. K, Merkleini. M [19] investigated the potential of carbon-based coatings for dry deep drawing and friction, and the wear behavior of different coating compositions was evaluated in strip drawing tests. The tribological behavior of tetrahedral amorphous (ta-C) and hydrogenated amorphous carbon coatings with and without tungsten modification (a-C:H: W, a-C: H) was investigated. The influence of tool topography is analyzed by applying different finishes to the surface. The results show reduced friction with a decreased roughness for coated tools. Besides tool topography, the coating type determines the tribological conditions. Smooth tools with ta-C and a-C: H coatings reveal low friction and prevent adhesive wear. By contrast, smooth a-C:H: W-coated tools only lead to a slight improvement compared to rough, uncoated specimens.
Although the above studies achieved a reduction in the generation rate of seizing tumors, the processing costs are high, the processing processes are complicated, and the research reports on pure tantalum materials are few. In this paper, different lubrication media are utilized to compare the results of deep drawing with this lubrication condition as well as that with dry friction to explore the effect of the lubrication media on the limit drawing ratio and surface topography quality of the tantalum cylindrical cups and determine the suitable lubrication medium.
2. Experimental Section
2.1. Schematic of Deep Drawing
A schematic of the deep drawing process in this paper is shown in Figure 1. The whole working process is as follows: First of all, the blank was placed into the circular groove in the center of the die (the depth of the circular groove is the same as the thickness of the blank, 0.2 mm. It locates the position of the blank and provides a constant blank holding force during the drawing process). Then, the blank holder was installed and tightened with bolts. Then, the punch was placed in the right position through the positioning hole of the blank holder. The function of the positioning hole was to align the punch with the die. In the end, the height of the universal testing machine was adjusted so that the punch and the surface of the plate were tight. After the universal test machine started up. With the punch down, the blank began to deform and was slowly pulled into the mold until the universal testing machine completed the set stroke. After the automatic return of the punch, the blank holder was withdrawn, taking the forming cup out and placing it in the ultrasonic cleaning machine to wash the surface impurities away; it stayed under natural air-drying conditions for further experimental observation.
Figure 1.
Schematic of deep drawing.
When the gap between the punch and die is too small, the friction resistance, as well as the extrusion stress between the sheet and the die, increase, resulting in an increase in deep drawing force and a reduction in the limit drawing ratio, which can easily cause the fracture defect. The excessive gap between the punch and die can reduce the straightening effect of the die on the sheet, resulting in edge wrinkle defects during the deep drawing. To observe the surface morphology quality of tantalum cylindrical cups and explore the effect of different lubrication conditions on the forming quality of tantalum cylindrical cups, the gap was set as 1.1 t, where t = 0.2 mm was the thickness of the tantalum sheet.
In the process of deep drawing, the blank has a large bending deformation when sliding in the round corner of the punch, and it is straightened again when entering the straight wall from the round corner of the die as it passes the gap between the punch and die.
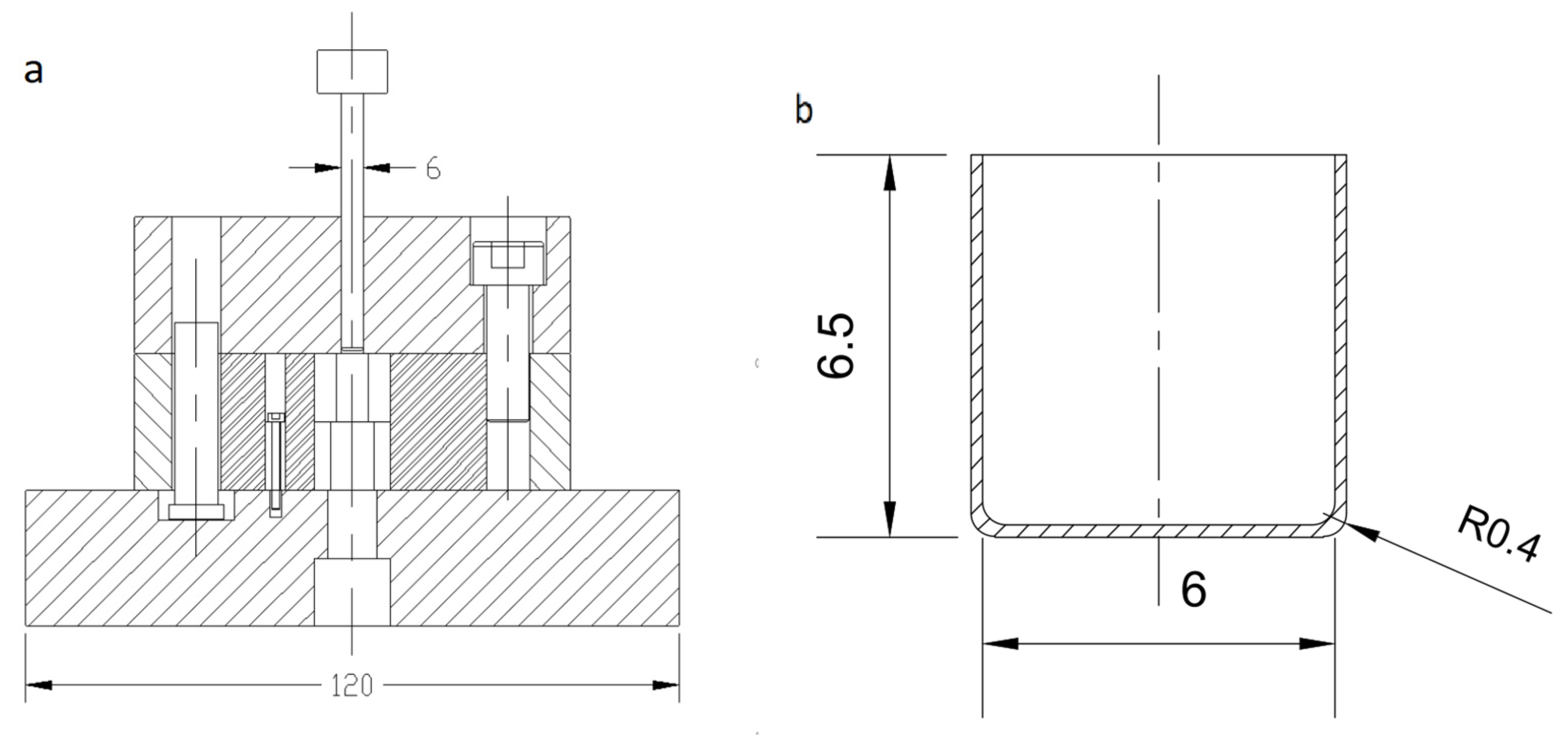
The diameter of the punch was 6 mm, and the corner radius of the punch was 0.4 mm (Figure 2). The influence of the corner radius of the punch on the process of deep drawing cis described as follows: If the corner radius of the punch is too small, the blank is subjected to excessive bending deformation in this part, the strength of the dangerous section of the blank is reduced, and the limit drawing coefficient is increased. In addition, even if the blank is not fractured in the dangerous section, if it is too small, the corner radius of the punch causes the local thinning of the thickness of the blank near the dangerous section, and this local thinning and bending trace is left on the side wall of the finished part after the deep drawing process, ultimately affecting the surface quality of the forming part.
Figure 2.
Schematic (a) deep-drawing die and (b) tantalum cup.
If the corner radius of the die is too small, the deformation resistance of the blank when passing through the rounded corner increases, and the frictional resistance when passing through the gap of the punch and die also increases, increasing the total deep drawing force. And the life of the mold also reduces because of the increase in the bending force and friction. Therefore, when the corner radius of the die is too small, a larger limit drawing coefficient must be used. If the corner radius of the die is too large, it increases the width of the blank that is not in contact with the die surface at the initial stage of deep drawing reducing the blanking effect during deep drawing, and making this part of the blank very easy to wrinkle. In the later period of deep drawing, too large a radius of rounded corners also causes the outer edge of the wool to break away from the role of the blank holder prematurely and wrinkle, especially when the relative thickness of the blank is small. Therefore, when the thickness of blank t ≤ 2 mm, the corner radius of the die RA is 3 t~6 t. In this paper, the corner radius of the die was 0.8 mm.
2.2. Experimental Scheme
The high-purity tantalum metal with a thickness of 0.2 mm was adopted as the workpiece for deep drawing. Tool steel alloy SKD11 with a hardness of HRC60 after quenching was selected as the material for the blank holders, punches, dies, and plate, as shown in Figure 1. Steel was widely used in punch and die materials in sheet forming.
A series of tantalum sheets with a diameter of 13.2 mm, 13.4 mm, 13.6 mm, 13.8 mm, 14.0 mm, 14.2 mm, 14.4 mm, 14.6 mm, and 14.8 mm were processed using wire cutting, respectively. In this paper, the deep drawing experiment was carried out on the universal MTS-SANS CMT6104 testing machine, where the stamping speed was 20 mm/min, and the maximum forming force was 10,000 N. The forming stroke was set to 7 mm, and the forming force was obtained directly from the machine. Four experimental observation groups (DLC, PE, caster oil, and Unlubrication) were set up to complete the deep drawing experiment. The experimental data of maximum forming force, limit drawing ratio, and surface topography were collected, and the group with the best gain effect was selected after analysis and summary.
In this paper, the influence of different lubrication media on the depth of the tantalum plate is discussed; caster oil, PE film, and DLC were selected from the perspective of oil lubrication and solid lubrication film lubrication, respectively. The caster oil had a density of 0.93 × 103 kg/m3 and a viscosity of 0.61 Pa·s. PE film selected a thickness of 0.03 mm below the low-density polyethylene film. The caster oil and PE film were purchased from a company in Guangdong, China. The manufacture of DLC film coated on the punch and mold was made by a company through the PIID equipment in city of Dongguan, China.
3. Results and Discussion
3.1. Maximum Forming Force
The relationship curve between the drawing stroke and forming force during the deep drawing of tantalum cylindrical cups with different lubrication media is shown in Figure 3. The trends of the curves are roughly the same under different lubrication conditions. With the move downward of the deep drawing punch, the forming force increased and reached the maximum peak force. After that, the flange area of the tantalum sheet decreased, and the forming force began to gradually decrease until the flange completely disappeared and the cup was successfully formed. Good lubrication conditions were maintained throughout the deep drawing process with the lubrication media of caster oil and DLC. As seen in Figure 4, the PE film broke when the tantalum sheet reached a certain depth height, resulting in a second peak of the forming force; then, the forming force decreased, and the cup shape was finally formed successfully.
Figure 3.
Punch stroke–forming force curve.
Figure 4.
Deep drawing under the PE film.
Compared to the deep drawing results without lubrication, the maximum forming forces were reduced by 14.4% and 13.6% under the lubrication conditions of DLC and PE film. Great improvements were created compared with the reduction of 5.6% under the condition of caster oil. This conclusion shows that the lubrication performance of DLC and PE film is much better than caster oil lubrication, and the solid lubrication DLC film is more suitable for industrial production compared with the shortcomings that the PE film might fracture during the experiment.
3.2. Friction Coefficient
The friction curve of the DLC film achieved by the ball-on-disk shown in Figure 5. The test parameters were set as follows: the rotation speed was 100 r/min, the load was 500 g, the rotation radius was 3 mm, and the test time was 15 min. In this experiment, the surface of the steel ball with a diameter of 5.556 mm was coated with the lubricating medium of DLC, which was clamped at the test head. The tantalum sheet with a 15 mm diameter and 0.4 mm thickness was clamped on the platform to make the ball contact the tantalum sheet and perform continuous circumference movement until the end of the test time.
Figure 5.
Friction curve of DLC film.
The friction coefficient value of the DLC film rose in a straight line after 565 revolutions, which indicates that the DLC film coated on the surface of the ball was worn. After that, the material of the ball itself began to contact with the tantalum sheet, resulting in a sharp increase in the friction coefficient value. The average friction coefficient value of the DLC film was calculated as 0.128. And this was much better than liquid lubricants, whose friction coefficient was larger than 0.2 [20]. The friction coefficient of PE film was 0.15–0.2 [21]. The wear resistance of PE film is far less than the DLC film, which is easy to fracture. From an industrial point of view, the DLC film with low friction performance and high wear resistance is more suitable for actual production demand. Frictional experiments have proved the excellent wear resistance and low friction coefficient of DLC. However, the PE film was easily damaged with poor wear resistance because it slid only a few laps before breaking.
3.3. Limit-Drawing Ratio
The limit drawing ratio image of tantalum sheets under different lubrication media is shown in Figure 6. To study the effect of different lubrication media on the limited deep-drawing ratio of the tantalum sheet, the formula is used as follows: K = D/R. Here, D is the outer round diameter of the tantalum sheet, and R is the diameter of the punch head.
Figure 6.
Formed cups under different lubrication media (a) DLC (b) PE (c) caster oil.
The results show that the K with PE membrane can reach 2.43 and that with the DLC film can also reach 2.37, which is higher than 2.27 without lubrication and 2.3 under caster oil. In the forming process of cups, the larger the area size of the tantalum sheet, the larger the area it contacts with the pressure circle, which could cause an increase in friction resistance. When the friction resistance exceeds a certain limit, the cup can fracture in the forming process. It is clear that PE film provides an effective method to reduce friction resistance, and the DLC film can also effectively reduce friction resistance, which is greatly improved compared to the results under the condition of dry friction and caster oil lubrication.
3.4. The Surface Topography
To study the effect of different lubricating mediums on the surface quality of tantalum sheets during deep drawing, 13.2 mm diameter tantalum sheets were selected for deep drawing experiments. Tantalum cup-shaped parts obtained from the deep drawing were cleaned and air dried using an ultrasonic vibration cleaning machine and then placed under the super depth of a field microscope to observe the surface morphology of each workpiece. The observed surface morphology is shown in Figure 7.


Figure 7.
Deep-drawn parts under d = 13.2 mm (a) DLC, (b) PE, (c) caster oil (d) Not lubricated.
DLC is a kind of amorphous film material, which is very similar to diamond in terms of its hardness and electrochemical properties. The internal valence bond structure of DLC is relatively complex, and there are both the sp3 hybrid orbitals of diamond and the sp2 hybrid orbitals of graphite between the carbon atoms. Because of the intermingling of this valence bond between the carbon atoms, DLC forms its unique three-dimensional network structure [22]. This 3D network structure feature makes the frictional behavior of DLC films significantly different from that of diamonds. The DLC film not only has excellent wear resistance and high hardness characteristics at low-temperature conditions but also has an excellent friction performance because of its sp2 hybrid structure. As seen in Figure 7a, the outer wall of the tantalum cup has the best morphology quality under the lubrication condition of the DLC film, there is no clear evidence of a seizing tumor on the surface, and the scratch depth produced by deep drawing is much shallower. The surface roughness obtained using the keyence VK-X series confocal microscopy is 6.121 µm, as seen in Figure 8a [23].

Figure 8.
Surface roughness measurement of cups (a) DLC, (b) PE, (c) Caster oil, (d) Not lubricated.
Caster oil, as a lubricating oil, is widely used in the industrial field. It has a composition hydroxyl group, and this polar group can make the oiliness additive to produce chemical or physical adsorption, forming a solid lubrication film on the metal surface so that the lubrication performance can be improved. However, when the temperature of the friction surface rises to a certain temperature, the molecular arrangement of the oiliness additive adsorption film is destroyed and loses the lubrication effect. At this time, the boundary lubrication film covering the two metal surfaces disappears, creating direct contact between the metals. As the direct contact area increases, the friction energy increases accordingly, resulting in a temperature rise, and this result is prone to the sintering phenomenon. As shown in Figure 7c, the outer wall of the tantalum cup under caster oil lubrication has a clear adhesion tumor because the caster oil lubrication film is destroyed, causing direct contact between the metals. It has been proved that caster oil is not enough to protect the outer wall of the tantalum sheet in contact with the mold surface during the deep drawing process. The surface roughness obtained after the measurement is 6.387 µm, as seen in Figure 8c.
Due to insufficient wear resistance and ductility, the PE membrane was damaged in the back half of the deep pull, resulting in direct contact between the workpiece and the inner surface of the mold, and, finally, adhesion to the tumor on the upper end of the cup, as shown in Figure 7b. The surface roughness obtained after the measurement was 7.488 µm, as seen in Figure 8b.
To sum up, DLC has good wear resistance and plays a good role in lubrication during deep drawing, which can avoid the sticking of the tantalum sheet and is the most significant for improving the quality of forming deep-drawn cylindrical cups among the three lubrication media.
4. Conclusions
In this paper, deep drawing experiments of tantalum cylindrical cups under different lubrication conditions were carried out. Four groups of experiments were set up as follows: DLC, PE, caster oil, and no lubrication. The maximum forming force under different lubrication conditions was compared, and the surface morphology quality of the drawn parts was observed using the super depth of a field optical microscope; the following results can be concluded:
(1) All the lubrication media of the DLC, PE membrane, and caster oil can effectively reduce the maximum forming force in the deep drawing of tantalum cylindrical cups, and the maximum forming force could be reduced by 13.6% and 14.4% through the utilization of the PE membrane and the DLC membrane, respectively, which are particularly effective for the deep drawing of tantalum cylindrical cups.
(2) The DLC film is not destroyed after more than 500 revolving cycles, and the friction coefficient is 0.128. The wear resistance of the DLC film is much higher than that of the PE film.
(3) The tantalum sheet with a deep drawing ratio of K = 2.37 can be successfully formed under the lubrication of the DLC film, and the K under the lubrication of the PE film reaches 2.43. Due to the lower sliding friction of the PE film, the limited deep drawing ratio obtained with the PE film is better than that of the DLC film.
(4) The DLC film can effectively reduce the forming force of tantalum sheets and improve the limit drawing ratio and the surface morphology quality of the forming parts. It has good wear resistance, which can be used as a lubrication medium in the tantalum metal-forming production process.
Author Contributions
All authors have contributed to the creation of this manuscript for important intellectual content. T.X.: methodology; data curation; formal analysis; writing, original draft, review, and editing; S.D.: experiment; validation; writing, review, and provide method; M.S. and J.H.: review, validation, and editing; N.Z. and S.Y.: experiment and analyze the data; L.Z.: review and editing, supervise and guide. All authors have read and agreed to the published version of the manuscript.
Funding
This research is funded by the National Natural Science Foundation of China (Grant No.: 52005341; 51905241), the Basic and Applied Basic Research Fund of Guangdong Province (2019A1515111115), and the National Taipei University of Technology-Shenzhen University Joint Research Program (Project no. 2023010).
Data Availability Statement
All data generated or analyzed during this study are included in this published article.
Conflicts of Interest
The authors declare no conflicts of interest.
References
- Mitchell, T.E.; Raffo, P.L. Mechanical properties of some tantalum alloys. Can. J. Phys. 2011, 45, 1047–1062. [Google Scholar]
- Robin, A.; Gomes, E.A.; Nunes, C.A.; Coelho, G.C.; Baldan, C.A. Preparation and characterization of Zircaloy 4-Tantalum alloys for application in corrosive media. Int. J. Refract. Met. Hard Mater. 2012, 35, 90–95. [Google Scholar] [CrossRef]
- Vishay Intertechnology. Liquid tantalum capacitors bring high capacity value and flexibility to aerospace applications. Electron. Prod. 2017, 65. [Google Scholar]
- Wang, H.; Zhang, X.M.; Li, L.P.; Wang, F.; Cai, X.M. Industry Application of tantalum and tantalum alloys. Equip. Manuf. Technol. 2013, 8, 115–117. [Google Scholar]
- Ren, X.; Zhang, Y.J. Vortex detection study of chemical anticorrosive tantalum alloy pipe material. China Met. Bull. 2018, 3, 100–101. [Google Scholar]
- Tian, C. The Invention Relates to a Method for Improving the Voltage Resistance of Chip Tantalum Capacitor. Ph.D. Thesis, Xidian University, Xi’An, China, 2019. [Google Scholar]
- Liu, S.Y. Application of tantalum in high-tech. Rare Met. Cem. Carbides 1998, 2, 55–57+26. [Google Scholar]
- Prokhorova, T.; Orlov, V.; Miroshnichenko, M. Effect of tantalum capacitor powder preparation conditions on the dielectric loss tangent of anodes. Inorg. Mater. 2014, 50, 145–149. [Google Scholar] [CrossRef]
- Zhang, Y.J.; Gong, Z.J.; Wang, K. Processing Technology Research on Deep drawing EB Tantalum Ribbon for Liquid Tantalum Capacitor Shell. Dev. Appl. Mater. 2014, 29, 58–61. [Google Scholar]
- Kardan, M.; Parvizi, A.; Askari, A. Influence of process parameters on residual stresses in deep-drawing process with FEM and experimental evaluations. J. Braz. Soc. Mech. Sci. Eng. 2018, 40, 157–169. [Google Scholar]
- Dong, W.; Xu, L.; Lin, Q.; Wang, Z. Experimental and numerical investigation on galling behavior in sheet metal forming process. Int. J. Adv. Manuf. Technol. 2017, 88, 1101–1109. [Google Scholar] [CrossRef]
- Dong, W.Z.; Lin, Q.Q.; Wang, Z.G. On the galling behavior in HSS sheet metal forming process by FEM-Archard model. Mater. Sci. Technol. 2015, 3, 42–45. [Google Scholar]
- Freiße, H.; Ditsche, A.; Seefeld, T. Reducing adhesive wear in dry deep drawing of high-alloy steels by using MMC tool. Manuf. Rev. 2019, 6, 12. [Google Scholar] [CrossRef]
- Marchin, N.; Ashrafifizadeh, F. Effect of carbon addition on tribological performance of TiSiN coatings produced by cathodic arc physical vapour deposition. Surf. Coat. Technol. 2021, 407, 126781. [Google Scholar] [CrossRef]
- Ke, X.G.; Zhang, R.Q. Study of drawing key techniques and design of tranfer die for shell of wet all-tantalum capacitor. FST 2008, 33, 82–86. [Google Scholar]
- Liu, H.; Chen, Z.L.; Wang, C.R. Research on cupping test and drawing test of tantalum sheet. FST 2019, 44, 150–153. [Google Scholar]
- Sresomroeng, B.; Premanond, V.; Kaewtatip, P.; Khantachawana, A.; Koga, N. Anti-adhesion performance of various nitride and DLC films against high strength steel in metal forming operation. Diam. Relat. Mater. 2010, 19, 833–836. [Google Scholar]
- Wank, A.; Reisel, G.; Wielage, B. Behavior of DLC coatings in lubricant free cold massive forming of aluminum. Surf. Coat. Technol. 2006, 210, 822–827. [Google Scholar] [CrossRef]
- Steriner, J.; Andreas, K.; Merkleini, M. Investigation of surface finishing of carbon based coated tools for dry deep drawing of aluminium alloys. In IOP Conference Series: Materials Science and Engineering; IOP Publishing: Bristol, UK, 2016. [Google Scholar]
- Vollertsen, F.; Hu, Z. Tribological size effects in sheet metal forming measured by a strip drawing test. Cirp Ann. Manuf. Technol. 2006, 55, 291–294. [Google Scholar]
- Sufen, Z.; Mengliang, L.; Xiaoyan, L. Analysis the Friction Coefficient Performance and Application of the PE Film for Solvent Free Composite. Plastics 2019, 48, 16–18. [Google Scholar]
- Wang, L.; Huang, L.; Wang, Y.; Xie, Z.; Wang, X. Duplex DLC coatings fabricated on the inner surface of a tube using plasma immersion ion implantation and deposition. Diam. Relat. Mater. 2008, 17, 43–47. [Google Scholar] [CrossRef]
- ISO 25178-2:2012; Geometrical Product Specifications (GPS)—Surface Texture: Areal, Part 1: Terms, definitions and Surface Texture Parameters. ISO: Geneva, Switzerland, 2012.
Disclaimer/Publisher’s Note: The statements, opinions and data contained in all publications are solely those of the individual author(s) and contributor(s) and not of MDPI and/or the editor(s). MDPI and/or the editor(s) disclaim responsibility for any injury to people or property resulting from any ideas, methods, instructions or products referred to in the content. |
© 2024 by the authors. Licensee MDPI, Basel, Switzerland. This article is an open access article distributed under the terms and conditions of the Creative Commons Attribution (CC BY) license (https://creativecommons.org/licenses/by/4.0/).