Abstract
It is a general assumption that pneumatic muscle-type actuators will play an important role in the development of an assistive rehabilitation robotics system. In the last decade, the development of a pneumatic muscle actuated lower-limb leg orthosis has been rather slow compared to other types of actuated leg orthoses that use AC motors, DCmotors, pneumatic cylinders, linear actuators, series elastic actuators (SEA) and brushless servomotors. However, recent years have shown that the interest in this field has grown exponentially, mainly due to the demand for a more compliant and interactive human-robotics system. This paper presents a survey of existing lower-limb leg orthoses for rehabilitation, which implement pneumatic muscle-type actuators, such as McKibben artificial muscles, rubbertuators, air muscles, pneumatic artificial muscles (PAM) or pneumatic muscle actuators (PMA). It reviews all the currently existing lower-limb rehabilitation orthosis systems in terms of comparison and evaluation of the design, as well as the control scheme and strategy, with the aim of clarifying the current and on-going research in the lower-limb robotic rehabilitation field.
1. Introduction
The outcomes of rehabilitation therapy that implements body weight support treadmill training for incomplete spinal cord injuries (SCIs) and stroke patients have been reported in several previous studies since the 1990s. SCI involves damage to any component of the nerves or spinal cord located at the end of the spinal canal, which is either complete or incomplete. However, it often causes permanent changes in strength, sensation and other body functions below the site of the injury. The symptoms vary widely, beginning with pain to paralysis and, then, to incontinence. The paralysis may be identified as a weakness, which might occur with abnormal tone (e.g., spasticity or rigidity). During the stance phase, leg instability (i.e., hyperextension or knee buckling) may result in unsafe walking, pain and inefficient energy. Moreover, inadequate limb clearance, impaired balance, sensory deficits and pain during the swing phase may contribute to falls, loss of balance and increased nervousness associated with walking. Furthermore, the loss of motor control prevents a patient from performing a precise movement in coordination with the timing and intensity of the muscle action.
Previously, a patient’s paralyzed legs were physically operated by two therapists in manual training. In accordance with treadmill training therapy, based on the rules of spinal locomotion, research carried out by Wernig et al. for the incomplete paralysation of paraplegic and tetraplegic patients confirmed that the training was able to improve most of the patients’ walking capability [1,2]. The patients involved in this training were provided with motor-driven treadmill training therapy, along with a body weight support (BWS) and assisted limb movements by therapists, for daily upright walking training. Based on the rehabilitation sessions, nearly 80% of patients with incomplete spinal cord injuries (a total of 33 individuals) were capable of walking independently after the treadmill training, with partial body weight support. However, this training procedure was physically difficult for therapists to execute for long durations of time. Recently, robot-assisted therapy devices have become increasingly used in SCI rehabilitation therapy. This assistive robot either compensates for the functionalities that a patient does not have or tries to recover the impaired functionalities. Even though it may not be able to fully compensate for impairments, or even provide a cure, it should be able to enhance or extend certain impaired functions, consequentially increasing the quality of life, encouraging independent living, as well as supporting the need for social interactions and communication. Depending on the degree and location of the injury, the actual rehabilitation or treatment can vary widely. In many cases, substantial rehabilitation and physical therapy are required for spinal cord injuries, particularly if the patient’s injuries interfere with the activities of daily life.
Since SCI patients frequently have difficulties with daily functional movements and activities, it is possible to decrease their loss of function through rehabilitation therapy during the critical stage. This rehabilitation therapy engages carefully designed repetitive exercises, which are either passive or active. In a passive exercise, the therapist or a robot will actively assist the patient with moving the affected lower-limb repetitively, as prescribed. In an active exercise, the patients themselves will put effort into moving their legs, with no physical assistance. With the contribution of therapists, assistive robotic technology has had a significant ability to provide novel means for motivating, monitoring and coaching. In addition, many lower-limb leg orthoses for rehabilitation have been developed to assist in human locomotion training; they can be used for a long time and for varying degrees of spasticity or paresis [1,2,3,4,5,6,7,8,9,10,11,12,13,14]. According to Dietz et al., who performed lower-limb-assisted gait training using a developed orthosis system with BWS and treadmill training on patients with incomplete SCI, advocated that the afferent participation from the lower limb and hip joint movements are essential for the activation of the central pattern generator for locomotion rehabilitation training in SCI patients [3,4].
Consequently, the interest in this field has grown exponentially in recent years, mainly due to the demand for a much more compliant and interactive human-robotics system. Therefore, this work will appraise all of the current existing lower-limb rehabilitation orthoses, based on compliant actuator systems, in terms of their evaluation, design, control scheme and strategy. They will then be compared to each another, with the intent of clarifying current and on-going research in the lower-limb robotics rehabilitation field.
2. Existing Lower-Limb Orthoses for Gait Rehabilitations and Evaluations
Numerous assistive orthosis systems for gait rehabilitation have been developed that delve into several types of lower-limb rehabilitation, such as treadmill gait trainers, over-ground gait trainers, stationary gait and ankle trainers, foot-plate-based gait trainers and active foot orthoses for the neurologically impaired (including stroke and spinal cord injury (SCI) patients) [5,6,7,8]. These systems implement very unique mechanical structures, designs, actuators, methods, control schemes and rehabilitation strategies, as well as various procedures to ensure the reliability and robustness of the systems when compared to others. The rapid development of rehabilitation robotics over the last decade is working toward fully restoring or improving the mobility of affected limb functions and helping patients achieve a better quality of life.
2.1. Motorized Lower-Limb Orthosis Systems for Rehabilitation
The driven gait orthosis (DGO), also known as LOKOMAT (Hocoma AG, Volketswill Switzerland), is currently available on the market and has been extensively researched in many rehabilitation centers as one of the best examples for a gait orthosis that can be used for lower-limb disabilities [9,10,11]. This orthosis system is shown in Figure 1a. It consists of three main parts: body weight support, treadmill and powered leg orthosis. A direct current (DC) motor, with helical gears, was used for the actuation power of the system to precisely control the trajectory of the hip and knee joints. Considerable control algorithms have been implemented in this system to improve its performance, such as position, adaptability, impedance controllers, etc. To stimulate the locomotor function of the spinal cord and to activate leg muscles that have lost the capacity to actuate voluntary movement, it is important to provide adequate afferent input to the affected lower limb. It could be anticipated that the afferent input produced using automatic-based training is at least as efficient as that generated using manual training.
Figure 1b shows the treadmill gait trainer system, which incorporated an electromechanical gait device with the treadmill/gait training, known as the LokoHelp (LokoHelp Group, Germany). The LokoHelp used a different mechanical system compared to the LOKOMAT, which implemented a powered leg orthosis. The foot-powered orthosis, known as “Pedago”, uses an electromechanical gait device that was designed to provide a gait motion during the training session [12]. The control device helps to move the patients’ foot trajectory with a fixed step length of 400 mm, in which the gait cycle (GC) speed can be varied from zero up to 5 km/h. Based on the research findings, it was proven that walking ability could be improved by incorporating task-oriented gait training with mechanical gait training devices or with treadmill training.
Figure 1.
(a) LOKOMAT [10]; (b) LokoHelp (picture courtesy of LokoHelp group); and (c) ReoAmbulator (picture courtesy of Motorika Ltd.).
Figure 1.
(a) LOKOMAT [10]; (b) LokoHelp (picture courtesy of LokoHelp group); and (c) ReoAmbulator (picture courtesy of Motorika Ltd.).

The ReoAmbulator robotic system (Motorika Ltd., Mount Laurel, NJ, USA), which is also known as “AutoAmbulator”, is another example of existing treadmill gait trainers for lower-limb rehabilitation therapy, as shown in Figure 1c. This system has been used in research centers and medical hospitals for rehabilitation therapies and educational research studies [13,14]. This system also implements a powered leg orthosis, “robotic arms”, which enables patients to contribute during the gait motion, but also provides the remaining force necessary for walking. The robotic arms are attached to the thigh and ankle of the patient’s leg before a stepping pattern is performed using the implemented control scheme and strategy. In previous research on this system, it was concluded that robot-assisted gait training was able to provide improvements in balance and gait that are comparable to conventional/manual physical rehabilitation therapies.
Apart from the available commercialized rehabilitation orthosis systems, the growth of the ReoAmbulator system has been rather immense with the development of different prototypes. The development of LOPES increased researchers’ interest in developing a humanlike musculoskeletal assistive orthosis system. This gait rehabilitation orthosis employs the Bowden-cable driven series of elastic actuators (SEA), with the servomotors as the actuation system, to implement low weight (pure) force sources at both the posterior and anterior sides of the leg orthosis, as illustrated in Figure 2a [15,16]. It implemented impedance control (as opposed to admittance control), which is based on a combination of position sensing with force actuation to operate the lower-limb leg orthosis. The training effect of this orthosis was enhanced by emphasizing the implementation of an assist as needed (AAN) control algorithm. This enabled an increment of the active voluntary participation of the patients. Moreover, it is also possible to imply unhindered walking practice in the orthosis device, where the required forces/torques for imposing a gait pattern are determine based on the system’s evaluation.
Figure 2.
(a) LOPES [15]; (b) active leg exoskeleton (ALEX) [17]; and (c) NEUROBike [20].
Figure 2.
(a) LOPES [15]; (b) active leg exoskeleton (ALEX) [17]; and (c) NEUROBike [20].

In the following years, a robot-assisted gait training (RAGT) was developed with an active leg exoskeleton (ALEX), also integrating the AAN rehabilitation strategy into the orthosis system. Compared to other existing robotic training methods, this strategy allows the patient to actively contribute during the retraining process of gait locomotion. This gait rehabilitation device is shown in Figure 2b. It implemented the use of linear actuators to actuate the hip joint thigh device and knee joint shank device of the leg orthosis [17,18]. It has been proven that an intensive gait retraining process has great potential to significantly provide benefits for the patients, including chronic stroke survivors. This can be achieved by effectively applying enough forces on the ankle of the subject through actuators placed at the hip and knee joints of the exoskeleton’s leg orthosis, by means of a force-field controller.
Later, a stationary gait and ankle trainer system was developed to provide neural-rehabilitative treatments aimed at recovering walking abilities in post-stroke patients. This orthosis system employed the use of brushless servomotors and pulleys to actively control the angular excursions of the gait orthosis, known as the neural-rehabilitative platform for bedridden post-stroke patients (NEUROBike) [19]. The prototype of this system is shown in Figure 2c. The passive and active exercises were emphasized in this system by implementing the kinematic models of leg-joint angular excursions during both “sit-to-stand” and “walking” in the control algorithms. To summarize, providing a number of exercises at an early phase based on the intensity and the severity of the pathology is required by the programmed therapy. In addition, customized treatment adapted by this system may facilitate patients by increasing their flexibility in lower-limb control, which leads to significant improvements in motor control performance during locomotion.
In addition, a robotic gait rehabilitation (RGR) trainer prototype was also invented within the same year as the NEUROBike system, to assist treadmill gait retraining for patients with unusual gait patterns that were associated with exaggerated pelvis obliquity, illustrated in Figure 3a. This orthosis is composed of three subsystems: stationary frame, human-robot interface (HRI) and treadmill training. Servo-tube linear electromagnetic actuators were used to generate the power source for the exoskeleton [20]. Based on a hypothesis, the correction of a stiff-legged gait pattern entails addressing both the primary and secondary gait deviations to restore a physiological gait pattern. Therefore, an expanded impedance control strategy was used to generate the corrective moments, only when the leg was in swing motion, by switching the force field that affects the obliquity of the pelvis. It has been demonstrated that this system can be effective in guiding the pelvis to the frontal plane via force fields used for altering pelvic obliquity.
Figure 3.
(a) Robotic gait rehabilitation (RGR) trainer [20]; and (b) LOKOIRAN [21].
Figure 3.
(a) Robotic gait rehabilitation (RGR) trainer [20]; and (b) LOKOIRAN [21].

Recently, a new gait training robotic device (LOKOIRAN) was designed to be suitable for patients with various diagnoses, such as SCI, stroke, multiple sclerosis (MS) and sport injury cases, aging and people with balance and locomotion disorders. Figure 3b illustrates the system’s prototype. This gait training device delves into several subsystems, consisting of body weight support, a leg exoskeleton, a driving system and a transmission system. It employs alternating current (AC) motors connected to a slide-crank mechanism via belts and pulleys to provide the energy for the system [21]. The implemented control system enables flexibility in motion and permits subjects to change the speed of the foot plates by engaging the speed control mode and the admittance control mode.
The evaluated motorized lower-limb gait rehabilitation orthosis systems mentioned are only a fraction of the currently existing rehabilitation orthoses. However, it could be summarized from these examples that their development has reached an advanced level; whereby, many of the lower-limb gait rehabilitation orthoses, based on electrical motors, have already been commercialized. With the speed of growth in their mechanical design, as well as, the implementation of advanced control schemes and strategies, the space available for enhancements might soon reach its peak.
2.2. Attributes of Pneumatic Muscle Actuators (PMA)
The implementation of pneumatic muscles enables pneumatic power to be transferred into mechanical power. This actuator will be shortened in the longitudinal direction and enlarged in the radial direction during the contraction stage, when it is being inflated; when being deflated, it will turn back to its original form. The pneumatic muscle is able to employ a tensile force to an attached load during the contraction stage. This force is unidirectional, whereby the original length of a certain designed diameter and the internal pressure will determine its value. Moreover, this actuator also inhibits nonlinear behaviors, such as hysteresis, compressibility and time variance. However, in exchange, this pneumatic muscle also has an inherently compliant attribute, which is suitable for a human-robotics system. This type of actuator is similar to the human muscle principle; a shorter muscle length produces a smaller contracting force and vice versa. Furthermore, it is comparable to electric actuators, due to the direct coupling to the load, the structural optimization and the power/weight ratio.
In addition to the abovementioned attributes, there exist two main weaknesses that limit the application of pneumatic muscles. The first weakness is the nonlinear behavior of pressure build-up, and the second weakness is the hysteresis effect, due to its geometric structure. These drawbacks cause complexity when scheming high-performance control systems. Therefore, this research is dedicated to solving these problems, using a simple paradigm and control strategy for handling the sudden increase in pressure and the hysteresis behavior of the PMA. Based on the proposed empirical-based static force mathematical model, which consist of a correction factor caused by the effect of the end caps, it showed an inconsistency of the high contracting ratios derived by the famous researcher, Tondu et al., [22]. The extreme difficulty in constructing an accurate mathematical model was established by the fact that nearly all of the present models proposed were approximations. This model was later modified through various methods, used by other researches, to further improve the mathematical model [23,24,25,26,27,28,29,30].
2.3. Pneumatic Muscle Actuated Lower-Limb Rehabilitation Orthosis System
Compared to the motorized lower-limb rehabilitation orthosis systems (i.e., DC motors, AC motors, linear actuators, SEA, servomotors, brushless motors and pneumatic cylinders), the growth of pneumatic muscle-actuated rehabilitation orthosis systems has been rather poor. This is also the description of the development of the control system for pneumatic muscles. However, numerous research studies in the last 10 years have tried to introduce these types of actuation systems into the lower-limb rehabilitation robotics field. This may indicate a significant shift of researchers’ interests towards the implementation of a pneumatic muscle-actuated lower-limb rehabilitation orthosis.
A hip orthosis exoskeleton powered by pneumatic artificial muscle (PAM) was invented by Vimieiro et al., at the Bioengineering Laboratory in 2004, as shown in Figure 4a [31,32]. This exoskeleton system was designed and modeled for patients with a motor deficit, a result of poliomyelitis. It consists of two main parts: the first is a polyethylene pelvic brace to provide the stability for the orthosis system, and the second is a polyethylene support for the thigh. This orthosis system implements position control using potentiometers for activating the control valves, either to pressurize the PAM or to return it to neutral status. Based on clinical tests, it was proven that this rehabilitation engineering was able to provide equipment and devices for aiding patients in recovering their movements or to improve their quality of life. A better gait pattern and an improvement of the left step transposition in the toe-off phase were reported by patients.
Later came the robotic gait trainer (RGT) for stroke rehabilitation, which is an ankle rehabilitation device powered by lightweight springs over muscle (SOM), proposed by Kartik et al. It was developed in 2006, as shown in Figure 4b [33]. The design is structurally based on a tripod mechanism with one fixed link. This orthosis device is able to provide the dorsiflexion and plantar-flexion, as well as the inversion and eversion when moving the foot about the ankle joint. It implements an angular position for the control system and uses two types of sensors (i.e., potentiometer and pressure sensor). In this study, Kartik et al. suggested that the range and position of motion (ROM) is necessary for safe dorsiflexion/plantar-flexion and inversion/eversion movements. This was proven by the results from their analysis, which demonstrated that the tripod structure was able to generate a ROM that matches the safe anatomical range of the ankle joint during the gait cycle.
Figure 4.
(a) Hip orthosis [32]; (b) robotic gait trainer (RGT) [33]; and (c) ankle-foot orthosis (AFO). SOM, springs over muscle [36].
Figure 4.
(a) Hip orthosis [32]; (b) robotic gait trainer (RGT) [33]; and (c) ankle-foot orthosis (AFO). SOM, springs over muscle [36].

In contrast, the prototype of an ankle-foot orthosis (AFO) powered by artificial pneumatic muscle was also introduced by Ferris et al. in 2006. The prototype was of the human lower-limb that could comfortably provide dorsiflexion and plantar flexion torque during walking motion training, as illustrated in Figure 4 [34,35,36]. This orthosis is composed of a hinge joint, a carbon fiber shell and two pneumatic artificial muscles. The proportional myoelectric control, using a PC-based controller (real-time control), had been implemented in the control system. The performance of the novel controller enables naive wearers to promptly become accustomed to the orthosis, without the pneumatic muscle co-contraction. It is believed that this orthosis design will be useful in learning human walking biomechanics and in providing assistance of patients with neurological injuries during rehabilitation training.
Conversely, by focusing on the development of “human friendly” exoskeleton orthosis systems, Costa et al. in 2006 proposed a powered lower-limb orthosis, which can produce powerful, yet naturally safe, operations for paraplegic patients, as illustrated in Figure 5a [37]. This was realized by combining a highly compliant actuator (PMA) with an embedded intelligent control system (a three level PID joint torque control scheme) to manipulate the antagonistic actuators of the exoskeleton. It is difficult to provide a system with dependability and inherent safety, while utilizing a highly compliant actuator, using conventional designs alone. However, the design philosophy of this system may provide a significant insight into the development of rehabilitation orthosis systems and improve rehabilitative procedures for paraplegic patients.
Figure 5.
(a) Powered lower-limb orthosis [37]; (b) Robotic Gait Trainer in Water (RGTW) [38]; and (c) powered ankle-foot exoskeleton [39].
Figure 5.
(a) Powered lower-limb orthosis [37]; (b) Robotic Gait Trainer in Water (RGTW) [38]; and (c) powered ankle-foot exoskeleton [39].

Contrastingly, Figure 5b shows the Robotic Gait Trainer in Water (RGTW). This system was designed for the development of an underwater gait training orthosis by Miyoshi et al. in 2008 [38]. The RGTW is a hip-knee-ankle-foot orthosis with pneumatic McKibben actuators as the actuation system. The basis of the angular motion for the control system was determined by a healthy subject walking under water. The aim for this study was to achieve repetitive physiological gait patterns to improve movement dysfunctions. By implementing this orthosis system device, not only the effect of hydrotherapy should be expected, but standard treadmill training is also included. This could also be sufficiently effective for patients undergoing hip-joint movement dysfunction treatments.
In 2009, Malcom et al. developed a powered ankle-foot exoskeleton, which investigated the role of the tibialis anterior (TA) in the walk-to-run condition, as shown in Figure 5c [39,40,41,42]. The pneumatic muscles are used to provide the dorsiflexion and plantar-flexion torques through the assisting orthosis for incomplete SCI patients during assist and resist conditions. This orthosis device implements an electromyography (EMG) control with a feed-forward algorithm; whereby, a set of rotary encoders and load cells are used to measure the treadmill belt speed, ankle angle and the dorsiflexion and plantar-flexion torques. Through a hypothesis developed from gait transitions and research evaluations, it was demonstrated that the powered exoskeleton had great potential in fundamental gait studies.
After the introduction of AFO by Ferris et al., the development of this system was later continued by Sawicki et al., a few years later. In 2009, the pneumatically powered knee-ankle-foot orthosis (KAFO) was proposed through the study of human motor adaptation, gait rehabilitation and locomotion energetics; as shown in Figure 6a [43]. Compared to the AFO control system, this system implements a physiologically-inspired controller that utilized the patient’s muscle information, which is determined using electromyography to measure the timing and amount of the artificial muscle forces. Based on several research findings, it is believed that powered knee-ankle-foot orthoses are promising for basic science and clinical applications, since they have successfully assisted individuals with incomplete SCI during locomotor training, metabolic energy consumption and neural adaptation for neurologically intact human walkers.
Figure 6.
(a) Knee-ankle-foot orthosis (KAFO) [43]; (b) continuous passive motion (CPM) [44]; and (c) power-assist lower-limb orthosis [45].
Figure 6.
(a) Knee-ankle-foot orthosis (KAFO) [43]; (b) continuous passive motion (CPM) [44]; and (c) power-assist lower-limb orthosis [45].

New high performance devices are required for applying continuous passive rehabilitation training for post-traumatic disabilities regarding the bearing joints of the inferior limbs; therefore, the introduction of a stationary gait and ankle trainer, known as continuous passive motion (CPM), was based on the rehabilitation system illustrated in Figure 6b [44]. This system was invented by Tudor et al. in 2009, using pneumatic muscles as the actuation system for providing a low-cost rehabilitation system. With the lower limb being immobilized during the rehabilitation (patient lying on a bed), it allows for the hip and knee joints to perform recovery exercises. When compared to the electro-mechanically-actuated rehabilitation system, which causes discomfort for the users, due to the introduction of shocks upon the reversion of the sensing of motion, this system utilizes a source of energy, namely air, which enables the shocks that occur to be completely absorbed.
Figure 6c shows a power-assist lower-limb orthosis, proposed by Yeh et al. in 2010, for assisting the elderly and individuals suffering from sport injuries with walking or climbing stairs using McKibben pneumatic muscles as the actuation system [45]. For achieving better tracking performance, an inverse control for the feed-forward compensation is constructed using the hysteresis model, which is then combined with loop transfer recovery (LTR) feedback control. In addition to ensuring smooth switching between different phases during operation, bump-less switching compensators are implemented in the combined control system. Based on the research findings, it was demonstrated that the orthosis was able to effectively accomplish the assistive function of human locomotion during walking and climbing stairs.
Moreover, the two-degrees of freedom active ankle-foot orthosis (AAFO) was designed and manufactured in 2011 by Carberry et al. for post stroke rehabilitation, exemplified in Figure 7a [46]. By implementing a novel actuator linkage using air muscles, a lightweight and discrete orthosis system was achieved. This design enables the entire actuation system to be placed behind the leg of the orthosis. A feedback control that utilizes a fuzzy logic gait phase detection system is implemented with the use of two types of sensory devices: the first is force sensitive resistors (FSRs), located under the insole of the shoe; the second is the rotary encoder for measuring the angular displacement of the ankle joint. However, it is unlikely that suitable methods of supplying air pressure to the device can be found, even though this system exhibits many desirable features. This system may well be beneficial to after-stroke patients, as it allows a more complete rehabilitation of the ankle joint.
Figure 7.
(a) Active ankle-foot orthosis (AAFO) [46]; (b) bio-inspired active soft orthotic for ankle-foot pathologies [47]; and (c) active modular elastomer for soft wearable assistance robots [48].
Figure 7.
(a) Active ankle-foot orthosis (AAFO) [46]; (b) bio-inspired active soft orthotic for ankle-foot pathologies [47]; and (c) active modular elastomer for soft wearable assistance robots [48].

In 2011, a bio-inspired active soft orthotic device for ankle foot pathology was developed by Park et al. for treating gait pathologies associated with neuromuscular disorders, as shown in Figure 7b [47]. By utilizing the advantages of the pneumatic artificial muscle actuators, an inspired biological musculoskeletal system with a muscle-tendon-ligament structure was introduced as the design of this orthosis system. Three types of sensors are used for the control system: the first is a strain sensor for measuring ankle joint angle changes; the second is an internal measurement unit (IMU) to measure the orientations of the lower leg and the foot; and the third is a pressure sensor to identify the foot ground contacts and gait cycle events. The implemented feed-forward and feedback controllers were able to demonstrate a good repeatability of the ankle joint angle control. Based on the outcomes of the result, this research is believed to be capable of providing rich spaces for growth for rehabilitation techniques for ankle pathologies in the near future.
Furthermore, in 2012, Park et al. also developed another lower-limb rehabilitation orthosis, known as the active modular elastomer sleeve for soft wearable assistance robots, to support and monitor human joint motions, as illustrated in Figure 7c [48]. With a different system design proposal, this orthosis device implements a series of miniaturized pneumatically-powered McKibben-type actuators. These actuators are wrapped in between monolithic elastomer sheets, so as to exert tension. Through shape and rigidity control, simultaneous motion sensing and active force response are allowed by wrapping the material around the joint. The muscle contractions for the actuators are measured by placing the hyper-elastic strain sensor perpendicularly to the axial direction of each corresponding actuator. This strain sensor will detect the radial expansion of each actuator, which is then transformed to the contraction length of the muscle actuator. Based on the preliminary study of this device system, a few improvements should still be made within the design structure and control system.
Figure 8a presents a developed, inexpensive, pneumatically-powered assisted knee-ankle-foot orthosis (KAFO), using McKibben actuators, for providing assistance during gait training; proposed by Teng et al. in 2012 [49]. To determine the relationship between the inclination angles of each joint with pneumatic muscle displacement, the equation is expressed by using a trigonometry method; employed in the control system algorithm and strategy. However, this lower-limb orthosis system is still in the early development stage of design improvement; therefore, further evaluation on system performance has yet to be concluded.
Figure 8.
(a) Inexpensive KAFO [49]; (b) orthosis for walking assistant [50]; and (c) a six degrees of freedom (DOF) robotic orthosis for rehabilitation [52].
Figure 8.
(a) Inexpensive KAFO [49]; (b) orthosis for walking assistant [50]; and (c) a six degrees of freedom (DOF) robotic orthosis for rehabilitation [52].

In 2013, Kawamura et al. initiated the development of an orthosis for walking assistance. It is designed using straight fiber pneumatic artificial muscles in assisting the forward swing of the leg and increasing the step length to further recuperate patients’ walking abilities, as illustrated in Figure 8b [50]. The pressure control unit is implemented using the developed dual pneumatic control system (DPCS) by manipulating the pulse-width modulation (PWM) signal to control the valve. This orthosis system has yet to reach its completion and requires further improvements in its control scheme and strategy when handling the nonlinearity behavior of the actuator. The assistant force generated by the orthosis system is not adequate enough for driving the intended task.
Recently, in 2013, Hussain et al., invented a six degree of freedom robotic orthosis for gait rehabilitation to encourage patients’ voluntary contribution in the robotic gait training process, as shown in Figure 8c [51,52]. It implements four pneumatic muscle actuators, which are arranged as two pairs of antagonistic mono-articular muscles at the hip and knee joint angles. This system integrates the AAN gait training algorithm based on the adaptive impedance control, employing a boundary-layer-augmented sliding mode control (BASMC)-based position controller, to afford an interactive robotic gait training system. It was proven that the implementation of the adaptive impedance control scheme is able to provide gait motion training that is comparable to the one provided by physical therapists. Additionally, the result findings demonstrated that an increase/decrease in the human’s voluntary participation during gait training will result in a decrease/increase of robotic assistance.
Table 1.
Comparison of existing pneumatic muscle-actuated lower-limb rehabilitation orthosis systems.
| Comparison of Existing Pneumatic Muscle Actuated Lower-Limb Rehabilitation Orthosis Systems | ||||||
|---|---|---|---|---|---|---|
| Orthosis System | Time Scale | Robotic System Types | Actuators | Antagonistic Actuators | Control System | References |
| Hip orthosis exoskeleton | 2004 | Hip orthoses | McKibben pneumatic muscle | Mono-articular for hip joint (flexion) | Position control using the potentiometers for activating the control valves | [31,32] |
| Robotic gait trainer (RGT) | 2006 | Foot orthoses | Lightweight spring over muscle (SOM) | Mono-articular for ankle joint (dorsiflexion) | Angular position control system | [33] |
| Ankle-foot orthosis (AFO) | 2006 | Foot orthoses | McKibben pneumatic muscle | Mono-articular for ankle joint (dorsiflexion and plantar-flexion) | Proportional myoelectric control using a PC-based controller | [34,35,36] |
| Powered lower-limb orthosis | 2006 | Treadmill gait trainers | Pneumatic muscle actuators (PMA) | Mono-articular for hip joint (flexion, extension, abduction and adduction), knee joint (flexion and extension) and ankle joint (dorsiflexion and plantar-flexion) | Intelligent embedded control mechanism (a three-level PID joint torque control scheme) | [37] |
| Robotic gait trainer in water (RGTW) | 2008 | Over-ground gait trainers with orthosis | McKibben pneumatic muscle | Mono-articular for hip joint (flexion and extension) and knee joint (flexion and extension) | Position control system | [38] |
| Powered ankle-foot exoskeleton | 2009 | Foot orthoses | Pneumatic artificial muscle (PAM) | Mono-articular for ankle joint (dorsiflexion and plantar-flexion) | Electromyography (EMG) control with feed-forward algorithm | [39,40,41,42] |
| Powered knee-ankle-foot orthosis (KAFO) | 2009 | Knee and foot orthoses | McKibben pneumatic muscle | Mono-articular for knee joint (flexion and extension) and ankle joint (dorsiflexion and plantar-flexion) | Physiological-inspired controller using electromyography | [43] |
| Continuous passive motion (CPM) | 2009 | Stationary gait and ankle trainers | Pneumatic artificial muscle (PAM) | _ | _ | [44] |
| Power-assist lower-limb orthosis | 2010 | Over-ground gait trainers (mobile) | McKibben pneumatic muscle | Mono-articular for knee joint (extension) | Inverse control and loop transfer recovery (LTR) feedback control | [45] |
| Active ankle-foot orthosis (AAFO) | 2011 | Foot orthoses | McKibben pneumatic muscle | Mono-articular for ankle joint (plantar-flexion) | Feedback control that utilizes a fuzzy logic gait phase detection system | [46] |
| Bio-inspired active soft orthotic device | 2011 | Foot orthoses | Pneumatic artificial muscle (PAM) | Mono-articular for ankle joint (dorsiflexion, inversion and eversion) | Feed-forward and feedback controllers | [47] |
| Active modular elastomer sleeve for soft wearable assistance robots | 2012 | Knee orthoses | Miniaturized McKibben pneumatic muscle | Mono-articular for knee joint (flexion and extension) | Through shape and rigidity control | [48] |
| Knee-ankle-foot orthosis (KAFO) | 2012 | Knee and foot orthoses | Pneumatic artificial muscle (PAM) | Mono-articular for hip joint (flexion and extension) and knee joint (flexion and extension) | _ | [49] |
| Orthosis for walking assistant | 2013 | Hip orthoses | Straight fiber pneumatic artificial muscle (PMA) | Mono-articular for hip joint (flexion) | Dual pneumatic control system (DPCS) with a pulse-width modulation (PWM) signal | [50] |
| Six degree of freedom robotic orthosis for gait rehabilitation | 2013 | Treadmill gait trainers | McKibben pneumatic muscle | Mono-articular for hip joint (flexion and extension) and knee joint (flexion and extension) | Adaptive impedance control using boundary-layer-augmented sliding mode control (BASMC) | [51,52] |
Table 1 shows the comparison of existing pneumatic muscle actuated lower-limb rehabilitation orthosis systems. Based on the evaluations of these systems for the past 10 years, it can be concluded that researchers’ interests shifted to the implementation of the natural compliant-type actuators (i.e., McKibben muscle, rubbertuators, air muscle, PAM, PMA, etc.). This was proven by the development of different types of assistive gait rehabilitation orthosis system prototypes, including foot orthoses, hip orthoses, knee-foot orthoses, stationary gait and ankle trainers, over-ground gait trainers with orthoses, mobile over-ground gait trainers and treadmill gait trainers [31,32,33,34,35,36,37,38,39,40,41,42,43,44,45,46,47,48,49,50,51,52]. In addition, the improvement of the control system implementation, since the year 2004 up until 2013, showed that researchers were gradually trying to improve the control of pneumatic muscle-actuated lower-limb orthoses, as illustrated in Table 1. In the beginning, only a simple angular position control was proposed to activate the control valves. Later, it was shifted to the implementation of proportional myoelectric control, intelligent embedded control, inverse control, feedback control (which utilized a fuzzy logic), rigidity control and, subsequently, adaptive impedance control. The exponential growth of these systems might also be due to the advantageous attributes of the pneumatic muscle actuator, as well as its nonlinear dynamic behavior. However, according to the evaluations of currently existing systems, it could be understood that suitable control schemes and strategies have yet to be found. Regardless, this only suggests that the space available for orthosis device improvements and enhancements, in either mechanical design or control scheme and strategy, is still boundless. This opportunity will attract researchers’ interest in devising distinctive ideas and strategies to rectify previous methods or to discover new methods for the control system. Even though many different robotic system types for lower-limb rehabilitation orthoses have been developed, each prototype only implements the use of mono-articular muscles alone, either for hip, knee or ankle joints (i.e., flexion, extension, abduction, adduction, plantar-flexion, dorsiflexion, inversion, eversion, etc.). However, no attempt has been made to introduce the implementation of bi-articular muscles, either to compensate for the lack of force/torque at the joints or to improve the control scheme and strategy performance.
3. Control Scheme and Strategy
The need for improved control strategies in handling the antagonistic actuator of pneumatic muscles will determine the progression of growth in lower-limb rehabilitation orthosis systems. Based on previous research, it is possible to utilize a standard PID controller in a feedback loop to control the joint angle of the assistive robotics within desired values. Nevertheless, without additional model paradigms or integrated controllers, it may not be able to accurately control a compliant robotic system, due to the complex and highly nonlinear dynamics of the pneumatic muscle. Thus, the resulting position control would be rather poor. For that reason, the implementation of conventional PID controllers should come with additional control strategies, such as additional model paradigms, auto-tuning, a nonlinear system, adaptive control, intelligent control (i.e., neural network, fuzzy logic, genetic algorithm, etc.), robust control and stochastic control. A control scheme and strategy that enables a much simpler approach for the control system implementation in orthotic rehabilitation robotics is strongly desired. Therefore, in this review article, the implementation of co-contraction controls in manipulating the antagonistic actuators and the advantages will be discussed and elaborated thoroughly.
3.1. Pneumatic Muscle Actuators’ Control System
Even though numerous control systems have been established for pneumatic actuators, especially pneumatic cylinders, only a fraction have been for artificial pneumatic muscles. From 1993 to 1995, some examples of well-known controllers that could be implemented, adopted by Caldwell et al., were tested on a feed-forward PID regulator to develop an adaptive controller for a pneumatic artificial muscle (PAM) manipulator [53,54,55]. Likewise, in 1995, Gustavo et al. developed an adaptive position control for antagonistic pneumatic muscle actuators via adaptive pole-placement [56]. Furthermore, in 1995, Hamerlain et al. introduced a variable structure control that included a high robust performance, with respect to model errors, parameter variations and quick responses [57]. Within the same year, Iskarous et al. proposed intelligent control using a neuro-fuzzy network to control the complex dynamic properties of muscle actuators [58]. In 1996, van der Smagt et al., introduced a neural network-based controller to a pneumatic robot arm; with complex, highly nonlinear dynamics that change over time, due to internal influences [59]. Additionally, in 1996, Cai and Yamaura presented a robust tracking control approach by implementing a sliding mode controller [60]. Within the same year, Colin et al. proposed position and PID controllers for force manipulation using adaptive pole-placement techniques [61].
Afterwards, in 1999, Repperger et al. handled the nonlinear factor with a nonlinear feedback controller, using a gain scheduling method [62]. Tondu and Lopez also employed a sliding-mode control approach in the year 2000 [22]. Contrarily, Carbonell et al. introduced nonlinear control of a pneumatic muscle actuator by using adaptive back-stepping and sliding-mode tracking controllers in 2001 [63,64]. In 2003, Folgheraiter et al. developed an adaptive controller based on a neural network for an artificial hand [65]. In the same year, Balasubramanian and Rattan proposed the feed-forward control of a nonlinear pneumatic muscle system using fuzzy logic [66]. From 2004 to 2006, Ahn and Tu proposed an intelligent switching control scheme by utilizing a learning vector quantization neural network and a nonlinear PID control to improve the control performance of a PAM manipulator using a neural network (NN) [67,68]. In 2008, Harald et al., developed the cascade sliding mode (SM) control scheme for a high-speed linear axis pneumatic muscle [69]. Moreover, Seung et al. proposed a trajectory tracking control using a neural network based on PID control in 2009 [70]. In 2010, Xing et al. introduced the tracking control of pneumatic artificial muscle actuators based on a sliding-mode and non-linear disturbance observer (SMCBNDO) in order to improve the robustness and performance of the trajectory tracking control [71].
Unfortunately, applying a complicated control algorithm does not always indicate the best solution used to control pneumatic muscles. There is an argument in the field of rehabilitation robotics regarding what is the best control system of the orthotic problem for rehabilitation. It is preferred that control systems be simplified as much as possible; multiple sensors and impedances only increase the complexity of control systems. Rather than using a very complicated algorithm for a system, a much simpler approach may be proposed.
3.2. Co-Contraction of Antagonistic Muscle Control
An early study of the co-contraction of antagonist muscle control was carried out by Neville Hogan in 1984, which introduced the adaptive control of mechanical impedance by co-activation of antagonist muscles [72]. This research study focused on biomechanical modeling and the analysis of simultaneous co-activation of antagonist muscles by controlling the mechanical impedance. A dynamic optimization theory was used to obtain a prediction of antagonist co-activation, thus enabling a criterion function minimization, which represented the task of maintaining an upright posture. Based on the research findings, it was concluded that under normal psychological conditions, significant levels of the simultaneous activation of antagonist muscles were observed. In addition, the levels of antagonist muscles co-activation were also increased with the increment of gravitational torques. The modeled isometric muscle torque is represented in the following:
Tbiceps = (To − KQSθ)ubiceps
Ttriceps = −(To + KQSθ)utriceps
(u) is the neural control
Joint stiffness at maximum activation is:
where (To) is the maximum isometric muscle torque.
Subsequently, in 1988, William R. Murray et al. carried on this research by implementing a simple model demonstrating the quasi-static behavior of skeletal muscles, in which the force generated by the muscle was the neural activation of the muscle and the bilinear function of the muscle length [73,74]. This muscle activation could be defined as the synchronized activation of agonist and antagonist muscle groups, acting in the same plane and crossing at the same joint. It was verified that the relationship between antagonistic actuators (i.e., agonist and antagonist) could be linearly related in the occurrence of various fixed levels of co-contractions. In other words, the plane of agonist and antagonist muscle activity, the “equilibrium line” or the locus of all feasible levels of muscular activation, will be a straight line for which a particular equilibrium position is sustained. In addition, the intercepts and slopes of these equilibrium lines are such that the expected levels of muscular activation are counterintuitive. This explained why the anterior activation levels were higher than the posterior activation levels for all, regardless of how low the levels of muscular activity were.
Since then, numerous research studies have been implemented on the co-contraction of antagonistic muscle control, which have proven its ability to increase the stiffness and stability at the joints during volitional movements [75,76,77,78,79,80,81,82,83,84,85,86]. Based on these research studies, it was shown that by utilizing information from the antagonistic muscle co-contraction, muscular activation levels could be manipulated to control the movements of the joints. Recently, in 2013, Klauer et al. introduced the nonlinear joint-angle feedback control of electrical stimulated and λ-controlled antagonistic muscle pairs, in order to control the human limb movements in neural-prosthetic systems [87,88]. The desired recruitment levels, λ, of both muscles were estimated using the electrical stimulation-evoked electromyography (EMG) measurements. The proposed controller enabled the tracking of reference joint torques and predefined muscular co-contraction using exact linearization methods. Based on the outcomes of the result, the control system was able to rapidly compensate for muscle fatigue and then change the muscular thresholds. It could be said that this is a prerequisite for a neural-prosthetic system’s practical application within clinical environments. The asymptotically stable system for the torques is depicted in the following:
where (λi) is the muscular recruitment level,
is the desired recruitment level, (q−1) is the backward shift operator, (q−2) is the delay of two sampling steps and (k) is the sampling index.
is the desired recruitment level, (q−1) is the backward shift operator, (q−2) is the delay of two sampling steps and (k) is the sampling index.
θ∈ [θmax,1, θmax,2]
a∈ [0,1]
bi ∈ [0,1]
3.3. Simulation of the Co-Contraction Model for Antagonistic Muscles
In recent years, plenty of research studies have been carried out on assistive robotics for rehabilitation, either using motors or pneumatic muscle actuators for the robotic system’s source of power [5,6,7,8]. Consequently, these studies have become the basis for many findings. Famous researchers in this field, such as Daniel Ferris, have mentioned that powered orthoses could assist the task-specific practicing of the gait, with the long-term goal of improving patient’s inherent locomotor capabilities [89]. According to Kalyan K. Mankala and Sunil K. Agrawal et al., passive swing assistance was able to assist patients, with less than ordinary muscle strength, to attain better gait trajectories [90]. Furthermore, analyses on the implementation of mono- and bi-articular actuators for achieving the high muscle moment required at the joints and better gait trajectories were also taken into consideration in real practice [91,92,93,94,95]. The study of antagonistic muscle co-contraction suggested that the control of the orthosis, which implements these mono- and bi-articular actuators, could achieve good joint stiffness and stability [75,76,77,78,79,80,81,82,83,84,85,86]. The design was biologically inspired (by human muscles), as it employed two compliant elements to manipulate the joints. Usually, this type of orthosis system, implemented antagonistically, actuated joints using the pneumatic-type muscle actuators. In addition, the co-contraction activations were also able to reduce the kinematic variability; whereby, through the increment of co-contraction activations, the kinematic variability could be reduced with the exception of the low co-contraction activation levels [96]. Therefore, it could be concluded that the modeling of co-contraction to represent the movement of antagonistic actuators may be beneficial.
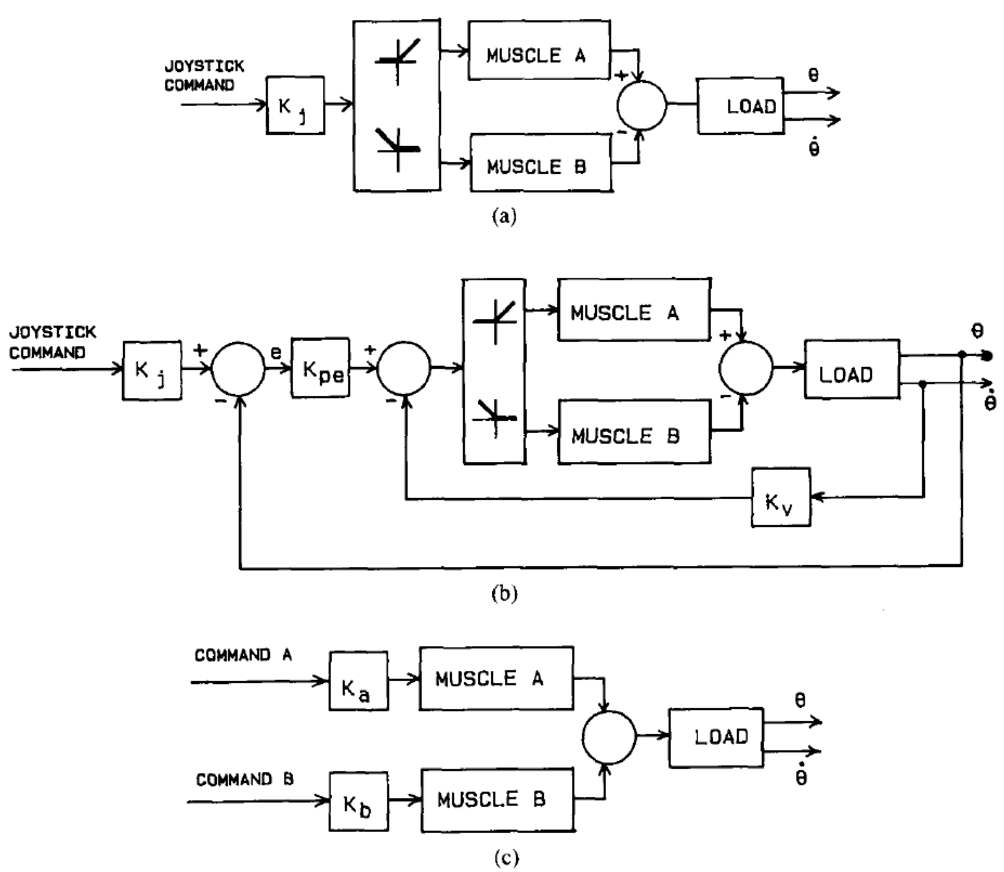
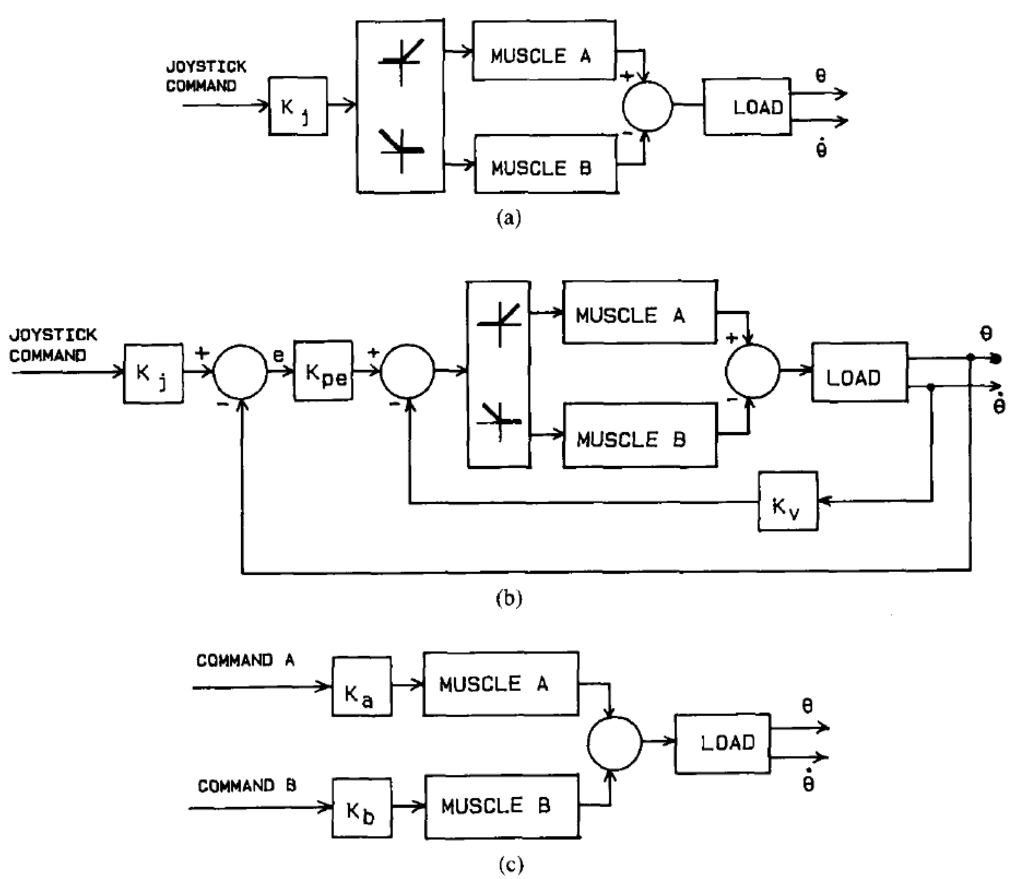
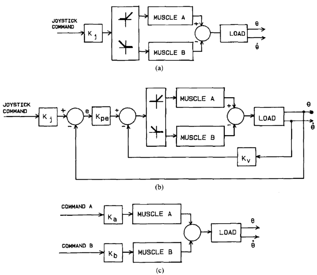
An early study of the co-contraction model was proposed by William K. Durfee et al. in 1989. They developed task-based methods for evaluating electrically-simulated antagonist muscle controllers in a novel animal model [97]. The stimulus activation levels of two antagonist muscles, which manipulated an anesthetized cat’s intact ankle joint, were determined by the controller output. In this study, three types of controllers were evaluated: the first was open loop reciprocal control; the second was P-D closed loop reciprocal control; and the third was open loop co-contraction control (Figure 9). Based on the results of the analysis, it was shown that in the visual feedback, the performance of the open loop co-contraction control was comparable to the performance of the P-D closed loop control. This suggested that, in some cases of clinical neural prosthesis implementation, the feedback controller may not be required for good control system performance. In addition, these results also suggested the importance of co-contraction for position control tasks in neural prostheses. However, the disadvantage of this control scheme was that it required more than one input command for each degree of freedom of motion, which could cause premature muscle fatigue.
Figure 9.
(a) Open loop reciprocal control; (b) P-D closed loop reciprocal control; and (c) open loop co-contraction control [97].
Figure 9.
(a) Open loop reciprocal control; (b) P-D closed loop reciprocal control; and (c) open loop co-contraction control [97].

A simulation study of the co-contraction model control scheme for simultaneously manipulating antagonistic actuators was reinitiated by Mohammed et al. in 2005. It was mentioned in their study of a co-contraction muscle control strategy for paraplegics that the co-contraction of antagonistic muscle functions (basically, quadriceps and hamstrings) is not necessarily restricted to opposing motion, but may yield to increasing joint stiffness and stable movements [98]. The magnitude of antagonistic muscle co-contractions was first determined based on the optimization of the static linear constraints of muscle forces acting on the joint; whereby, the redundancy of two muscles in co-contraction (i.e., agonist and antagonist) spanning the joint was resolved using the linear minimization of the total stress in the antagonistic muscles. Afterwards, the relationship between the amounts of muscle co-contractions and the maximum force for the antagonistic muscle actuators was computed by implementing weight factors. However, to ensure the robustness and the safe movement of the orthosis, due to the nonlinearity and the presence of a second order system, a high order sliding mode (HOSM) controller was implemented. In addition, Mohammed et al. continued their research in 2010 by introducing an inverse model that considered the muscular dynamic contraction of muscle actuators [99]. This dynamic contraction consisted of two main components: the first was activation dynamics, and the second was contraction dynamics (i.e., force-length and force-velocity relationships). However, the activation dynamics was neglected, as its role was assumed to not be essential during the optimization. The inability of most optimization models to compute muscle co-contractions may be caused by the utilization of monotonous increment objective functions that penalize every additional increment of muscle force. The amount of co-contraction muscle forces (i.e., quadriceps and hamstrings) was derived as follows:
The constraints are:
(ξq)and (ξh) are the weight factors;
(Fmax) is the maximum isometric muscle force;
(r) is the radius.
Subsequently, a simulation research study was instigated by Heitmann et al. in 2012 on the muscle co-contraction of a three-link biomechanical limb that modulates the damping and stability of the joints. This study was conducted to replicate the natural relationship, without information on anatomical detail, between the muscle activation and joint dynamics [100]. It was proven that the muscle co-contraction was able to alter the damping and the stiffness of the limb joint without altering the net joint torque, and its effect was incorporated into the model by attaching each manipulator joint with a pair of antagonist muscles. These muscles could be activated individually with each other using ideal mathematical forms of muscle co-contraction. This mathematical equation was derived from natural force-length-velocity relationships of contractile muscle tissue. From the simulation result and numerical stability analysis, it was proven that the damping in the biomechanical limb had increased consistently with the human motor control observation. Moreover, it was also revealed that under identical levels of muscle co-contraction, the bi-stable equilibrium positions could co-exist when the opponent muscles were configured with asymmetric contractile element force-length properties. There were two implications of these findings: the first was the practical implication for the nonlinear bio-mimetic actuator design; and the second was the theoretical implication of the biological motor control, which presumes that antagonist muscle systems are universally mono-stable.
In 2011, Kawai et al. had also instigated a simulation study for manipulating antagonistic mono- and bi-articular muscle actuators using a co-contraction-based model [101]. The purpose of this simulation study was to verify the proposed passivity-based control for two degrees of freedom (2 DOF) for human arm manipulators. The bi-articular manipulator dynamics for three muscle torques (i.e., two pairs of mono-articular and a pair of bi-articular actuators) was constructed in order to design the control inputs for the system. The important property of passivity was used to examine the stability analysis of the proposed control law, even though the bi-articular manipulator dynamics passivity could not be determined based on the antagonistic bi-articular muscles. Afterwards, in 2012, Sano, K.; Kawai, H. et al. proposed a simulation study of the same 2 DOF manipulator systems using open loop control [102]. Compared to their previous simulation study, the Lyapunov method was used to examine the stability analysis of the proposed control law. However, the anticipated approach did not coincide with the bi-articular manipulator dynamic’s uncertainties. This simulation study was then extended to a robust control method that enabled semi-global asymptotic tracking, using RISE control, due to an uncertain nonlinear model of the lower limb of the human body, in 2013 [103]. The results showed that the lower limb was able to be positioned in the desired trajectories in the presence of un-modeled bounded disturbances. However, the torque generated at the knee joint was less when compared to their previous method, due to the antagonistic bi-articular muscles. The contractile force of the flexor muscle (ufi) and extensor muscle (uei) was derived as follows:
where (i = 1, 2), (lp) and (ki) are the radius of the joints;
Ti = (uei − ufi)lp − (uei + ufi)kilp 2 qi + (ue3 − uf3 )lp − (ue3 + uf3) k3 lp 2(q1 + q2)
(q1) and (q2) are the hip and knee joint angles;
(ue1) and (uf1) are the antagonistic mono-articular muscles for the hip joint;
(ue2) and (uf2) are the antagonistic mono-articular muscles for the knee joint;
(ue3) and (uf3) are the antagonistic bi-articular muscles.
Within the same year (2013), Kawai et al. also proposed a design of the co-contraction level of antagonistic muscles with muscle contraction dynamics for tracking the control of human lower limbs [104,105]. The manipulation of the antagonistic muscle co-contraction level was dependent on the angular velocity of human lower limbs. Based on the research findings, it could be verified that the co-contraction of antagonist muscles played an important role in the joint’s stiffness and stability. In addition, the muscle co-contraction was not only useful for compensating for the joint’s stiffness and stability, it was also able to maneuver the direction of the output force.
3.4. Co-Contraction Model for Antagonistic Actuators
Numerous studies have been investigated regarding the co-contraction movements of human antagonistic muscles. However, their model implementations in controlling the antagonistic muscle actuators of lower-limb orthoses have not been completely discovered. In addition, any research paper that focuses on the implementation of mono-articular and bi-articular muscle actuators using pneumatic muscles for the lower-limb rehabilitation orthosis has yet to be extensively investigated; thus, simply actuating the actuators may not give a good result for the joint’s stiffness and the stability of the lower-limb leg orthosis and its position trajectory. Therefore, based on the evaluation and suggestion of the related research findings, the simultaneous co-contraction movements between the agonist and antagonist muscle actuators should be considered with respect to the control system.
4. Conclusions
In this review article, the evaluation and comparison of the developed lower-limb rehabilitation orthoses using the pneumatic muscle-type actuators, including the control algorithms and strategies intended to provide stiffness and stability with respect to the control system, were reviewed. Although a considerable amount of work is now complete, the field is still rapidly evolving. The issue of which is the most effective control algorithm is still widely open. However, randomized controlled trials are necessary for identifying suitable control algorithms, even though this is expensive and time consuming. In conclusion, a few remarks about suggestions for future research of pneumatic muscle-actuated gait trainer system are as follows: firstly, the pneumatic muscle actuators’ arrangement in the lower-limb orthosis should be antagonistic; secondly, the co-contractive movement of the antagonistic pneumatic muscles should provide good stiffness and stability for the leg orthosis system; thirdly, a model paradigm is essential for generating adequate co-contractive input data for manipulating the antagonistic muscle actuators; and finally, the developed model should be managed by controllers to deal with the presence of dynamic properties and the nonlinearity behavior of the system.
Acknowledgments
This work was supported by KAKENHI: Grant-in-Aid for Scientific Research (B) 21300202.
Author Contributions
Mohd Azuwan Mat Dzahir reviewed the related journal and conference papers, summarized the literature reviews and prepared the manuscript; Shin-ichiroh Yamamoto re-evaluated the manuscript.
Conflicts of Interest
The authors declare no conflict of interests.
References
- Wernig, A.; Muller, S.; Nanassy, A.; Cagol, E. Laufband therapy based on “rules of spinal locomotion” is effective in spinal cord injured persons. Eur. J. Neurosci. 1995, 7, 823–829. [Google Scholar] [CrossRef]
- Wernig, A.; Nanassy, A.; Muller, S. Maintenance of locomotor abilities following laufband (treadmill) therapy in para- and tetraplegic persons: Follow-up studies. Spinal Cord 1998, 36, 744–749. [Google Scholar]
- Dietz, V.; Muller, R.; Colombo, G. Locomotor activity in spinal man: Significance of afferent input from joint and load receptors. Brain 2002, 125, 2626–2634. [Google Scholar] [CrossRef]
- Dietz, V.; Harkema, S.J. Locomotor activity in spinal cord-injured persons. J. Appl. Physiol. 2004, 96, 1954–1960. [Google Scholar] [CrossRef]
- Díaz, I.; Gil, J.J.; Sánchez, E. Lower-limb robotic rehabilitation: Literature review and challenges. J. Robot. 2011, 2011, 759764:1–759764:11. [Google Scholar]
- Marchal-Crespo, L.; Reinkensmeyer, D.J. Review of control strategies for robotic movement training after neurologic injury. J. Neuro-Eng. Rehabil. 2009, 6, 20:1–20:15. [Google Scholar]
- Pennycott, A.; Wyss, D.; Vallery, H.; Klamroth-Marganska, V.; Riener, R. Towards more effective robotic gait training for stroke rehabilitation: A review. J. Neuro-Eng. Rehabil. 2012, 9, 1–13. [Google Scholar] [CrossRef]
- Dollar, A.M.; Herr, H. Lower extremity exoskeletons and active orthoses: Challenges and state-of-the-art. IEEE Transact. Robot. 2008, 24, 144–158. [Google Scholar] [CrossRef]
- Colombo, G.; Wirz, M.; Dietz, V. Driven gait orthosis for improvement of locomotor training in paraplegics patients. International Medical Society of Paraplegia. Spinal Cord 2001, 39, 252–255. [Google Scholar] [CrossRef]
- Jazernik, S.; Colombo, G.; Morari, M. Automatic gait pattern adaptation algorithms for rehabilitation with a 4-DOF robotic orthosis. IEEE Transact. Robot. Autom. 2004, 20, 574–582. [Google Scholar] [CrossRef]
- Lunenburger, L.; Colombo, G.; Riener, R. Biofeedback for robotic gait rehabilitation. J. Neuro-Eng. Rehabil. 2007, 4, 1:1–1:11. [Google Scholar] [CrossRef]
- Freivogel, S.; Schmalohr, D.; Mehrholz, J. Improved walking ability and reduced therapeutic stress with an electromechanical gait device. J. Rehabil. Med. 2009, 41, 734–739. [Google Scholar] [CrossRef]
- Fisher, S.; Lucas, L.; Thrasher, T.A. Robot-assisted gait training for patients with hemiparesis due to stroke. Top Stroke Rehabil. 2011, 18, 269–276. [Google Scholar] [CrossRef]
- West, R.G. Powered Gait Orthosis and Method of Utilizing SAME. U.S. Patent 6689075, 29 January 2004. [Google Scholar]
- Veneman, J.; Kruidhof, R.; Hekman, E.; Ekkelenkamp, R.; van Asseldonk, E.; van der Kooij, H. Design and evaluation of the LOPES exoskeleton robot for interactive gait rehabilitation. IEEE Trans. Neural Syst. Rehabil. Eng. 2007, 15, 379–386. [Google Scholar]
- Vallery, H.; Veneman, J.; van Asseldonk, E.; Ekkelenkamp, R.; Buss, M.; van der Kooij, H. Compliant actuation of rehabilitation robots. IEEE Robot. Autom. Mag. 2008, 15, 60–69. [Google Scholar]
- Banala, S.K.; Kim, S.H.; Agrawal, S.K.; Scholz, J.P. Robot assisted gait training with active leg exoskeleton (ALEX). IEEE Trans. Neural Syst. Rehabil. Eng. 2009, 17, 2–8. [Google Scholar] [CrossRef]
- Banala, S.K.; Agrawal, S.K.; Kim, S.H.; Scholz, J.P. Novel gait adaptation and neuromotor training results using an active leg exoskeleton. IEEE/ASME Trans. Mechatron. 2010, 15, 216–225. [Google Scholar] [CrossRef]
- Monaco, V.; Galardi, G.; Coscia, M.; Martelli, D.; Micera, S. Design and evaluation of NEUROBike: A neuro-rehabilitative platform for bedridden post-strike patients. IEEE Trans. Neural Syst. Rehabil. Eng. 2012, 20, 845–852. [Google Scholar]
- Taherifar, A.; Mousavi, M.; Rassaf, A.; Ghiasi, F.; Hadian, M.R. LOKOIRAN—A novel robot for rehabilitation of spinal cord injury sand stroke patients. In Proceedings of the RSI/ISM International Conference on Robotics and Mechatronics, Tehran, Iran, 12–14 February 2013.
- Pietrusinski, M.; Cajigas, I.; Severini, G.; Bonato, P.; Mavroidis, C. Robotic gait rehabilitation trainer. IEEE/ASME Trans. Mechatron. 2014, 19, 490–499. [Google Scholar] [CrossRef]
- Tondu, B.; Lopez, P. Modelling and control of McKibben artificial muscle robot actuators. IEEE Control Syst. Mag. 2000, 20, 15–38. [Google Scholar] [CrossRef]
- Caldwell, D.G.; Razak, A.; Goodwin, M. Braided artificial muscle actuators. In Proceedings of the IFAC, Southampton, UK, 18–21 April 1993; pp. 507–512.
- Caldwell, D.G.; Medrano-Cerda, G.A.; Goodwin, M. Characteristics and adaptive control of pneumatic muscle actuators for a robotic elbow. In Proceedings of the International Conference Robotics Automation, San Diego, CA, USA, 8–13 May 1994; Volume 4, pp. 3558–3563.
- Caldwell, D.G.; Medrano-Cerda, G.A.; Goodwin, M. Control of pneumatic muscle actuators. IEEE Control Syst. Mag. 1995, 15, 40–48. [Google Scholar] [CrossRef]
- Caldwell, D.G.; Tsagarakis, N.; Medrano-Cerda, G.A. Biomimetic actuators: Polymeric pseudo muscular actuators and pneumatic muscle actuators for biological emulation. Mechatronics 2000, 10, 499–530. [Google Scholar] [CrossRef]
- Davis, S.; Tsagarakis, N.; Canderle, J.; Caldwell, D.G. Enhanced modeling and performance in braided pneumatic muscle actuators. Int. J. Robot. Res. 2003, 22, 213–227. [Google Scholar] [CrossRef]
- Davis, S.; Caldwell, D.G. Braid effects on contractile range and friction modeling in pneumatic muscle actuators. Int. J. Robot. Res. 2006, 25, 359–369. [Google Scholar] [CrossRef]
- Chou, C.P.; Hannaford, B. Static and dynamic characteristics of McKibben pneumatic artificial muscles. In Proceedings of the IEEE International Conference Robotics Automation, San Diego, CA, USA, 8–13 May 1994; Volume 1, pp. 281–286.
- Chou, C.P.; Hannaford, B. Measurement and modeling of McKibben pneumatic artificial muscles. IEEE Trans. Robot. Autom. 1996, 12, 90–102. [Google Scholar] [CrossRef]
- Nascimento, B.G.; Vimieiro, C.B.; Nagem, D.A.; Pinotti, M. Hip orthosis powered by pneumatic artificial muscle: Voluntary activation in absence of myoelectrical signal. Artif. Organs 2008, 32, 317–322. [Google Scholar] [CrossRef]
- Vimieiro, C.B.S.; do Nascimento, B.G.; Nagem, D.A.P.; Pinotti, M. Development of a hip orthosis using pneumatic artificial muscles. In Proceeding of TMSi, São Paulo, Spain, 18–19 July 2005.
- Bharadwaj, K.; Sugar, T.G. Kinematics of a robotic gait trainer for stroke rehabilitation. In Proceedings of the IEEE International Conference on Robotics and Automation, Orlando, FL, USA, 15–19 May 2006.
- Ferris, D.P.; Gordon, K.E.; Sawicki, G.S.; Peethambaran, A. An improved powered ankle-foot orthosis using proportional myoelectric control. Gait Posture 2006, 23, 425–428. [Google Scholar] [CrossRef]
- Ferris, D.P.; Czerniecki, J.M.; Hannaford, B. An ankle-foot orthosis powered by artificial pneumatic muscles. J. Appl. Biomech. 2005, 21, 189–197. [Google Scholar]
- Gordon, K.E.; Sawicki, G.S.; Fessis, D.P. Mechanical performance of artificial pneumatic muscles to power an ankle-foot orthosis. J. Biomech. 2006, 39, 1832–1841. [Google Scholar] [CrossRef]
- Costa, N.; Bezdicek, M.; Brown, M.; Gray, J.O.; Caldwell, D.G. Joint motion control of a powered lower limb orthosis for rehabilitation. Int. J. Autom. Comput. 2006, 3, 271–281. [Google Scholar] [CrossRef]
- Miyoshi, T.; Hiramatsu, K.; Yamamoto, S.I.; Nakazawa, K.; Akai, M. Robotic gait trainer in water: Development of an underwater gait-training orthosis. Disabil. Rehabil. 2008, 30, 81–87. [Google Scholar] [CrossRef]
- Malcom, P.; Fiers, P.; Segers, V.; van Caekenberghe, I.; Lenoir, M.; de Clercq, D. Experimental study on the role of the ankle push off in the walk-to-run transition by means of a powered ankle-foot-exoskeleton. Gait Posture 2009, 30, 322–327. [Google Scholar] [CrossRef]
- Malcom, P.; Segers, V.; van Caekenberghe, I.; de Clercq, D. Experimental study of the influence of the m. tibialis anterior on the walk-to-run transition by means of a powered ankle-foot-exoskeleton. Gait Posture 2009, 29, 6–10. [Google Scholar] [CrossRef]
- Galle, S.; Malcom, P.; Derave, W.; de Clercq, D. Adaptation to walking with an exoskeleton that assists ankle extension. Gait Posture 2013, 38, 495–499. [Google Scholar] [CrossRef]
- Malcom, P.; Derave, W.; Galle, S.; de Clercq, D. A simple exoskeleton that assist plantarflexion can reduce the metabolic cost of human walking. PLoS One 2013, 8, 0056137. [Google Scholar]
- Sawicki, G.S.; Fessis, D.P. A pneumatically powered knee-ankle-foot orthosis (KAFO) with myoelectric activation and inhibition. J. Neuro-Eng. Rehabil. 2009, 6, 23:1–23:16. [Google Scholar]
- Deaconescu, T.T.; Deaconescu, A.I. Pneumatic muscle actuated equipment for continuous passive motion. IAENG Trans. Eng. Technol. 2009. [Google Scholar] [CrossRef]
- Yeh, T.J.; Wu, M.J.; Lu, T.J.; Wu, F.K.; Huang, C.R. Control of McKibben pneumatic muscles for a power-assist, lower-limb orthosis. Mechatronics 2010, 20, 686–697. [Google Scholar] [CrossRef]
- Carberry, J.; Hinchly, G.; Buckerfield, J.; Taylor, E.; Burton, T.; Madgwick, S.; Vaidyanathan, R. Parametric design of an active ankle foot orthosis with passive compliance. In Proceedings of the Computer-Based Medical System (CBMS), Bristol, UK, 27–30 June 2011.
- Park, Y.; Chen, B.; Young, D.; Stirling, L.; Wood, R.; Goldfield, E.; Nagpal, R. Bio-inspired Active Soft Orthotic Device for Ankle Foot Pathologies. In Proceedings of the International Conference on Robots and Systems (IROS), San Francisco, CA, USA, 25–30 September 2011.
- Park, Y.; Chen, B.; Majidi, C.; Wood, R.; Nagpal, R.; Goldfield, E. Active Modular Elastomer Sleeve for Soft Wearable Assistance Robots. In Proceedings of the IEEE International Conference on Robots and Systems (IROS), Vilamoura, Portugal, 7–12 October 2012.
- Teng, C.M.; Wong, Z.Y.; The, W.Y.; Chong, Y.Z. Design and development of inexpensive pneumatically-powered assisted knee-ankle-foot orthosis for gait rehabilitation-preliminary finding. In Proceedings of the International Conference on Biomedical Engineering (ICoBE), Penang, Malaysia, 27–28 February 2012.
- Kawamura, T.; Takanaka, K. Development of an orthosis for walking assistance using pneumatic artificial muscle-a quantitative assessment of the effect of assistance. In Proceedings of the International Conference on Rehabilitation Robotics, Seattle, WA, USA, 24–26 June 2013.
- Hussain, S.; Xie, S.Q.; Jamwal, P.K. Adaptive impedance control of a robotic orthosis for gait rehabilitation. IEEE Trans. Cybern. 2013, 43, 1025–1034. [Google Scholar] [CrossRef]
- Hussain, S.; Xie, S.Q.; Jamwal, P.K. Robust nonlinear control of an intrinsically compliant robotic gait training orthosis. IEEE Trans. Syst. Man Cybern.: Syst. 2013, 43, 655–665. [Google Scholar] [CrossRef]
- Caldwell, D.G.; Medrano-Cerda, G.A.; Goodwin, M.J. Braided pneumatic actuator control of a multi jointed manipulator. In Proceedings of the International Conference on System, Man and Cybernetics, Le Touquet, France, 17–20 October 1993.
- Caldwell, D.G.; Medrano-Cerda, G.A.; Goodwin, M. Characteristics and adaptive control of pneumatic muscle actuators for a robotic elbow. In Proceedings of the International Conference on Robotics and Automation, San Diego, CA, USA, 8–13 May 1994.
- Caldwell, D.G.; Medrano-Cerda, G.A.; Goodwin, M. Control of a pneumatic muscle actuators. IEEE Trans. Control Syst. 1995, 15, 40–48. [Google Scholar] [CrossRef]
- Medrano-Cerda, G.A.; Bowler, C.J.; Caldwell, D.G. Adaptive position control of antagonistic pneumatic muscle actuators. In Proceedings of the International Conference on Intelligent Robots and Systems, Pittsburgh, PA, USA, 5–9 August 1995; Volume 1, pp. 378–383.
- Hamerlain, M. An anthropomorphic robot arm driven by artificial muscles using a variable structure control. In Proceedings of the International Conference on Intelligent Robots and Systems, Pittsburgh, PA, USA, 5–9 August1995; Volume 1, pp. 550–555.
- Iskarous, M.; Kawamura, K. Intelligent control using a neuro-fuzzy network. In Proceedings of the International Conference on Intelligent Robots and Systems, Pittsburgh, PA, USA, 5–9 August 1995; Volume 3, pp. 350–355.
- Van der Smagt, P.; Groen, F.; Schulten, K. Analysis and control of a rubbertuator arm. Biol. Cybern. 1996, 75, 433–440. [Google Scholar] [CrossRef]
- Cai, D.; Yamaura, H. A robust controller for manipulator driven by artificial muscle actuator. In Proceedings of the IEEE International Conference on Control Applications, Dearborn, MI, USA, 15–18 September 1996.
- Bowler, C.J.; Caldwell, D.G.; Medrano-Cerda, G.A. Pneumatic muscle actuators: Musculature for an anthropomorphic robot arm. IEEE Colloq. Actuator Technol. 1996, 8, 1–6. [Google Scholar]
- Repperger, D.W.; Johnson, K.R.; Phillips, C.A. Nonlinear feedback controller design of a pneumatic muscle actuator system. In Proceedings of the American Control Conference, San Diego, CA, USA, 2–4 June 1999.
- Carbonell, P.; Jiang, Z.P.; Repperger, D.W. Nonlinear control of a pneumatic muscle actuator: Backstepping vs. Sliding-mode. In Proceedings of the IEEE International Conference on Control Applications, Mexico City, Mexico, 5–7 September 2001.
- Carbonell, P.; Jiang, Z.P.; Repperger, D.W. A fuzzy backstepping controller for a pneumatic muscle actuator system. In Proceedings of the IEEE International Symposium on Intelligent Control, Mexico City, Mexico, 5–7 September 2001; pp. 353–358.
- Folgheraiter, M.; Gini, G.; Perkowski, M.; Pivtoraiko, M. Adaptive reflex control for an artificial hand. In Proceedings of the SYROCO, Wrocław, Poland, 1–3 September 2003.
- Balasubramanian, K.; Rattan, K.S. Feedforward control of a non-linear pneumatic muscle system using fuzzy logic. In Proceedings of the IEEE International Conference on Fuzzy Systems, St. Louis, MO, USA, 25–28 May 2003; Volume 1, pp. 272–277.
- Ahn, K.K.; Thanh, T.C. Improvement of the control performance of pneumatic artificial muscle manipulators using an intelligent switching control method. KSME Int. J. 2004, 18, 1388–1400. [Google Scholar]
- Ahn, K.K.; Thanh, T.C. Nonlinear PID control to improve the control performance of the pneumatic artificial muscle manipulator using neural network. J. Mech. Sci. Technol. 2005, 19, 106–116. [Google Scholar] [CrossRef]
- Aschemann, H.; Schindele, D. Sliding-mode control of a high-speed linear axis driven by pneumatic muscle actuators. IEEE Trans. Ind. Electron. 2008, 55, 3855–3864. [Google Scholar] [CrossRef]
- Cho, S.H. Trajectory tracking control of a pneumatic c-y table using neural network based PID control. Int. J. Precis. Eng. Manuf. 2009, 10, 37–44. [Google Scholar] [CrossRef]
- Xing, K.; Huang, J.; Wang, Y.; Wu, J.; Xu, Q.; He, J. Tracking control of pneumatic artificial muscle actuators based on sliding mode and non-linear disturbance observer. IET Control Theory Appl. 2010, 10, 2058–2070. [Google Scholar]
- Hogan, N. Adaptive control of mechanical impedance by coactivation of antagonist muscles. IEEE Trans. Autom. Control 1984, 29, 681–690. [Google Scholar] [CrossRef]
- Murray, W.R. Modelling elbow equilibrium in the presence of co-contraction. In Proceedings of the Bioengineering Conference, Durham, NH, USA, 10–11 March 1988; pp. 190–193.
- Murray, W.R.; Hogan, N. Co-contraction of antagonist muscles: Prediction and observation. In Proceedings of the Joint Dynamics and ControlIEEE International Conference on Engineering in Medicine and Biology Society (EMBS), New Orleans, LA, USA, 4–7 November 1988; Voluem 4, pp. 1926–1927.
- Migliore, S.A.; Brown, E.A.; de Weerth, S.P. Novel nonlinear elastic actuators for passively controlling robotic joint compliance. Trans. ASME 2007, 129, 406–412. [Google Scholar] [CrossRef]
- Schepelmann, A.; Taylor, M.D.; Geyer, H. Development of a testbed for robotic neuromuscular controllers. In Robotics: Science and Systems VIII; University of Sydney: Sydney, Australia, 2013. [Google Scholar]
- Laffranchi, M.; Tsagarakis, N.G.; Cannella, F.; Caldwell, D.G. Antagonistic and series elastic actuators: A comparative analysis on the energy consumption. In Proceedings of the IEEE/RSJ International Conference on Intelligent Robots and Systems, St. Louis, MO, USA, 10–15 October 2009.
- Klauer, C.; Raisch, J.; Schauer, T. Advanced control strategies for neuro-prosthetic systems. In Proceedings of the Technically Assisted Rehabilitation (TAR), Berlin, Germany, 14–15 March 2013.
- Mitrovic, D.; Klanke, S.; Osu, R.; Kawato, M.; Vijayakumar, S. A computational model of limb impedance control based on principles of internal model uncertainty. PLoS One 2010. [Google Scholar] [CrossRef]
- Dierick, F.; Domicent, C.; Detrembleur, C. Relationship between antagonistic leg muscles co-contraction and body centre of gravity mechanics in different level gait disorders. J. Electromyogr.Kinesiol. 2002, 12, 59–66. [Google Scholar] [CrossRef]
- Milner, T.E.; Cloutier, C. The effect of antagonist muscle co-contraction on damping of the wrist joint during voluntary movement. In Proceedings of the IEEE 17th Annual Conference on Engineering in Medicine and Biology Society, Montreal, Canada, 20–23 September 1995; Volume 2, pp. 1247–1248.
- Hollerbach, K.; Ramos, C.F.; Kazerooni, H. Destabilizing effects of muscular co-contraction in human-machine interaction. In Proceedings of the American Control Conference, San Francisco, CA, USA, 2–4 June 1993.
- Fu, C.; Wang, R. The influence of co-contraction to the arm impedance during free planar movement. In Proceedings of the International Conference on Bioinformatics and Biomedical Engineering (ICBBE), Beijing, China, 11–13 June 2009; pp. 1–3.
- Lynch, C.L.; Sayenko, D.; Popovic, M.R. Co-contraction of antagonist muscles during knee extension against gravity: Insights for functional electrical simulation control design. In Proceedings of the IEEE International Conference on Engineering in Medicine and Biology Society (EMBS), San Diego, California, USA, 28 August–1 September 2012.
- Odhner, L.; Asada, H. Equilibrium point control of artificial muscles using recruitment of many motor units. In Proceedings of the IEEE/RAS International Conference on Biomedical Robotics and Biomechatronics, Scottsdale, AZ, USA, 19–22 October 2008.
- Missenard, O.; Mottet, D.; Perrey, S. The role of cocontraction in the impairment of movement accuracy with fatigue. Exp. Brain Res. 2008, 185, 151–156. [Google Scholar] [CrossRef]
- Klauer, C.; Raisch, J.; Schauer, T. Nonlinear joint-angle feedback control of electrically simulated and λ-controlled antagonistic muscle pairs. In Proceedings of the European Control Conference (ECC), Zurich, Switzerland, 17–19 July 2013.
- Spagnol, P.; Klauer, C.; Previdi, F.; Raisch, J.; Schauer, T. Modelling and online-identification of electrically stimulated antagonistic muscles for horizontal shoulder abduction and adduction. In Proceedings of the European Control Conference (ECC), Zurich, Switzerland, 17–19 July 2013.
- Ferris, D.P.; Lewis, C.L. Robotic lower limb exoskeletons using proportional myoelectric control. In Proceedings of the IEEE International Conference on Engineering in Medicine and Biology Society (EMBS), Minneapolis, MN, USA, 2–6 September 2009.
- Mankala, K.K.; Banala, S.K.; Agrawal, S.K. Passive swing assistive exoskeletons for motor-incomplete spinal cord injury patients. In Proceedings of the IEEE International Conference on Robotics and Automation, Roma, Italy, 10–14 April 2007.
- Kumamoto, M.; Oshima, T.; Fujukawa, T. Control properties of a two-joint link mechanism equipped with mono- and bi-articular actuators. In Proceedings of the IEEE International Workshop on Robot and Human Interactive Communication, Osaka, Japan, 27–29 September 2000.
- Shimizu, S.; Momose, N.; Oshima, T.; Koyanagi, K. Development of robot leg which provided with the bi-articular actuator for training techniques of rehabilitation. In Proceedings of the IEEE International Symposium on Robot and Human Interactive Communication, Toyama, Japan, 27 September–2 October 2009.
- Salvucci, V.; Oh, S.; Hori, Y. Infinity norm approach for precise force control of manipulators driven by bi-articular actuators. In Proceedings of the Annual Conference on IEEE Industrial Electronics Society, Glendale, AZ, USA, 7–10 November 2010; pp. 1908–1913.
- Salvucci, V.; Oh, S.; Hori, Y.; Kimura, Y. Disturbance rejection improvement in non-redundant robot arms using bi-articular actuators. In Proceedings of the Industrial Electronics (ISIE), Gdańsk, Poland, 27–30 June 2011; pp. 2159–2164.
- Salvucci, V.; Kimura, Y.; Oh, Y.; Hori, Y. Experimental verification of infinity norm approach for force maximization of manipulators driven by bi-articular actuators. In Proceedings of the American Control Conference on O’Farrell Street, San Francisco, CA, USA, 29 June–1 July 2011.
- Selen, L.P.J.; Beek, P.J.; van Dieen, J.H. Can co-activation reduce kinematics variability? A simulation study. Biol. Cybern. 2005, 93, 373–381. [Google Scholar] [CrossRef]
- Durfee, W.K. Task-based methods for evaluating electrically stimulated antagonist muscle controllers. IEEE Trans. Biomed. Eng. 1989, 36, 309–321. [Google Scholar] [CrossRef]
- Mohammed, S.; Fraisse, P.; Guiraud, D.; Poignet, P.; el Makssoud, H. Towards a co-contraction muscle control strategy for paraplegics. In Proceedings of the 44th IEEE Conference on Decision and Control, Seville, Spain, 12–15 December 2005; pp. 7428–7433.
- Mohammed, S.; Poignet, P.; Fraisse, P.; Guiraud, D. Optimal stimulation patterns for knee joint movement restoration during co-contraction of antagonist muscles. In Proceedings of the International Conference on Biomedical Robotics and Biomechatronics, Tokyo, Japan, 26–29 September 2010; pp. 678–692.
- Heitmann, S.; Ferns, N.; Breakspear, M. Muscle co-contraction modulates damping and joint stability in a three-link biomechanical limb. Front. Neurorobot. 2012, 5, 5:1–5:14. [Google Scholar]
- Kawai, H.; Murao, T.; Sato, R.; Fujita, M. Passivity-based control for 2DOF robot manipulators with antagonistic bi-articular muscles. In Proceedings of the IEEE International Conference on Control Applications (CCA), Denver, CO, USA, 28–30 September 2011; pp. 1451–1456.
- Kawai, K.S.H.; Murao, T.; Fujita, M. Open-loop control for 2DOF robot manipulators with antagonistic bi-articular muscles. In Proceedings of the IEEE International Conference on Control Applications (CCA), Dubrovnik, Croatia, 3–5 October 2012; pp. 1346–1351.
- Kawai, Y.; Kawai, H.; Fujita, M. RISE control for 2DOF human lower limb with antagonistic bi-articular muscles. In Proceedings of the IEEE International Conference on Control Applications (CCA), Hyderabad, India, 28–30 August 2013; pp. 109–114.
- Kawai, Y.; Downey, R.J.; Kawai, H.; Dixon, W.E. Co-Contraction of Antagonist Bi-Articular Muscles for Tracking Control of Human Limb. Available online: http://wwwr.kanazawa-it.ac.jp/kawai/research/2013/CDC13KaDoKaDi.pdf (accessed on 12 March 2014).
- Kawai, Y. A Design of Co-Contraction Level of Antagonist Muscles with Muscle Contraction Dynamics for Tracking Control of Human Limb. Available online: http://k-lab.e.ishikawa-nct.ac.jp/paper/2013/SICE13_0447_FI.pdf (accessed on 12 March 2014).
© 2014 by the authors; licensee MDPI, Basel, Switzerland. This article is an open access article distributed under the terms and conditions of the Creative Commons Attribution license (http://creativecommons.org/licenses/by/3.0/).