Toyok (Tuyugou) Cave 20: A Pure Land Cave Temple in the Desert with the Earliest Illustrations of the Visualization Sūtra
Abstract
1. The Visualization Sūtra as Iconographic Source
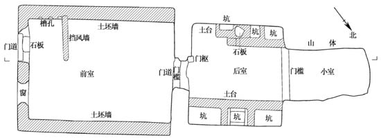
2. Toyok Cave 20
2.1. The Mural Paintings in Cave 20
2.2. The Left Wall: Eight Visualizations
2.2.1. Controversies in Current Scholarship
2.2.2. Jeweled Tower Visualization (V6)
2.2.3. Jeweled Pond Visualization (V5)
2.2.4. Lotus Seat Visualization (V7)
2.2.5. Jeweled Tree Visualization (V4)
2.2.6. Water Visualization (V2) and Ground Visualization (V3)
2.2.7. The Worshipper’s Own Rebirth in the Pure Land Visualization (V12)
3. The Right (North) Wall: Impure Visualizations
3.1. The Story of Sumāgadhā
3.2. Contemplations of the Impure
4. The Rear (West) Wall: A Threshold
4.1. The Water Ponds as Entryway
4.2. The Rear Wall Meditating Figures
5. Cave 20 as a Meditation Space
5.1. The Order of Meditations
5.2. The Issue of Portable Icons
6. Methodological Note: On the Function of Murals in Cave 20
7. Conclusions
Funding
Institutional Review Board Statement
Informed Consent Statement
Data Availability Statement
Conflicts of Interest
| 1 | The “left” and “right” used in this paper are those seen from the entrance while the observer is facing the back wall. In some scholarships, the left wall is referred to as the south wall, and the right wall is referred to as the north wall, though they do not perfectly orient to the two cardinal directions. |
| 2 | For a general introduction to the Toyok site, see Zhongguo Shehui Kexueyuan Kaogu Yanjiusuo Bianjiang Minzu Kaogu Yanjiushi et al. (2011, pp. 27–32). |
| 3 | Cave 20 is now labeled as Cave 60 by Academia Turfanica; see Xia (2021, p. 102). To be consistent with the main body of scholarship on this cave, I still use the old numbering system in this chapter. |
| 4 | For an archaeological analysis of Cave 20 and 19, see Zhongguo Shehui Kexueyuan Kaogu Yanjiusuo Bianjiang Minzu Kaogu Yanjiushi and Tulufan Yanjiuyuan (2020, pp. 439–42). |
| 5 | Toyok Cave 20 is in severe condition now. Only two of these four inscriptions are extant today. |
| 6 | See Miyaji (1995a, pp. 15–41; 1995b, pp. 15–36; 1996, pp. 38–83). For the abbreviated name of each visualization, I follow the translation given by Yamabe Nobuyoshi; see Yamabe (1999, pp. 252–53). |
| 7 | Most Chinese publications follow this identification. For example, see Miyaji (2009, pp. 101–4). |
| 8 | See Greene (2021, pp. 100–4). Greene has also studied the impurity visualizations depicted on the right wall of Cave 20; see Greene (2013, pp. 265–94). |
| 9 | All translations of the Visualization Sūtra used in this chapter are after Inagaki and Stewart (2003). |
| 10 | Here, I follow the transcription provided by Ning Qiang, which reads “行者觀臺上有四柱寶幢, 之上寶[幔][似]夜行天宮”. The other versions are basically the same, though people have slightly different readings of the character after “夜”. See Ning (2007, p. 134); Jia (1995, p. 245); Zhongguo bihua quanji bianji weiyuanhui (1995, p. 18). Although with a minor variation in wording, this inscription corresponds well with a statement in the seventh visualization, the Lotus Seat (V7), in the Visualization Sūtra. The related text in the sutra is “於其台上, 自然而有四柱寶幢, 一一寶幢如百千萬億須彌山, 幢上寶幔如夜摩天宮”. |
| 11 | For a description of the light-emitting jewels on the canopy, see Guan Wuliangshoufo jing, Taishō, v. 18, no. 365, p. 345, 12.0343a05. |
| 12 | The original text reads “如是蓮花有八萬四千大葉, 一一葉間, 有百億摩尼珠王, 以為映飾”. |
| 13 | The jewels within lotus petals are king maṇi-gems 摩尼珠王; those forming the diamond dais are śakra-abhilagna- maṇi-gems 釋迦毗楞伽寶, kiṃśuka-gems 金剛甄叔伽寶 and brahma-maṇi-gems 梵摩尼寶; the four-columned banners are adorned with excellent jewels 微妙寶珠 emitting rays. See Guan Wuliangshoufo jing, Taishō, v. 18, No. 365, p. 345, 12.0343a05. |
| 14 | The Chinese words used are “行者觀”. |
| 15 | The text reads “欲觀彼佛者, 當起想念, 於七寶地上作蓮花想”. |
| 16 | Miyaji considers that there are only two stems of lotuses in II. 2; see Miyaji (1995b, p. 21). However, even though the lotus on the very left is in devasted condition, there are still traces of brown leaves left on the mural, especially those on the bottom-left of the square unit. The line drawing produced by Academia Turfanica clearly demonstrates this (Figure 8(1)); see Tulufanxue Yanjiuyuan and Tulufan Bowuguan (2017, p. 103). |
| 17 | For the most comprehensive transcription of this inscription, see Zhongguo Xinjiang bihua yishu bianji weiyuanhui (2009, p. 42). The text reads “行者觀想樹葉, 一一樹葉, 作百寶念, 具樹兩邊有二寶幢”. |
| 18 | The inscription is “行者觀臺上有四柱寶幢, 之上寶[幔][如]夜幸天宮”. The corresponding sutra text is “於其臺上, 自然而有四柱寶幢. 一一寶幢如百千萬億須彌山. 幢上寶幔如夜摩天宮”. |
| 19 | The text reads “一一華業作異寶色”. The translation is after Inagaki, Three Pure Land Sutras, 70. |
| 20 | The text reads “化成幢幡無量寶蓋”. The translation is after Inagaki, Three Pure Land Sutras, 70. |
| 21 | Here, I follow the transcription by Ning Qiang, which reads “[行]者觀[想]寶樹上七重網, 一一網間有…”; see Ning (2007, p. 134. Miyaji’s transcription is identical to Ning’s, see (Miyaji 1995b, p. 24). |
| 22 | The corresponding sutra text is “一一樹上有七重網, 一一網間有五百億妙華宮殿”, |
| 23 | The text is “琉璃色中出金色光, 頗梨色中出紅色光, 馬瑙色中出車璖光, 車璖色中出綠真珠光”. |
| 24 | The text reads “有眾妙華作閻浮檀金色, 如旋火輪”. |
| 25 | The text reads “禪師觀七寶地”. See Miyaji (1996, pp. 59–60). |
| 26 | The text is “若得三昧, 見彼國地了了分明, 不可具說”. |
| 27 | The text reads “琉璃地上, 以黃金繩雜厠間錯, 以七寶界分齊分明”. |
| 28 | The text is “禪師觀寶珠光”. |
| 29 | For example, see the paintings of bodhisattvas and the dragon lady in Clements Cave No. 6. |
| 30 | For an introduction onto the technique, see Lie, “Digital Imaging”, pp. 130–32. |
| 31 | The text reads “行者[][][]幢擎地”. See Yamabe (1999, p. 249). |
| 32 | The text is “下有金剛七寶金幢擎琉璃地”. |
| 33 | The text is “行者觀七寶幢擎地”. |
| 34 | There is little disagreement on the reading of this inscription as it is in relatively good condition. The inscription reads “行者當起自心, 生於西方極樂世界, [於]蓮花…”. See Zhongguo Xinjiang bihua yishu bianji weiyuanhui (2009, p. 42). |
| 35 | The corresponding scriptural text is “當起想作心自見生於西方極樂世界, 於蓮華中結跏趺坐”. |
| 36 | For example, Zhi Dun described the entry into Sukhāvāti as “閶闔無扇”, meaning that the heavenly gate does not block (the reborn), in Amituofo xiangzancollected in Guang hongmingji, Taishō, v. 52, no. 2103, p. 196, 52.0196c03. |
| 37 | Zhao Yi argues that the different nature between Tuṣita Heaven and Maitreya’s Tuṣita Palace was not emphasized in early medieval Chinese Buddhist art, see Zhao (2023b, pp. 123–24). For a thorough research on the motif of paired gateposts in Tuṣita imagery at Dunhuang, see He (2016, pp. 1–11). |
| 38 | The remaining characters are as follows: “行者諦觀自[][]蓮…” |
| 39 | The identification was first given by Miyaji and was then widely followed; see Miyaji (1995b, pp. 27–29). |
| 40 | For examples of meditating masters emitting fire and water, see Ning and Fang (2021, p. 5). |
| 41 | The text is “或入火王三昧, 揚炎走煙; 或入水王三昧, 飛沙騰浪”. For the attribute of each disciple, see Xumotinü jing, Taishō, v. 2, No. 128, p. 835, 02.0837b16–17. |
| 42 | To the best of the author’s knowledge, Kizil Caves 178, 198, 205 and 224 and Dunhuang Cave 257 feature the earliest representations of Sumāgadhāvadāna imagery. |
| 43 | For a discussion on sixth-century Chinese believers’ understanding of Tuśita Heaven and Sukhāvāti, see Hou (2018, pp. 188–99). |
| 44 | Miyaji first identified them as images of visualizations of the impure but did not further discuss the Impure Land Visualization or analyze these images within such a framework. |
| 45 | For a brief summary of the history of visualizations of the impure, see Miyaji (2000, p. 281). |
| 46 | The Chinese for the nine forms are as follows: xinsi xiang 新死相; qingyu xiang 青淤像; nongxue xiang 膿血相; jiangzhi xiang 绛汁相; shibuxiao xiang 食不消像; jinchan shuxin xiang 筋纏束薪相; fenli xiang 骨節分離相; shaojiao kewu xiang 燒焦可惡相; and kugu xiang 枯骨相; see Guanfo sanmei hai jing, Taishō, v. 15, No. 643, p. 650. |
| 47 | For a more thorough discussion on this step of the contemplation of impure, see Greene (2021, pp. 85–86). |
| 48 | ibid. The original text is “得此觀時, 當自然於日光中, 見一丈六佛, 圓光一尋左右, 上下亦各一尋, 軀體金色, 舉身光明, 炎赫端嚴”. The translation is after Eric Greene, with minor revision; see Greene (2021, p. 87). |
| 49 | Besides Cave 20 and Cave 42, such a water pond image was also painted on the rear wall of Cave One, a cave contemporaneous to Cave 42. |
| 50 | The gateway we see in Figure 3 is confirmed to be a window after the 2010 excavation. The real entrance to the rear chamber is right below the window. See Zhongguo Shehui Kexueyuan Kaogu Yanjiusuo Bianjiang Minzu Kaogu Yanjiushi and Tulufan Yanjiuyuan (2020, p. 440). |
| 51 | The current number of these caves are Caves 30–32. |
| 52 | Zhangliu is a particular size for a Buddhist image, which means one zhang and six chi. Zhang and chi are length units used by the Chinese: one zhang equals ten chi. |
| 53 | The only exceptions are the “bodhisattva” figures on the bottom-left of the rear wall mural and unit III. 4 of the left wall mural yet they are still depicted in the act of meditation. |
References
Primary Sources
Accessed through the Taishō shinshū daizōkyō (https://21dzk.l.u-tokyo.ac.jp/SAT/index.html (accessed on 10 March 2024)).Chan miyaofa jing 禪秘要法經.Gaoseng zhuan 高僧傳.Guan Wuliangshou jing 觀無量壽佛經.Guanfo sanmei hai jing 觀佛三昧海經.Xumotinü jing 須摩提女經.Secondary Source
- Feng, Anne. 2018. Water, Ice, Lapis Lazuli: The Metamorphosis of Pure Land Art in Tang China. Ph.D. dissertation, University of Chicago, Chicago, IL. [Google Scholar]
- Fujita, Kōtatsu. 1990. The Textual Origins of the Kuan Wu-liang-shou ching: A Cannonical Scripture of Pire Land Buddhism. In Chinese Buddhist Apocrypha. Edited by Robert Buswell. Honolulu: University of Hawaii, pp. 149–73. [Google Scholar]
- Fujiwara, Ryōsetsu. 1974. The Way to Nirvana: The Concept of the Nembutsu in Shan-tao’s Pure Land Buddhism. Tokyo: Kyoiku shincho sha. [Google Scholar]
- Greene, Eric. 2013. Death in a Cave: Meditation, Deathbed Ritual and Skeletal Imagery at Tape Shotor. Artibus Asiae 2: 265–94. [Google Scholar]
- Greene, Eric. 2021. Chan before Chan: Meditation, Repentance, and Visionary Experience in Chinese Buddhism. Honolulu: University of Hawaii Press. [Google Scholar]
- Grünwedel, Abert. 1912. Altbuddhistische Kultstätten in Chinesisch-Turkistan: Bericht über Archäologische Arbeiten von 1906 bis 1907 bei Kuča, Qarašahr und in der Oase Turfan. Berlin: Reimer. [Google Scholar]
- Grünwedel, Abert. 2007. Xinjiang Gu Fosi: 1905–1907 Nian Kaocha Chengguo 新疆古佛寺: 1905–1907 年考察成果. Translated by Chongmin Zhao, Xinnian Wu, and Yingyi Jia. Beijing: Zhongguo renmin daxue chubanshe. [Google Scholar]
- He, Zhiguo 何志國. 2016. Tianmen tiangong doushuaitiangong: Dunhuang di 275 ku Miletiangong tuxiang de laiyuan 天門天宮兜率天宮:敦煌第275窟彌勒天宮圖像的來源”. Dunhuangyanjiu 155: 1–11. [Google Scholar]
- Hou, Xudong 侯旭東. 2018. Fotuo Xiang You: Zaoxiangji Suojian Beichao Minzhong Xinyang 佛陀相佑: 造像記所見北朝民眾信仰. Beijing: Shehui kexue wenxian chubanshe. [Google Scholar]
- Howard, Angela. 2015. On ‘Art in the Dark’ and Meditation in Central Asian Buddhist Caves. The Eastern Buddhist 46: 19–40. [Google Scholar]
- Inagaki, Hisao, and Harold Stewart. 2003. The Three Pure Land Sutras. Moraga: BDK America Inc. [Google Scholar]
- Jia, Yingyi 賈應逸. 1985. Tuyugou shiku tanwei 吐峪溝石窟探微. In Sichou zhilu zaoxing yishu 絲綢之路造型藝術. Urumuqi: Xinjiang remin chubanshe, pp. 275–89. [Google Scholar]
- Jia, Yingyi 賈應逸. 1995. Xinjiang tuyugou shiku fojiao shiku bihua fanlun 新疆吐峪溝石窟佛教壁畫泛論. Foxue yanjiu 4: 240–49. [Google Scholar]
- Lai, Wen-ying 賴文英. 2002. Liu, qi shiji Gaochang fojiao de jingtu changuan: Yi Tuyugou changuantu weili 六, 七世紀高昌佛教的淨土禪觀: 以吐峪溝禪觀圖為例. Yuanguang foxue xuebao 7: 114–35. [Google Scholar]
- Li, Yuqun 李裕群. 1999. Guanyu Anyang Xiaonanhai shiku de jige wenti 關於安陽小南海石窟的幾個問題. Yanjing Xuebao 6: 161–81. [Google Scholar]
- Mai, T. Cuong. 2009. Visualization Apocrypha and the Making of Buddhist Deity Cults in Early Medieval China: With Special Reference to the Cults of Amitābha, Maitreya and Samantabhadra. Ph.D. dissertation, University of Indiana, Bloomington, Indiana. [Google Scholar]
- Miyaji, Akira 宮治昭. 1995a. Turfan, Toyoku sekkutsu no zenkankutsu hekiga ni tsuite: Jōdozu, Jōdo kansōzu, fujō kansōzu 吐魯番吐峪溝石窟の禪觀窟壁畫のついて: 淨土図, 淨土觀想図, 不淨觀想図. Part 1. Bukkyō Geijutsu 221: 14–51. [Google Scholar]
- Miyaji, Akira 宮治昭. 1995b. Turfan, Toyoku sekkutsu no zenkankutsu hekiga ni tsuite: Jōdozu, Jōdo kansōzu, fujō kansōzu 吐魯番吐峪溝石窟の禪觀窟壁畫のついて: 淨土図, 淨土觀想図, 不淨觀想図. Part 2. Bukkyō Geijutsu 223: 15–36. [Google Scholar]
- Miyaji, Akira 宮治昭. 1996. Turfan, Toyoku sekkutsu no zenkankutsu hekiga ni tsuite: Jōdozu, Jōdo kansōzu, fujō kansōzu 吐魯番吐峪溝石窟の禪觀窟壁畫のついて: 淨土図, 淨土觀想図, 不淨觀想図. Part 3. Bukkyō geijutsu 226: 38–83. [Google Scholar]
- Miyaji, Akira 宮治昭. 2000. Amituo jingtu zhi guanxiang: Tulufan Tuyugou shiku bihua wojian阿彌陀淨土之觀想: 吐魯番吐峪溝石窟壁畫我見. Translated by Li Jingjie. Foxue yanjiu 9: 278–85. [Google Scholar]
- Miyaji, Akira 宮治昭. 2009. Tuyugou shiku bihua yu changuan 吐峪溝石窟壁畫與禪觀. Translated by Xiaoping He. Shanghai: Shanghai guji chubanshe. [Google Scholar]
- Mohr, Michel. 2020. Advanced Contemplation of the Impure: Reflections on a Capstone Event in the Meditation Sutra. Religions 11: 38. [Google Scholar] [CrossRef]
- Ning, Qiang. 2007. Visualization Practice and the Function of the Western Paradise Images in Turfan and Dunhuang in the Sixth to Seventh Centuries. Journal of Inner Asian Art and Archaeology 2: 133–42. [Google Scholar]
- Ning, Qiang 寧強, and Meng Fang 方蒙. 2021. Xumotinü qingfo gushihua de tuxiangxue kaocha 須摩提女請佛故事畫的圖像學考察. Meishu Xuebao 125: 4–10. [Google Scholar]
- Pas, Julian. 1995. Visions of Sukhāvatī: Shan-tao’s Commentary on the Kuan wu-liang-shou-Fo ching. Albany: State University of New York Press. [Google Scholar]
- Ren, Pingshan 任平山. 2015. Zhongguo gudai wuzhiwenhua shi 中國古代物質文化史. Beijing: Kaiming chubanshe. [Google Scholar]
- Sharf, Robert. 2013. Art in the Dark: The Ritual Context of Buddhist Caves in Western China. In Art of Merit: Studies in Buddhist Art and its Conservation. Edited by David Park, Kuenga Wangmo and Sharon Cather. London: Archetype Publications, Courtauld Institute of Art, pp. 38–65. [Google Scholar]
- Shen, Ruiwen 沈睿文. 2023. Dunhuang 249, 285 ku de kuding tuxiang 敦煌249, 285窟的窟頂圖像. Gugong Bowuyuan Yuankan 254: 4–13. [Google Scholar]
- Sponberg, Alan. 1988. Wõhyo on Maitreya Visualization. In Maitreya, the Future Buddha. Edited by Alan Sponberg and Helen Hardacre. Cambridge: University of Cambridge Press, pp. 94–109. [Google Scholar]
- Stein, Aurel. 1928. Innermost Asia. Oxford: Oxford at the Clarendon Press. [Google Scholar]
- Tulufanxue Yanjiuyuan 吐魯番學研究院, and Tulufan Bowuguan 吐魯番博物館, eds. 2017. Gaochang shiku bihua xianmiao ji: Tuyugou shiku 高昌石窟壁畫線描集: 吐峪溝石窟. Shanghai: Shanghai guji chebanshe. [Google Scholar]
- Von Le Coq, Albert. 1913. Chotscho Koeniglich Preussische Turfan-Expeditionen. Berlin: Dietrich Reimer. [Google Scholar]
- Von Le Coq, Albert. 1926. Auf Hellas’ Spuren in Ostturkistan. Berichte und Abenteuer der 2. und 3. Deutschen Turfan Expedition. Leipzig: J.C. Hinrichs’ sche Buchhandlung. [Google Scholar]
- Xia, Lidong 夏立棟. 2020. Zhenyuan liunian zaoku gongde ji yu Tang xizhou ningrong kusi 貞元六年造窟功德記與唐西州寧戎窟寺. Dunhuang Yanjiu 180: 18–25. [Google Scholar]
- Xia, Lidong 夏立棟. 2021. Tuyugou shiku de zhanshan yamian quduan yu yizhi kaogu fenqi 吐峪溝石窟的斬山崖面區段與遺址考古分期. Kaogu 11: 100–12. [Google Scholar]
- Xia, Lidong 夏立棟. 2022. Shiku kongjian yu yishi zhixu: Chongjian Tuyugou dongqu di 30–32 ku changuan chengxu 石窟空間與儀式秩序: 重建吐峪溝東區第30–32窟禪觀程序. Gugong Bowuyuan Yuankan 240: 20–34. [Google Scholar]
- Yamabe, Nobuyoshi 山部能宜. 1997. The Implications of the ‘Manichean’ Caves at Toyok, Turfan, for the origins of the Guan wuliangshou jing. Rennyo Shōnin no Sōgōteki Kenkyū, 250–80. [Google Scholar]
- Yamabe, Nobuyoshi 山部能宜. 1999. An Examination of the Mural Paintings of Toyok Cave 20 in Conjunction with the Origin of the Amitāyus Visualization Sutra. Orientations 30: 38–44. [Google Scholar]
- Yamabe, Nobuyoshi 山部能宜. 2002. Practice of Visualization and the Visualization Sutra: An Examination of Mural Paintings at Toyok, Turfan. Pacific World 3: 123–52. [Google Scholar]
- Yamabe, Nobuyoshi 山部能宜. 2004. An Examination of the Mural Paintings of Visualizing Monks in Toyok Cave 42. In Turfan Revisited. Edited by Desmond Durkin-Meisterernst. Berlin: Dietrich Reimer Verlag, pp. 401–7. [Google Scholar]
- Yamabe, Nobuyoshi 山部能宜. 2014. Toyuq Cave 20: Paintings and Inscriptions. In Epigraphic Evidence in the Pre-Modern Buddhist World: Proceedings of the Eponymous Conference Held in Vienna. Wien: Albeitskreis für Tibetische und Buddhistische Studien, Universität Wien, pp. 217–61. [Google Scholar]
- Yamada, Meiji 山田明爾. 1984. The Sūtra of Contemplation on the Buddha of Immeasurable Life as Expounded by Śākyamuni Buddha. Kyoto: Ryūkoku University Translation Center, Ryūkoku University. [Google Scholar]
- Yan, Chuan-ying 顏娟英. 1998. Beiqi changuan ku de tuxiang kao 北齊禪觀窟的圖像考. Toho Gakuho 70: 375–440. [Google Scholar]
- Zhao, Yi. 2023a. Buddhism, Heaven, and the Yellow Springs: A Re-evaluation of Hunping Jars. Archives of Asian Art 73: 79–106. [Google Scholar]
- Zhao, Yi. 2023b. Paths to Paradise: Images of Buddhist Heavens and Pure Lands in Early Medieval China (3rd to 6th Century). Ph.D. dissertation, University of Kansas, Lawrence, Kansas. [Google Scholar]
- Zhongguo bihua quanji bianji weiyuanhui 中國壁畫全集編輯委員會, ed. 1990. Zhongguo Bihua Quanji 中國壁畫全集. Shenyang: Liaoning meishu chubanshe, vol. 6. [Google Scholar]
- Zhongguo bihua quanji bianji weiyuanhui 中國壁畫全集編輯委員會, ed. 1995. Zhongguo Xinjiang Bihua Quanji 中國新疆壁畫全集. Shenyang: Liaoning meishu chubanshe, vol. 6. [Google Scholar]
- Zhongguo Shehui Kexueyuan Kaogu Yanjiusuo Bianjiang Minzu Kaogu Yanjiushi 中國社會科學院考古研究所邊疆考古研究室, and Tulufan Yanjiuyuan 吐魯番研究院. 2020. Xinjiang Shanshan Tuyugou xiqu zhongbu gaotai kuyuan fajue baogao 新疆鄯善吐峪溝西區中部高臺窟院發掘報告. Kaogu Xuebao 3: 429–60. [Google Scholar]
- Zhongguo Shehui Kexueyuan Kaogu Yanjiusuo Bianjiang Minzu Kaogu Yanjiushi 中國社會科學院考古研究所邊疆考古研究室, Tulufanxue Yanjiuyuan 吐魯番研究院, and Qiuci Yanjiuyuan 龜茲研究院. 2011. “Xinjiang Shanshan xian Tuyugou shikusi yizhi新疆鄯善縣吐峪溝石窟寺遺址”. Kaogu 7: 27–32. [Google Scholar]
- Zhongguo Xinjiang bihua yishu bianji weiyuanhui 中國新疆壁畫藝術編輯委員會, ed. 2009. Zhongguo Xinjiang bihua yishu diliu juan: Bozikelike shiku 中國新疆壁畫藝術第六卷: 柏孜克里克石窟. Wulumuqi: Xinjiang meishu sheying chubanshe. [Google Scholar]


























Disclaimer/Publisher’s Note: The statements, opinions and data contained in all publications are solely those of the individual author(s) and contributor(s) and not of MDPI and/or the editor(s). MDPI and/or the editor(s) disclaim responsibility for any injury to people or property resulting from any ideas, methods, instructions or products referred to in the content. |
© 2024 by the author. Licensee MDPI, Basel, Switzerland. This article is an open access article distributed under the terms and conditions of the Creative Commons Attribution (CC BY) license (https://creativecommons.org/licenses/by/4.0/).
Share and Cite
Zhao, Y. Toyok (Tuyugou) Cave 20: A Pure Land Cave Temple in the Desert with the Earliest Illustrations of the Visualization Sūtra. Religions 2024, 15, 576. https://doi.org/10.3390/rel15050576
Zhao Y. Toyok (Tuyugou) Cave 20: A Pure Land Cave Temple in the Desert with the Earliest Illustrations of the Visualization Sūtra. Religions. 2024; 15(5):576. https://doi.org/10.3390/rel15050576
Chicago/Turabian StyleZhao, Yi. 2024. "Toyok (Tuyugou) Cave 20: A Pure Land Cave Temple in the Desert with the Earliest Illustrations of the Visualization Sūtra" Religions 15, no. 5: 576. https://doi.org/10.3390/rel15050576
APA StyleZhao, Y. (2024). Toyok (Tuyugou) Cave 20: A Pure Land Cave Temple in the Desert with the Earliest Illustrations of the Visualization Sūtra. Religions, 15(5), 576. https://doi.org/10.3390/rel15050576
