A Multi-Stage Early Stress Detection Model with Time Delay Subject to a Person’s Stress
Abstract
1. Introduction
- Anger, worry, frustration, and difficulty making decisions;
- Sleeping problems, headaches, chronic health problems, and mental health conditions.
2. Relationship between Stress and Immune System
Death of a spouse;Divorce;The death of a close family member;Personal injury or illness;A difficult marriage;Being fired, laid off, or unemployed;Employer reorganization or downsizing;A change in residence;Changing work responsibilities;Retirement depression;Becoming a single parent;The Death of a close friend;Sexual harassment at work;Foreclosure on a loan or mortgage;Domestic violence or sexual abuse;Being disciplined at school or at work;Having a child with a behavior problem;Getting married or remarried;Infidelity;Experiencing or being involved in a car accident.
3. Model Formulation
3.1. Notation
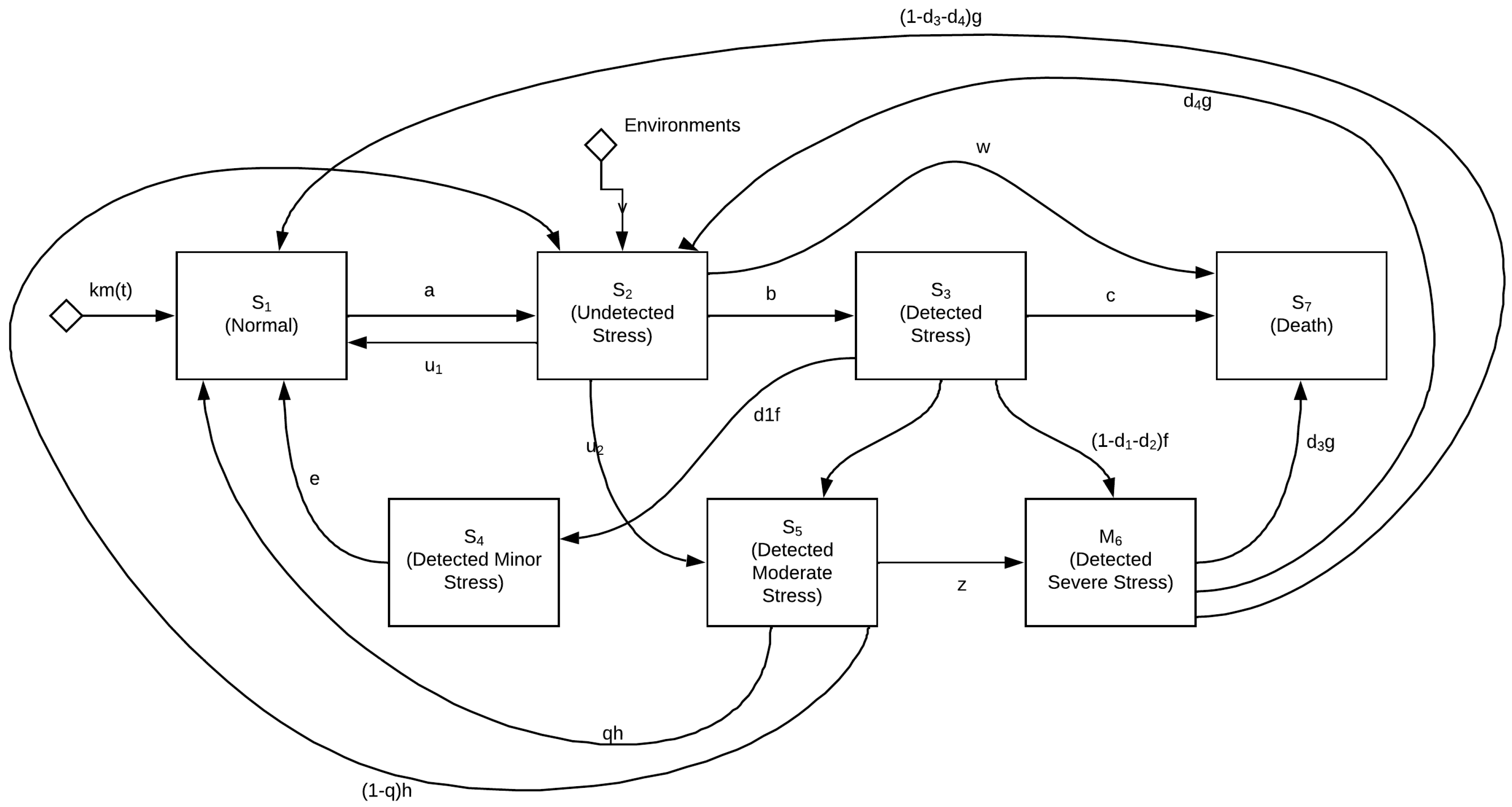
3.2. Model Assumptions
- All the coefficients in the model are positive constants.
- A stress-free growth rate m(t) (see Figure 1) is a time-dependent function with a constant coefficient k. In this study, we consider
- Upon being stress-free, a person will go to the undetected stress state at a rate a.
- In the undetected stress state, the stress is detected at the rate b. Likewise, a person is dead with a death rate c after detecting stress.
- Upon detecting stress, the proportions of detected stress with minor, moderate, or severe stress are d1, d2, and (1− d1 − d2), respectively.
- A person recovers as being stress-free or having undetected stress from the detected severe stress at the rate (1 − d3 − d4) and d4, respectively, and dies at the rate d3.
- There is a period time delay τ1 for a person who is stressed but between the undetected and detected stress.
- There is a period time delay τ2 between severe stress being detected in a person and the person becoming stress-free after recovery.
- There is a period time delay τ3 between stress not being detected in a person and the person becoming stress-free after recovery.
- There is the time delay τ4 required for a person to become severely stress from the moderate stress stage.
4. Numerical Results
Entropy Computation
5. Conclusions
Funding
Institutional Review Board Statement
Informed Consent Statement
Conflicts of Interest
References
- APA. American Psychological Association. 2021. Available online: https://www.apa.org/ (accessed on 12 August 2022).
- Pham, H. On estimating the number of deaths related to COVID-19. Mathematics 2000, 8, 655. [Google Scholar] [CrossRef]
- John Hopkins Coronavirus Data Center. Available online: https://coronavirus.jhu.edu/ (accessed on 15 November 2022).
- Statista. 2022. Available online: https://www.statista.com/statistics/1018324/us-users-daily-social-media-minutes/ (accessed on 10 October 2022).
- Datareportal, Digital 2022: Global Overview Report. 2022. Available online: https://datareportal.com/reports/ (accessed on 5 November 2022).
- Centers for Disease Control and Prevention (CDC). 2022. Available online: https://www.cdc.gov/niosh/topics/stress/ (accessed on 5 November 2022).
- AIS: The American Institute of Stress. Available online: https://www.stress.org/daily-life (accessed on 5 November 2022).
- GOS: Global Organization for Stress. Available online: http://www.gostress.com/stress-facts/ (accessed on 10 November 2022).
- Centers for Disease Control and Prevention (CDC,b). 2022. Available online: https://www.cdc.gov/mentalhealth/stress-coping/cope-with-stress/index.html (accessed on 5 November 2022).
- Harris Poll, APA. 2021. Available online: https://www.apa.org/news/press/releases/stress/2021/ (accessed on 8 November 2022).
- After School. Available online: https://data.world (accessed on 10 September 2022).
- Schokkenbroek, J.M.; Hardyns, W.; Anrijs, S.; Ponnet, K. Partners in lockdown: Relationship stress in men and women during the COVID-19 pandemic. Couple Fam. Psychol. Res. Pract. 2021, 10, 149–157. [Google Scholar] [CrossRef]
- NIMH. National Institute of Mental Health (NIMH). Available online: https://www.nimh.nih.gov/ (accessed on 10 October 2022).
- NAMI. National Alliance Mental Illness (NAMI). Available online: https://www.nami.org/mhstats (accessed on 10 October 2022).
- WHO. The World Health Organization (WHO). Available online: https://who.int (accessed on 5 October 2022).
- Quach, T.; Ðoàn, L.N.; Liou, J.; Ponce, N.A. A rapid assessment of the impact of COVID-19 on asianamericans: Cross-sectional survey study. JMIR Public Health Surveill. 2021, 7, e23976. [Google Scholar] [CrossRef]
- Daimer, S.; Mihatsch, I.M.; Neufeld, S.; Murray, G.K.; Knolle, F. Investigating the relationship of COVID-19 related stress and media consumption with schizotypy, depression, and anxiety in cross-sectional surveys repeated throughout the pandemic in Germany and the UK. eLife 2022, 11, e75893. [Google Scholar] [CrossRef]
- Wani, M.A.; Elaffendi, M.A.; Shakil, K.A.; Imran, A.S.; El-Latif, A.A.A. Depression screening in Humans with AI and deep learning techniques. IEEE Trans. Comput. Soc. Syst. 2022, PP, 1. [Google Scholar] [CrossRef]
- Schuller, B.W.; Lochner, J.; Qian, K.; Hu, B. COVID-19′s impact on mental health—The hour of computational aid? IEEE Trans. Comput. Soc. Syst. 2022, 9, 967–973. [Google Scholar] [CrossRef]
- Medical News Today (Medical). Available online: https://www.medicalnewstoday.com/articles/145855 (accessed on 5 November 2022).
- Thompson, A.E. The immune system. J. Am. Med. Assoc. 2015, 313, 1686. [Google Scholar] [CrossRef] [PubMed]
- CRI Staff. How Does the Immune System Work? 30 April 2019. Available online: https://www.cancerresearch.org/blog/april-2019/how-does-the-immune-system-work-cancer?gclid=CjwKCAjwsNiIBhBdEiwAJK4khgG7w-9Ugv3HMGc1VWZbRuhFBOfIPMW2Qo3Dv1-VH1HGvmJruZjwxxoC3HYQAvD_BwE (accessed on 2 October 2022).
- Guide to Your Immune System. 2020. Available online: https://www.webmd.com/cold-and-flu/ss/slideshow-immune-system (accessed on 2 October 2022).
- Immune System, Cleveland Clinic. 2021. Available online: https://my.clevelandclinic.org/health/articles/21196-immune-system (accessed on 12 June 2022).
- Newman, T. How the immune system works. Med. News Today 2018. Available online: https://www.medicalnewstoday.com/articles/320101 (accessed on 5 June 2022).
- Pham, H. A dynamic model of multiple time-delay interactions between the virus cells and body’s immune system with autoimmune diseases. Axioms 2021, 10, 216. [Google Scholar] [CrossRef]
- Pham, H. Mathematical modeling the time-delay interactions between tumor viruses and the immune system with the effects of chemotherapy and autoimmune diseases. Mathematics 2022, 10, 756. [Google Scholar] [CrossRef]
- Vaghi, C.; Rodallec, A.; Fanciullino, R.; Ciccolini, J.; Mochel, J.P.; Mastri, M. Population Modeling of Tumor Growth Curves and the Reduced Gompertz Model Improve Prediction of the Age of Experimental Tumors. PLoS Comput. Biol. 2020. Available online: https://journals.plos.org/ploscompbiol/article?id=10.1371/journal.pcbi.1007178 (accessed on 2 May 2022). [CrossRef] [PubMed]
- Ng, J.; Stovezky, Y.R.; Brenner, D.J.; Formenti, S.C.; Shuryak, I. Development of a model to estimate the association between delay in cancer treatment and local tumor control and risk of metastates. JAMA Netw. Open 2021, 4, e2034065. [Google Scholar] [CrossRef]
- Rothan, H.A.; Byrareddy, S.N. The epidemiology and pathogenesis of coronavirus disease (COVID-19) outbreak. J. Autoimmun. 2020, 109, 102433. [Google Scholar] [CrossRef]
- Meacham, C.E.; Morrison, S.J. Tumour heterogeneity and cancer cell plasticity. Nature 2013, 501, 328–337. [Google Scholar] [CrossRef]
- Talkington, A.; Durrett, R. Estimating tumor growth rates in vivo. Bull. Math Biol. 2015, 77, 1934–1954. [Google Scholar] [CrossRef] [PubMed]
- Pham, H. Estimating the COVID-19 death toll by considering the time-dependent effects of various pandemic restrictions. Mathematics 2020, 8, 1628. [Google Scholar] [CrossRef]
- Battegay, M.; Kuehl, R.; Tschudin-Sutter, S.; Hirsch, H.H.; Widmer, A.F.; Neher, R.A. 2019-Novel Coronavirus (2019-nCoV):Estimating the case fatality rate–a word of caution. Swiss Med. Wkly. 2020, 150, w20203. [Google Scholar] [CrossRef]
- Chin, A.W.H.; Chu, J.T.S.; Perera, M.R.A.; Hui, K.P.Y.; Yen, H.L.; Chan, M.C.W.; Peiris, M.; Poon, L.L.M. Stability of SARS-CoV-2 in different environmental conditions. Lancet Mircobe 2020, 1, e10. [Google Scholar] [CrossRef] [PubMed]
- Kucharski, A.J.; Russell, T.W.; Diamond, C.; Liu, Y.; Edmunds, J.; Funk, S.; Eggo, R.M.; Centre for Mathematical Modelling of Infectious Diseases COVID-19 Working Group. Early dynamics of transmission and control of COVID-19: A mathematical modelling study. Lancet Infect. Dis. 2020, 20, 553–558. [Google Scholar] [CrossRef]
- Pham, H.; Pham, D.H. A novel generalized logistic dependent model to predict the presence of breast cancer based on biomarkers. Concurr. Comput. Pract. Exp. 2020, 32, e5467. [Google Scholar] [CrossRef]
- PsychCentral. Available online: https://psychcentral.com/stress/top-10-life-stressors-that-can-trigger-anxiety (accessed on 10 July 2022).
- Selye, H. The Stress of Life; McGraw-Hill: New York, NY, USA, 1975. [Google Scholar]
- Maier, S.F.; Watkins, L.R. Cytokines for psychologists: Implications of bidirectional immune-to-brain communication for understanding behavior, mood, and cognition. Psychol. Rev. 1998, 105, 83–107. [Google Scholar] [CrossRef] [PubMed]
- Maier, S.F.; Watkins, L.R.; Fleshner, M. Psychoneuroimmunology: The interface between behavior, brain, and immunity. Am. Psychol. 1994, 49, 1004–1017. [Google Scholar] [CrossRef] [PubMed]
- Maier, K.J.; Waldstein, S.R.; Synowski, S.J. Relation of cognitive appraisal to cardiovascular reactivity, affect, and task engagement. Ann. Behav. Med. 2003, 26, 32–41. [Google Scholar] [CrossRef]
- Futterman, A.D.; Kemeny, M.E.; Shapiro, D.; Fahey, J.L. Immunological and physiological changes associated with induced positive and negative mood. Psychosom. Med. 1994, 56, 499–511. [Google Scholar] [CrossRef]
- Cohen, S.; Hamrick, N.; Rodriguez, M.S.; Feldman, P.J.; Rabin, B.S.; Manuck, S.B. The stability of and intercorrelations among cardiovascular, immune, endocrine, and psychological reactivity. Ann. Behav. Med. 2000, 22, 171–197. [Google Scholar] [CrossRef]
- Athanasios, P. Probability, Random Variables, and Stochastic Processes, 3rd ed.; McGraw-Hill: New York, NY, USA, 1991. [Google Scholar]
- Pham, H. Statistical Reliability Engineering; Springer: London, UK, 2022. [Google Scholar]






| a = 0.025/day | b = 0.045/day | c = 0.00005/day | d1 = 0.45/day |
| d2 = 0.5/day | d3 = 0.02/day | d4 = 0.003/day | e = 0.08/day |
| f = 0.085/day | g = 0.03/day | h = 0.035/day | k = 0.005/day |
| m = 0.00001/day | q = 0.75/day | u1 = 0.008/day | u2 = 0.002/day |
| v = 0.001/day | w = 0.0007/day | z = 0.004/day |
| Time (t) | P1(t) | P2(t) | P3(t) | P4(t) | P5(t) | P6(t) | P7(t) | S | A |
|---|---|---|---|---|---|---|---|---|---|
| 0 | 0.9000 | 0.1000 | 0.0000 | 0.0000 | 0.0000 | 0.0000 | 0.0000 | 0.1000 | 1.0000 |
| 5 | 0.8218 | 0.1757 | 0.0250 | 0.0014 | 0.0025 | 0.0002 | 0.0004 | 0.1779 | 0.9997 |
| 10 | 0.7545 | 0.2282 | 0.0486 | 0.0061 | 0.0093 | 0.00086 | 0.0007 | 0.2448 | 0.9993 |
| 15 | 0.7003 | 0.2617 | 0.0679 | 0.0128 | 0.0195 | 0.0020 | 0.0012 | 0.2988 | 0.9988 |
| 20 | 0.6585 | 0.2804 | 0.0820 | 0.0201 | 0.0320 | 0.0035 | 0.0020 | 0.3395 | 0.9981 |
| 280 | 0.5505 | 0.2817 | 0.0788 | 0.0378 | 0.1011 | 0.0249 | 0.0586 | 0.3909 | 0.9414 |
| 285 | 0.5500 | 0.2815 | 0.0786 | 0.0378 | 0.1009 | 0.0248 | 0.0597 | 0.3903 | 0.9403 |
| 290 | 0.5495 | 0.2812 | 0.0785 | 0.0377 | 0.1008 | 0.0248 | 0.0608 | 0.3897 | 0.9392 |
| 295 | 0.5490 | 0.2810 | 0.0784 | 0.0376 | 0.1006 | 0.0248 | 0.0619 | 0.3891 | 0.9381 |
| 300 | 0.5486 | 0.2808 | 0.0783 | 0.0376 | 0.1005 | 0.0247 | 0.0630 | 0.3885 | 0.9370 |
| P1 | P2 | P3 | P4 | P5 | P6 | P7 | S | A | |
|---|---|---|---|---|---|---|---|---|---|
| P1 | 1.00 | −0.91 | −0.83 | −0.94 | −0.92 | −0.83 | −0.56 | −0.96 | 0.56 |
| P2 | −0.91 | 1.00 | 0.96 | 0.84 | 0.73 | 0.57 | 0.25 | 0.96 | −0.25 |
| P3 | −0.83 | 0.96 | 1.00 | 0.83 | 0.63 | 0.40 | 0.06 | 0.93 | −0.06 |
| P4 | −0.94 | 0.84 | 0.83 | 1.00 | 0.94 | 0.77 | 0.34 | 0.96 | −0.34 |
| P5 | −0.92 | 0.73 | 0.63 | 0.94 | 1.00 | 0.94 | 0.56 | 0.87 | −0.56 |
| P6 | −0.83 | 0.57 | 0.40 | 0.77 | 0.94 | 1.00 | 0.73 | 0.70 | −0.73 |
| P7 | −0.56 | 0.25 | 0.06 | 0.34 | 0.56 | 0.73 | 1.00 | 0.29 | −1.00 |
| S | −0.96 | 0.96 | 0.93 | 0.96 | 0.87 | 0.70 | 0.29 | 1.00 | −0.29 |
| A | 0.56 | −0.25 | −0.06 | −0.34 | −0.56 | −0.73 | −1.00 | −0.29 | 1.00 |
| P1 | P2 | P3 | P4 | P5 | P6 | P7 | S | A | |
|---|---|---|---|---|---|---|---|---|---|
| P1 | 1.00 | −0.98 | −0.77 | −0.92 | −0.87 | −0.73 | −0.43 | −0.93 | 0.43 |
| P2 | −0.98 | 1.00 | 0.68 | 0.89 | 0.91 | 0.82 | 0.46 | 0.90 | −0.46 |
| P3 | −0.77 | 0.68 | 1.00 | 0.75 | 0.42 | 0.15 | −0.15 | 0.91 | 0.15 |
| P4 | −0.92 | 0.89 | 0.75 | 1.00 | 0.88 | 0.66 | 0.18 | 0.94 | −0.18 |
| P5 | −0.87 | 0.91 | 0.42 | 0.88 | 1.00 | 0.94 | 0.51 | 0.76 | −0.51 |
| P6 | −0.73 | 0.82 | 0.15 | 0.66 | 0.94 | 1.00 | 0.68 | 0.53 | −0.68 |
| P7 | −0.43 | 0.46 | −0.15 | 0.18 | 0.51 | 0.68 | 1.00 | 0.08 | −1.00 |
| S | −0.93 | 0.90 | 0.91 | 0.94 | 0.76 | 0.53 | 0.08 | 1.00 | −0.08 |
| A | 0.43 | −0.46 | 0.15 | −0.18 | −0.51 | −0.68 | −1.00 | −0.08 | 1.00 |
| P1 | P2 | P3 | P4 | P5 | P6 | P7 | S | A | |
|---|---|---|---|---|---|---|---|---|---|
| P1 | 1.00 | −0.99 | −0.78 | −0.93 | −0.91 | −0.80 | −0.51 | −0.94 | 0.51 |
| P2 | −0.99 | 1.00 | 0.75 | 0.92 | 0.93 | 0.84 | 0.49 | 0.94 | −0.49 |
| P3 | −0.78 | 0.75 | 1.00 | 0.81 | 0.54 | 0.28 | −0.06 | 0.92 | 0.06 |
| P4 | −0.93 | 0.92 | 0.81 | 1.00 | 0.90 | 0.71 | 0.25 | 0.96 | −0.25 |
| P5 | −0.91 | 0.93 | 0.54 | 0.90 | 1.00 | 0.94 | 0.53 | 0.83 | −0.53 |
| P6 | −0.80 | 0.84 | 0.28 | 0.71 | 0.94 | 1.00 | 0.72 | 0.62 | −0.72 |
| P7 | −0.51 | 0.49 | −0.06 | 0.25 | 0.53 | 0.72 | 1.00 | 0.18 | −1.00 |
| S | −0.94 | 0.94 | 0.92 | 0.96 | 0.83 | 0.62 | 0.18 | 1.00 | −0.18 |
| A | 0.51 | −0.49 | 0.06 | −0.25 | −0.53 | −0.72 | −1.00 | −0.18 | 1.00 |
| Case 1 | Case 2 | Case 3 (Case 2 with No Delay) | |
|---|---|---|---|
| Entropy (S1) | 19.09624 | 14.75894 | 14.69177 |
| Entropy (S2) | 21.63978 | 22.19801 | 22.18735 |
| Entropy (S3) | 12.24743 | 9.541168 | 9.460033 |
| Entropy (S4) | 7.309031 | 5.522886 | 5.483794 |
| Entropy (S5) | 13.11911 | 11.10765 | 11.10275 |
| Entropy (S6) | 4.857469 | 3.788707 | 3.760799 |
| Entropy (S7) | 6.016198 | 4.250817 | 4.406661 |
| Entropy (S) | 22.10568 | 21.44766 | 21.40323 |
| Entropy (A) | 1.806639 | 1.125529 | 1.173666 |
| ranking | 9 6 7 4 3 5 1 2 8 | 9 6 7 4 3 5 1 8 2 | 9 6 7 4 3 5 8 2 |
Disclaimer/Publisher’s Note: The statements, opinions and data contained in all publications are solely those of the individual author(s) and contributor(s) and not of MDPI and/or the editor(s). MDPI and/or the editor(s) disclaim responsibility for any injury to people or property resulting from any ideas, methods, instructions or products referred to in the content. |
© 2023 by the author. Licensee MDPI, Basel, Switzerland. This article is an open access article distributed under the terms and conditions of the Creative Commons Attribution (CC BY) license (https://creativecommons.org/licenses/by/4.0/).
Share and Cite
Pham, H. A Multi-Stage Early Stress Detection Model with Time Delay Subject to a Person’s Stress. Axioms 2023, 12, 92. https://doi.org/10.3390/axioms12010092
Pham H. A Multi-Stage Early Stress Detection Model with Time Delay Subject to a Person’s Stress. Axioms. 2023; 12(1):92. https://doi.org/10.3390/axioms12010092
Chicago/Turabian StylePham, Hoang. 2023. "A Multi-Stage Early Stress Detection Model with Time Delay Subject to a Person’s Stress" Axioms 12, no. 1: 92. https://doi.org/10.3390/axioms12010092
APA StylePham, H. (2023). A Multi-Stage Early Stress Detection Model with Time Delay Subject to a Person’s Stress. Axioms, 12(1), 92. https://doi.org/10.3390/axioms12010092
