Cost-Effectiveness of Screening and Treating Chronic Hepatitis C Virus Infection in Zimbabwe
Abstract
1. Introduction
2. Materials and Methods
2.1. Screening and Treatment Strategies
- no screening, no treatment (comparator);
- screening the general population and treating with sof/vel;
- screening the high-risk populations and treating with sof/vel.
2.2. The Model
2.2.1. Screening
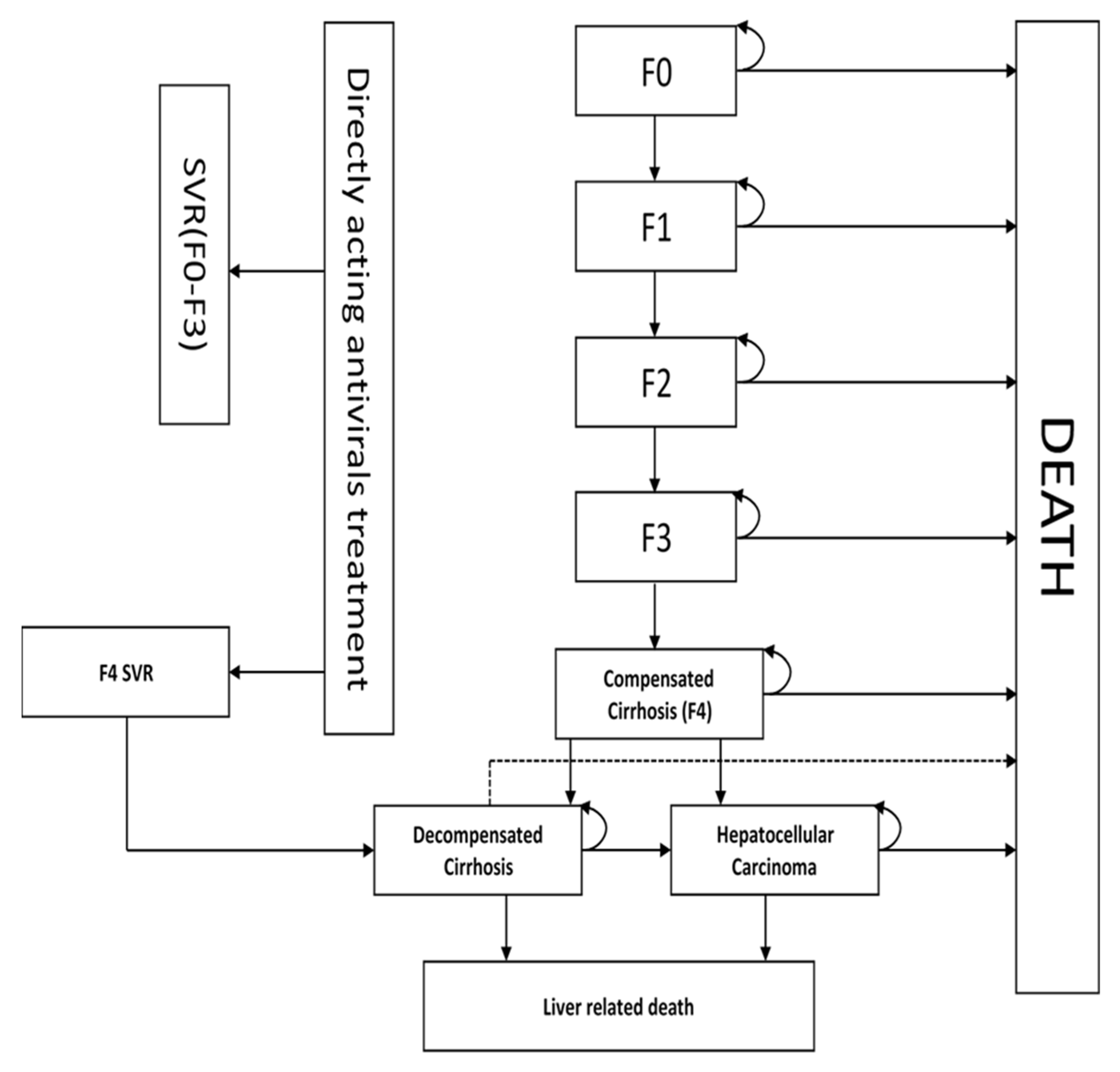
2.2.2. Markov Model
2.3. Model Parameters
2.3.1. Patient Characteristics
2.3.2. DAAs SVR Rates
2.3.3. Transition Probabilities
2.3.4. Utilities
2.3.5. Costs
2.4. Cost Effectiveness Analysis
2.5. Sensitivity Analysis
3. Results
3.1. Screening
3.2. Public Health Impacts of the Intervention
3.3. Base Case Analysis
3.4. Sensitivity Analysis
4. Discussion
5. Conclusions
Supplementary Materials
Author Contributions
Funding
Institutional Review Board Statement
Informed Consent Statement
Data Availability Statement
Conflicts of Interest
Abbreviations
| CEAC | Cost effectiveness acceptability curve |
| CET | Cost effectiveness threshold |
| CSW | Commercial sex workers |
| DAAs | Directly acting antivirals |
| DALY | Disability-adjusted life years |
| DC | Decompensated cirrhosis |
| DSA | Deterministic sensitivity analysis |
| HCC | Hepatocellular carcinoma |
| HCV | Hepatitis C virus |
| ICER | Incremental cost effectiveness ratio |
| LMICs | Low- to middle-income countries |
| MSM | Men who have sex with men |
| NAT | Nucleic acid test |
| PSA | Probabilistic sensitivity analysis |
| PWID | People who inject drugs |
| QALY | Quality-adjusted life year |
| RDT | Rapid diagnostic test |
| Sof/velp | Sofosbuvir/velpatasvir |
| SVR | Sustained virologic response |
| WHO | World Health Organization |
References
- Blach, S.; Terrault, N.A.; Tacke, F.; Gamkredze, I.; Crazi, A.; Tanaka, J.; Waked, I.; Dore, G.J.; Abbas, Z.; Abdallah, A.R.; et al. Global change in hepatitis C virus prevalence and cascade of care between 2015 and 2020: A modelling study. Lancet Gastroenterol. Hepatol. 2022, 7, 396–415. [Google Scholar] [CrossRef] [PubMed]
- Hepatitis-Number of Persons Living with Chronic Hepatitis. Available online: https://www.who.int/data/gho/data/indicators/indicator-details/GHO/hepatitis---number-of-persons-living-with-chronic-hepatitis (accessed on 20 August 2024).
- Hepatitis-Number of Deaths Caused by Chronic Hepatitis. Available online: https://www.who.int/data/gho/data/indicators/indicator-details/GHO/hepatitis---number-of-deaths-caused-by-chronic-hepatitis (accessed on 20 August 2024).
- World Health Organisation. Global Health Sector Strategies on, Respectively, HIV, Viral Hepatitis and Sexually Transmitted Infections for the Period 2022–2030; World Health Organization: Geneva, Switzerland, 2022.
- Heath, K.; Hill, A. WHO hepatitis C elimination targets: The global equity challenge. Lancet Gastroenterol. Hepatol. 2024, 9, 286–288. [Google Scholar] [CrossRef] [PubMed]
- Dzingirai, B.; Katsidzira, L.; Matyanga, C.M.J.; Postma, M.J.; van Hulst, M.; Mafirakureva, M. Progress on the elimination of viral hepatitis in Zimbabwe: A review of the policies, strategies and challenges. J. Viral Hepat. 2021, 28, 994–1002. [Google Scholar] [CrossRef]
- Jaquet, A.; Muula, G.; Ekouevi, D.K.; Wandeler, G. Elimination of Viral Hepatitis in Low and Middle-Income Countries: Epidemiological Research Gaps. Curr. Epidemiol. Rep. 2021, 8, 89–96. [Google Scholar] [CrossRef]
- Cooke, G.S.; Flower, B.; Cunningham, E.; Marshall, A.D.; Lazarus, J.V.; Palayew, A.; Jia, J.; Aggarwal, R.; Al-Mahtab, M.; Tanaka, Y.; et al. Progress towards elimination of viral hepatitis: A Lancet Gastroenterology & Hepatology Commission update. Lancet Gastroenterol. Hepatol. 2024, 9, 346–365. [Google Scholar]
- Hepatitis-Chronic Hepatitis Treatment Rate as Percentage of Total Infected. Available online: https://www.who.int/data/gho/data/indicators/indicator-details/GHO/hepatitis---chronic-hepatitis-treatment-rate-as-percentage-of-total-infected (accessed on 20 August 2024).
- Dietz, C.; Maasoumy, B. Direct-Acting Antiviral Agents for Hepatitis C Virus Infection—From Drug Discovery to Successful Implementation in Clinical Practice. Viruses 2022, 14, 1325. [Google Scholar] [CrossRef]
- Das, D.; Pandya, M. Recent Advancement of Direct-acting Antiviral Agents (DAAs) in Hepatitis C Therapy. Mini Rev. Med. Chem. 2018, 18, 584–596. [Google Scholar] [CrossRef]
- Dzingirai, B.; Katsidzira, L.; Mwanesani, V.; Postma, M.J.; van Hulst, M.; Mafirakureva, N. A cost analysis of a simplified model for HCV screening and treatment at a tertiary hospital in Zimbabwe. Expert Rev. Pharmacoeconom. Outcomes Res. 2024, 24, 687–695. [Google Scholar] [CrossRef] [PubMed]
- Barber, M.J.; Gotham, D.; Khwairakpam, G.; Hill, A. Price of a hepatitis C cure: Cost of production and current prices for direct-acting antivirals in 50 countries. J. Virus Erad. 2020, 6, 100001. [Google Scholar] [CrossRef]
- Zimbabwe FinScope Consumer Survey Report 2022. Available online: https://www.rbz.co.zw/documents/BLSS/2022/Zimbabwe_FinScope_Consumer_2022_Survey_Report.pdf (accessed on 8 May 2024).
- Mhazo, A.T.; Maponga, C.C.; Mossialos, E. Inequality and private health insurance in Zimbabwe: History, politics and performance. Int. J. Equity Health 2023, 22, 54. [Google Scholar] [CrossRef]
- Serumondo, J.; Penkunas, M.J.; Niyikora, J.; Ngwije, A.; Kiromera, A.; Musabeyezu, E.; Umutesi, J.; Umuraza, S.; Musengimana, G.; Nsanzimana, S. Patient and healthcare provider experiences of hepatitis C treatment with di-rect-acting antivirals in Rwanda: A qualitative exploration of barriers and facilitators. BMC Public Health 2020, 20, 946. [Google Scholar] [CrossRef] [PubMed]
- Grebely, J.; Hajarizadeh, B.; Lazarus, J.V.; Bruneau, J.; Treloar, C. Elimination of hepatitis C virus infection among people who use drugs: Ensuring equitable access to prevention, treatment, and care for all. Int. J. Drug Policy 2019, 72, 1–10. [Google Scholar] [CrossRef]
- Tucker, J.D.; Ahmad, A.; Mulu, A.; Muyoteta, M.; Hassan, M.R.A.; Kamarulzaman, A. Hepatitis C testing, treatment and prevention in low- and middle-income country prisons. Nat. Rev. Gastroenterol. Hepatol. 2022, 19, 484–485. [Google Scholar] [CrossRef] [PubMed]
- Ludwig-Barron, N.T.; Guthrie, B.L.; Mbogo, L.; Bukusi, D.; Sinkele, W.; Gitau, E.; Farquhar, C.; Monroe-wise, A. Barriers and facilitators of HIV and hepatitis C care among people who inject drugs in Nairobi, Kenya: A qualitative study with peer educators. Harm. Reduct. J. 2021, 18, 133. [Google Scholar] [CrossRef] [PubMed]
- Ministry of Health and Child Care Zimbabwe. Strategic Plan for the Control and Elimination of Viral Hepatitis in Zimbabwe 2019–2025; Government of Zimbabwe: Harare, Zimbabwe, 2019.
- Government of Zimbabwe. 8th Essential Medicines List and Standard Treatment Guidelines for Zimbabwe; Government of Zimbabwe: Harare, Zimbabwe, 2020.
- Edoka, I.; Krubner, C.; Mirelman, A.; McQueen, R.B.; Sculpher, M.; Slejko, J.F.; Wilkinson, T. Reporting and interpreting results of economic evaluation. In Handbook of Applied Health Economics in Vaccines; Handbooks in Health Economic Evaluation; Bishai, D., Brenzel, L., Padula, W., Eds.; Oxford Academic: Oxford, UK, 2023. [Google Scholar]
- Kachapila, M.; Kigozi, J.; Oppong, R. Exploring the roles of players in strategic purchasing for healthcare in Africa—A scoping review. Health Policy Plan. 2023, 38, 97–108. [Google Scholar] [CrossRef]
- Bastani, P.; Ghanbarzadegan, A.; Vatankhah, S.; Samadbeik, M. Components Affecting Pharmaceutical Strategic Purchasing: A Scoping Review. Health Serv. Insights 2019, 12, 1178632919837629. [Google Scholar] [CrossRef]
- Scheibe, A.; Young, K.; Versfeld, A.; Spearman, C.W.; Sonderup, M.W.; Prabdial-Sing, N.; Puren, A.; Hausler, H. Hepatitis B, hepatitis C and HIV prevalence and related sexual and substance use risk practices among key populations who access HIV prevention, treatment and related services in South Africa: Findings from a seven-city cross-sectional survey (2017). BMC Infect. Dis. 2020, 20, 655. [Google Scholar] [CrossRef]
- Zimbabwe National Statistics Agency. Zimbabwe Population and Housing Census; Zimbabwe National Statistics Agency: Harare, Zimbabwe, 2022.
- Fearon, E.; Chabata, S.T.; Magutshwa, S.; Ndori-Mharadze, T.; Musemburi, S.; Chidawanyika, H.; Masendeke, A.; Napierala, S.; Gonese, E.; Herman Roloff, A.; et al. Estimating the Population Size of Female Sex Workers in Zimbabwe: Comparison of Estimates Obtained Using Different Methods in Twenty Sites and Development of a National-Level Estimate. J. Acquir. Immune Defic. Syndr. 2020, 85, 30–38. [Google Scholar] [CrossRef] [PubMed]
- Population Size Estimates for People Who Inject Drugs. Harm Reduction International. Available online: https://hri.global/special/population-size-estimates-for-people-who-inject-drugs/ (accessed on 26 August 2024).
- Mabaya, S.; Munongo, E.; Mapako, T.; Marowa, L.; Gasasira, A.N.; Pasipanodya, J.G.; Mutenherwa, M. Prevalence and trends of hepatitis B and C virus biomarkers in Zimbabwe: Comparative analyses of a nation’s blood-donor surveillance data and meta-analyses of population studies. Infect. Dis. 2024, 56, 759–775. [Google Scholar] [CrossRef]
- Marquez, L.K.; Chaillon, A.; Soe, K.P.; Johnson, D.C.; Zosso, J.M.; Incerti, A.; Loarec, A.; Nguyen, A.; Walker, J.G.; Mafirakureva, N.; et al. Cost and cost-effectiveness of a real-world HCV treatment program among HIV-infected individuals in Myanmar. BMJ Glob. Health 2021, 6, e004181. [Google Scholar] [CrossRef]
- Life Tables: Life Tables by Country Zimbabwe. Available online: https://apps.who.int/gho/data/view.searo.61860?lang=en (accessed on 2 October 2024).
- Lingala, S.; Ghany, M.G. Natural History of Hepatitis C. Gastroenterol. Clin. N. Am. 2015, 44, 717–734. [Google Scholar] [CrossRef] [PubMed]
- Boyer, S.; Baudoin, M.; Nishimwe, M.L.; Santos, M.; Lemoine, M.; Maradan, G.; Sylla, B.; Kouanfack, C.; Carrieri, P.; Mourad, A.; et al. Cost-utility analysis of four WHO-recommended sofosbuvir-based regimens for the treatment of chronic hepatitis C in sub-Saharan Africa. BMC Health Serv. Res. 2022, 22, 303. [Google Scholar] [CrossRef] [PubMed]
- Zhou, H.; Yan, M.; Che, D.; Wu, B. Universal screening for HCV infection in China: An effectiveness and cost-effectiveness analysis. JHEP Rep. 2024, 6, 101000. [Google Scholar] [CrossRef]
- Kim, H.L.; Kim, K.A.; Choi, G.H.; Jang, E.S.; Ki, M.; Choi, H.Y.; Jeong, S.H. A cost-effectiveness study of universal screening for hepatitis C virus infection in South Korea: A societal perspective. Clin. Mol. Hepatol. 2022, 28, 91–104. [Google Scholar] [CrossRef]
- Ren, X.D.; Fu, X.; He, Y.Q.; Li, C.Y.; Guo, M.; Qiao, M. Safety and efficacy of sofosbuvir-velpatasvir: A meta-analysis. Medicine 2022, 101, e31183. [Google Scholar] [CrossRef]
- Erman, A.; Krahn, M.D.; Hansen, T.; Wong, J.; Bielecki, J.M.; Feld, J.J.; Wong, W.W.L.; Grootendorst, P.; Thein, H.H. Estimation of fibrosis progression rates for chronic hepatitis C: A systematic review and meta-analysis update. BMJ Open 2019, 9, e027491. [Google Scholar] [CrossRef]
- Fleurence, R.L.; Hollenbeak, C.S. Rates and probabilities in economic modelling: Transformation, translation and appropriate application. Pharmacoeconomics 2007, 25, 3–6. [Google Scholar] [CrossRef]
- Gobran, S.T.; Ancuta, P.; Shoukry, N.H. A Tale of Two Viruses: Immunological Insights Into HCV/HIV Coinfection. Front. Immunol. 2021, 12, 726419. [Google Scholar] [CrossRef]
- Thein, H.H.; Yi, Q.; Dore, G.J.; Krahn, M.D. Natural history of hepatitis C virus infection in HIV-infected individuals and the impact of HIV in the era of highly active antiretroviral therapy: A meta-analysis. AIDS 2008, 22, 1979–1991. [Google Scholar] [CrossRef]
- Marcellin, F.; Mourad, A.; Lemoine, M.; Kounafack, C.; Sydi, M.; Carreiri, P.; Attia, A.; Protopopescu, C.; Lacombe, K.; Boyer, S. Patient-reported outcomes with direct-acting antiviral treatment for hepatitis C in West and Central Africa (TAC ANRS 12311 trial). JHEP Rep. 2023, 5, 100665. [Google Scholar] [CrossRef] [PubMed]
- World Bank Open Data. Available online: https://data.worldbank.org (accessed on 27 May 2024).
- Woods, B.; Revill, P.; Sculpher, M.; Claxton, K. Country-Level Cost-Effectiveness Thresholds: Initial Estimates and the Need for Further Research. Value Health 2016, 19, 929–935. [Google Scholar] [CrossRef] [PubMed]
- Clinton Health Access Initiative (CHAI). HCV Market Intelligence Report 2021 and Preliminary HBV Market Insights; CHAI: Boston, MA, USA, 2021. [Google Scholar]
- Global Cancer Observatory Factsheet, Zimbabwe. Available online: https://gco.iarc.who.int/media/globocan/factsheets/populations/716-zimbabwe-fact-sheet.pdf (accessed on 6 August 2024).
- Chin’ombe, N.; Chavhunduka, E.; Matarira, H.T. Seroprevalence of HBV and HCV in primary hepatocellular carcinoma patients in Zimbabwe. Infect. Agents Cancer 2009, 4, 15. [Google Scholar] [CrossRef] [PubMed]
- Mafirakureva, N.; Lim, A.G.; Khalid, G.G.; Aslam, K.; Campbell, L.; Zahid, H.; Van den Bergh, R.; Falq, G.; Fortas, C.; Wailly, Y.; et al. Cost-effectiveness of screening and treatment using direct-acting antivirals for chronic Hepatitis C virus in a primary care setting in Karachi, Pakistan. J. Viral Hepat. 2021, 28, 268–278. [Google Scholar] [CrossRef] [PubMed]
- Wu, M.; Ma, J.; Wang, X.; Li, S.; Tan, C.; Xie, O.; Li, A.; Lim, A.G.; Wan, X. Cost-effectiveness and return on investment of hepatitis C virus elimination in China: A modelling study. Clin. Mol. Hepatol. 2024. [Google Scholar] [CrossRef]
- Pedrana, A.; Howell, J.; Scott, N.; Schroeder, S.; Kuschel, C.; Lazarus, J.V.; Atun, R.; Baptista-Liete, R.; Hoen, E.; Hutchinson, S.J.; et al. Global hepatitis C elimination: An investment framework. Lancet Gastroenterol. Hepatol. 2020, 5, 927–939. [Google Scholar] [CrossRef]
- Scott, N.; Kuschel, C.; Pedrana, A.; Scroeder, S.; Howell, J.; Thompson, A.; Wilson, D.P.; Hellard, M. A model of the economic benefits of global hepatitis C elimination: An investment case. Lancet Gastroenterol. Hepatol. 2020, 5, 940–947. [Google Scholar] [CrossRef]
- Lai, J.B.; Witt, M.A.; Pauly, M.P.; Ready, J.; Allerton, M.; Seo, S.; Witt, D.J. Eight- or 12-Week Treatment of Hepatitis C with Ledipasvir/Sofosbuvir: Real-World Experience in a Large Integrated Health System. Drugs 2017, 77, 313–318. [Google Scholar] [CrossRef]
- Latt, N.L.; Yanny, B.T.; Gharibian, D.; Gevorkyan, R.; Sahota, A.K. Eight-week ledipasvir/sofosbuvir in non-cirrhotic, treatment-naïve hepatitis C genotype-1 patients with hepatitis C virus-RNA < 6 million: Single center, real world effectiveness and safety. World J. Gastroenterol. 2017, 23, 4759–4766. [Google Scholar]
- Yanny, B.; Saab, S.; Durazo, F.; Latt, N.; Mitry, A.; Mikhail, M.M.; Hanna, R.M.; Aziz, A.; Sahota, A. Eight-Week Hepatitis C Treatment with New Direct Acting Antivirals Has a Better Safety Profile While Being Effective in the Treatment-Naïve Geriatric Population Without Liver Cirrhosis and Hepatitis C Virus-RNA < 6 Million IU/mL. Dig. Dis. Sci. 2018, 63, 3480–3486. [Google Scholar]
- Farrag, A.N.; Kamel, A.M. Efficacy of 8-week daclatasvir-sofosbuvir regimen in chronic hepatitis C: A systematic review and meta-analysis. Virol. J. 2024, 21, 275. [Google Scholar] [CrossRef]
- Nehra, V.; Rizza, S.A.; Temesgen, Z. Glecaprevir/pibrentasvir for the treatment of chronic hepatitis C virus infection in adults. Drugs Today 2018, 54, 407–421. [Google Scholar] [CrossRef] [PubMed]
- Koo, V.; Tian, F.; Wong, W.W.L. Cost-effectiveness analysis of hepatitis C virus (HCV) point-of-care assay for HCV screening. Liver Int. 2022, 42, 787–795. [Google Scholar] [CrossRef]
- Shetty, A.; Lee, M.; Valenzuela, J.; Saab, S. Cost effectiveness of hepatitis C direct acting agents. Expert Rev. Pharmacoecon. Outcomes Res. 2024, 24, 589–597. [Google Scholar] [CrossRef]
- Cowan, F.M.; Machingura, F.; Ali, M.S.; Chabata, T.C.; Takaruza, A.; Dirawo, J.; Makamba, M.; Hove, T.; Bansi-Matharu, L.; Matambanadzo, P.; et al. A risk-differentiated, community-led intervention to strengthen uptake and engagement with HIV prevention and care cascades among female sex workers in Zimbabwe (AMETHIST): A cluster randomised trial. Lancet Glob. Health 2024, 12, e1424–e1435. [Google Scholar] [CrossRef]
- Cowan, F.M.; Davey, C.; Fearon, E.; Mushati, P.; Dirawo, J.; Chabata, S.; Cambiano, V.; Naprierala, S.; Hanisch, D.; Wong-Gruenwald, R.; et al. Targeted combination prevention to support female sex workers in Zimbabwe accessing and adhering to antiretrovirals for treatment and prevention of HIV (SAPPH-IRe): A cluster-randomised trial. Lancet HIV 2018, 5, e417–e426. [Google Scholar] [CrossRef] [PubMed]
- Pitt, C.; Vassall, A.; Teerawattananon, Y.; Griffiths, U.K.; Guinness, L.; Walker, D.; Foster, N.; Hanson, K. Foreword: Health Economic Evaluations in Low- and Middle-income Countries: Methodological Issues and Challenges for Priority Setting. Health Econ. 2016, 25, 1–5. [Google Scholar] [CrossRef] [PubMed]
- Robinson, L.A.; Hammitt, J.K.; Chang, A.Y.; Resch, S. Understanding and improving the one and three times GDP per capita cost-effectiveness thresholds. Health Policy Plan. 2017, 32, 141–145. [Google Scholar] [CrossRef]
- Chi, Y.L.; Blecher, M.; Chalkidou, K.; Culyer, A.; Claxton, K.; Edoka, I.; Glassman, A.; Kreif, N.; Jones, I.; Mirelman, A.; et al. What next after GDP-based cost-effectiveness thresholds? Gates Open Res. 2020, 4, 176. [Google Scholar] [CrossRef]
- Edoka, I.P.; Stacey, N.K. Estimating a cost-effectiveness threshold for health care decision-making in South Africa. Health Policy Plan. 2020, 35, 546. [Google Scholar] [CrossRef]
- Hansen, K.S.; Chapman, G. Setting priorities for the health care sector in Zimbabwe using cost-effectiveness analysis and estimates of the burden of disease. Cost Eff. Resour. Alloc. 2008, 6, 14. [Google Scholar] [CrossRef]
- Tang, W.; Chen, W.; Amini, A.; Boeras, D.; Falconer, J.; Kelly, H.; Peeling, R.; Varsaneux, O.; Tucker, J.D.; Easterbrook, P. Diagnostic accuracy of tests to detect Hepatitis C antibody: A meta-analysis and review of the literature. BMC Infect. Dis. 2020, 17, 695. [Google Scholar] [CrossRef] [PubMed]
- Sonderup, M.W.; Gogela, N.; Nordien, R.; Smuts, H.; Korsman, S.; Hardie, D.; Spearman, C.W. Direct-acting antiviral therapy for hepatitis C: The initial experience of the University of Cape Town/Groote Schuur Hospital Liver Clinic, South Africa. S. Afr. Med. J. 2020, 110, 112. [Google Scholar] [CrossRef] [PubMed]




| No Screening/No Treatment Option | Screening High-Risk Population and Treatment with Sof/Velp Option | Screening General Population and Treatment with Sof/Velp Option | |
|---|---|---|---|
| Total number screened | - | 1,708,892 | 8,602,410 |
| Total number treated | - | 53,317 | 91,874 |
| Total number cirrhosis | 35,831 | 452 | 1013 |
| Total number decompensated cirrhosis | 19,047 | 36 | 82 |
| Total number HCC | 8261 | 12 | 35 |
| Number of liver related deaths | 9911 | 20 | 44 |
| Incremental | ICER | |||||
|---|---|---|---|---|---|---|
| Strategy | Costs/USD | QALYs | Costs/USD | QALYs | USD/QALY | |
| Base Case | ||||||
| No screening, no treatment | 565 | 3.41 | - | - | - | |
| Screen high-risk populations and treat with sof/velp | 1778 | 5.42 | 1213 | 2.01 | 604 | |
| Screen general population and treat with sof/velp | 1910 | 4.38 | 132 | −1.04 | Dominated | |
| Scenario 1 sof/velpprice | ||||||
| USD 270 | No screening, no treatment | 565 | 3.41 | - | - | - |
| Screen high-risk populations and treat sof/velp | 631 | 5.42 | 66 | 2.01 | 33 | |
| Screen general population and treat with sof/velp | 767 | 4.38 | 136 | −1.04 | Dominated | |
| USD 550 | No screening, no treatment | 565 | 3.41 | - | - | |
| Screen high-risk populations and treat with sof/velp | 913 | 5.42 | 348 | 2.01 | 173 | |
| Screen general population and treat with sof/velp | 1048 | 4.38 | 135 | −1.04 | Dominated | |
| Scenario 2 sof/led | ||||||
| No screening, no treatment | 565 | 3.41 | - | - | - | |
| Screen high-risk populations and treat with sof/led | 1504 | 5.36 | 939 | 1.95 | 481 | |
| Screen general population and treat with sof/led | 1629 | 4.34 | 125 | −1.02 | dominated | |
Disclaimer/Publisher’s Note: The statements, opinions and data contained in all publications are solely those of the individual author(s) and contributor(s) and not of MDPI and/or the editor(s). MDPI and/or the editor(s) disclaim responsibility for any injury to people or property resulting from any ideas, methods, instructions or products referred to in the content. |
© 2025 by the authors. Licensee MDPI, Basel, Switzerland. This article is an open access article distributed under the terms and conditions of the Creative Commons Attribution (CC BY) license (https://creativecommons.org/licenses/by/4.0/).
Share and Cite
Dzingirai, B.; Katsidzira, L.; Postma, M.J.; Hulst, M.v.; Mafirakureva, N. Cost-Effectiveness of Screening and Treating Chronic Hepatitis C Virus Infection in Zimbabwe. Int. J. Environ. Res. Public Health 2025, 22, 509. https://doi.org/10.3390/ijerph22040509
Dzingirai B, Katsidzira L, Postma MJ, Hulst Mv, Mafirakureva N. Cost-Effectiveness of Screening and Treating Chronic Hepatitis C Virus Infection in Zimbabwe. International Journal of Environmental Research and Public Health. 2025; 22(4):509. https://doi.org/10.3390/ijerph22040509
Chicago/Turabian StyleDzingirai, Blessing, Leolin Katsidzira, Maarten J. Postma, Marinus van Hulst, and Nyashadzaishe Mafirakureva. 2025. "Cost-Effectiveness of Screening and Treating Chronic Hepatitis C Virus Infection in Zimbabwe" International Journal of Environmental Research and Public Health 22, no. 4: 509. https://doi.org/10.3390/ijerph22040509
APA StyleDzingirai, B., Katsidzira, L., Postma, M. J., Hulst, M. v., & Mafirakureva, N. (2025). Cost-Effectiveness of Screening and Treating Chronic Hepatitis C Virus Infection in Zimbabwe. International Journal of Environmental Research and Public Health, 22(4), 509. https://doi.org/10.3390/ijerph22040509

