Sign in to use this feature.

Years

Between: -

Subjects

remove_circle_outline
remove_circle_outline
remove_circle_outline
remove_circle_outline
remove_circle_outline

Journals

remove_circle_outline

Article Types

Countries / Regions

Search Results (1)

Search Parameters:
Keywords = dryness control algorithms

Order results
Result details
Results per page
Select all
Export citation of selected articles as:
24 pages, 11094 KB  
Article
Energy Efficient, Highly Precise Cascade Dryness Control for Fibrous Tape by Induction-Based Surface Heating of a Rotating Steel Cylinder with Moving Inductors
by Jacek Kucharski, Andrzej Fraczyk and Piotr Urbanek
Appl. Sci. 2022, 12(1), 261; https://doi.org/10.3390/app12010261 - 28 Dec 2021
Viewed by 2610
Abstract
Drying various materials constitutes an essential component of several industrial processes, e.g., paper production. Typically, rotating cylinders heated internally by water steam are used for drying tape-shaped material in paper-making machines. Such an approach remains very energy-consuming, while the whole process is expensive [...] Read more.
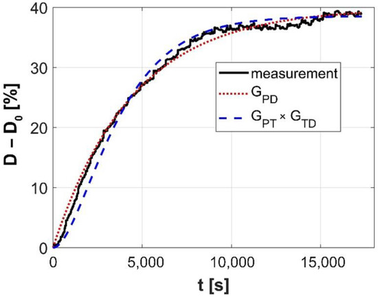
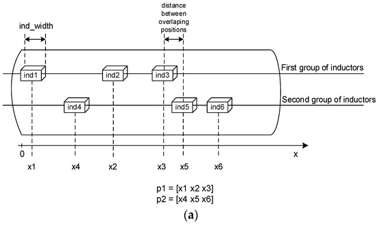
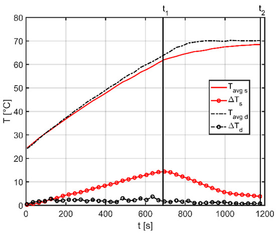
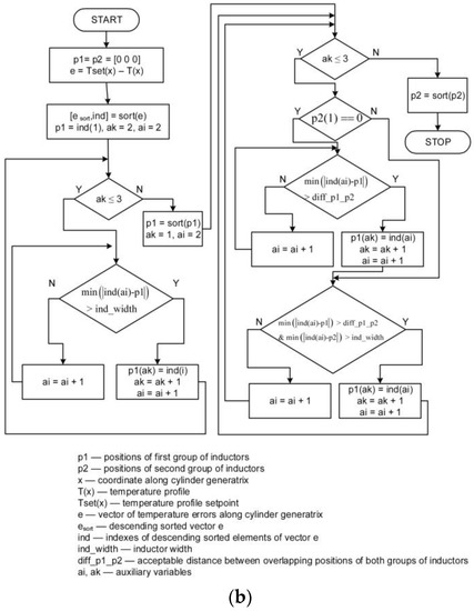
Drying various materials constitutes an essential component of several industrial processes, e.g., paper production. Typically, rotating cylinders heated internally by water steam are used for drying tape-shaped material in paper-making machines. Such an approach remains very energy-consuming, while the whole process is expensive and in conflict with the global policy of reducing energy consumption in heavy industry. One promising alternative method of drying fibrous tapes is the induction heating of drying cylinders. In this paper, we propose a drying system based on a set of inductors (electromagnetic field sources) that generate energy in the mantle of the cylinder and dry the running tape. By enabling the movement of the inductors, the system provides a high level of flexibility in terms of reacting to the varying humidity of the tape. Additionally, imaging the temperature field on the cylinder surface provides a supplementary source of information, enabling the temperature profile to be controlled. Two types of humidity control systems, a one-loop feedback control and a cascade control, were designed and analyzed. Simulation analysis and experimental verification performed using a semi-industrial setup proves that using the proposed cascade control ensures more than 30% faster response of the whole dryness control system. Full article
(This article belongs to the Section Applied Thermal Engineering)
Show Figures

Figure 1

Back to TopTop