You are currently viewing a new version of our website. To view the old version click .
Electronics
  • Article
  • Open Access

12 May 2023

Method for Digital Cancellation of System Interference in a Full-Duplex Power Line Communication System

,
,
,
,
,
and
1
Department of Telecommunications and Basic Principles of Radio Engineering, Tomsk State University of Control Systems and Radioelectronics, 634050 Tomsk, Russia
2
Skolkovo Institute of Science and Technology, 121205 Moscow, Russia
*
Author to whom correspondence should be addressed.
This article belongs to the Special Issue Advanced Digital Signal Processing for Future Digital Communications

Abstract

Every year the number of IoT devices is growing, which gives a boost to development of such technology as Power Line Communication (PLC). The term PLC refers to the use of a power supply circuit to transmit data. Full-duplex technology can be applied to increase the data transfer rate in a PLC. The difficulty in using a full duplex is the need to suppress the transmitter’s own signal (interference signal). Analog cancellation and digital cancellation are used for this purpose. Common algorithms for digital cancellation are adaptive algorithms. In this paper adaptive algorithms such as Particle Swarm Optimization (PSO) and Recursive Least Squares (RLS) are considered and a modification of the classical RLS is proposed. The proposed algorithm uses precalculated weight coefficients together with periodic reinitialization of the filter. This avoids the influence of significant changes in the input signal on the further process of filter adaptation and provides the highest level of echo suppression. The proposed algorithm provides an improvement of parameters such as Error Vector Magnitude (EVM) and Signal-to-Interference Ratio (SIR) in comparison with classical RLS and PSO, according to the results of the study.

1. Introduction

Internet of Things (IoT) technologies have received a significant boost in development recently. In 2022, the market capitalization of the Internet of Things amounted to USD 201 billion. Experts predict that by 2023 this capitalization should reach USD 238 billion [1]. The growing incomes of the population and the improvement of the quality of life contribute to the increasing penetration of electronic devices into everyday life. In addition, factors such as environmental monitoring, the lockdown caused by the COVID-19 pandemic, the development of cloud services and artificial intelligence have greatly contributed to the development of the IoT.
At the moment, most IoT devices use wireless communication to transmit information and run on batteries. The use of IoT devices can be difficult in urban environments, where the frequency spectrum can be significantly congested. In addition, applications such as monitoring and automation of industrial processes require that data from sensors be transmitted over a long distance in an unfavorable wireless environment due to the architecture of enterprises (reinforced concrete structures). The number of IoT devices is growing every year. This is giving a boost to the development of Power Line Communications (PLC) technology. The term PLC refers to the use of a power supply circuit to transmit data. There are currently many different standards for data transmission over power circuits, the best known of which are: G3-PLC, PRIME, X-10 and Homeplug [2,3,4,5]. The use of PLCs eliminates the need for an additional communication line, which reduces costs.
The use of data transmission technology over power circuits is fraught with problems, namely:
  • A limited frequency range (typically 0.1–50 MHz), as the signal attenuation increases at higher frequencies;
  • A complex interference environment, which further reduces the already limited available frequency range.
The technology of full-duplex data transmission over power circuits is one of the most effective technologies that can increase spectral efficiency up to two times. This was shown by the analysis of technologies for increasing the spectral efficiency of data transmission systems over power supply circuits. A half-duplex communication system is a system where information is received and transmitted without time and frequency separation. The difficulty in using a full duplex is the need to suppress its own transmitter signal (interference signal). Analog and digital cancellation is used for this purpose. The literature [6,7] discusses analog cancellation of the interference signal in a full-duplex communication system over power circuits. Thus, the authors of [6] used a circulator with variable impedance as an analog cancellation device, while the authors [7] used an analog filter. In both works, the analog part was controlled using the Least Mean Squares (LMS) algorithm. This was performed to adjust the changing conditions in the channel. Another work dedicated to the topic of analog echo cancellation in full-duplex power-line systems using adaptive filters is [8]. A significant part of the work on digital cancellation of the interference signal in a full-duplex communication system relates to wireless communication. Thus, the literature [9,10] discusses digital cancellation of the interference signal in a full-duplex system. The authors used a digital filter where the filter coefficients were calculated periodically, using a preamble. The authors [11,12] also used a digital filter, but the coefficients were adjusted using the adaptive Recursive Least Squares (RLS) algorithm. The literature [13] stands out among other works on digital cancellation over power lines. The authors of this paper use a modification of the adaptive LMS filtering algorithm when performing digital cancellation of the interference signal to improve filter performance in a fast-changing channel.
Adaptive algorithms are common algorithms for digital cancellation or algorithms to control analog cancellation, as can be seen from the above works. By adaptive filters is meant linear filters that use an adaptive algorithm to calculate weight coefficients.
Under PLC channel conditions, the operation of the adaptive filter is complicated by the presence of many additional disturbances and a constantly changing channel. This can have a significant impact on the rate of convergence of the filter coefficients and the quality of filtration. The PLC channel has both additive and multiplicative interferences, and their impact leads to significant distortion of the transmitted signal. In the PLC channel, interferences are divided into two types: pulsed and periodic. The main source of interference is most electrical appliances connected to the mains. The level of interference in the channel varies depending on the phase of the voltage in the power grid. This type of interference is called cyclostationary. As already mentioned, such an unfavorable situation significantly complicates the process of evaluating and cancelling for the interference signal. This paper considers digital cancellation using adaptive filtering under the influence of variable voltage in the power grid. A modification of the RLS algorithm was proposed to improve the quality of the functioning of the adaptive filter in the presence of interference in the PLC channel.
The main contribution of this work is the proposed solution, which includes modifications to the RLS algorithm to address the long-standing problem of digital echo cancellation in PLC channels. Extensive experiments were conducted to validate the effectiveness of the proposed solution compared to other approaches. The results clearly demonstrate the superiority of the proposed solution, indicating its potential to have a significant impact on the research field.
The paper presents an overview of some existing algorithms for digital cancellation of the signal of its own transmitter in the conditions of a PLC channel. The first algorithm is RLS [14,15] and the second is particle swarm optimization (PSO) [16]. These algorithms were chosen due to the fact that they are often found in papers devoted to the full-duplex topic [11,12,17]. The RLS algorithm related to the family of the algorithms that minimize least squares error, such as LMS, normalized least mean squares (NLMS) and LMS also used in full duplex [13]. The RLS has the fastest convergence among other least squares algorithms, is not sensitive to the energy of the input signal like LMS and does not require choosing the optimal learning rate, as is required by LMS and NLMS algorithms [14,15]. These reasons led to the use of RLS and PSO algorithms in this work.
A modification of the RLS algorithm has been proposed to improve the level of cancellation. During the simulation, the efficiency of the RLS algorithm for the echo cancellation problem was investigated, and then the optimal number of filter coefficients was determined. The following characteristics were obtained: the dependence of the signal-to-interference ratio (SIR) at the filter output on the SIR at the filter input, the dependence of the change in the power of the useful signal, and the interference signal after filtering with a different value of SIR at the filter input.
During the experiment, 100 samples of signals were measured with the presence of periodic interference from switching power supplies. Digital cancellation of the interference signal was carried out using the echo cancellation methods discussed above. Such characteristics as error vector magnitude (EVM) and SIR were captured. The results were averaged and recorded in a table.

2. Description of Adaptive Algorithms

In this article, a full-duplex data transmission is carried out in the power supply circuit. We consider only digital cancellation, for which an adaptive filter is used. Some approaches to using adaptive filters for echo cancellation are described in [14,15,17]. A schematic diagram of an adaptive filter operating in echo cancellation mode is shown in Figure 1.
Figure 1. Block diagram of an adaptive filter operating in echo cancellation mode.
The reference signal is the signal to be received at the filter output. The input signal is the signal processed by the filter. The output signal is a reference signal processed by the filter. The error signal is the difference between the output signal and the reference signal. The received signal is used as the reference signal. This is the sum of a known interfering signal and an unknown useful signal.
The received signal in full-duplex transmission mode is described by the expression (1) [14,15].
x RX = H A x A + H B x B + v
where H A and H B is a transfer characteristic channel, x A is a useful signal, x B is a signal interference, v represents the presence of white Gaussian noise that is added to the signal.
The input signal of the filter is a known interference signal x B . The output signal of the adaptive filter is described by the expression:
F OUT = w N x B
where w N is a vector of filter weight coefficients, N is a number of filter coefficients.
The adaptive filter error signal is described as:
e = x RX w N x B = y F OUT
If the filter operates in echo cancellation mode, the useful signal is the error signal and not the output signal. Below the expression (4) is described in more detail.
e = x RX w N x B = H A x A + H B x B + v w N x B = H A x A + H B x B + v H ^ B x B = H A x A + v + c
where H ^ B is an evaluation of the interference signal channel, c = H B x B H ^ B x B is an error setting the filter coefficients.
Next, we will look at the algorithms used to perform adaptive filtering.
Algorithms 1. Particle swarm optimization. PSO is a stochastic optimization method based on simulated social behavior. The search for an optimal solution is performed by several interacting particles in a given search space. The mathematical description of the canonical PSO method, which we used in the simulation, is presented in [16,17].
The available set of particles (swarm of particles) in n-dimensional space is denoted as [16]:
S n = p m , m 1 : M , n 1 : N
where p m is the particle coordinates, M is the number of particles in the swarm, N is the number of search spaces.
In this paper, PSO is used to find the optimal vector of weight coefficients. Therefore, the number of search spaces will be equal to the length of the vector of weighting coefficients. Thus, the coordinates of each particle in n-dimensional space are defined by the vector [16]:
p m = x m , 1 x m , 2 x m , n
The mean square function was chosen as the error function for which the solution search is performed by the PSO method [16]:
E e 2
where E is the mathematical expectation.
At the moment, a large number of varieties of the PSO algorithm exist [14]. In this paper, the canonical FDM algorithm was used. At each iteration, the new particle coordinate is defined as [16]:
v m + 1 , n + 1 = χ v m , n + U 0 , φ 1 p m i b x m , n + U 0 , φ 2 p m l b x m , n
x m + 1 , n + 1 = x m , n + v m + 1 , n + 1
where v m , n is the acceleration of the m-th particle, χ = 0.7298 is the restriction coefficient, φ 1 = φ 2 = 2.05 are the particle acceleration restriction coefficients, U min , max is the random uniform distribution function, is the element-by-element multiplication, p m i b is the best position of the m-th particle, p m l b is the best position of the m-th particle among two neighboring ones.
There are currently a large number of algorithms based on PSO. The PSO algorithm finds application in the problem of interference signal cancellation, although it is used in optimization problems [16]. In such a problem, high computational complexity and the selection of a large number of hyperparameters are the main challenges of using PSO. Simplicity of implementation and resistance to local minima can be attributed to the advantage of the method.
Algorithms 2. Recursive Least Squares. Recursive Least Squares (RLS) is an adaptive algorithm used to estimate the coefficients of a linear system. It is often used for signal processing applications, such as echo cancellation and equalization. The algorithm updates the estimates of the coefficients in a recursive manner, using the most recent input and output data, and a forgetting factor that controls the influence of past data on the current estimate. The RLS algorithm is known for its fast convergence and robustness to measurement noise, making it a popular choice for real-time applications. The mathematical description of the RLS method, which we used in the simulation, is presented in [14]. This algorithm is based on minimizing the weighted least squares error:
k = 1 K λ K k e k 2
where K is the number of signal samples, k is the current count, λ is an exponential weighting factor used in the filtering problem, typically taking a value between 0.99 and 1, which is commonly referred to as the forgetting factor [14].
The error signal is calculated as:
e k = d k w N , k H x N , k
where d k is the k-th count of the reference signal with the number, w N , k H is the hermitian-conjugate k-th vector of weighting coefficients of a filter of length N, x N , k is the k-th vector of the input signal of length N.
In this algorithm, the solution of the Wiener filtering problem is based on the search for recurrent relations of the autocorrelation of the input signal and the cross-correlation of the input signal with the reference [14]:
r N , k = λ r N , k 1 + x N , k d k *
R N , k = λ R N , k 1 + x N , k x N , k H
where r N , k is the vector cross-correlation of input and reference signal, R N , k is the matrix autocorrelation of an input signal of size N by N, x N , k is the input signal vector.
The initial value of the inverse autocorrelation matrix is calculated as [14]:
R N , 0 1 = δ 2 I N
δ 2 0.01 σ x 2
where σ x 2 is the input signal variance.
Thus, by calculating the above ratios, the RLS algorithm can be represented as [14]:
g N , k = R N , k 1 1 x N , k λ + x N , k H R N , k 1 1 x N , k
R N , k 1 = λ 1 R N , k 1 1 g N , k x N , k H R N , k 1 1
e k = d k w N H x N , k
w N , k = w N , k 1 + g N , k e k *
where g N , k is the vector of the Kalman coefficient.
The algorithm consists of four steps. The first step is to calculate the Kalman coefficients, which is done using Equation (16). The next step is to calculate the inverse autocorrelation matrix using Equation (17). After that, in step three, the error correction signal is computed using Equation (18). Finally, in step four, the filter coefficients are calculated using Equation (19). This algorithm is used in the RLS algorithm to minimize the error between the filter output and the desired signal.
Currently, in addition to the RLS algorithm, algorithms such as Least Means Squares (LMS) and Normalized Least Means Squares (NLMS) are used in adaptive filtering problems [14,15]. LMS is used in the applications where it is possible to determine the permissible value of the convergence step, which ensures the stability of the algorithm and the optimal convergence rate, which itself requires a priori information about the statistical characteristics of the input signal. If the characteristics of the input signal change over time, the NLMS algorithm is used.
In the NLMS algorithm, the convergence step is adapted during the filtering process. However, the need to select a dynamic convergence step, on which the speed of convergence is dependent, is still present. The NLMS algorithm is more stable when processing non-stationary signals than LMS, due to gradient normalization.
RLS provides the fastest convergence rate and lowest steady-state residual error compared to the algorithms described above. In addition, RLS does not require the selection of a hyperparameter such as the convergence step of the algorithm, due to which it is used in full-duplex communication systems [11].
When adaptive filters are used as echo cancellers, the output signal of the filter is an error signal. Therefore, interference must be suppressed, and the useful signal must be preserved. One of the filter parameters is the weight parameter forgetting factor. This parameter determines the effect of the previous filter coefficients on the calculation of new ones. The smaller it is, the weaker is this influence. If the value of this parameter is small, the filter can suppress not only the interference signal, but also the useful signal, due to overtraining. Furthermore, the stability of the filter may be disrupted. The value of the forgetting factor equal to 1 was used in the work for the above reasons.
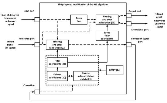
Algorithms 3. Modified Recursive Least Squares. A modification of the classical RLS algorithm was used to improve the quality of the adaptive filter in the power line channel. The main change is that the filter weights are calculated over a period of time T 1 . In our case, the duration of one OFDM symbol was taken as time T1. After that, the calculated value is written to the register. The original vector of the weighting coefficients, the inverse correlation matrix and the vector of the Kalman coefficients are reinitialized. During the next period of time T 2 , the calculation of the weighting coefficients continues, while the filtering of the signal is carried out using the coefficients stored in the register. This procedure is repeated throughout the filtration process. The functional diagram of the algorithm is shown in Figure 2. Function blocks in Figure 2 contain references on the equation related to the operation performed in the block.
Figure 2. Functional diagram of the proposed algorithm.
The mathematical description of the algorithm is presented below.
g N , k = R N , k 1 1 x N , k λ + x N , k H R N , k 1 1 x N , k
R N , k 1 = λ 1 R N , k 1 1 g N , k x N , k H R N , k 1 1
e k = d k w N H x N , k
w N , k = w N , k 1 + g N , k e k *
i f   t T t = 0 ; g N , k = 0 N R N , k 1 = δ 2 I N h N = w N , k w N , k = 0 N e n d
y k = h N H x N , k e k = d k y k
where t is the variable counter, T is the time period during which the coefficients are calculated, h N is the calculated vector of weight coefficients, which is stored in memory, y k is filter output signal.
The following text provides a detailed description of the mathematical formulas used in the model. The filter coefficients are initially initialized to zero values. First, the Kalman coefficients are calculated in Equation (20). Then, Equation (21) is used to calculate the inverse autocorrelation matrix. The error correction signal is generated using Equation (22). The filter coefficients are calculated using Equation (23). The calculated filter coefficients are saved in the memory and all filter parameters are reset after a given time period using Equation (24). Finally, Equation (25) is used to filter the signal with the saved coefficients and subtract the filtered signal from the input signal to obtain the payload signal.
The use of precalculated coefficients together with periodic reinitialization of the filter avoids the influence of significant changes in the input signal on the further process of filter adaptation. The calculation period of the coefficients can be quite small due to the fast convergence of the RLS algorithm. In addition, the changes in signal amplitudes, as well as the noise, lead to fluctuations in the filter coefficients in the classical implementation. The modified algorithm reduces the number of fluctuations considerably.
A similar approach has been demonstrated in [13], where the authors propose to reset the filter coefficients or change their sign in case of sudden channel changes.
If sudden changes occur in the channel, there is no guarantee that the inversion of the sign will bring the current filter coefficients closer to optimal. Furthermore, a reset requires some time to adapt the filter to new conditions. In addition, the disruption of the filter is not always associated with sudden changes in the channel; this will be demonstrated in the future. Slow changes also lead to a deterioration in the quality of filtration, since previously calculated filter coefficients can have a negative impact on the adaptation process. Therefore, such drastic measures as sign inversion or reset will not be appropriate.

3. Results and Simulation

3.1. Simulation

The purpose of the simulation was to evaluate the operation of the adaptive filter and its effect on the processed signal. During the simulation, it was necessary to determine the optimal number of filter coefficients.
The created model generated an OFDM useful signal symbol and an OFDM disturbance symbol. The interference signal had a fixed level and the useful signal was attenuated by some value, after which the two signals were added together. The OFDM parameters used in the simulation are shown in Table 1.
Table 1. OFDM symbol parameters when performing simulation.
The functional scheme of the simulation is shown in Figure 3.
Figure 3. Functional modeling scheme.
Figure 4 shows the dependence of SIR at the filter input on SIR at the filter output with a different number of coefficients.
Figure 4. The influence of the number of filter coefficients on the efficacy of echo cancellation for different Signal-to-Interference Ratios (SIRs).
The figure shows that a large number of coefficients negatively affects the suppression of interference in general, and a small number worsens the operation of the filter at a large value. If the number of coefficients is large, the filter is overtrained and the useful signal is suppressed. If the number of coefficients is small, the filtering quality is reduced. The number of coefficients was chosen as 14 because a good echo suppression was observed at this number, and no sharp decrease in efficiency was noticed at SIRs below −15 dB.

3.2. Results

The received realizations of arrays for OFDM symbols are shown in Figure 5.
Figure 5. Implementation of accepted symbols.
Figure 5 demonstrates that periodic changes in amplitude are present in the arrays. This effect is due to the influence of variable voltage in the power grid and diode rectifiers [18]. These dips occur at a frequency of 100 Hz. Under such circumstances, the channel can be considered cyclostationary. Figure 6 shows the received array with an overlay of a harmonic signal that repeats the shape of the variable component of the power supply circuit.
Figure 6. Array of accepted symbols.
The received data were temporally synchronized with the useful signal and 600 OFDM symbols were then extracted. An adaptive filter that operates according to the algorithms discussed in Section 2 is used to suppress the interference signal and extract the useful signal. The three previously described methods were used in the processing of the accepted data.
The EVM and SIR before and after filtering are calculated after the signals are processed. The main equalizer and adaptive filter parameters used in this work are shown in Table 2.
Table 2. Parameters of adaptive filter algorithms.
The functional diagram of the signal processing process is shown in Figure 7.
Figure 7. Functional diagram of processing received signals.
The filter error signal consists of the useful signal, filter tuning error and noise according to expression (4). A fast Fourier transform is applied to the filter error signal, after which the channel is evaluated using pilot subcarriers (26) and (27).
e f = FFT e
H ^ A f = x A PILOT f e f
where x A PILOT f represents the pilot subcarriers known to the receiver, H ^ A f is the evaluation of the useful signal channel, FFT is the fast Fourier transform.
The channel estimate is interpolated, then inverted and multiplied with the spectrum of the distorted OFDM symbol (28) and (29).
H ^ A f = H ^ A * f H ^ A f H ^ A * f 1
x ^ A f = H ^ A f e f
where x ^ A f represents the restored subcarriers of the useful signal.
Figure 8 and Figure 9 show a comparison of the ratio of interference signal power to useful signal power at the input and output of the adaptive filter implementations using the previously considered algorithms. The power ratio was calculated using the formula below:
1 SIN R in = 10 log 10 x B x RX * 2 x A x RX * 2
1 SIN R out = 10 log 10 x B e * 2 x A e * 2
where 1 SIN R in is the ratio of the interference power to the power of the useful signal before cancellation, 1 SIN R out is the ratio of the interference power to the power of the useful signal after cancellation.
Figure 8. Realization 1: Ratio of interference signal power to the power of the useful signal before and after cancellation.
Figure 9. Realization 2. Ratio of interfering signal power to useful signal power before and after cancellation.
Figure 8 and Figure 9 demonstrate that the modified RLS algorithm provides the greatest echo cancellation, since the calculation of filter coefficients in the areas of amplitude variation is not affected by previously calculated coefficients. The gain in echo cancellation ranges from 1.5 to 5 dB in some areas.
The change in the amplitude of the input signal affects the quality of filtering when using the RLS algorithm, because the filter takes time to adjust the coefficients.
If PSO is used, the overall level of interference signal suppression is several decibels worse than when using RLS. This situation is observed in all areas of the received signal.
Table 3 presents a comparison of the EVM for 100 implementations, with and without cancellation algorithms. Multiple realizations of the signal were saved during the experiment, and parameter values such as EVM and SIR were obtained for each realization. To obtain more robust parameter estimates, the parameter values obtained from all realizations were averaged, reducing the effect of random variations or noise in the signal. The EVM value was calculated using the formula:
EVM RMS = x ^ A f x A REF f 2 K E x ^ A f 2
where x A REF f is the reference counts of the constellation diagram used, K is the number of signal samples. The expected value of x is obtained by computing the mean value across all 100 realizations:
E x ^ A f 2 = 1 N A = = 1 N x ^ A f 2
Table 3. Comparison of the average values of the quality of the algorithms.
The results demonstrate the effect of cancellation algorithms on the EVM and provide a reliable estimate of the true underlying parameter values.
Figure 10 shows the constellation diagrams obtained without using cancellation algorithms, using the PSO algorithm, using the RLS algorithm and using the RLS modification, respectively.
Figure 10. Constellation of the recovered OFDM symbol with and without different cancellation algorithms.
Periodic reinitialization of the filter coefficients provides both an improvement in EVM and SIR, compared to classical RLS and PSO.
The main disadvantage of using PSO is the increased computational complexity and low level of echo cancellation. Each iteration requires performing a convolution operation for each particle, whereas the RLS algorithm performs one continuous convolution operation on the entire input signal with a signal cancellation level higher.

4. Conclusions

For this article, echo signal cancellation was performed in the conditions of the power supply circuit channel, taking into account the influence of the alternating voltage of the power grid. Three adaptive filtering algorithms—RLS, PSO, and modified RLS—were used for cancelling an echo signal and separating an unknown useful signal.
RLS and PSO algorithms show worse results compared to the proposed method. The cancellation level for the proposed method is 4 dB higher compared to PSO, and 2 dB higher compared to RLS. It is worth noting that PSO, unlike RLS, has greater computational complexity. The proposed modified RLS provides computational complexity comparable to RLS, and signal interference suppression is the highest compared to RLS and PSO. The proposed modification of RLS can be used in communication systems that experience periodic channel interference, such as power lines.
According to our experiments, the PSO algorithm has the largest computational complexity, as it involves a set of filter coefficient registers that are updated on every iteration. This makes it slowest, and it consumes more resources compared to other algorithms. The RLS algorithm, on the other hand, has a computational complexity of O(N2), where N is the number of filter coefficients. It utilizes only one register for the filter coefficients, making it faster than the PSO algorithm. In our experiments, the RLS algorithm was the fastest.
In comparison to the RLS algorithm, the proposed modified RLS algorithm requires an additional delay line, a register to store calculated filter coefficients, a resetting block and a convolutional block. However, its computational complexity is insignificantly higher than the RLS algorithm and does not require many resources.
It is evident that in order for a full-duplex power-line data transmission system to function, both digital and analog echo cancellation must be utilized. This will prevent overload of the dynamic range of the receiving circuit by the transmitter signal that penetrates into it. At present, we are developing a hardware implementation of analog echo cancellation, in which we are addressing several tasks. The first task involves digital-to-analog echo cancellation, which includes the formation of a compensation signal in digital form, its subsequent conversion to an analog signal through a digital-to-analog converter and compensation of the transmitter signal in a summation circuit. The second task is to implement an electronic circulator in the 1–20 MHz range, which allows reducing the power of the transmitter signal that penetrates into the receiving circuit. The last task is to match the output impedance of the circuit with the power network and adapt it to possible changes. In the future, we plan to combine the proposed and used solutions and implement a full prototype of a full-duplex power-line data transmission system, which will enable the evaluation of the effectiveness of using full-duplex technology in such systems.

Author Contributions

Conceptualization, E.R. and D.L.; Data curation, E.D.; Formal analysis, D.P.; Investigation, S.M.; Methodology, D.L.; Resources, E.R.; Software, S.M.; Supervision, E.R.; Validation, E.D. and D.P.; Visualization, Y.K.; Writing—original draft, S.M.; Writing—review and editing, E.D. and S.N. All authors have read and agreed to the published version of the manuscript.

Funding

The work is supported by the Russian Science Foundation grant. Project number 22-79-10148, https://rscf.ru/en/project/22-79-10148/.

Data Availability Statement

Not applicable.

Conflicts of Interest

The authors declare no conflict of interest.

References

  1. Global IoT Market Size Grow 19% in 2023—IoT Shows Resilience Despite Economic Downturn. Available online: https://iot-analytics.com/iot-market-size/ (accessed on 7 April 2023).
  2. Delfino, A.S.; Brandão, R.P.; Bumpus, T.; Fortes, M.Z.; Henriques, H.O.; Ferreira, V.H. Evaluation of the Impact of LED and Compact Fluorescent Lamps on the PLC Transmission with X-10 Technology. In Proceedings of the 2019 IEEE Milan PowerTech, Milan, Italy, 23–27 June 2019; IEEE: Piscataway, NJ, USA, 2019; pp. 1–6. [Google Scholar]
  3. Merkulov, A.G.; Shuvalow, V.P. The perspectives and practice of PLC HomePlug AV modems application in the network devices and industrial tools. In Proceedings of the 2019 1st Global Power, Energy and Communication Conference (GPECOM), Neveshir, Turkey, 12–15 June 2019; IEEE: Piscataway, NJ, USA, 2019; pp. 46–49. [Google Scholar]
  4. Korki, M.; Zhang, C.; Vu, H.L. Performance evaluation of PRIME in smart grid. In Proceedings of the 2013 IEEE International Conference on Smart Grid Communications (SmartGridComm), Vancouver, BC, Canada, 21–24 October 2013; IEEE: Piscataway, NJ, USA, 201; pp. 294–299. [Google Scholar]
  5. Razazian, K.; Umari, M.; Kamalizad, A.; Loginov, V.; Navid, M. G3-PLC specification for powerline communication: Overview, system simulation and field trial results. In Proceedings of the 2010 IEEE International Symposium on Power Line Communications and Its Applications (ISPLC), Rio de Janeiro, Brazil, 28–31 March 2010; IEEE: Piscataway, NJ, USA, 2010; pp. 313–318. [Google Scholar]
  6. Passerini, F.; Tonello, A.M. Adaptive hybrid circuit for enhanced echo cancellation in full duplex PLC. In Proceedings of the 2018 IEEE International Symposium on Power Line Communications and its Applications (ISPLC), Manchester, UK, 8–11 April 2018; IEEE: Piscataway, NJ, USA, 2018; pp. 1–5. [Google Scholar]
  7. Cañete, F.J.; Prasad, G.; Lampe, L. PLC networks with in-band full-duplex relays. In Proceedings of the 2020 IEEE International Symposium on Power Line Communications and its Applications (ISPLC), Malaga, Spain, 11–13 May 2020; IEEE: Piscataway, NJ, USA, 2020; pp. 1–6. [Google Scholar]
  8. Prasad, G.; Lutz, L.; Sudip, S. Analog interference cancellation for full-duplex broadband power line communications. In Proceedings of the 2017 IEEE International Symposium on Power Line Communications and its Applications (ISPLC), Madrid, Spain, 3–5 April 2017; IEEE: Piscataway, NJ, USA, 2017. [Google Scholar]
  9. Bharadia, D.; Katti, S. Full duplex MIMO radios. In Proceedings of the 11th USENIX Symposium on Networked Systems Design and Implementation (NSDI 14), Seattle, WA, USA, 2–4 April 2014; pp. 359–372. [Google Scholar]
  10. Ahmed, E.; Eltawil, A.; Li, Z.; Cetiner, B.A. Full-duplex systems using multireconfigurable antennas. IEEE Trans. Wirel. Commun. 2015, 1, 5971–5983. [Google Scholar] [CrossRef]
  11. Adams, M.; Bhargava, V.K. Use of the recursive least squares filter for self-interference channel estimation. In Proceedings of the 2016 IEEE 84th Vehicular Technology Conference (VTC-Fall), Montreal, QC, Canada, 18–21 September 2016; IEEE: Piscataway, NJ, USA, 2016; pp. 1–4. [Google Scholar]
  12. Wu, D.; Zhang, C. A digital self-interference cancellation method for practical full-duplex radio. In Proceedings of the 2014 IEEE International Conference on Signal Processing, Communications and Computing (ICSPCC), Guilin, China, 5–8 August 2014; IEEE: Piscataway, NJ, USA, 2014; pp. 74–79. [Google Scholar]
  13. Tripodi, C.; Ferrari, G.; Pighi, R.; Raheli, R. Echo cancellation in a power line modem in the presence of abrupt channel variations. In Proceedings of the 18th IEEE International Symposium on Power Line Communications and Its Applications, Glasgow, UK, 30 March–2 April 2014; IEEE: Piscataway, NJ, USA, 2014; pp. 208–213. [Google Scholar]
  14. Djigan, V. Adaptive Signal Filtering: Theory and Algorithms; Technosphera: Moscow, Russia, 2013; 528p. [Google Scholar]
  15. Haykin, S.S. Adaptive Filter Theory, 5th ed.; Pearson: Boston, MA, USA, 2008; 913p. [Google Scholar]
  16. Sengupta, S.; Basak, S.; Peters, R.A. Particle Swarm Optimization: A survey of historical and recent developments with hybridization perspectives. Mach. Learn. Knowl. Extr. 2018, 1, 157–191. [Google Scholar] [CrossRef]
  17. Mahbub, U.; Acharjee, P.P.; Fattah, S.A. A time domain approach of acoustic echo cancellation based on particle swarm optimization. In Proceedings of the International Conference on Electrical and Computer Engineering (ICECE 2010), Dhaka, Bangladesh, 18–20 December 2010; IEEE: Piscataway, NJ, USA, 2010; pp. 518–521. [Google Scholar]
  18. Antoniali, M.; Tonello, A.M. Measurement and characterization of load impedances in home power line grids. IEEE Trans. Instrum. Meas. 2013, 63, 548–556. [Google Scholar] [CrossRef]
Disclaimer/Publisher’s Note: The statements, opinions and data contained in all publications are solely those of the individual author(s) and contributor(s) and not of MDPI and/or the editor(s). MDPI and/or the editor(s) disclaim responsibility for any injury to people or property resulting from any ideas, methods, instructions or products referred to in the content.

Article Metrics

Citations

Article Access Statistics

Multiple requests from the same IP address are counted as one view.