Pore Solution pH for the Corrosion Initiation of Rebars Embedded in Concrete under a Long-Term Natural Carbonation Reaction
Abstract
:Featured Application
Abstract
1. Introduction
2. Experimental Section
2.1. In-Situ Inspection
- Visual inspection: The appearance of each column was inspected, and the maximum width of cracked concrete cover was measured.
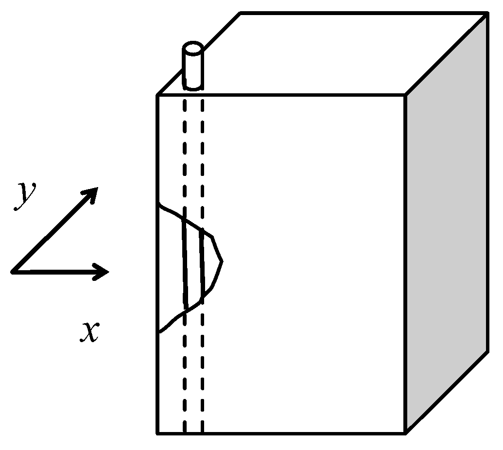
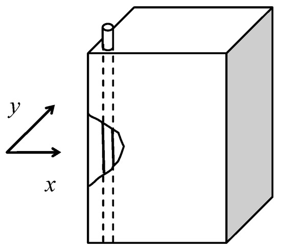
- Samples of concrete cover: An electric hammer was used to drill the cover concrete from the corner of the rectangular columns until the rebar is exposed, as shown in Figure 1. Then the concrete cover samples were sealed instantly with a vacuum bag to isolate from the air.
- Cover depths measurement: As Figure 2 shows, a digital Vernier caliper with an accuracy of 0.01 mm was used to measure depth of the cover, while the corrosion status of the rebar was recorded with a high resolution digital camera.
- Testing the depth of carbonation: Carbonation depth was measured by spraying a 1% solution of phenolphthalein in ethanol to the fresh concrete surface. Each specimen was measured at three points and the average value was calculated as the value of each measurement.
- Samples of drilled concrete core: Cylinder specimens were drilled out from each column where concrete cover samples were collected.
2.2. Test Method and Procedure
2.2.1. Compression Test
2.2.2. Pore Solution pH of Concrete Cover
- Samples of concrete cover cutting and drying. Thirty-five concrete cover samples were cut from the outer surface at intervals of 7 mm along the depth of carbonation with a precision saw using water cooling. Because the sizes of the drilled concrete cover samples were different, the number of slices for different concrete cover samples were either 3 or 4. Thus, 108 7-mm-thick slices were obtained from the concrete cover samples, e.g., 0–7, 9–16, 18–25, and 27–34 mm. After the concrete slices were cut, they were dried in an oven at 60 °C for 8 h, as shown in Figure 4a,b.
- Samples pre-conditioning. The dried concrete cover slices were crushed into a powder with a maximum particle size of 5 mm, and the coarse aggregates were removed. The particles were then saturated with distilled water spraying, as shown in Figure 4c.
- Concrete pore solutions extraction. Approximately 20–30 g of the saturated particles were placed into the cavity of the hollow cylinder of the concrete pore solution expression device. The extraction tests were conducted at ambient temperature using a servo-hydraulic testing system, as shown in Figure 4d. Pressure was applied to the piston using a maximum pressure of 610 MPa in pressing the concrete particles with a mean rate increase of 2 kN/s. After the maximum pressure is reached, it was held for 10 min until no more pore solutions could be obtained. The pore solution was collected in a centrifuge tube. A minimum volume of 2–3 mL of pore solutions added to carry out pH measurements.
- pH measurements. The pH of the expressed pore solution was measured directly with a pH meter and a micro combination pH electrode, as shown in Figure 4e. This electrode was designed to measure in the pH = 0–14 range. Before performing the pH measurements, the pH electrode system was calibrated by two standard buffer solutions. The pH measurements were conducted at an ambient temperature within a range of 20–25 °C. The calibrated micro-combination pH electrode remained in the solution until the pH value was constant.
2.2.3. X-ray Diffraction (XRD) Measurements
3. Results and Discussions
3.1. In-Situ Test Results
3.2. Results of Strength Tests
3.3. Variation in pH along the Depth of Cover
3.4. Variation in pH with Concrete Compressive Strength
3.5. Variation in pH with Crack Width
3.6. XRD Analysis
3.7. The pH of Concrete Cover for Corrosion Initiation
4. Conclusions
Acknowledgments
Author Contributions
Conflicts of Interest
References
- Ashraf, W. Carbonation of cement-based materials: Challenges and opportunities. Constr. Build. Mater. 2016, 120, 558–570. [Google Scholar] [CrossRef]
- Ortega, J.; Sánchez, I.; Cabeza, M.; Climent, M. Short-term behavior of slag concretes exposed to a real in situ mediterranean climate environment. Materials 2017, 10, 915. [Google Scholar] [CrossRef] [PubMed]
- Chalee, W.; Ausapanit, P.; Jaturapitakkul, C. Utilization of fly ash concrete in marine environment for long term design life analysis. Mater. Des. 2010, 31, 1242–1249. [Google Scholar] [CrossRef]
- Ortega, J.; Esteban, M.; Sánchez, I.; Climent, M. Performance of sustainable fly ash and slag cement mortars exposed to simulated and real in situ mediterranean conditions along 90 warm season days. Materials 2017, 10, 1254. [Google Scholar] [CrossRef] [PubMed]
- Thomas, M.D.A.; Matthews, J.D. Performance of pfa concrete in a marine environment 10-year results. Cem. Concr. Compos. 2004, 26, 5–20. [Google Scholar] [CrossRef]
- Ganjian, E.; Pouya, H.S. The effect of Persian Gulf tidal zone exposure on durability of mixes containing silica fume and blast furnace slag. Constr. Build. Mater. 2009, 23, 644–652. [Google Scholar] [CrossRef]
- Ramezanianpour, A.A.; Malhotra, V.M. Effect of curing on the compressive strength, resistance to chloride-ion penetration and porosity of concretes incorporating slag, fly ash or silica fume. Cem. Concr. Compos. 1995, 17, 125–133. [Google Scholar] [CrossRef]
- Kim, J.; Han, S.H.; Song, Y.C. Effect of temperature and aging on the mechanical properties of concrete. Cem. Concr. Res. 2002, 32, 1087–1094. [Google Scholar] [CrossRef]
- Poupard, O.; L’Hostis, V.; Catinaud, S.; Petre-Lazar, I. Corrosion damage diagnosis of a reinforced concrete beam after 40 years natural exposure in marine environment. Cem. Concr. Res. 2006, 36, 504–520. [Google Scholar] [CrossRef]
- Vollpracht, A.; Lothenbach, B.; Snellings, R.; Haufe, J. The pore solution of blended cements: A review. Mater. Struct. 2016, 49, 3341–3367. [Google Scholar] [CrossRef]
- Behnood, A.; Van Tittelboom, K.; De Belie, N. Methods for measuring pH in concrete: A review. Constr. Build. Mater. 2016, 105, 176–188. [Google Scholar] [CrossRef]
- Plusquellec, G.; Geiker, M.R.; Lindgård, J.; Duchesne, J.; Fournier, B.; De Weerdt, K. Determination of the pH and the free alkali metal content in the pore solution of concrete: Review and experimental comparison. Cem. Concr. Res. 2017, 96, 13–26. [Google Scholar] [CrossRef]
- Han, J.; Liu, W.; Wang, S.; Geert, D.S.; Sun, W.; Liang, Y. Carbonation reaction and microstructural changes of metro-tunnel segment concrete coupled with static and fatigue load. J. Mater. Civ. Eng. 2017, 29, 1–11. [Google Scholar] [CrossRef]
- Fu, C.; Jin, N.; Ye, H.; Jin, X.; Dai, W. Corrosion characteristics of a 4-year naturally corroded reinforced concrete beam with load-induced transverse cracks. Corros. Sci. 2017, 117, 11–23. [Google Scholar] [CrossRef]
- Marques, P.F.; Costa, A. Service life of RC structures: Carbonation induced corrosion. Prescriptive vs. performance-based methodologies. Constr. Build. Mater. 2010, 24, 258–265. [Google Scholar] [CrossRef]
- Neves, R.; Branco, F.; de Brito, J. Field assessment of the relationship between natural and accelerated concrete carbonation resistance. Cem. Concr. Compos. 2013, 41, 9–15. [Google Scholar] [CrossRef]
- McPolin, D.O.; Basheer, P.A.; Long, A.E. Carbonation and ph in mortars manufactured with supplementary cementitious materials. J. Mater. Civ. Eng. 2009, 21, 217–225. [Google Scholar] [CrossRef]
- Pu, Q.; Jiang, L.; Xu, J.; Chu, H.; Xu, Y.; Zhang, Y. Evolution of pH and chemical composition of pore solution in carbonated concrete. Constr. Build. Mater. 2012, 28, 519–524. [Google Scholar] [CrossRef]
- Ji, Y.; Wu, M.; Ding, B.; Liu, F.; Gao, F. The experimental investigation of width of semi-carbonation zone in carbonated concrete. Constr. Build. Mater. 2014, 65, 67–75. [Google Scholar] [CrossRef]
- Sufian Badar, M.; Kupwade-Patil, K.; Bernal, S.A.; Provis, J.L.; Allouche, E.N. Corrosion of steel bars induced by accelerated carbonation in low and high calcium fly ash geopolymer concretes. Constr. Build. Mater. 2014, 61, 79–89. [Google Scholar] [CrossRef]
- Climent, M.A.; Gutiérrez, C. Proof by UV-visible modulated reflectance spectroscopy of the breakdown by carbonation of the passivating layer on iron in alkaline solution. Surf. Sci. 1995, 330, L651–L656. [Google Scholar] [CrossRef]
- Sagüés, A.A.; Moreno, E.I.; Andrade, C. Evolution of pH during in-situ leaching in small concrete cavities. Cem. Concr. Res. 1997, 27, 1747–1759. [Google Scholar] [CrossRef]
- Li, L.; Sagüés, A.A.; Poor, N. In situ leaching investigation of pH and nitrite concentration in concrete pore solution. Cem. Concr. Res. 1999, 29, 315–321. [Google Scholar] [CrossRef]
- Räsänen, V.; Penttala, V. The pH measurement of concrete and smoothing mortar using a concrete powder suspension. Cem. Concr. Res. 2004, 34, 813–820. [Google Scholar] [CrossRef]
- Li, L.; Nam, J.; Hartt, W.H. Ex situ leaching measurement of concrete alkalinity. Cem. Concr. Res. 2005, 35, 277–283. [Google Scholar] [CrossRef]
- Liu, E.; Ghandehari, M.; Brückner, C.; Khalil, G.; Worlinsky, J.; Jin, W.; Sidelev, A.; Hyland, M.A. Mapping high pH levels in hydrated calcium silicates. Cem. Concr. Res. 2017, 95, 232–239. [Google Scholar] [CrossRef]
- Nguyen, T.H.; Venugopala, T.; Chen, S.; Sun, T.; Grattan, K.T.V.; Taylor, S.E.; Muhammed Basheer, P.A.; Long, A.E. Fluorescence based fibre optic pH sensor for the pH 10–13 range suitable for corrosion monitoring in concrete structures. Sens. Actuators B Chem. 2014, 191, 498–507. [Google Scholar] [CrossRef]
- Buckley, L.J.; Carter, M.A.; Wilson, M.A.; Scantlebury, J.D. Methods of obtaining pore solution from cement pastes and mortars for chloride analysis. Cem. Concr. Res. 2007, 37, 1544–1550. [Google Scholar] [CrossRef]
- Cyr, M.; Rivard, P.; Labrecque, F.; Daidié, A. High-pressure device for fluid extraction from porous materials: Application to cement-based materials. J. Am. Ceram. Soc. 2008, 91, 2653–2658. [Google Scholar] [CrossRef]
- Parrott, L.J. A study of carbonation-induced corrosion. Mag. Concr. Res. 1994, 46, 23–28. [Google Scholar] [CrossRef]
- Köliö, A.; Pakkala, T.A.; Hohti, H.; Laukkarinen, A.; Lahdensivu, J.; Mattila, J.; Pentti, M. The corrosion rate in reinforced concrete facades exposed to outdoor environment. Mater. Struct. 2017, 50, 1–16. [Google Scholar] [CrossRef]
- Valcarce, M.B.; Vázquez, M. Carbon steel passivity examined in solutions with a low degree of carbonation: The effect of chloride and nitrite ions. Mater. Chem. Phys. 2009, 115, 313–321. [Google Scholar] [CrossRef]
- Liu, R.; Jiang, L.; Xu, J.; Xiong, C.; Song, Z. Influence of carbonation on chloride-induced reinforcement corrosion in simulated concrete pore solutions. Constr. Build. Mater. 2014, 56, 16–20. [Google Scholar] [CrossRef]
- Liu, M.; Cheng, X.; Li, X.; Jin, Z.; Liu, H. Corrosion behavior of Cr modified HRB400 steel rebar in simulated concrete pore solution. Constr. Build. Mater. 2015, 93, 884–890. [Google Scholar] [CrossRef]
- McPolin, D.O.; Basheer, P.A.; Long, A.E.; Grattan, K.T.; Sun, T. New test method to obtain pH profiles due to carbonation of concretes containing supplementary cementitious materials. J. Mater. Civ. Eng. 2007, 19, 936–946. [Google Scholar] [CrossRef]
- Da Silva, F.G.; Helene, P.; Castro-Borges, P.; Liborio, J.B. Sources of variations when comparing concrete carbonation results. J. Mater. Civ. Eng. 2009, 21, 333–342. [Google Scholar] [CrossRef]
- Bernal, S.A.; Provis, J.L.; Brice, D.G.; Kilcullen, A.; Duxson, P.; van Deventer, J.S.J. Accelerated carbonation testing of alkali-activated binders significantly underestimates service life: The role of pore solution chemistry. Cem. Concr. Res. 2012, 42, 1317–1326. [Google Scholar] [CrossRef]
- Bernal, S.A.; Provis, J.L.; Mejía De Gutiérrez, R.; van Deventer, J.S.J. Accelerated carbonation testing of alkali-activated slag/metakaolin blended concretes: Effect of exposure conditions. Mater. Struct. 2015, 48, 653–669. [Google Scholar] [CrossRef]
- Bernal, S.A.; San Nicolas, R.; Provis, J.L.; Mejía De Gutiérrez, R.; van Deventer, J.S.J. Natural carbonation of aged alkali-activated slag concretes. Mater. Struct. 2014, 47, 693–707. [Google Scholar] [CrossRef]
- Xu, H.; Provis, J.L.; van Deventer, J.S.J.; Krivenko, P.V. Characterization of aged slag concretes. ACI Mater. J. 2008, 105, 131–139. [Google Scholar]
- Pasupathy, K.; Berndt, M.; Castel, A.; Sanjayan, J.; Pathmanathan, R. Carbonation of a blended slag-fly ash geopolymer concrete in field conditions after 8 years. Constr. Build. Mater. 2016, 125, 661–669. [Google Scholar] [CrossRef]
- Sullivan-Green, L.; Hime, W.; Dowding, C. Accelerated protocol for measurement of carbonation through a crack surface. Cem. Concr. Res. 2007, 37, 916–923. [Google Scholar] [CrossRef]
- Han, J.; Liu, W.; Wang, S.; Du, D.; Xu, F.; Li, W.; De Schutter, G. Effects of crack and ITZ and aggregate on car-bonation penetration based on 3D micro X-ray CT microstructure evolution. Constr. Build. Mater. 2016, 128, 256–271. [Google Scholar] [CrossRef]
- Alahmad, S.; Toumi, A.; Verdier, J.; François, R. Effect of crack opening on carbon dioxide penetration in cracked mortar samples. Mater. Struct. 2009, 42, 559–566. [Google Scholar] [CrossRef]
- Chang, C.; Chen, J. The experimental investigation of concrete carbonation depth. Cem. Concr. Res. 2006, 36, 1760–1767. [Google Scholar] [CrossRef]
















| Cover Sample | Cover Depth (mm) | Carbonation Depth (mm) | Compressive Strength (MPa) | wmax (mm) | Corrosion Status of Rebars |
|---|---|---|---|---|---|
| A1 | 23.14 | 27.64 | 55.3 | 0.25 | severe corrosion |
| A2 | 23.64 | 16.02 | 54.4 | 0.06 | severe corrosion |
| A3 | 22.12 | 23.27 | 50.2 | 0.10 | severe corrosion |
| A4 | 27.00 | 21.67 | 45.0 | 0.10 | severe corrosion |
| A5 | 27.00 | 23.00 | 58.0 | 0.15 | severe corrosion |
| A6 | 25.00 | 15.67 | 45.0 | 0.00 | moderate corrosion |
| A7 | 19.46 | 8.85 | 55.5 | 0.00 | moderate corrosion |
| A8 | 26.86 | 16.62 | 52.2 | 0.04 | severe corrosion |
| A9 | 19.69 | 9.33 | 47.2 | 0.10 | severe corrosion |
| A10 | 30.55 | 10.54 | 52.2 | 0.00 | moderate corrosion |
| A11 | 22.58 | 20.34 | 51.3 | 0.20 | severe corrosion |
| A12 | 23.09 | 8.47 | 47.3 | 0.00 | moderate corrosion |
| A13 | 22.61 | 22.40 | 57.8 | 0.04 | severe corrosion |
| A14 | 26.58 | 15.91 | 57.1 | 0.00 | moderate corrosion |
| A15 | 24.85 | 4.03 | 48.2 | 0.00 | minor corrosion |
| A16 | 32.57 | 15.57 | 42.4 | 0.00 | moderate corrosion |
| A17 | 19.47 | 4.33 | 50.2 | 0.00 | minor corrosion |
| A18 | 22.36 | 7.38 | 51.2 | 0.00 | moderate corrosion |
| A19 | 23.54 | 12.96 | 42.5 | 0.10 | severe corrosion |
| A20 | 31.71 | 11.59 | 46.0 | 0.00 | minor corrosion |
| A21 | 38.42 | 7.96 | 57.0 | 0.00 | minor corrosion |
| A22 | 34.71 | 9.08 | 42.4 | 0.00 | moderate corrosion |
| A23 | 22.19 | 4.01 | 52.5 | 0.00 | minor corrosion |
| A24 | 40.86 | 19.14 | 57.0 | 0.00 | minor corrosion |
| A25 | 34.65 | 15.84 | 52.6 | 0.00 | minor corrosion |
| B1 | 31.17 | 6.02 | 47.1 | 0.00 | minor corrosion |
| B2 | 31.49 | 7.03 | 53.6 | 0.00 | minor corrosion |
| B3 | 28.30 | 8.44 | 47.3 | 0.00 | minor corrosion |
| B4 | 35.80 | 9.89 | 44.3 | 0.00 | minor corrosion |
| B5 | 23.11 | 8.24 | 46.7 | 0.00 | minor corrosion |
| B6 | 38.49 | 10.95 | 58.3 | 0.00 | minor corrosion |
| B7 | 31.02 | 9.36 | 40.5 | 0.00 | minor corrosion |
| B8 | 35.56 | 6.12 | 41.0 | 0.00 | minor corrosion |
| C1 | 29.35 | 35.22 | 57.0 | 0.04 | severe corrosion |
| C2 | 28.97 | 3.23 | 53.5 | 0.00 | uncorroded |
© 2018 by the authors. Licensee MDPI, Basel, Switzerland. This article is an open access article distributed under the terms and conditions of the Creative Commons Attribution (CC BY) license (http://creativecommons.org/licenses/by/4.0/).
Share and Cite
Liu, X.; Niu, D.; Li, X.; Lv, Y.; Fu, Q. Pore Solution pH for the Corrosion Initiation of Rebars Embedded in Concrete under a Long-Term Natural Carbonation Reaction. Appl. Sci. 2018, 8, 128. https://doi.org/10.3390/app8010128
Liu X, Niu D, Li X, Lv Y, Fu Q. Pore Solution pH for the Corrosion Initiation of Rebars Embedded in Concrete under a Long-Term Natural Carbonation Reaction. Applied Sciences. 2018; 8(1):128. https://doi.org/10.3390/app8010128
Chicago/Turabian StyleLiu, Xiguang, Ditao Niu, Xingchen Li, Yao Lv, and Qiang Fu. 2018. "Pore Solution pH for the Corrosion Initiation of Rebars Embedded in Concrete under a Long-Term Natural Carbonation Reaction" Applied Sciences 8, no. 1: 128. https://doi.org/10.3390/app8010128
APA StyleLiu, X., Niu, D., Li, X., Lv, Y., & Fu, Q. (2018). Pore Solution pH for the Corrosion Initiation of Rebars Embedded in Concrete under a Long-Term Natural Carbonation Reaction. Applied Sciences, 8(1), 128. https://doi.org/10.3390/app8010128
