Experimental Behavior of Steel-Concrete Composite Girders with UHPC-Grout Strip Shear Connection
Abstract
1. Introduction
2. Experimental Program
2.1. UHPC-Class Grout
2.2. Push-Out Testing of Shear Connectors
2.3. Static and Fatigue Testing of Composite Beams
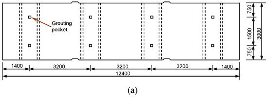
2.3.1. Specimen Design
2.3.2. Test Set-Up and Instrumentation
3. Results and Discussions
3.1. Push-Out Testing of Shear Connectors
3.2. Static Testing of Composite Beam 1 and Beam 2
3.2.1. Load-Deflection Relationship and Failure Mode
3.2.2. Composite Action
3.2.3. Load–Slip Relationship
3.3. Fatigue Testing of Composite Beam 3
4. Theoretical Analysis and Comparison
4.1. Evaluation of the Degree of Shear Connection
4.2. Evaluation of Plastic Resistance Moment
5. Finite Element Modelling
5.1. Finite Element Model
5.2. Comparisons between FEA and Test Results
6. Design of a Prototype Bridge
6.1. Details of the Prototype Bridge
6.2. Demand for Interface Shear
6.3. Construction Process
6.4. Discussions
7. Conclusions
- Based on the push-out testing, the ultimate capacity of the shear connection was dominated by the interface failure between the embossed steel and the UHPC grout. The interface shear strength of the UHPC grout strip shear connection could be as high as 15 MPa. The use of UHPC as the connection grout exhibited a significant increase in capacity compared to HPM.
- Based on the static testing of composite beams, the UHPC-grout strip shear connection exhibited good interface shear performance. Full composite action was developed between the precast panels and steel beams in the composite beams.
- Based on the fatigue testing of a composite beam, the composite action remained intact after testing for two million load cycles, and the fatigue loading had no damaging effect on the structural performance of the composite beam.
- Both the experimental tests and theoretical calculations showed that a full interaction could be developed between the precast panels and steel beams. The ultimate capacity of the composite beam using the UHPC grout strip shear connection could be well predicted by the plastic approach. In the tests of Beam 1 and Beam 2, the experimental moment strengths are 507 kN·m and 489 kN·m, respectively, which are close to the theoretical moment strength of 480 kN·m predicted by the plastic approach.
- The trail design of the prototype bridge shows that the UHPC grout strip shear connection has the potential to be used in accelerated bridge construction. Calculation results indicate that this novel connection has the potential to meet the requirements for horizontal shear in the design of a real bridge.
Author Contributions
Funding
Institutional Review Board Statement
Informed Consent Statement
Data Availability Statement
Conflicts of Interest
References
- Shim, C.S.; Lee, P.G.; Chang, S.P. Design of shear connection in composite steel and concrete bridges with precast decks. J. Constr. Steel Res. 2001, 57, 203–219. [Google Scholar] [CrossRef]
- Issa, M.A.; Patton, T.A.; Abdalla, H.A.; Yousif, A.A.; Issa, M.A. Composite behavior of shear connections in full-depth precast concrete bridge deck panels on steel stringers. PCI J. 2003, 48, 76–89. [Google Scholar] [CrossRef]
- Badie, S.S.; Girgis, A.; Tadros, M.K.; Nguyen, N.T. Relaxing the stud spacing limit for full-depth precast concrete deck panels supported on steel girders (phase I). J. Bridge Eng. 2010, 15, 482–492. [Google Scholar] [CrossRef]
- Badie, S.S.; Girgis, A.; Tadros, M.K.; Sriboonma, K. Full-scale testing for composite slab/beam systems made with extended stud spacing. J. Bridge Eng. 2011, 16, 653–661. [Google Scholar] [CrossRef]
- Huh, B.; Lam, C.; Tharmabala, B. Effect of shear stud clusters in composite girder bridge design. Can. J. Civ. Eng. 2015, 42, 259–272. [Google Scholar] [CrossRef]
- Xu, C.; Sugiura, K.; Masuya, H.; Hashimoto, K.; Fukada, S. Experimental study on the biaxial loading effect on group stud shear connectors of steel-concrete composite bridges. J. Bridge Eng. 2015, 20, 04014110. [Google Scholar] [CrossRef]
- He, Z.Q.; Xu, T.; Xing, Y.; Liu, Z.; Ma, Z.J. Overlap of splitting in slabs with closely spaced intermediate anchorages. J. Bridge Eng. 2020, 25, 04020045. [Google Scholar] [CrossRef]
- Ovuoba, B.; Prinz, G.S. Headed shear stud fatigue demands in composite bridge girders having varied stud pitch, girder depth, and span length. J. Bridge Eng. 2018, 23, 04018085. [Google Scholar] [CrossRef]
- Thomann, M. Connexions par Adhérence Pour les Ponts Mixtes Acier-Béton. Ph.D. Thesis, École Polytechnique Fédérale de Lausanne (EPFL), Lausanne, Switzerland, 2005. [Google Scholar]
- Papastergiou, D.; Lebet, J.P. Experimental investigation and modelling of the structural behavior of confined grouted interfaces for a new steel-concrete connection. Eng. Struct. 2014, 74, 180–192. [Google Scholar] [CrossRef]
- Diógenes, H.J.F.; Debs, A.E.; Valente, I.B. Experimental analysis of new interfaces for connections by adhesion, interlocking and friction. J. Constr. Steel Res. 2015, 110, 170–181. [Google Scholar] [CrossRef][Green Version]
- Diógenes, H.J.F.; Debs, A.E.; Valente, I.B. Tests on composite beams using new connections by adherence. Proc. Inst. Civ. Eng. Struct. Build. 2018, 171, 149–165. [Google Scholar] [CrossRef]
- Thomann, M.; Lebet, J.P. The modelling of an embossed steel-to-cement paste confined interface loaded in shear. J. Constr. Steel Res. 2007, 63, 639–646. [Google Scholar] [CrossRef]
- Papastergiou, D. Connections by Adhesion, Interlocking and Friction for Steel-Concrete Composite Bridges under Static and Cyclic Loading. Ph.D. Thesis, École Polytechnique Fédérale de Lausanne (EPFL), Lausanne, Switzerland, 2012. [Google Scholar]
- Graybeal, B.A.; Bruhwiler, E.; Kim, B.S.; Toutlemonde, F.; Voo, Y.L.; Zaghi, A. International perspective on UHPC in bridge engineering. J. Bridge Eng. 2020, 25, 04020094. [Google Scholar] [CrossRef]
- Graybeal, B.A. Ultra-High Performance Concrete Composite Connections for Precast Concrete Bridge Decks; Report No. FHWA-HRT-12-041; Federal Highway Administration. Office of Infrastructure Research and Development: Washington, DC, USA, 2012. [Google Scholar]
- He, S.; Fang, Z.; Mosallam, A.S. Push-out tests for perfobond strip connectors with UHPC grout in the joints of steel-concrete hybrid bridge girders. Eng. Struct. 2017, 135, 177–190. [Google Scholar] [CrossRef]
- Kruszewski, D.; Wille, K.; Zaghi, A.E. Push-out behavior of headed shear studs welded on thin plates and embedded in UHPC. Eng. Struct. 2018, 173, 429–441. [Google Scholar] [CrossRef]
- Wang, J.; Qi, J.; Tong, T.; Xu, Q.; Xiu, H. Static behavior of large stud shear connectors in steel-UHPC composite structures. Eng. Struct. 2019, 178, 534–542. [Google Scholar] [CrossRef]
- Haber, Z.B.; Graybeal, B.A.; Nakashoji, B. Ultimate behavior of deck-to-girder composite connection details using UHPC. J. Bridge. Eng. 2020, 25, 04020038. [Google Scholar] [CrossRef]
- He, Z.Q.; Tian, F.; Zheng, H.F. New Shear Connections Using UHPC for Prefabricated Composite Bridges; Report No. 2015-ZJKJ-PTJS01; Southeast University: Nanjing, Jiangsu, China, 2017. [Google Scholar]
- Yura, J.A.; Methvin, E.R.; Engelhardt, M.D. Design of Composite Steel BEAMS for Bridges; Report No. FHWA/TX-08/0-4811-1; The University of Texas at Austin: Austin, TX, USA, 2008. [Google Scholar]
- BS EN. Design of Composite Steel and Concrete Structures Part 2: General Rules and Rules for Bridges; CEN: Brussels, Belgium, 2005. [Google Scholar]
- AASHTO. AASHTO LRFD Bridge Design Specifications; AASHTO: Washington, DC, USA, 2017. [Google Scholar]

























| Cement | Fine Sand | Silica Fume | High Active Admixture | Superplasticizer | Steel Fiber | Water |
|---|---|---|---|---|---|---|
| 1.0 | 1.1 | 0.25 | 0.28 | 0.05 | 0.22 | 0.2 |
| Component | Material Grade | Material Properties |
|---|---|---|
| Steel plate | Q235B | fy = 250 MPa |
| Concrete slab | C50 | fc’ = 57.8 MPa (28 days) |
| Grout | UHPC | fc’ = 125.6 MPa (28 days) |
| Mild steel rebar | HRB400 | fy = 415 MPa |
Publisher’s Note: MDPI stays neutral with regard to jurisdictional claims in published maps and institutional affiliations. |
© 2021 by the authors. Licensee MDPI, Basel, Switzerland. This article is an open access article distributed under the terms and conditions of the Creative Commons Attribution (CC BY) license (https://creativecommons.org/licenses/by/4.0/).
Share and Cite
He, Z.-Q.; Ou, C.; Tian, F.; Liu, Z. Experimental Behavior of Steel-Concrete Composite Girders with UHPC-Grout Strip Shear Connection. Buildings 2021, 11, 182. https://doi.org/10.3390/buildings11050182
He Z-Q, Ou C, Tian F, Liu Z. Experimental Behavior of Steel-Concrete Composite Girders with UHPC-Grout Strip Shear Connection. Buildings. 2021; 11(5):182. https://doi.org/10.3390/buildings11050182
Chicago/Turabian StyleHe, Zhi-Qi, Changxue Ou, Fei Tian, and Zhao Liu. 2021. "Experimental Behavior of Steel-Concrete Composite Girders with UHPC-Grout Strip Shear Connection" Buildings 11, no. 5: 182. https://doi.org/10.3390/buildings11050182
APA StyleHe, Z.-Q., Ou, C., Tian, F., & Liu, Z. (2021). Experimental Behavior of Steel-Concrete Composite Girders with UHPC-Grout Strip Shear Connection. Buildings, 11(5), 182. https://doi.org/10.3390/buildings11050182

