Assessing Hydrus-2D Model to Investigate the Effects of Different On-Farm Irrigation Strategies on Potato Crop under Subsurface Drip Irrigation
Abstract
1. Introduction
2. Materials and Methods
2.1. Experimental Setup and Field Measurements
2.2. Parametrization and Evaluation of Hydrus-2D Model
3. Results
3.1. Soil and Root Characterization for Model Parametrization
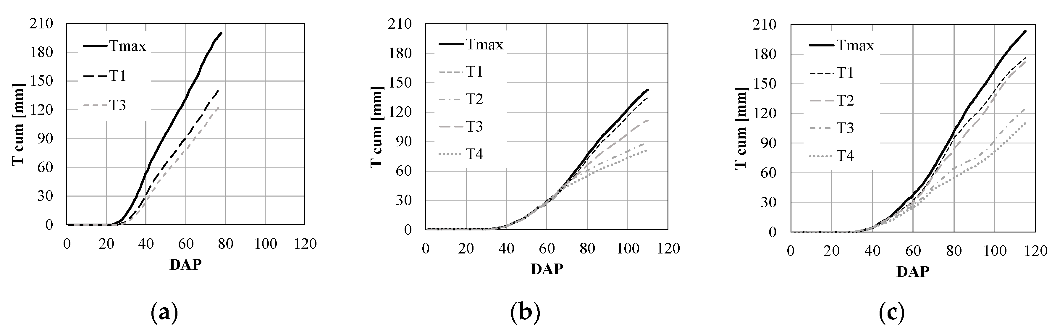
3.2. Model Simulations
4. Discussion and Conclusions
Author Contributions
Funding
Acknowledgments
Conflicts of Interest
References
- Douh, B.; Boujelben, A. Improving Water Use Efficiency for a sustainable productivity of agricultural systems using subsurface drip irrigation. J. Agric. Sci. Technol. B 2011, 1, 881–888. [Google Scholar]
- Ghazouani, H.; Capodici, F.; Ciraolo, G.; Maltese, A.; Rallo, G.; Provenzano, G. Potential of thermal images and simulation models to assess water and salt stress: Application to potato crop in central Tunisia. Chem. Eng. Trans. 2017, 58, 709–714. [Google Scholar] [CrossRef]
- Bouksila, F. Sustainability of Irrigated Agriculture under Salinity Pressure—A Study in Semiarid Tunisia. Ph.D. Thesis, Lund University, Lund, Sweden, 2011. [Google Scholar]
- Crescimanno, G.; Provenzano, G.; Booltink, H.W.G. The effect of alternating different water qualities on accumulation and leaching of solutes in a mediterranean cracking soil. Hydrol. Proc. 2002, 16, 717–730. [Google Scholar] [CrossRef]
- Alagna, V.; Iovino, M.; Bagarello, V.; Mataix-Solera, J.; Lichner, L. Alternative analysis of transient infiltration experiment to estimate soil water repellency. Hydrol. Proc. 2018, 33, 661–674. [Google Scholar] [CrossRef]
- FAOSTAT, Statistics Division; Food and Agriculture Organization of the United Nations: Rome, Italy, 2019. Available online: http://www.fao.org/faostat/en/#home (accessed on 10 January 2019).
- Chamba, D.; Zubelzu, S.; Juana, L. Energy, cost and uniformity in the design of drip irrigation systems. Biosyst. Eng. 2019, 178, 200–218. [Google Scholar] [CrossRef]
- Provenzano, G.; Di Dio, P.; Palau Salvador, G. New computational fluid dynamic procedure to estimate friction and local losses in coextruded drip laterals. J. Irrig. Drain. Eng. 2007, 133, 520–527. [Google Scholar] [CrossRef]
- Provenzano, G.; Alagna, V.; Autovino, D.; Juarez, J.M.; Rallo, G. Analysis of geometrical relationships and friction losses in small-diameter lay-flat polyethylene pipes. J. Irrig. Drain. Eng. 2016, 142. [Google Scholar] [CrossRef]
- Rallo, G.; Baiamonte, G.; Manzano Juárez, J.; Provenzano, G. Improvement of FAO-56 model to estimate transpiration fluxes of drought tolerant crops under soil water deficit: Application for olive groves. J. Irrig. Drain. Eng. 2014, 140. [Google Scholar] [CrossRef]
- Rallo, G.; González-Altozano, P.; Manzano-Juárez, J.; Provenzano, G. Using field measurements and FAO-56 model to assess the eco-physiological response of citrus orchards under regulated deficit irrigation. Agric. Water Manag. 2017, 180, 136–147. [Google Scholar] [CrossRef]
- Bowen, W.T. Water productivity and potato cultivation. In Water Productivity in Agriculture: Limits and Opportunities for Improvement; Kijne, J.W., Barker, R., Molden, D., Eds.; CAB International: Wallingford, UK, 2003; pp. 229–238. [Google Scholar]
- Camp, C.R. Subsurface drip irrigation: A review. Trans. Am. Soc. Agric. Eng. 1998, 41, 1353–1367. [Google Scholar] [CrossRef]
- Ayars, J.; Schoneman, R.A.; Dale, F.; Meso, B.; Shouse, P. Managing subsurface drip irrigation in the presence of shallow groundwater. Agric. Water Manag. 2001, 47, 243–264. [Google Scholar] [CrossRef]
- Provenzano, G.; Rodriguez-Sinobas, L.; Roldán-Cañas, J. Irrigated agriculture: Water resources Managment for a sustainable environment. Biosyst. Eng. 2014, 128, 1–3. [Google Scholar] [CrossRef]
- Rodriguez-Sinobas, L.; Provenzano, G.; Roldán-Cañas, J. Special issue: Water Management strategies in irrigated areas. Agric. Water Manag. 2016, 170, 1–4. [Google Scholar] [CrossRef]
- Foti, S.; Mauromicale, G.; Ierna, A. Influence of irrigation levels on growth and yield of potato cv. Spunta. Potato Res. 1995, 38, 307–318. [Google Scholar] [CrossRef]
- Fabeiro, C.; Martin de Santa Olalla, F.; De Juan, J.A. Yield and size of deficit irrigated potatoes. Agric. Water Manag. 2001, 48, 255–266. [Google Scholar] [CrossRef]
- Kayshap, P.S.; Panda, R.K. Effect of irrigation scheduling on potato crop parameters under water stressed conditions. Agric. Water Manag. 2002, 59, 49–66. [Google Scholar] [CrossRef]
- Yuan, B.Z.; Nishiyama, S.; Kang, Y. Effects of different irrigation regimes on the growth and yield of drip-irrigated potato. Agric. Water Manag. 2003, 63, 153–167. [Google Scholar] [CrossRef]
- Onder, S.; Caliskan, M.E.; Onder, D.; Caliskan, S. Different irrigation methods and water stress effects on potato yield and yield components. Agric. Water Manag. 2005, 73, 73–86. [Google Scholar] [CrossRef]
- Wright, J.L.; Stark, J.C. Potato. In Irrigation of Agricultural Crops—Agronomy; Stewart, B.A., Nielsen, D.R., Eds.; Monograph No. 30; ASA-CSSA-SSSA: Madison, WI, USA, 1990. [Google Scholar]
- Shock, C.C.; Holmes, Z.A.; Stieber, T.D.; Eldredge, E.P.; Zhang, P. The effect of timed water stress on quality, total solids and reducing sugar content of potatoes. Am. Potato J. 1993, 70, 227–241. [Google Scholar] [CrossRef]
- Eldredge, E.P.; Holmes, Z.A.; Mosley, A.R.; Shock, C.C.; Stieber, T.D. Effects of transitory water stress on potato tuber stem-end reducing sugar and fry color. Am. Potato J. 1996, 73, 517–530. [Google Scholar] [CrossRef]
- Stewart, J.I.; Hagan, R.M.; Pruitt, W.O.; Danielson, R.E.; Franklin, W.T.; Hanks, R.J.; Riley, J.P.; Jackson, E.B. Optimizing crop production through control of water and salinity levels in the soil. In Reports Paper 67; Utah Water Research Laboratory: Logan, UT, USA, 1977; p. 191. [Google Scholar]
- Doorenbos, J.; Kassam, A.H. Yield Response to Water; FAO Irrigation and Drainage Paper No. 33; FAO: Rome, Italy, 1979. [Google Scholar]
- Paredes, P.; Rodrigues, G.C.; Alves, I.; Pereira, L.S. Partitioning evapotranspiration, yield prediction and economic returns of maize under various irrigation management strategies. Agric. Water Manag. 2014, 135, 27–39. [Google Scholar] [CrossRef]
- Martínez-Gimeno, M.A.; Bonet, L.; Provenzano, G.; Badal, E.; Intrigliolo, D.S.; Ballester, C. Assessment of yield and water productivity of clementine trees under surface and subsurface drip irrigation. Agric. Water Manag. 2018, 206, 209–216. [Google Scholar] [CrossRef]
- Manickavasagan, A.; Jayas, D.S.; White, N.D.G.; Paliwal, J. Applications of thermal imaging in agriculture—A Review. In Proceedings of the CSAE/SCGR 2005 Meeting, Winnipeg, MB, Canada, 26–29 June 2005. Paper no. 05-002. [Google Scholar]
- Jackson, R.D. Canopy temperature and crop water stress. In Advances in Irrigation; Hillel, D.I., Ed.; Academic Press: Cambridge, MA, USA, 1982; Volume 1, pp. 43–85. [Google Scholar]
- Idso, S.B. Non-water-stressed baselines: A key to measuring and interpreting plant water stress. Agric. Meteorol. 1982, 27, 59–70. [Google Scholar] [CrossRef]
- Rallo, G.; Agnese, C.; Minacapilli, M.; Provenzano, G. Assessing AQUACROP water stress function to evaluate the transpiration reductions of olive mature tree. Ital. J. Agrometeorol. 2012, 17, 21–28. [Google Scholar]
- Rallo, G.; Agnese, C.; Minacapilli, M.; Provenzano, G. Comparison of SWAP and FAO agro-hydrological models to schedule irrigation of wine grapes. J. Irrig. Drain. Eng. 2012, 138, 581–591. [Google Scholar] [CrossRef]
- Lazarovitch, N.; Warrick, A.W.; Furman, A.; Šimůnek, J. Subsurface water distribution from drip irrigation described by moment analyses. Vadose Zone J. 2007, 6, 116–123. [Google Scholar] [CrossRef]
- Provenzano, G. Using Hydrus-2D simulation model to evaluate wetted soil volume in subsurface drip irrigation systems. J. Irrig. Drain. Eng. 2007, 133, 342–349. [Google Scholar] [CrossRef]
- Mguidiche, A.; Provenzano, G.; Douh, B.; Khila, S.; Rallo, G.; Boujelben, A. Assessing Hydrus-2D to simulate soil water content (SWC) and salt accumulation under an SDI system: Application to a potato crop in a semi-arid area of central Tunisia. Irrig. Drain. 2015, 64, 263–274. [Google Scholar] [CrossRef]
- International Standard Organization (ISO). Agricultural Irrigation Equipment-Emitters and Emitting Pipes-Specification and Test Methods; ISO 9261:2004(E); International Standard Organization (ISO): Geneva, Switzerland, 2004. [Google Scholar]
- Solomon, K.H. Manufacturing variation of emitters in trickle irrigation systems. Trans. ASAE 1979, 22, 1034–1038. [Google Scholar] [CrossRef]
- Allen, R.G.; Pereira, L.S.; Raes, D.; Smith, M. Crop Evapotranspiration: Guidelines for Computing Crop Water Requirements; FAO Irrigation and Drainage Paper 56; Food and Agriculture Organization of the United Nations: Rome, Italy, 1998. [Google Scholar]
- Dane, J.H.; Hopmans, J.W. Pressure plate extractor. In Methods of Soil Analysis. Part 4. Physical Methods; Dane, J.H., Topp, G.C., Eds.; SSSA Book Ser. 5; SSSA: Madison, WI, USA, 2002; pp. 688–690. [Google Scholar]
- Douh, B. Etude Théorique et Expérimentale de L’irrigation Goutte à Goutte Souterraine Sur une Culture de Maïs (Zea mays L.). Ph.D. Thesis, Higher Agronomic Institute of Chott Meriem, Sousse, Tunisia, 2012; 210p. [Google Scholar]
- U.S. Salinity Laboratory Staff. Diagnosis and Improvement of Saline and Alkali Soils; USDA, Handbook 60; U.S. Government Printing Office: Washington, DC, USA, 1954.
- Idso, S.B.; Jackson, R.D.; Pinter, P.J.; Reginato, R.J.; Hatfield, J.L. Normalizing the stress-degree-day parameter for environmental variability. Agric. Meteorol. 1981, 24, 45–55. [Google Scholar] [CrossRef]
- Šimůnek, J.; Šejna, M.; van Genuchten, M.T. The Hydrus-2D Software Package for Simulating Two-Dimensional Movement of Water, Heat, and Multiple Solutes in Variably Saturated Media; Version 2.0, IGWMC-TPS-53; International Ground Water Modeling Center, Colorado School of Mines: Golden, CO, USA, 1999; 251p. [Google Scholar]
- Mualem, Y. A new model for predicting the hydraulic conductivity of unsaturated porous media. Water Resour. Res. 1976, 12, 513–522. [Google Scholar] [CrossRef]
- van Genuchten, M.T. A closed-form equation for predicting the hydraulic conductivity of unsaturated soils. Soil Sci. Soc. Am. J. 1980, 44, 892–898. [Google Scholar] [CrossRef]
- Shani, U.; Xue, S.; Gordin, K.R.; Warrick, A.W. Soil limiting flow from subsurface emitters. I: Pressure measurements. J. Irrig. Drain. Eng. 1996, 122, 291–295. [Google Scholar] [CrossRef]
- Provenzano, G. Closure to “Using Hydrus-2D simulation model to evaluate wetted soil volume in subsurface drip irrigation systems”. J. Irrig. Drain. Eng. 2008, 134, 878–879. [Google Scholar] [CrossRef]
- Feddes, R.A.; Kowalik, P.J.; Zaradny, H. Simulation of Field Water Use and Crop Yield; Simulation Monographs; PUDOC: Wageningen, The Netherlands, 1978; 189p. [Google Scholar]
- Vrugt, J.A.; van Wijk, M.T.; Hopmans, J.W.; Šimůnek, J. One-, two-, and three dimensional root water uptake functions for transient modeling. Water Resour. Res. 2001, 37, 2457–2470. [Google Scholar] [CrossRef]
- Skaggs, T.H.; van Genuchten, M.Th.; Shouse, P.J.; Poss, J.A. Macroscopic approaches to root water uptake as a function of water and salinity stress. Agric. Water Manag. 2006, 86, 140–149. [Google Scholar] [CrossRef]
- Autovino, D.; Rallo, G.; Provenzano, G. Predicting soil and plant water status dynamic in olive orchards under different irrigation systems with Hydrus-2D: Model performance and scenario analysis. Agric. Water Manag. 2018, 203, 225–235. [Google Scholar] [CrossRef]
- Wesseling, J.G.; Elbers, J.A.; Kabat, P.; van den Broek, B.J. SWATRE: Instructions for Input; Internal Note; Winand Staring Centre: Wageningen, The Netherlands, 1991. [Google Scholar]
- Rallo, G.; Provenzano, G. Discussion of “Laboratory and Field Calibration of the Diviner 2000 Probe in Two Types of Soil”. J. Irrig. Drain. Eng. 2014, 141. [Google Scholar] [CrossRef]
- Rallo, G.; Agnese, C.; Blanda, F.; Minacapilli, M.; Provenzano, G. Agro-Hydrological models to schedule irrigation of Mediterranean tree crops. Ital. J. Agrometeorol. 2010, 1, 11–21. [Google Scholar]
- Ghazouani, H.; Autovino, D.; Rallo, G.; Douh, B.; Provenzano, G. Using Hydrus-2D model to assess the optimal drip lateral depth for Eggplant crop in a sandy loam soil of central Tunisia. Ital. J. Agrometeorol. 2016, 1, 47–58. [Google Scholar] [CrossRef]
- Nash, J.E.; Sutcliffe, J.V. River flow forecasting through conceptual models: Part 1. A discussion of principles. J. Hydrol. 1970, 10, 282–290. [Google Scholar] [CrossRef]
- Phogat, V.; Skewes, M.A.; Cox, J.W.; Sanderson, G.; Alam, J.; Šimůnek, J. Seasonal simulation of water, salinity, and nitrate dynamics under drip irrigated mandarin (Citrus reticulata) and assessing management options for drainage and nitrate leaching. J. Hydrol. 2014, 513, 504–516. [Google Scholar] [CrossRef]
- Skaggs, T.H.; Trout, T.J.; Šimůnek, J.; Shouse, P.J. Comparison of Hydrus-2D simulations of drip irrigation with experimental observations. J. Irrig. Drain. Eng. 2004, 130, 304–310. [Google Scholar] [CrossRef]
- Roberts, T.; Lazarovitch, N.; Warrick, A.W.; Thompson, T.L. Modeling salt accumulation with subsurface drip irrigation using Hydrus-2D. Soil Sci. Soc. Am. J. 2009, 73, 233–240. [Google Scholar] [CrossRef]
- Ben Mechlia, N.; Nagaz, K.; Abid-Karray, J.; Masmoudi, M.M. Productivity of the potato crop under irrigation with low quality waters. In Water Use Efficiency and Water Productivity: WASAMED Project; Options Méditerranéennes: Série B. Etudes et Recherches; n. 57; Lamaddalena, N., Shatanawi, M., Todorovic, M., Bogliotti, C., Albrizio, R., Eds.; CIHEAM: Bari, Italy, 2007; pp. 205–210. [Google Scholar]










| Year | Crop Cycle | Treatments | ECw 1 | Field Dimensions | Irrigation Strategy 2 |
|---|---|---|---|---|---|
| [dS m−1] | [m × m] | ||||
| 2012 | March, 14th to June, 1st | T1 | 1.6 | 25 × 15.0 | FI |
| T3 | 4.2 | 25 × 15.0 | FI | ||
| 2014 | January, 15th to May, 6th | T1 | 1.6 | 25 × 7.5 | FI |
| T2 | 1.6 | 25 × 7.5 | DI | ||
| T3 | 4.2 | 25 × 7.5 | FI | ||
| T4 | 4.2 | 25 × 7.5 | DI | ||
| 2015 | January, 22nd to May, 17th | T1 | 1.6 | 25 × 7.5 | FI |
| T2 | 1.6 | 25 × 7.5 | DI | ||
| T3 | 4.2 | 25 × 7.5 | FI | ||
| T4 | 4.2 | 25 × 7.5 | DI |
| Soil Hydraulic Functions 1 | ||||||
| θs | θr | α | n | m | K0 | λ |
| [cm3 cm−3] | [cm3 cm−3] | [cm−1] | [-] | [-] | [cm h−1] | [-] |
| 0.39 | 0.08 | 0.01 | 1.59 | 0.37 | 7.1 | 0.5 |
| Root Distribution Model 2 | ||||||
| Zmax | Rmax | Z* | R* | |||
| DAP | [cm] | [cm] | [cm] | [cm] | ||
| 2012 | 0–40 | 40 | 20 | 18 | 10 | |
| 40–51 | 45 | 30 | 20 | 15 | ||
| 51–75 | 50 | 40 | 22 | 18 | ||
| 2014 | 0–24 | 23 | 20 | 15 | 10 | |
| 24–78 | 44 | 35 | 20 | 20 | ||
| 78–109 | 50 | 40 | 20 | 20 | ||
| 2015 | 0–29 | 23 | 20 | 15 | 10 | |
| 29–83 | 44 | 35 | 20 | 20 | ||
| 83–113 | 50 | 40 | 20 | 20 | ||
| Water Uptake Model 3 | ||||||
| P0 | Popt | P2H | P2L | P3 | r2H | r2L |
| [kPa] | [kPa] | [kPa] | [kPa] | [kPa] | [cm d−1] | [cm d−1] |
| −1.0 | −2.5 | −30 | −80 | −1600 | 0.01 | 0.002 |
| Ne | Ni | P | I | ET0 | ETmax | Yield | ||
|---|---|---|---|---|---|---|---|---|
| [-] | [-] | [mm] | [mm] | [mm] | [mm] | [t/ha] | ||
| μ | σ | |||||||
| 2012 | ||||||||
| T1 | 62 | 14 | 65.2 | 175.0 | 286.5 | 224.7 | 27.4 | 2.3 |
| T3 | 62 | 14 | 65.2 | 175.0 | 286.5 | 224.7 | 25.9 | 2.1 |
| 2014 | ||||||||
| T1 | 40 | 8 | 108.6 | 124.4 | 198.0 | 160.17 | 39.1 | 8.3 |
| T2 | 40 | 8 | 108.6 | 61.1 | 198.0 | 160.17 | 24.9 | 10.7 |
| T3 | 40 | 7 | 108.6 | 112.2 | 198.0 | 160.17 | 24.1 | 9.4 |
| T4 | 40 | 7 | 108.6 | 67.1 | 198.0 | 160.17 | 19.5 | 13.3 |
| 2015 | ||||||||
| T1 | 21 | 14 | 73.6 | 181.9 | 280.0 | 221.0 | 39.0 | 8.3 |
| T2 | 21 | 14 | 73.6 | 94.5 | 280.0 | 221.0 | 25.8 | 3.2 |
| T3 | 21 | 14 | 73.6 | 165.1 | 280.0 | 221.0 | 26.3 | 9.4 |
| T4 | 21 | 14 | 73.6 | 83.1 | 280.0 | 221.0 | 16.3 | 2.4 |
| Date | T1 | T2 | Date | T3 | T4 | |
| 2014 | 29 January 2014 | 9.4 | 4.8 | 28 January2014 | 15.5 | 9.2 |
| 20 February 2014 | 11.5 | 6.4 | 19 February 2014 | 9.9 | 5.4 | |
| 7 April 2014 | 12.9 | 5.1 | 8 April 2014 | 13.6 | 7.3 | |
| 14 April 2014 | 28.2 | 7.1 | 11 April 2014 | 27.9 | 17.6 | |
| 17 April 2014 | 14.5 | 8.5 | 18 April 2014 | 18.8 | 12.6 | |
| 21 April 2014 | 5.6 | 8.3 | 24 April 2014 | 15.2 | 9.9 | |
| 25 April 2014 | 30.1 | 14.7 | 30 April 2014 | 11.3 | 5.1 | |
| 30 April 2014 | 12.2 | 6.3 | ||||
| Total | 124.4 | 61.1 | Total | 112.2 | 67.1 | |
| 2015 | 27 January 2015 | 11.8 | 6.6 | 27 January 2015 | 7.8 | 4.1 |
| 5 February 2015 | 11.8 | 6.8 | 5 February 2015 | 12.6 | 8.1 | |
| 12 February 2015 | 7.2 | 3.6 | 12 February 2015 | 7.3 | 5.3 | |
| 19 March 2015 | 11.4 | 6.5 | 19 March 2015 | 8.1 | 5.3 | |
| 4 April 2015 | 10.5 | 5.3 | 4 April 2015 | 9.1 | 4.7 | |
| 10 April 2015 | 16.4 | 8.4 | 10 April 2015 | 22.7 | 7.0 | |
| 21 April 2015 | 12.1 | 6.2 | 21 April 2015 | 10.5 | 5.2 | |
| 24 April 2015 | 13.3 | 6.8 | 24 April 2015 | 11.6 | 5.7 | |
| 29 April 2015 | 15.3 | 7.7 | 29 April 2015 | 13.2 | 6.6 | |
| 1 May 2015 | 18.2 | 9.3 | 1 May 2015 | 15.8 | 7.9 | |
| 4 May 2015 | 14.0 | 7.1 | 4 May 2015 | 12.1 | 6.0 | |
| 8 May 2015 | 15.5 | 7.9 | 8 May 2015 | 13.5 | 6.7 | |
| 12 May 2015 | 8.9 | 4.5 | 12 May 2015 | 7.8 | 3.9 | |
| 15 May 2015 | 15.4 | 7.7 | 15 May 2015 | 13.3 | 6.6 | |
| Total | 181.8 | 94.4 | Total | 165.1 | 83.1 |
| All Measurements | Average | |||||
|---|---|---|---|---|---|---|
| Mean Bias Error (MBE) | Root Mean Square Error (RMSE) | Nash–Sutcliffe Efficiency Index (NSE) | MBE | RMSE | NSE | |
| [cm3 cm−3] | [ cm3 cm−3] | [-] | [cm3 cm−3] | [ cm3 cm−3] | [-] | |
| 2012 | ||||||
| T1 | 0.03 | 0.01 | 0.48 | |||
| T3 | 0.03 | 0.03 | 0.45 | |||
| 2014 | ||||||
| T1 | −0.11 | 0.02 | 0.49 | −0.01 | 0.01 | 0.60 |
| T2 | 0.03 | 0.03 | 0.29 | 0.04 | 0.03 | 0.28 |
| T3 | 0.01 | 0.04 | 0.40 | 0.01 | 0.03 | 0.50 |
| T4 | 0.02 | 0.03 | 0.35 | 0.01 | 0.02 | 0.57 |
© 2019 by the authors. Licensee MDPI, Basel, Switzerland. This article is an open access article distributed under the terms and conditions of the Creative Commons Attribution (CC BY) license (http://creativecommons.org/licenses/by/4.0/).
Share and Cite
Ghazouani, H.; Rallo, G.; Mguidiche, A.; Latrech, B.; Douh, B.; Boujelben, A.; Provenzano, G. Assessing Hydrus-2D Model to Investigate the Effects of Different On-Farm Irrigation Strategies on Potato Crop under Subsurface Drip Irrigation. Water 2019, 11, 540. https://doi.org/10.3390/w11030540
Ghazouani H, Rallo G, Mguidiche A, Latrech B, Douh B, Boujelben A, Provenzano G. Assessing Hydrus-2D Model to Investigate the Effects of Different On-Farm Irrigation Strategies on Potato Crop under Subsurface Drip Irrigation. Water. 2019; 11(3):540. https://doi.org/10.3390/w11030540
Chicago/Turabian StyleGhazouani, Hiba, Giovanni Rallo, Amel Mguidiche, Basma Latrech, Boutheina Douh, Abdelhamid Boujelben, and Giuseppe Provenzano. 2019. "Assessing Hydrus-2D Model to Investigate the Effects of Different On-Farm Irrigation Strategies on Potato Crop under Subsurface Drip Irrigation" Water 11, no. 3: 540. https://doi.org/10.3390/w11030540
APA StyleGhazouani, H., Rallo, G., Mguidiche, A., Latrech, B., Douh, B., Boujelben, A., & Provenzano, G. (2019). Assessing Hydrus-2D Model to Investigate the Effects of Different On-Farm Irrigation Strategies on Potato Crop under Subsurface Drip Irrigation. Water, 11(3), 540. https://doi.org/10.3390/w11030540

