Test and Improvement of a Fuze MEMS Setback Arming Device Based on the EDM Process
Abstract
:1. Introduction
2. Working Principle of the Setback Arming Device
3. Processing the Setback Arming Device
3.1. Process Selection
3.2. Processing Scheme
4. Testing the Setback Arming Device
4.1. Mechanical Impact Test Results
4.2. Centrifugal Overload Test Results
5. Improvement of the Setback Arming Device
5.1. Improvement Scheme of Setback Slider
5.2. Simulation of the Improved Setback Slider
5.2.1. Simulation of Service Processing
5.2.2. Simulation of the Launch
5.2.3. Processing the Improved Setback Slider
5.2.4. Electrode Processing
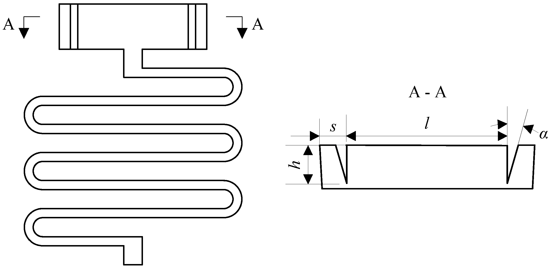
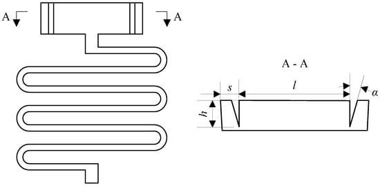
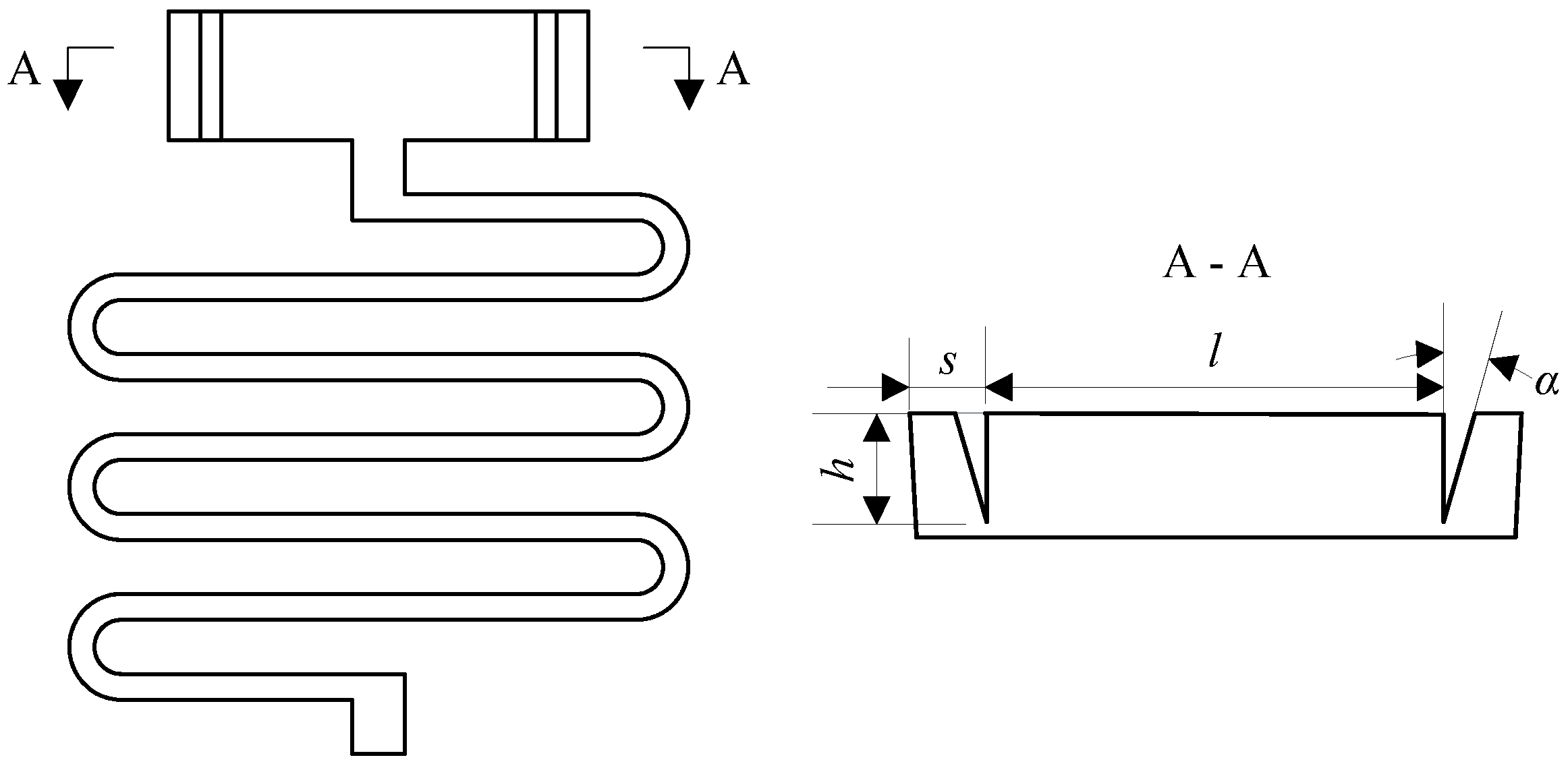
5.2.5. V-Shaped Groove Formation
5.3. Improvement Scheme for the Microsprings
5.4. Processing the Improved Setback Arming Device
5.5. Testing the Improved Setback Arming Device
5.5.1. Mechanical Impact Test Results of Group 1
5.5.2. Centrifugal Overload Test Results of Group 1
5.5.3. Statistics of Test Results
6. Conclusions
- The setback arming device fabricated by the EDM process can greatly reduce the machining cost while improving the machining precision and machining speed, which can compensate for the defects of the current manufacturing technology. The problems of flexural deformation and secondary deformation in the microspring processing can be effectively solved by designing the auxiliary support beam, using multiple cuts, destress annealing, and optimizing the processing parameters. When the width of the auxiliary support beam is 0.04 mm and the position is set at the center of the microspring end, the influence on the microspring during processing is minimized. At this point, the numbers of gears that are selected for the machining tool are pulse interval SB = 18, peak current IP = 3, flushing pressure LQ = 5, reference voltage VG = 75, electrode wire tension WT = 4, and wire speed WS = 9.
- The difficult deformation problem can be effectively solved by establishing V-shaped grooves at both ends of the setback slider. The distance between the vertical sidewall of the V-shaped groove and the inclined plane is 0.25 mm, and the distance between the vertical sidewalls is 1.5 mm. The vertical sidewall has a depth of 0.35 mm and a sharp angle of 16°.
- The setback arming device connected by a clearance fit between the microspring and the frame can not only be used to simplify the fabrication process and minimize testing costs but also guarantees the service processing safety and launch reliability. The maximum overload that can be withstood in service processing is 20,000 g, and the minimum overload for safety release during launch is 12,000 g.
Author Contributions
Funding
Acknowledgments
Conflicts of Interest
References
- Li, M.; Hu, T. Research Status and Development Trend of MEMS S&A Devices: A review. Def. Technol. 2021, 17, 450–456. [Google Scholar]
- Fan, L.; Last, H.; Wood, R.; Dudley, B.; Malek, C.; Ling, Z. SLIGA Based Underwater Weapon Safety and Arming System. Microsyst. Technol. 1998, 4, 168–171. [Google Scholar] [CrossRef]
- Zhang, H.; Wang, Y.; Lou, W.; Liu, F.; Wang, F. Reliability Factors Analysis of MEMS Safety and Arming System. Key Eng. Mater. 2014, 609, 1494–1497. [Google Scholar] [CrossRef]
- Wang, F.; Lou, W.; Fu, Y.; Wang, Y. Parametric Research of MEMS Safety and Arming System. In Proceedings of the 8th Annual IEEE International Conference on Nano/Micro Engineered and Molecular Systems, Suzhou, China, 7–10 April 2013; pp. 767–770. [Google Scholar]
- Nie, W.; Xi, Z.; Xue, W.; Zhou, Z. Study on Inertial Response Performance of A Micro Electrical Switch for Fuze. Def. Technol. 2013, 9, 187–192. [Google Scholar] [CrossRef] [Green Version]
- Swati, R.; Suryaprakash; Duttagupta, S.; Mutthurajan, H. MEMS Based Spin Sensor Displacement Analysis in Nanometer Precision Using COMSOL for S&A Devices. In Proceedings of the 2016 3rd International Conference on Devices, Circuits and Systems (ICDCS), Coimbatore, India, 3–5 March 2016; pp. 78–83. [Google Scholar]
- Michael, D.; Peter, S.; Rajesh, S. Packaging of a MEMS Based Safety and Arming Device. In Proceedings of the ITHERM 2000, the Seventh Intersociety Conference on Thermal and Thermomechanical Phenomena in Electronic Systems (Cat. No.00CH37069), Las Vegas, NV, USA, 23–26 May 2000; pp. 107–112. [Google Scholar]
- Wang, F.; Lou, W.; Xiong, Y.; Liu, F.; Wang, D.; Jin, X.; Zhang, M.; Xu, C. The Parametric Analysis of the Centrifugal Insurance Mechanism in MEMS Safety and Arming Device. In Proceedings of the 10th IEEE International Conference on Nano/Micro Engineered and Molecular Systems, Xi’an, China, 7–11 April 2015; pp. 456–460. [Google Scholar]
- Robinson, H. Ultra-Minature Electro-Mechancal Safety and Arming Device. U.S. Patent 8276515B1[P], 2 October 2012. [Google Scholar]
- Rawata, L.; Kadama, S.; Yadava, K.; Bhandarib, R.; Kumarc, V. MEMS Based Safe Arm and Fire Device (SAM). Int. J. Innov. Emerg. Res. Eng. 2015, 2, 37–39. [Google Scholar]
- Pezous, H.; Rossi, C.; Sanchez, M.; Mathieu, F.; Dollat, X.; Charlot, S.; Salvagnac, L.; Conédéra, V. Integration of a MEMS based safe arm and fire device. Sens. Actutors A Phys. 2010, 159, 157–167. [Google Scholar] [CrossRef]
- Pezous, H.; Rossi, C.; Sanchez, M.; Mathieu, F.; Dollat, X.; Charlot, S.; Conedera, V. Fabrication, assembly and tests of a MEMS-based safe, arm and fire device. J. Phys. Chem. Solids 2010, 71, 75–79. [Google Scholar] [CrossRef]
- Zhang, Y.; Lou, W.; Wang, D.; Liao, M. Design and reliability analysis of multi-scale security system for Microminismart ammunition. Microsyst. Technol. 2019, 25, 2371–2384. [Google Scholar] [CrossRef]
- Xie, R.; Ren, X.; Liu, L.; Xue, Y.; Fu, D.; Zhang, R. Research on Design and Firing Performance of Si-based Detonator. Def. Technol. 2014, 10, 4–39. [Google Scholar] [CrossRef] [Green Version]
- Pennarun, P.; Rossi, C.; Estève, D.; Bourrier, D. Design, fabrication and characterization of a MEMS safe pyrotechnical igniter integrating arming, disarming and sterilization functions. J. Micromech. Microeng. 2006, 16, 92–100. [Google Scholar] [CrossRef]
- Seok, J.; Jeong, J.; Eom, J.; Lee, S.; Lee, C.; Ryu, S.; Oh, J. Ball Driven Type MEMS SAD for Artillery Fuse. J. Micromech. Microeng. 2017, 27, 1–5. [Google Scholar] [CrossRef]
- Jeong, J.; Eom, J.; Lee, S.; Lim, D.; Jang, Y.; Seo, K.; Choi, S.; Lee, C.; Oh, J. Miniature Mechanical Safety and Arming Device With Runaway Escapement Arming Delay Mechanism for Artillery Fuze. Sens. Actutors A Phys. 2018, 279, 518–524. [Google Scholar] [CrossRef]
- Sun, D.; Tang, Y.; Wang, J.; Wang, X. Design of an H-shaped Linear Piezoelectric Motor for Safety and Arming Device. Sens. Actutors A Phys. 2020, 303, 1–8. [Google Scholar] [CrossRef]
- Wang, K.; Hu, T.; Zhao, Y. A MEMS Inertial Driven Runaway Escapement Mechanism in Fuze. J. Detect. Control 2021, 43, 13–20. [Google Scholar]
- Li, X.; Zhao, Y.; Hu, T.; Xu, W.; Zhao, Y.; Bai, Y.; Ren, W. Design of a Large Displacement Thermal Actuator with a Cascaded V-Beam Amplification for MEMS Safety and Arming Devices. Microsyst. Technol. 2015, 21, 2367–2374. [Google Scholar] [CrossRef]
- Koehler. Microelectromechanical Safing and Airming Apparatus. U.S. Patent 7051656B1[P], 30 May 2006. [Google Scholar]
- Li, W. Research on Key Technologies of MEMS Safety System. Master’s Thesis, Nanjing University of Science & Technology, Nanjing, China, 2018. [Google Scholar]
- Tong, X.; Nie, W.; Xi, Z. The Design of the Setback Arming Mechhanism for MEMS Security System. Mach. Electron. 2019, 37, 12–21. [Google Scholar]
- Du, L.; Jia, S.; Nie, W.; Wang, Q. Fabrication of Fuze Micro-electro-mechanical System Safety Device. Chin. J. Mech. Eng. 2011, 24, 836–841. [Google Scholar] [CrossRef]
- Du, L.; Wang, A.; Zhao, M.; Song, M. The Fabrication of Trans-scale Micro-fuze Safety Device. Key Eng. Mater. 2014, 609, 796–800. [Google Scholar] [CrossRef]
- Sanchez, J.; Plaza, S.; Lopez De Lacalle, L.; Lamikiz, A. Computer Simulation of Wire-EDM Taper-cutting. Int. J. Comput. Integr. Manuf. 2006, 19, 727–735. [Google Scholar] [CrossRef]
- Sanchez, J.; Lopez De Lacalle, L.; Lamikiz, A. A Computer-aided System for the Optimization of the Accuracy of the Wire Electro-discharge Machining Process. Int. J. Comput. Integr. Manuf. 2004, 17, 413–420. [Google Scholar] [CrossRef]
- Abdallah, R.; Soo, S.; Hood, R. The influence of cut direction and process parameters in wire electrical discharge machining of carbon fibre-reinforced plastic composites. Int. J. Adv. Manuf. Technol. 2021, 113, 1699–1716. [Google Scholar] [CrossRef]
- Schaller, T.; Bohn, L.; Mayer, J.; Schubert, K. Microstructure Grooves with a Width of Less Than 50 mm Cut with Ground Hard Metal Micro End Mills. Precis. Eng. 1999, 23, 229–235. [Google Scholar] [CrossRef]
- Fonda, P.; Katahira, K.; Kobayashi, Y.; Yamazaki, K. WEDM Condition Parameter Optimization for PCD Microtool Geometry Fabrication Process and Quality Improvement. Int. J. Adv. Manuf. Technol. 2012, 63, 1011–1019. [Google Scholar] [CrossRef]
- Li, Y. Experimental Research on Machining Micro Serpentine Spring by EDM. Master’s Thesis, Dalian University of Technology, Dalian, China, 2019. [Google Scholar]
- Fan, D.; Xu, Y.; Tong, X. Heat Treatment Engineer’s Manual, 3rd ed.; China Machine Press: Beijing, China, 2011; pp. 184–186. [Google Scholar]
- Rajarshi, M.; Shankar, C.; Suman, S. Selection of Wire Electrical Discharge Machining Process Parameters Using Non-traditional Optimization Algorithms. Appl. Soft Comput. 2012, 12, 2506–2516. [Google Scholar]
- Gill, R.; Kumar, K.; Batra, U. Surface Characteristics and Corrosion Behavior of Wire Electrical Discharge Machining Processed Mg-4Zn Alloy. J. Mater. Eng. Perform. 2021, 30, 2955–2966. [Google Scholar] [CrossRef]





























| Parameter | UV-LIGA Process | EDM Process |
|---|---|---|
| Perpendicularity error | ≤5% | ≤0.3% |
| Machining time | ≤640 min | ≤5 min |
| Machining error | ≤10% | ≤1% |
| Machining cost | High | Very low |
| Parameter | Pulse Interval SB | Peak Current IP | Flushing Pressure LQ | Discharge Energy SA | Reference Voltage VG | Wire Speed WS | Wire Tension WT |
|---|---|---|---|---|---|---|---|
| Value 1 | 18 | 3 | 5 | 2 | 75 | 9 | 4 |
| Parameter/μm | a1 | a2 | a3 | a4 | a5 |
|---|---|---|---|---|---|
| Value | 21 | 16 | 12 | 9 | 7 |
| Parameter/μm | M1 | M2 | M3 | M4 | M5 |
|---|---|---|---|---|---|
| Value | 121 | 92 | 73 | 62 | 57 |
| Processing Sequences | Wire Compensation/ μm | Cutting Speed mm/min | Reference Voltage | Peak Current |
|---|---|---|---|---|
| 1 | 181 1 | 5 | 50 | 9 |
| 2 | 131 | 4 | 100 | 8 |
| 3 | 116 | 3 | 80 | 4 |
| Electrode | Height h′/mm | Angle α′/(°) | Distance between the Two Electrodes l′/mm |
|---|---|---|---|
| Left | 0.59 | 16.1° | 1.52 |
| Right | 0.61 | 16.2° |
| V-Shaped Groove | Depth h/mm | Angle α/(°) | Distance between the Vertical Sidewalls l/mm |
|---|---|---|---|
| Left | 0.347 | 16.2° | 1.51 |
| Right | 0.352 | 16.4° |
| Sample Number | Peak Acceleration/g | Setback Slider Position |
|---|---|---|
| #1 | 23,000 | The angle of the V-shaped groove increases and it gets stuck on the arming slider. |
| #2 | 22,000 | The angle of the V-shaped groove increases and it gets stuck on the arming slider. |
| #3 | 21,000 | The angle of the V-shaped groove decreases and some inclined planes break away from the arming slider. |
| #4 | 20,000 | Initial position |
| #5 | 19,000 | Initial position |
| #6 | 18,000 | Initial position |
| #7 | 17,000 | Initial position |
| #8 | 16,000 | Initial position |
| #9 | 15,000 | Initial position |
| #10 | 14,000 | Initial position |
| Sample Number | Centrifugal Acceleration/g | Setback Slider Position |
|---|---|---|
| #1 | 17,000 | The angle of the V-shaped groove increases and it gets stuck on the arming slider. |
| #2 | 16,000 | The angle of the V-shaped groove increases and it gets stuck on the arming slider. |
| #3 | 15,000 | The angle of the V-shaped groove increases and it gets stuck on the arming slider. |
| #4 | 14,000 | The angle of the V-shaped groove increases and it gets stuck on the arming slider. |
| #5 | 13,000 | The angle of the V-shaped groove increases and it gets stuck on the arming slider. |
| #6 | 12,000 | The angle of the V-shaped groove increases and it gets stuck on the arming slider. |
| #7 | 11,000 | The angle of the V-shaped groove decreases and some inclined planes break away from the arming slider. |
| #8 | 10,000 | Initial position |
| #9 | 9000 | Initial position |
| #10 | 8000 | Initial position |
| Group | Average Value/g | Standard Deviation/g | Minimum Value/g | Maximum Value/g | Tolerance Range/g |
|---|---|---|---|---|---|
| Mechanical impact test | 20,010 | 99.50 | 20,000 | 21,000 | 19,711.5~20,308.5 |
| Centrifugal overload test | 12,000 | 0 | 12,000 | 12,000 | 12,000 |
Publisher’s Note: MDPI stays neutral with regard to jurisdictional claims in published maps and institutional affiliations. |
© 2022 by the authors. Licensee MDPI, Basel, Switzerland. This article is an open access article distributed under the terms and conditions of the Creative Commons Attribution (CC BY) license (https://creativecommons.org/licenses/by/4.0/).
Share and Cite
Qin, Y.; Shen, Y.; Zou, X.; Hao, Y. Test and Improvement of a Fuze MEMS Setback Arming Device Based on the EDM Process. Micromachines 2022, 13, 292. https://doi.org/10.3390/mi13020292
Qin Y, Shen Y, Zou X, Hao Y. Test and Improvement of a Fuze MEMS Setback Arming Device Based on the EDM Process. Micromachines. 2022; 13(2):292. https://doi.org/10.3390/mi13020292
Chicago/Turabian StyleQin, Yu, Yanbai Shen, Xiannan Zou, and Yongping Hao. 2022. "Test and Improvement of a Fuze MEMS Setback Arming Device Based on the EDM Process" Micromachines 13, no. 2: 292. https://doi.org/10.3390/mi13020292
APA StyleQin, Y., Shen, Y., Zou, X., & Hao, Y. (2022). Test and Improvement of a Fuze MEMS Setback Arming Device Based on the EDM Process. Micromachines, 13(2), 292. https://doi.org/10.3390/mi13020292

