You are currently viewing a new version of our website. To view the old version click .
Sustainability
  • Article
  • Open Access

21 April 2021

Knowledge Criticality Assessment and Codification Framework for Major Maintenance Activities: A Case Study of Cement Rotary Kiln Plant

and
Department of Mechanical, Aerospace and Civil Engineering, University of Manchester, Oxford Road, Manchester M13 9PL, UK
*
Author to whom correspondence should be addressed.
This article belongs to the Special Issue Sustainability in Operations Management

Abstract

Maintenance experts involved in managing major maintenance activities such as; Major overhauls, outages, shutdowns and turnarounds (MoOSTs) are constantly faced with uncertainties during the planning and/or execution phases, which often stretches beyond the organisation’s standard operating procedures and require the intervention of staff expertise. This underpins a need to complement and sustain existing efforts in managing uncertainties in MoOSTs through the transformation of knowledgeable actions generated from experts’ tacit-based knowledge. However, a vital approach to achieve such transformation is by prioritising maintenance activities during MoOSTs. Two methods for prioritising maintenance activities were adopted in this study; one involved a traditional qualitative method for task criticality assessment. The other, a quantitative method, utilised a Fuzzy inference system, mapping membership functions of two crisp inputs and output accompanied by If-Then rules specifically developed for this study. Prior information from a 5-year quantitative dataset was obtained from a case study with appreciable frequency for performing MoOSTs; in this case, a Rotary Kiln system (RKS) was utilised in demonstrating practical applicability. The selection of the two methods was informed by their perceived suitability to adequately analyse the available dataset. Results and analysis of the two methods indicated that the obtained Fuzzy criticality numbers were more sensitive and capable of examining the degree of changes to membership functions. However, the usefulness of the traditional qualitative method as a complementary approach lies in its ability to provide a baseline for informing expert opinions, which are critical in developing specific If-Then rules for the Fuzzy inference system.

1. Introduction

Rising expectations from stakeholders have placed additional pressures on maintenance organisations worldwide, which has, in turn, necessitated better conformance with stipulated boundaries when performing major maintenance activities based on the realities of today’s market [1,2]. According to Kordab et al. [1], knowledge management practice and organisational learnings are significant factors to achieve sustainable organisational performance in rapidly changing business environments. Robertson [3] highlighted knowledge as a central strategic asset in developing and sustaining a competitive edge. According to Parida and Kumar [4], specific measurements of maintenance performance indices are now essential elements of strategic thinking in both service and manufacturing industries. Consequently, emerging research areas in major maintenance activities have witnessed an increased interest in performance improvements. Major overhauls, outages, shutdowns and turnarounds, collectively denoted by the “MoOSTs” acronym here, are major types of maintenance classified as one of the most critical endeavours. This is because it offers one of the few instances whereby all elements of routine and occasional maintenance activities, including inspections (first level and specific), overhauls, repairs, and part replacements, are performed at a single instance with significant cost implications, in continuous production/operation industries [5,6,7].
The uniqueness of assets comprised in the bulk of activities performed during MoOSTs may lead to delays that are most evident in systems where failures are not self-revealed, especially in production critical systems, whereby running inspections are impractical [8]. Consequently, MoOSTs management is particularly burdened with overt reliance on outsourced resources, as well as constraints, such as separation of asset owners and complex accountability for asset management, which makes the measurement of asset maintenance performance and its continuous control and evaluation critical [9]. Critical issues plaguing engineering organisations are anticipated loss of specialist knowledge due to the retirement of experienced practitioners and dearth in replenishing expertise held by collective groups of individuals involved in MoOSTs [10]. In today’s highly uncertain environment, the creativity of employees has been identified as the key to unlocking immense potentials within an organization [11]. However, Bell [10] reiterates that although the loss of specialist knowledge and skills presents a huge problem to engineering organisations, it also provides opportunities for knowledge acquisition, transfer and retention if the right approaches are adopted. Prior research efforts in MoOSTs management were aimed at identifying elements perceived to be critical performance indicators, such as general information gathering, increased participation in supply chain effectiveness, improving lessons learned and sharing best practices [12]. The culmination of such research efforts has reflected in numerous ways that are not limited to the adoption of strategies in practice that emphasises large-scale data gathering and information processing (inspection records, designs, drawings, historical data and lessons learned etc.). However, because big data does not feature only large data volumes and high speed data collection but also data with complicated issues, which imposes challenges in analysis, the efficacy of current strategies is rather limited [13]. Furthermore, the continued reliance on utilising information embedded within the maintenance management system (MMS) as the most important decision-making tool for providing technical support when performing maintenance-related tasks is overstated [14,15]. This is because, as useful as these existing databases and information management systems are in identifying lagging indicators (generating audit and/or post mortem reports, as well as suggestions for measuring and storing such captured information), their ability to support prognosis and sustainable tacit knowledge management for enhanced decision-making are quite limited [16]. However, it is necessary to establish that the usefulness of large-scale information gathering can be optimised further when secondary datasets obtained from those embedded within MMS contribute towards criticality assessment by means of identifying crucial elements for subsequent knowledge acquisition and expertise transfer [17]. Therefore, research-based studies within maintenance can leverage different techniques, such as expert opinion data (based on years of knowledge acquisition), developing engineering, as well as applying mathematical relationships from prior information and past experiences on similar datasets to discern learning effects, reducing the steepness of learning curves and providing insights into maintenance activities [18]. Consequently, it is imperative to intensify research efforts towards the attainment of knowledge-based systems that aim to provide complementary solutions for prognosis and enhanced decision-making from critically assessing maintenance tasks. Therefore, the focus of this study is to identify elements of maintenance activities during MoOSTs and prioritise them in a bid to establish criticality. This is of immense use to the maintenance organisation because such criticality assessment can provide information leading to continuous improvement and learning from experience.
The rest of the paper is organised as follows; Section 2 is a literature review on the theoretical underpinnings of the study. Section 3 focuses on research methodology, a brief summary of the case study and justification for its selection. Section 4 provides a demonstration of model applications, results and general discussion of findings. Section 5 is the summary and conclusion.

2. Literature Review and Study Development

Prior studies in MoOSTs have employed the use of traditional criticality assessment for risk-based equipment selection to identify equipment for shutdowns, inspection-related activities and maintenance [19,20,21]. Moreover, some variations of these traditional criticality assessment techniques have been applied in MoOSTs’ management for decision-making. Some common depictions within existing literature include the innovative criticality index used as a tool for assessing maintenance tasks, including equipment selection in MoOSTs initiation phase [22,23,24]. Similarly, a risk criticality matrix for maintenance, which is applicable within cement manufacturing industries, has been demonstrated [25]. Another study by Ashok et al. [26] developed an activity assessment model to determine relationships between MoOSTs activities in order to identify non-critical activities based on the duration and divert resources to critical activities. Most of these aforementioned studies highlighted the applications of criticality assessment for MoOSTs processes and equipment selections as important methods for optimising maintenance, but detailed analyses on identifying criticality of tasks for the purpose of enhancing knowledge is scant in the body of knowledge.
However, ref. [27] critiqued traditional approaches for criticality assessments that are predominantly based on subjective expert opinions, stating that “when criticality assessments are performed using traditional qualitative criticality matrix, a suboptimal classifications tend to occur as there are no means to incorporate actual circumstances of boundary of the input ranges or at levels of linguistic data and criticality categories.” Although many other methods have supplemented existing traditional criticality assessments within industrial maintenance, including multi-criteria decision-making methods to overcome the perceived challenges of this method. This is by means of subjective expert opinions that have been implemented by combining group decision-making with a popular multi-criteria decision-making approach, such as the analytical hierarchy process (AHP) [28,29], etc. While the usefulness of obtaining benchmarked results from expert opinions, especially when such decision-making is associated with difficulties in ranking objectives into a hierarchy, an important function of AHP cannot be overlooked, but the inherent weakness, especially in terms of uncertainty and vagueness in weight allocations, limits its effectiveness [28]. The AHP remains popular in literature because it is a significant improvement from traditional qualitative criticality assessments that depend on the subjectivity of group decision-making as it can measure levels of inconsistencies in the judgements provided by experts. However, despite the popularity of AHP, it is often criticised for its inability to capture the subjectivity of human judgements, which is an essential part of group decision making, and it then implies that the AHP cannot be a standalone approach, but it can be strengthened by combining it with an approach that can capture subjectivity. For example, Fuzzy logic can convert verbal assessments into crisp values where necessary [30,31]. Many differences between the traditional qualitative criticality method and distinct computational method, fuzzy logic, exist, as shown in [32], and these differences have been highlighted in Appendix A.
Consequently, the application of Fuzzy logic (introduced by Zadeh in 1965) [28] can overcome the challenge of human judgement subjectivity, which is linked to imprecise reasoning in human judgement, and can provide rationality in the decision-making process. However, since Fuzzy logic is also limited as a standalone method because it cannot adequately measure the level of consistency in some datasets obtained from the judgement provided by expert opinions, it can also be supplemented with other approaches especially when setting out baselines for membership functions [30,31]. Therefore, it is important for decision-makers to assess the type of data they seek to analyse and select combinations of effective approaches that can compensate for the weakness of others. Therefore, the use of hybrid methods is a popular method for developing criticality ranking systems [27,33,34,35]. This study demonstrates the application of such a hybrid method; it utilises the traditional qualitative criticality method for ranking expert judgements, which serves as the baseline for setting the degree of membership functions, and the If-Then rules in the Fuzzy inference system.

3. Materials and Methods

The proposed application in this study is a hybrid model that combines quantitative and qualitative analyses to determine criticality assessment values of MoOSTs tasks. Frequency (F) parameter and consequences (C) parameter made up of three variables, namely operational reliability impact (ORI), health safety and environment impact (HSEI) and maintenance costs (MC), are considered to determine and evaluate the criticality of MoOSTs activities. To achieve this, qualitative analysis of F and C parameters as well as criticality levels are localised by an expert panel by means of the Delphi method. The Delphi technique is a popular method for achieving group decision-making, as it is designed as a structured group communication process that allows individuals within a group to deal with complex problems [36]. An integral technique for eliciting responses following the Delphi techniques for qualitative problems with many alternatives is to generate pairwise comparisons, and this can be achieved by means of the analytical hierarchy process (AHP) because different criteria can be ranked into a hierarchy of importance [37]. In this instance, since the factors of maintenance costs considered in this study is focused on labour elements and actual task execution, which comprise of non-numerical datasets, to localise such scales by an expert panel, the AHP technique by Saaty [29,38] is first administered, for the purpose of determining normalised weights.
Subsequently, MoOSTs tasks with high criticality numbers based on the criticality scale are codified. It is imperative to acknowledge that codification of critically assessed MoOSTs tasks increases the potential for harnessing tacit-based knowledge from maintenance activities and promotes the transfer and reuse of expertise partly due to distribution of work related to practical expertise, subjective experience-based insights, perspectives, intuitions, as well as beliefs among staff and outsourced resources during MoOSTs.

3.1. Traditional Qualitative Criticality Assessment Method

This method comprises of two main processes for qualitative criticality assessment of MoOSTs tasks, namely: (1) development of mathematical relationship through means of combinatorial logic of parameters and (2) practical application of the mathematical relationship for deriving criticality assessment rating system for maintenance tasks.
Proposed sequence of the method:
  • Consider typical maintenance activities performed on the rotary kiln system (RKS) during MoOSTs;
  • Determine parameters for criticality analysis: two main parameters, frequency and consequence (three factors related to consequence parameter);
  • Determine weights allocation for values of each main parameter and individual factor under each parameter where necessary;
  • Group decision-making by applying the Delphi technique is initiated to deliberate on and recommend weight allocations for values of F, deliberate on, and recommend weight allocation for values of C and assign ratings to the criticality assessment values obtained from the mathematical relationship. The baseline information for such group decision-making was dependent on data obtained from historical plant data, as well as proposed estimates based on business practices and experience for assets of the same sector and maintenance requirements. However, some factors of MC comprise of non-numerical datasets, to localise such scales by an expert panel; AHP is first administered for the purpose of determining normalised weights;
  • Compute the assigned weight allocation of values into the mathematical relationship and determine criticality assessment values;
  • Decision mapping from expert panel to establish asset criticality levels and linguistic ratings;
  • Demonstrate the application of the proposed model using the case example.
To implement the proposed decision method, it is vital to deduce a logical procedure for carefully selecting the most relevant MoOSTs activities that would benefit from criticality assessment of task-bask-based expertise identification and codification framework. MoOSTs data embedded within the plant’s CMMS that spans over a 5-year time window was utilised for the analysis. The RKS was selected because it was adjudged be to be of utmost importance in maintaining smooth-running operations of cement manufacturing [25]. Maintenance tasks for each critical sub-units under the RKS were assessed to determine criticality based on a combination of relevant factors [19]. A criticality assessment technique, applied by Crespo et al. [24], was adopted and modified to suit the specificity of this study’s elements. The two main parameters considered were task frequency (F) and consequence (C). The mathematical relationship depicted in Equation (1) was applied to harmonise all the parameters and factors. Additionally, strict weighting protocols were implemented to yield task-based criticality assessment values (Cav) that adequately assessed maintenance tasks that fall within the premise of RKS during MoOSTs. Furthermore, a linguistic command classification system was used to assign ratings as well as multi-disciplinary requirements. It is also envisaged that this approach could foster the reduction of MoOSTs task uncertainties through incorporation into a dedicated knowledge management system.
C av = F × C = F × [ ORI + HSEI + MC ]
where Cav is criticality assessment values; F is the task frequency parameter; C is the consequence parameter; ORI is the operational reliability impact; HSEI is health, safety and environment impact; and MC is maintenance costs (including size of labour, hierarchy of labour, source of labour and task duration).

3.2. Experts’ Weight Allocations to Parameters and Formulation of Mathematical Relationship

Effective criticality assessments are specific to individual systems: plants or business units. The criticalities of two similarly configured plants may still be different based on their operational environments, labour skill matrix or preferred maintenance strategies [34]. Typically, the criticality of certain MoOSTs tasks is decided based on predetermined objectives that are pre-set by decision-makers. An expert panel team of 10 persons was formed and assigned decision-making capabilities; these persons are representatives of different sections in the maintenance department having appreciable involvement in performing MoOSTs. The panel were presented with 5 years’ worth of data obtained from the case plant and also referred to literature-based evidence of similar applications for expert judgement. The objectives of the panel were as follows.
  • Deliberate and recommend criteria and values of F based on obtained plant data.
  • Deliberate and recommend criteria, weights and factor values of the C parameter.
  • Establish the overall procedure for asset criticality levels and linguistic ratings.
To supplement the group decision-making exercise and reduce levels of inconsistencies in group decision-making for factors with non-numerical data, the analytical hierarchy process (AHP) was implemented to determine the assigned values for the source of labour and hierarchy of labour classifications, which are two out of four factors that are combined to yield MC. This was because, unlike the F parameter and other factors of the C parameter, where values for the mathematical relationship could be determined through consistency of judgements derived from the obtained data, source of labour and hierarchy of labour classifications were not favoured by such approach. Hence, the adoption of AHP’s three principles, decomposition, comparative judgement and synthesis priorities, to elicit expert judgements and subsequent assignment of values for these two factors [29,38,39]. Table 1 shows the composition of the expert panel and their job description. Table 2 shows classifications of task frequency.
Table 1. Relevant information of the expert panel.
Table 2. Classification of task frequency (F) in MoOSTs.
The logic adopted in Table 2 for task frequency classification differs from that used for traditional and widely established criticality assessments, owing to the high-frequency tasks being assigned the highest scores (direct proportionality) in traditional approaches. In this instance, however, the highest values were assigned to the low-frequency tasks (inverse proportionality) due to their rarity and higher probability of losing associated skillsets for such MoOSTs activities.
To determine ORI factor values, as shown in Table 3, the obtained values for technical support work in hours of each MoOSTs activity was utilised as a criterion for determining the level of disruption to the system. Additionally, to determine ORI and HSEI factors values, a combination of practical maintenance tools, such as FMECA (Failure Mode, Effect and Criticality Analysis) and RCM (Reliability Centred Maintenance) were applied as shown in Table 3.
Table 3. Classification of consequences factors for ORI and HSEI.
FMECA and RCM are tools utilised to recognise and evaluate potential failure of maintenance tasks and their effects, as well as identify potential actions that attempt to eliminate or reduce the chances of potential failures in assets [39,40]. However, performing FMECA and RCM analyses could be complex and time-consuming for most operators, owing to the need for absolute understanding of the process, system, subsystem, components and their potential failure modes. As valuable and well-established as these endeavours have proven to be over the years, it is considered out of scope for this study. However, comparable levels of technical details were obtained via a field-specific questionnaire and administered using the Delphi technique. The process of expert categorisation for building representative panels, modelling of typical Delphi survey panels, group sizing and establishment of consensus judgments from choosing “averages” of judgement were detailed in a preceding study [5]. The application of group decision-making offers possibilities for deciding which alternatives are best under certain conditions and offering support in providing insights into the decision-making process by varying criterion weights and scores.
Typical MoOSTs costs are often an integration of various elements of which the most prominent as depicted by [19], and they include: preparatory maintenance labour cost, duration of maintenance work, cost of technical support, cost of skilled maintenance, cost of downtime, cost of spare parts and materials, etc. Four of the most prominent cost factors peculiar to MoOSTs were then selected. The selected costs factors are number of labours used to achieve an individual task ( w i ); the hierarchy of specialist labour ( x i ) ; source of labour, i.e., internal, external or combination of both ( y i ) ; duration of technical support work in hrs ( z i ) . Table 4 below shows the classifications for maintenance costs.
Table 4. Classification of consequence factors for maintenance cost (MC): number of labours, hierarchy of specialist labour, source of labour (internal, external or combination of both) and duration of technical support work in hrs.
To obtain overall factor value for maintenance costs, the equation is as follows:
MC = i = 1 n w i + x i + y i + z i
The outputs of Equation (2) were utilised in the classification system to determine MC factor values in Table 4. Furthermore, to achieve the assigned values of the mathematical relationship for the hierarchy of specialist labour ( x i ) and the source of labour, i.e., internal, external or combination of both ( y i ) , a manual demonstration of the AHP was first administered, applying pairwise comparison and determination of consistency by eigenvalue max λ max, whereby the consistency index (C1) for the two factors was 3.7% and 1.7%, respectively. According to [39,41], a consistency ratio (CR) lower than 10% (0.1) is classified as sufficiently consistent. The entire outcomes of manual pairwise comparisons and syntheses are shown in Table 4 (based on the hierarchy of labour and source of labour) are provided in Appendix B and the nomenclature of codes in Appendix C.
In summary, criticality assessment values were determined based on the combination of all aforementioned parameters and factors. By using assigned numerical values of all parameters and factors for Cav obtained from Equation (1), the maximum value for a MoOSTs task criticality was set at 100. The expert panel then established three levels of MoOSTs tasks criticality and criticality assessment matrix from the traditional method as shown in Table 5 and Table 6, respectively.
Table 5. Experts’ classification levels of MoOSTs Cav.
Table 6. Qualitative criticality assessment matrix.
After obtaining the criticality assessment values from the traditional qualitative criticality ranking method, the next step is the Fuzzy logic demonstration.

3.3. Fuzzy Logic Working Principles for Criticality Assessment

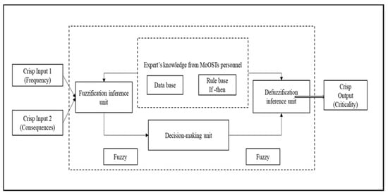
A methodology for implementing Fuzzy logic is by means of the Fuzzy inference system (FIS), which maps a given input set to an output set using Fuzzy logic. There are two popular FIS models available: the Mamdani Fuzzy model and the Sugeno Fuzzy model. Their selections largely depend on the Fuzzy reasoning and its formulations of the Fuzzy If-Then rules. To date, the Mamdani approach, developed in 1975, is very popular and has been successfully applied to a variety of industrial processes [27,34,42]. The Mamdani Fuzzy model is based on collections of If-Then rules. The four functional blocks that constitute the FIS described in [43] are fuzzifier, knowledge base, inference system and defuzzifier. Figure 1 is a representation of the FIS description adopted for this study.
Figure 1. Fuzzy criticality ranking system.
Fuzzifier: In Fuzzy language, this input is called crisp input because it contains precise information about specific information about an individual parameter. The fuzzifier converts this precise quantity to the form of imprecise quantity, such as “low,” “medium,” “high,” etc., and assigns a degree of belongingness to it. To express this mathematically in Fuzzy theory, a Fuzzy set A, in some relevant universe of discourse X, is defined by function µA(x) = [0,1]. Thus, for any element x of universe X, membership function µA (x) equals the degree to which x is an element. This degree, a value between 0 and 1, represents the degree of membership element x in set A. If the degree of membership µA (x) is close to 1, it refers to a greater degree of belongingness of the element x to the set A. If the degree is close to 0, the degree of belongingness of x to A is small.
The membership function of the Fuzzy set refers to the coding of the membership curve, and it can be sigmoidal, triangular, trapezoidal or Gaussian etc. [44]. The triangular “trimf” and trapezoidal “trapmf” membership functions are quite popular and have been applied for many risk and criticality assessments because they are intuitively easy for decision-makers to use and calculate [34,43,45].
Thus, if x is the variable in the system, for a “trimf,” a Fuzzy set A is defined by the triplet (a, b, c). The membership number µA (x) can be defined in Equation (3):
µ A   ( x ) = { 0 ,   x   a x a b a ,   a x b c x c b ,   b   x c 0 ,   x   c
where a, b and c are real numbers.
“Trimf” can be potentially used for representing conflicts in group decision-making because for each basic variable, x, “a” (the lowest possible value) and “c” (the largest possible value) can be interpreted as the minimum and maximum values of the decision-makers’ judgement. The target can be a single value, or, in general, any interval in the real line of the form (a, c) that represents a range of desired values of the variables.
Likewise, if x is the variable in the system, for a ‘trapmf’, a Fuzzy set A is defined by the quadruplet (a, b, c and d). Similarly, membership number µA (xc) can be defined as shown in Equation (4):
= µ A   ( x c ) = { 0 ,   x   a x a b a ,   a x b 1 ,   b   x   c , d x d c ,   c   x d 0 ,   x   d
For “Trapmf,” the data for each variable are normalised on a scale of zero (lowest level) and one (highest level) to allow for aggregation, as well as facilitate Fuzzy computations. For each computation, each basic variable, x, is assigned a target, a minimum “a,” and a maximum value “d.” The target can be a single value or, in general, any interval in the real line of the form (b, c) in order to represent a range of desired values for the variables.
Knowledge base: This hosts both the database and rule base jointly. The database defines the membership functions of the Fuzzy sets used in Fuzzy rules, whereas the rule base contains several Fuzzy (If-Then rules) established based on expert knowledge.
Inference engine/decision-making unit: This is where the decision-making unit performs inference operations; it handles how rules are combined, and/or mathematical calculus is specifically used in the analysis of a particular operation. Equations (5)–(8) provides the listings of characteristics of the Mamdani Fuzzy method and the soft computational operators employed [42,46].
AndMethod :   min µ A   ( x ) = max ( µ A ) ( x ) ,   µ B   ( x ) ) = µ A   ( x )   V µ B   ( x )  
OrMethod :   max µ A   ( x ) = max ( µ A ) ( x ) ,   µ B   ( x ) ) = µ A   ( x )   Λ   µ B   ( x )  
ImpMethod :   min M a x ( min   µ A ( x ) ,   µ B   ( x ) ) )  
AggMethod :   max { m i n i [ μ A 1 i ( x 1 ) ,   μ A 2 i ( x 2 ) , , μ A s i ( x s ) ] } ,   i = 1 , 2 , , M
Defuzzifier: The output generated by the interference block is always Fuzzy in nature. In real-world operations, the output of the Fuzzy system needs to be crisp. The defuzzifier receives the Fuzzy input and provides real-world output (numerical values). There are many types of defuzzification methods, but centroid, also known as the centre of gravity, is the most widely used [45]. The centroid method is shown in Equation (9).
Centroid   method = x µ c ( x ) d x µ c ( x ) d x
The Mamdani FIS description used in this study is shown in Figure 2.
Figure 2. Mamdani Fuzzy inference system.
The triangular and trapezoidal membership functions were selected based on their description and computational strength. Linguistic frequency parametric terms of frequent (F), probable (P), occasional (O) and rare (R) had corresponding numerical ranges (0–4) assigned by experts. Consequence parameters were obtained from the expert assigned values for the sum of all three consequence factors (Table 3 and Table 4). Their linguistic terms of very low (VL), low (L), medium (M), high (H) and very high (VH) had corresponding numerical values (0–25). The criticality (output) was classified into three levels with linguistic terms: semi-critical (SC), critical (C) and extremely critical (EC), based on the classifications in Table 5 with the range of 0 to 100.
The mapping of frequency, consequences and criticality values was achieved by using Fuzzy If-Then rules of crisp inputs and outputs applied to the Fuzzy logic toolbox kit of MATLAB R2020b. A total of 20 If-Then rules were utilised in the FIS to provide the mapping. The rules are designed to follow the logic of the expert assessor derived from the qualitative criticality matrix and are outlined in Table 6. The parametric membership functions for inputs and output variables can be found in Table 7.
Table 7. Parametric membership functions for two input variables and one output variable.
The 20 Fuzzy rules applied in the FIS are shown in Figure 3, while Figure 4 is the degree of membership functions for the two inputs and one output.
Figure 3. Extract of the formulated rules.
Figure 4. Fuzzy membership functions plots for frequency, consequences and criticality.
The introduction of fuzziness is vital for facilitating the analysis of inputs (i.e., ranges of estimated frequency and consequences values) at the boundaries in the process of criticality assessment-related decision-making. This enables optimal criticality analysis results by introducing fuzziness to the ranges of each input/output value as well as the corresponding membership function values.
The final output of the system, fuzzy criticality index (FCI) [33], is displayed in the mathematical relationship in Equation (10):
FCI = i = 1 N k i   C r i t i c a l i t y i / N i = 1 N k i
where,
N and Ki, respectively, represent the number of rules and weight factor for each rule;
Criticalityi is then equivalent to the calculated fuzzy criticality value.
The resulting output envelopes for two Fuzzy inputs, frequency and consequences, as well as one Fuzzy output criticality are displayed in Figure 5. A high value of criticality is obtained for any high value of frequency, consequences or combinations of both. Conversely, a low value of criticality is obtained for low values of frequency and consequences combinations.
Figure 5. Output risk surface envelop (Mamdani) for two Fuzzy inputs: frequency and consequences.
An examination of the plot of criticalities’ surface over the possible combinations of the input variables (frequency and consequences) shows consistency of the rule base used for the criticality assessment. Furthermore, Figure 5 reveals no evidence of abrupt changes in the output variable (criticality) for small changes to the input variables range.
A rule view and an example calculation of criticality value for a MoOSTs task are shown in Figure 6. The calculation has been performed for a MoOSTs task with a frequency of 2 and a consequence of 14. The criticality value estimated by the FIS is 41.5, and the corresponding linguistic value is EC (using the MFs in Figure 4). A comparison of criticality values obtained from the traditional criticality assessment and Fuzzy criticality output was performed after recording each numerical output and linguistic value against individual MoOSTs task.
Figure 6. Rule view and calculation of criticality.

3.4. Practical Consideration Using a Case Example

Having established the criticality values from the traditional criticality assessment method and Fuzzy criticality ranking system, this portion of the study will aim to demonstrate the practicality of earlier postulations using real-life MoOSTs data. The case example is a cement manufacturing plant with appreciable MoOSTs frequencies (typically two cycles per year per RKS). Justification for selecting the cement industry is because it provided a good balance between capital intensiveness and high MoOSTs frequencies. The cement manufacturing process is characterised by large, complex and closely connected physical industrial assets (PIAs), especially the RKS. According to Yunusa-Kaltungo et al. [15], a significant number of process plants, including cement manufacturing, depend heavily on RKS for the achievement of their manufacturing objectives. In a comprehensive description of a typical RKS provided by [15,16], RKS was described as a calcinatory device that facilitated chemical or physical transformation by subjecting materials (mainly limestone, alumina, iron ore and silica) to extremely high temperatures (also known as pyro-processing) for production of clinker (the main ingredient for cement manufacturing). The critical function of the RKS ensures its associated performances in continuous production plant operations is achieved by performing MoOSTs.

4. Results and Discussion

In total, 325 tasks were obtained from the 5-year MoOSTs tasks lists. Based on their Fuzzy criticality numbers, 105 of these tasks were classified as either extremely critical or critical, while the remaining 220 were classified as semi-critical. Based on the criticality numbers following implementation of the traditional qualitative method, 96 tasks were classified as extremely critical and critical, while 229 were classified as semi-critical. Six similar MoOSTs tasks were classified as extremely critical based on both Fuzzy and traditional criticality number ranges.
The numbers of MoOSTs tasks assigned linguistic levels of EC and C were 8.5% higher (a difference of 9 tasks) based on their Fuzzy criticality numbers (105 tasks) compared to those allocated similar linguistic levels of EC and C based on the traditional criticality approach (96 tasks). Moreover, further analysis of these nine tasks reveals that some of these tasks had high-frequency numbers (this study applies an inverse logic for describing task frequency owing to the rarity of these tasks). The difference in results could be attributed to the approach adopted by the two methods; for instance, Fuzzy logic takes into account imprecision often associated with the qualitative ranking of frequency and consequences data.
Therefore, because the combinations of these 9 tasks revealed either a high frequency, low consequences and/or low frequency, high consequences as well as exceeded the boundaries of semi-criticality based on Fuzzy criticality numbers, the total number of MoOSTs tasks selected for considerations were 105 in total. Table 8 shows the comparison between the values derived from the traditional and fuzzy logic method.
Table 8. Comparison of traditional and Fuzzy criticality numbers to MoOSTs tasks.
Based on these comparative analyses, Fuzzy attributes assisted in overcoming data uncertainty, which allowed the analysis to obtain Fuzzy values that were more precise in the ranking and classification of criticality. These values and their inputs provide extensive information for making first-hand decisions on the management of uncertainty. At a glance, MoOSTs tasks that are rarely performed can be identified; this is important because the possibility of missing out on critical skills associated with such tasks might be underestimated. The logic of inverse proportionality adopted for assigning values to MoOSTs tasks frequency has yielded an outcome that makes provisions for tasks that might be termed as non-critical based on their rarity of occurrences when using traditional task frequency assessments. Unlike other traditional approaches to assessing criticality in maintenance that concentrate on failure frequencies in order to identify “bad actors” among asset bases, a reoccurring challenge with MoOSTs is often the inability to predict and prepare for uncertainty due to unknown occurrences of unidentified tasks in the work schedule.
Likewise, it is possible to identify the maintenance cost from a combination of labour hierarchy, source of labour, number of labour requirements and task duration for performing an individual MoOSTs task. Just like most operational projects, MoOSTs are usually time-intensive because industrial plants are incurring heavy downtime costs in addition to spares and labour costs. Additionally, the large number of labour requirements, which exceed normal online routine maintenance and overt reliance on outsourced labours, can significantly increase MoOSTs costs if there are schedule overruns. This makes it imperative to identify all factors that contribute to the mathematical relationship of Cav and establish a mechanism for predicting future endeavours, a vital element of knowledge management. Additional information that can be obtained from Table 6 is the combination of multi-disciplinary requirements to perform individual MoOSTs tasks, the hierarchy of the disciplines, and their source (internal, external or combination of both). In fact, it is believed that previous studies on MoOSTs have dedicated little interest to quantifying the level of importance for unquantifiable factors, such as the hierarchy of labour and source of labour. Hence, the approach adopted by the expert panel, by hierarchizing these two factors and allocating judgements of importance using AHP.
Furthermore, by linking ORI to task duration, consequences of failure from not performing MoOSTs tasks to achieve pre-determined outcomes is analysed thoroughly because tasks, which require longer durations for completion of maintenance activities, would cause longer disruptions and delay the plant from coming on-stream. For instance, a major criterion for performing MoOSTs is to maintain desired operational and production levels. Consequently, equipped with such holistic parametric information on factors that contribute to criticality, it is possible for schedulers, planners and safety experts etc., to predict the workflow pattern, identify bottlenecks and effectively plan to reduce accidents and hazards during MoOSTs.
A review of the snapshot of Figure 7 provides numerical values of F, C and Cav for the traditional method as well as Fuzzy criticality numbers and multidisciplinary requirements for selected MoOSTs activities. The entire data containing 105 selected maintenance activities performed during MoOSTs has been included in the supplementary file.
Figure 7. Snapshot of traditional and Fuzzy criticality numbers of MoOSTs activities.

MoOSTs Activities Coding System

It is imperative to codify knowledge associated with a MoOSTs task owing to their rarity, which in turn enhances organisational knowledge preservation, talent, management and succession planning. The codification sequence adopted relevant distinct maintenance terminologies from [47]. For instance, maintenance task levels by categorisation (Level 1 to 5) referred to in this study are as follows;
  • Level 1 is characterised by simple actions carried out with minimal training;
  • Level 2 is characterised by basic actions carried out by qualified personnel’s using detailed procedures;
  • Level 3 is characterised by complex actions carried out by technical personnel’s using detailed procedures;
  • Level 4 is characterised by actions which imply know-how of a technique carried out by specialised technical personnel and;
  • Level 5 is characterised by actions, which imply knowledge held by the manufacturer or a specialised company with industrial logistics support equipment.
The codification framework established in this study is shown in Figure 8.
Figure 8. Codification process of MoOSTs activities.
An illustration utilising the codification process of Figure 8 is demonstrated for an extremely critical (EC) MoOSTs task activity identified from Figure 7: Casting of stage 4 riser duct.
FE–F1- N5- H/T –S/E-TD/24.4-Mech.—L 3
FE—Fabrication, foundry, and erection of temporary structures.
F1—frequency is once within five years period
N5—number of labours is five
H/T—hierarchy of labour skill is technician
S/E—source of labour value is external
TD/24.4—task duration would require 24.4 h
Mech.—disciplinary requirement is Mechanical
L 3—maintenance level of activity is level 3
The maintenance level is a useful piece of information because it can provide valuable insights into the types of maintenance knowledge (explicit and tacit) that a person performing a maintenance task (knowledge holder) may be able to capture.

5. Conclusions

This study has applied a combination of the traditional qualitative criticality method and Fuzzy logic system for assessing the criticality of a MoOSTs task. The decision-making process to obtain parametric numerical ranges for both methods was provided by experts in cement manufacturing processes. Unlike the traditional method that makes use of a qualitative criticality matrix, the Fuzzy method generates a three-dimensional surface envelope diagram output for the computation of criticality values and examines the degree of changes to membership functions. Furthermore, although the total number of rules utilised for constructing the FIS, 20 rules in total, corresponds to the rows and columns of the qualitative criticality matrix, it is a more improved method because it allows the ranking of criticality alternatives based on a unified measure. Based on a comparison of the results from both methods, it can be ascertained that Fuzzy attributes assisted in overcoming data uncertainty, which allowed the analysis to obtain Fuzzy values that were more precise in the ranking and classification of criticality.
Practical application of the two methods using a case example has led to the identification and codification of critical maintenance activities performed during MoOSTs. The detailed procedures for converting large amounts of data into information that are reusable. Thus, an important element of knowledge transfer and management was depicted. Furthermore, because maintenance objectives are achieved by prioritising many competing variables, a multi-criteria decision approach that combines a quantitative method (Fuzzy logic) and a qualitative method (expert opinions), as well as historical data, was deemed suitable for assessing task criticality.
A unique contribution of this research is to demonstrate how practical assessments of MoOSTs tasks criticality and codification systems can be utilised as inputs for developing suitable web-based knowledge management, acquisition and transfer framework that would complement existing industry-based solutions. Traditional approaches of criticality assessments in MoOSTs, as well as other maintenance endeavours, are usually focused on assessing failure modes and criticality of assets and systems utilised in operations but not on actual tasks. Hence, there is vast knowledge on predicting asset failures and prognosis but not enough on assessing individual maintenance activities and processes for performing maintenance. Through this research, valuable insights on identifying critical MoOSTs tasks through a combination of the mathematical relationships of specific parameters and factors that are unique to MoOSTs and contribute to an overall execution of the task was demonstrated. The imprecise reasoning of decision-makers involved in setting boundaries/classifications and levels was smoothed by means of a Fuzzy logic system. Valuable insights of contributing parameters to uncertainties in MoOSTs were obtained; for instance, task frequency could provide decision-makers with crucial information about the task with remote possibilities of occurrence, thereby reducing uncertainties associated with performing such rare MoOSTs tasks in future.
Furthermore, an understanding of the average labour size is quite crucial for workload smoothening and labour management. Information about the manpower composition of MoOSTs organisation is useful for planning the communication channels via which information and experience can be adequately captured. Therefore, labour size analysis as a factor under the consequence parameter is relevant to this study and analysed as such in Table 4 and Table 6. The codification strategies implemented in this study enhances the acquisition and subsequent transfer of tacit knowledge. This is because tacit knowledge is rooted in an individual’s actions, experiences as well as emotions. Identifying who the knowledge holder is (discipline requirements) and adequate information on the tasks they are required to perform can be instrumental in facilitating the capture of expertise embedded within the minds of experts, based on their historical involvements with MoOSTs. The classification of MoOSTs knowledge made possible by the codification strategy can potentially be used to develop a web-based platform, a means by which future knowledge can be automatically captured.
The scope of this work was limited to developing a criticality ranking of maintenance activities by combining two main maintenance parameters, frequency, and consequence during MoOSTs activities using a high frequency shutdown case study, cement-manufacturing plant. However, it would be useful to examine the dynamics existing between high-frequency and low-frequency tasks in different industries, where the execution of MoOSTs sometimes takes up to three to five years intervals, and other factors such as where accessibility is low. Despite this perceived limitation, it is envisaged that the approach presented here still offers useful contributions, especially because cement manufacturing is often considered the upstream segment of one of the largest business sectors (i.e., mining and construction). Future works are planned to undertake further planned studies from other industries with much lower frequency tasks to compare the robustness of the approach.

Supplementary Materials

The following are available online at https://www.mdpi.com/article/10.3390/su13094619/s1.

Author Contributions

Conceptualization, L.O.I.-E.; methodology, L.O.I.-E. and A.Y.-K.; validation, L.O.I.-E. and A.Y.-K.; formal data analysis, L.O.I.-E.; investigation, L.O.I.-E. and A.Y.-K.; writing—original draft preparation, L.O.I.-E.; writing—review and editing, A.Y.-K.; supervision, A.Y.-K. All authors have read and agreed to this published version of manuscript.

Funding

This research received no external funding.

Institutional Review Board Statement

The study was conducted according to the guidelines of the Declaration of Helsinki, and approved by the Ethics Committee panel of Mechanical, Aerospace and Civil Engineering Department, UNIVERSITY OF MANCHESTER (Ref code 2020-8009-13470 and date of approval: 09/03/2020).

Data Availability Statement

The data is contained within the supplementary materials here.

Acknowledgments

Lilian. O. Iheukwumere-Esotu acknowledges receipt of a PhD scholarship from the Petroleum Technology Development Fund (PTDF), Nigeria number PTDF/ED/PHD/ILO/1025/17.

Conflicts of Interest

The authors declare no conflict of interest.

Appendix A. Comparison between Traditional Qualitative Method and Fuzzy Logic Method

Traditional Qualitative MethodFuzzy Logic Method
Degree of certainty given by statistical probability is meaningful only before the occurrence of the event.Degree of membership with the fuzzy logic is relevant even after the event occurs.
An inextricable issue associated with the traditional method is uncertainty, due to inadequate data and imprecise information. The data obtained from an expert’s judgement might lead to a subjective interpretation of available information, which cannot be treated solely by the traditional statistical method.Fuzzy logic can overcome the imprecise nature of uncertainty based on the use of fuzzy membership function for dealing with uncertainty by providing a very precise approach.
The traditional method makes assumptions of the independence of eventsFuzzy logic does not make this assumption.
The traditional method assumes that all data are known.Fuzzy logic never assumes that everything could be known.

Appendix B. Synthesised Matrix for Hierarchy of Labour and Source of Labour

Hierarchy of Labour
a1a2a3Criteria normalised weight from AHP
a10.65360.69280.55560.634
a20.21570.23090.33330.26
a30.13070.21570.00370.11
Source of Labour
b1b2b3Criteria—normalised weight from AHP
b10.71790.75000.63630.70
b20.17950.18750.27270.21
b30.10260.06250.0900.09

Appendix C. Nomenclature of Coding System Used in Appendix B

CodeNomenclature of Codes Used in Appendix C
a1Engineering/shift manager
a2 Supervisor
a3Technician
b1External
b2Combination (External and internal)
b3Internal

References

  1. Kordab, M.; Raudeliūnienė, J.; Meidutė-Kavaliauskienė, I. Mediating Role of Knowledge Management in the Relationship between Organizational Learning and Sustainable Organizational Performance. Sustainatibility 2020, 12, 10061. [Google Scholar] [CrossRef]
  2. Talib, F.; Asjad, M.; Attri, R.; Siddiquee, A.N.; Khan, Z.A. A road map for the implementation of integrated JIT-lean practices in Indian manufacturing industries using the best-worst method approach. J. Ind. Prod. Eng. 2020, 37, 275–291. [Google Scholar] [CrossRef]
  3. Robertson, J. Competition in Knowledge Ecosystems: A Theory Elaboration Approach Using a Case Study. Sustainatibility 2020, 12, 7372. [Google Scholar] [CrossRef]
  4. Parida, A.; Kumar, U. Maintenance Productivity and Performance Measurement. Handb. Maint. Manag. Eng. 2009, 17–41. [Google Scholar] [CrossRef]
  5. Iheukwumere-Esotu, L.O.; Kaltungo, A.Y. Assessment of Barriers to Knowledge and Experience Transfer in Major Maintenance Activities. Energies 2020, 13, 1721. [Google Scholar] [CrossRef]
  6. Shou, W.; Wang, J.; Wu, P.; Wang, X. Value adding and non-value adding activities in turnaround maintenance process: Classification, validation, and benefits. Prod. Plan. Control 2019, 31, 60–77. [Google Scholar] [CrossRef]
  7. Al-Turki, U.M.; Duffuaa, S.O.; Ben-Daya, M.A. A holistic system approach for turnaround performance management. Maint. Perform. Meas. Manag. 2013. [Google Scholar] [CrossRef]
  8. Cai, J.; Cigsar, C.; Ye, Z.-S. Assessing the effect of repair delays on a repairable system. J. Qual. Technol. 2019, 52, 293–303. [Google Scholar] [CrossRef]
  9. Shou, W.; Wang, J.; Wu, P.; Wang, X. Lean management framework for improving maintenance operation: Development and application in the oil and gas industry. Prod. Plan. Control 2021, 32, 585–602. [Google Scholar] [CrossRef]
  10. Bell, N. Mitigating the Loss of Critical Knowledge. Saf. Reliab. 2014, 34, 61–78. [Google Scholar] [CrossRef][Green Version]
  11. Zhang, Q.; Ma, Z.; Ye, L.; Guo, M.; Liu, S. Future Work Self and Employee Creativity: The Mediating Role of Informal Field-Based Learning for High Innovation Performance. Sustainatibility 2021, 13, 1352. [Google Scholar] [CrossRef]
  12. Duffuaa, S.O.; Al-Turki, U.M.; Ben Daya, M. Status of Integrated Turnaround Maintenance. In Proceedings of the 2019 Industrial & Systems Engineering Conference (ISEC), Jeddah, Saudi Arabia, 19–20 January 2019; pp. 1–4. [Google Scholar] [CrossRef]
  13. Hong, Y.; Zhang, M.; Meeker, W.Q. Big data and reliability applications: The complexity dimension. J. Qual. Technol. 2018, 50, 135–149. [Google Scholar] [CrossRef]
  14. Cohen, T.; Cram, N. Computerized Maintenance Management Systems, 2nd ed.; Elsevier Inc.: Amsterdam, The Netherlands, 2019. [Google Scholar]
  15. Yunusa-Kaltungo, A.; Kermani, M.M.; Labib, A. Investigation of critical failures using root cause analysis methods: Case study of ASH cement PLC. Eng. Fail. Anal. 2017, 73, 25–45. [Google Scholar] [CrossRef]
  16. Yunusa-Kaltungo, A.; Labib, A. A hybrid of industrial maintenance decision making grids. Prod. Plan. Control 2021, 32, 397–414. [Google Scholar] [CrossRef]
  17. Leary, M.; Burvill, C. Applicability of published data for fatigue-limited design. Qual. Reliab. Eng. Int. 2009, 25, 921–932. [Google Scholar] [CrossRef]
  18. He, S.; Zhang, Z.; Jiang, W.; Bian, D. Predicting field reliability based on two-dimensional warranty data with learning effects. J. Qual. Technol. 2018, 50, 198–206. [Google Scholar] [CrossRef]
  19. Hameed, A.; Khan, F. A framework to estimate the risk-based shutdown interval for a processing plant. J. Loss Prev. Process. Ind. 2014, 32, 18–29. [Google Scholar] [CrossRef]
  20. Hameed, A.; Khan, F.; Ahmed, S. A risk-based shutdown inspection and maintenance interval estimation considering human error. Process. Saf. Environ. Prot. 2016, 100, 9–21. [Google Scholar] [CrossRef]
  21. Bertolini, M.; Bevilacqua, M.; Ciarapica, F.; Giacchetta, G. Development of Risk-Based Inspection and Maintenance procedures for an oil refinery. J. Loss Prev. Process. Ind. 2009, 22, 244–253. [Google Scholar] [CrossRef]
  22. Bevilacqua, M.; Ciarapica, F.; Giacchetta, G. Critical chain and risk analysis applied to high-risk industry maintenance: A case study. Int. J. Proj. Manag. 2009, 27, 419–432. [Google Scholar] [CrossRef]
  23. Bevilacqua, M.; Ciarapica, F.E.; Giacchetta, G.; Marchetti, B. Development of an innovative criticality index for turnaround management in an oil refinery. Int. J. Prod. Qual. Manag. 2012, 9, 519. [Google Scholar] [CrossRef]
  24. Márquez, A.C.; De León, P.M.; Rosique, A.S.; Fernández, J.F.G. Criticality Analysis for Maintenance Purposes: A Study for Complex In-service Engineering Assets. Qual. Reliab. Eng. Int. 2015, 32, 519–533. [Google Scholar] [CrossRef]
  25. Damilare, T.; Onawoga, O.; Akinyemi, O. Development of Equipment Maintenance Strategy for Critical Equipment. Pac. J. Sci. Technol. 2010, 11, 328–342. [Google Scholar]
  26. Ashok, M.; Biswajit, S.; Jibitesh, M. Activity Crashing in Shutdown Maintenance Through Qualitative Assessment: A Case Study. Adv. Prod. Eng. Manag. 2011, 6, 239–248. [Google Scholar]
  27. Ratnayake, R.M.C. Plant systems and equipment maintenance: Use of fuzzy logic for criticality assessment in NORSOK standard Z-008. In Proceedings of the 2013 IEEE International Conference on Industrial Engineering and Engineering Management, Bangkok, Thailand, 10–13 December 2013; pp. 1468–1472. [Google Scholar]
  28. Poplawska, J.; Labib, A.; Reed, D.M.; Ishizaka, A. Stakeholder profile definition and salience measurement with fuzzy logic and visual analytics applied to corporate social responsibility case study. J. Clean. Prod. 2015, 105, 103–115. [Google Scholar] [CrossRef]
  29. Saaty, T.L.; Vargas, L.G. Supply Chain Disruption Management Using Stochastic Mixed Integer Programming; Springer: Berlin/Heidelberg, Germany, 2012. [Google Scholar] [CrossRef]
  30. Kabir, G.; Hasin, M.A.A. Comparative analysis of AHP and fuzzy AHP models for multicriteria inventory classification. Int. J. Fuzzy Log. Syst. 2011, 1, 1–16. [Google Scholar]
  31. Ishizaka, A. Comparison of fuzzy logic, AHP, FAHP and hybrid fuzzy AHP for new supplier selection and its performance analysis. Int. J. Integr. Supply Manag. 2014, 9. [Google Scholar] [CrossRef]
  32. Pinto, A. QRAM a Qualitative Occupational Safety Risk Assessment Model for the construction industry that incorporate uncertainties by the use of fuzzy sets. Saf. Sci. 2014, 63, 57–76. [Google Scholar] [CrossRef]
  33. Elsayed, T. Fuzzy inference system for the risk assessment of liquefied natural gas carriers during loading/offloading at terminals. Appl. Ocean Res. 2009, 31, 179–185. [Google Scholar] [CrossRef]
  34. Jaderi, F.; Ibrahim, Z.Z.; Zahiri, M.R. Criticality analysis of petrochemical assets using risk based maintenance and the fuzzy inference system. Process. Saf. Environ. Prot. 2019, 121, 312–325. [Google Scholar] [CrossRef]
  35. Markowski, A.S.; Mannan, M.S.; (Bigoszewska), A.K.; Siuta, D. Uncertainty aspects in process safety analysis. J. Loss Prev. Process. Ind. 2010, 23, 446–454. [Google Scholar] [CrossRef]
  36. Okoli, C.; Pawlowski, S.D. The Delphi method as a research tool: An example, design considerations and applications. Inf. Manag. 2004, 42, 15–29. [Google Scholar] [CrossRef]
  37. Vidal, L.-A.; Marle, F.; Bocquet, J.-C. Using a Delphi process and the Analytic Hierarchy Process (AHP) to evaluate the complexity of projects. Expert Syst. Appl. 2011, 38, 5388–5405. [Google Scholar] [CrossRef]
  38. Saaty, T.L. Decision making with the analytic hierarchy process. Int. J. Serv. Sci. 2008, 1. [Google Scholar] [CrossRef]
  39. Saaty, T.L. How to make a decision: The analytic hierarchy process. Eur. J. Oper. Res. 1990, 48, 9–26. [Google Scholar] [CrossRef]
  40. Ogbonnaya, C.; Abeykoon, C.; Nasser, A.; Ume, C.; Damo, U.; Turan, A. Engineering risk assessment of photovoltaic-thermal-fuel cell system using classical failure modes, effects and criticality analyses. Clean. Environ. Syst. 2021, 2, 100021. [Google Scholar] [CrossRef]
  41. Vargas, L.G. Reciprocal matrices with random coefficients. Math. Model. 1982, 3, 69–81. [Google Scholar] [CrossRef]
  42. Lu, K.-Y.; Sy, C.-C. A real-time decision-making of maintenance using fuzzy agent. Expert Syst. Appl. 2009, 36, 2691–2698. [Google Scholar] [CrossRef]
  43. Lin, H.-Y.; Hsu, P.-Y.; Sheen, G.-J. A fuzzy-based decision-making procedure for data warehouse system selection. Expert Syst. Appl. 2007, 32, 939–953. [Google Scholar] [CrossRef]
  44. Ekincioğlu, C.; Boran, S. SMED methodology based on fuzzy Taguchi method. J. Enterp. Inf. Manag. 2018, 31, 867–878. [Google Scholar] [CrossRef]
  45. Muñoz, M.J.; Rivera, J.M.; Moneva, J.M. Evaluating sustainability in organisations with a fuzzy logic approach. Ind. Manag. Data Syst. 2008, 108, 829–841. [Google Scholar] [CrossRef]
  46. Beriha, G.; Patnaik, B.; Mahapatra, S.; Padhee, S. Assessment of safety performance in Indian industries using fuzzy approach. Expert Syst. Appl. 2012, 39, 3311–3323. [Google Scholar] [CrossRef]
  47. BSI. BSI Standards Publication. Maintenance Maintenance terminology. BS EN Patent 13306:2017, 29 November 2017. [Google Scholar]
Publisher’s Note: MDPI stays neutral with regard to jurisdictional claims in published maps and institutional affiliations.

Article Metrics

Citations

Article Access Statistics

Multiple requests from the same IP address are counted as one view.