Next Article in Journal
Development of a Modality-Invariant Multi-Layer Perceptron to Predict Operational Events in Motor-Manual Willow Felling Operations
Previous Article in Journal
The Operational Reliability Analysis of Machinery: A Case Study of Forest Forwarders and Their Technological Equipment
 
 
Font Type:
Arial Georgia Verdana
Font Size:
Aa Aa Aa
Line Spacing:
Column Width:
Background:
Article

Parent Material Effect on Soil Organic Carbon Concentration under Primeval European Beech Forests at a Regional Scale

by
Viliam Pichler
1,*,
Erika Gömöryová
1,
Christoph Leuschner
2,
Marián Homolák
1,
Ioan Vasile Abrudan
3,
Magdaléna Pichlerová
4,
Katarína Střelcová
1,
Alfredo Di Filippo
5 and
Roman Sitko
1
1
Faculty of Forestry, Technical University in Zvolen, T. G. Masaryka 24, 960 01 Zvolen, Slovakia
2
Plant Ecology and Ecosystems Research, Albrecht-von-Haller-Institute for Plant Sciences, University of Göttingen, Untere Karspüle 2, 37073 Göttingen, Germany
3
Faculty of Silviculture and Forest Engineering, Transilvania University Brasov, 500036 Brasov, Romania
4
Faculty of Ecology and Environmental Sciences, Technical University in Zvolen, T. G. Masaryka 24, 960 01 Zvolen, Slovakia
5
Department of Agriculture and Forest Sciences, University of Tuscia, Via San Camillo de Lellis, 01100 Viterbo, Italy
*
Author to whom correspondence should be addressed.
Forests 2021, 12(4), 405; https://doi.org/10.3390/f12040405
Submission received: 2 February 2021 / Revised: 22 March 2021 / Accepted: 24 March 2021 / Published: 29 March 2021
(This article belongs to the Section Forest Ecology and Management)

Abstract

The research presented herein explores soil organic carbon concentration (SOCC) under monodominant primeval forests of European beech trees and their association with parent material on a regional scale. Soil sampling to a maximum depth of 0.8 m was conducted in six localities in the West, East, and South Carpathians, Eastern Albanides, and Central Apennines, situated on different parent materials. Samples were analysed for SOCC by the dry combustion method. The average SOCC values representing individual localities ranged from 12.5 g kg−1 to 154.8 g kg−1 with a 99.7% coefficient of variation. SOCC association with climatic variables and forest stand volume data available from the literature were assessed by a Pearson correlation coefficient. Differences in SOCC among localities caused by site conditions were treated as a fixed factor in Welch’s ANOVA and found to be significant (p < 0.05) in the majority of cases. The associations between SOCC and climatic variables or stand volume were nonsignificant or perturbed. Since they validly explained less than 10% of the overall SOCC variance, the results of multiple comparison tests were assessed and interpreted in view of distinct parent materials.

1. Introduction

Soil organic carbon (SOC) plays an important role in the formation and conservation of soil structure, available water-holding capacity, soil nutrient cycling, and soil biodiversity [1,2,3]. Also, carbon sequestration enhances the resilience of soils in response to global change [4]. In recent years, numerous studies have dealt with the dynamics and climate change mitigation potential of soil organic carbon sequestration and its vulnerability [5,6,7,8]. For instance, harvesting may cause soil C stock depletion in the forest floor, upper mineral soil and in subsoil [9,10,11,12,13,14,15]. In this context, SOC concentration (SOCC) and stock are used as indicators in numerous sustainable forest and soil management schemes and framework agreements [16,17,18]. Although SOC concentration and stock are separate SOC characteristics, they are closely linked and SOCC may explain up to 90% of SOC stock variability [19]. However, there is a persistent lack of baseline SOC content values needed to develop and apply forest and soil conservation or management plans, even in forest areas of paramount importance for humanity, such as Natural World Heritage forest sites [20]. Under certain conditions, baseline indicator values can be derived from unmanaged, undisturbed forests for reasons of comparing changes due to disturbance or time [21]. Therefore, our study focused on SOCC in some of the remaining primeval European beech forests (Fagus sylvatica L.) that have not seen intense exploitation or large-scale fire disturbance during several centuries [22]. These forest remnants are scattered throughout East-Central, South-Eastern, and Southern European mountains satisfying the habitat characteristics of European beech [23,24,25,26,27] and their SOC content might be approaching its long-term maxima for this type of forest. While climate and vegetation are important factors affecting SOC [28], there is growing evidence that parent material strongly affects organic carbon (OC) inputs to soils and its subsequent stabilization through various types of bonding with the mineral matrix of soils [19,29,30,31,32]. In particular, silt- and clay-protected C and microaggregate-protected C pools [33] strongly depend on soil clay-size fraction that can contain six main types of minerals: phyllosilicates, i.e., clay minerals (sensu stricto), metallic oxides and hydroxides, primary minerals, e.g., mica, and—in some soils—carbonates or short-range order alumino-silicate minerals, such as allophane [34].
In contrast, the association between SOC content and forest productivity is generally loose [35,36]. The role of individual factors affecting OC content in forest soils also varies among different scales, such as those of soil particle, pedon, plot, landscape, region, and beyond [37]. The research objective of this study was to evaluate the effect of parent material under remnants of European beech primeval forests at the regional scale, including against the backdrop of possible SOCC association with climate and forest productivity data available from the literature. Another related objective was to provide a baseline of target SOCC values and range of variability for nature conservation and close-to-nature forestry in comparable beech ecosystems of the concerned region. Such data are scarce because the majority of available OC inventories in forest soils only include topsoil [38]. Monodominant beech forests were selected as the species stands out in terms of ecological plasticity, expansion, and importance for forest management and nature conservation [22,39,40]. In view of the proposed relative similarity of site conditions in the concerned localities [23,27], our working hypothesis was that the regional scale variability of SOCC in undisturbed European beech forests is mainly determined by different soil parent materials, known to produce mineral fractions featuring distinct SOC-binding and -stabilising capacity.

2. Materials and Methods

Soil sampling was conducted in six strict primeval beech forest preserves in the East-Central, Southeastern and Southern areas of Europe (Figure 1). The concerned area encompassed ca 3.72 105 km2, spanning parts of several neighbouring biogeographical provinces according to Udvardy [41]: Central European Highlands, Middle European Forest, and Balkan Highlands. Five of the localities (Havešová, Uholka, Rajcë, Izvoarele Nerei, Val Cervara) are included on the World Heritage List [22]. Their biomass has neither been removed nor have they been subject to massive forest fires in the known past. The sampled locations were framed by moderate variability of annual heat:moisture index (AHM) and forest stand volume (FSV) representing large parts of the temperate zone of Europe, with a coefficient of variation of CVAHM = 22.53% and CVFSV = 16.63% (Table 1 and Table 2).

2.1. Soil Sampling and Analyses

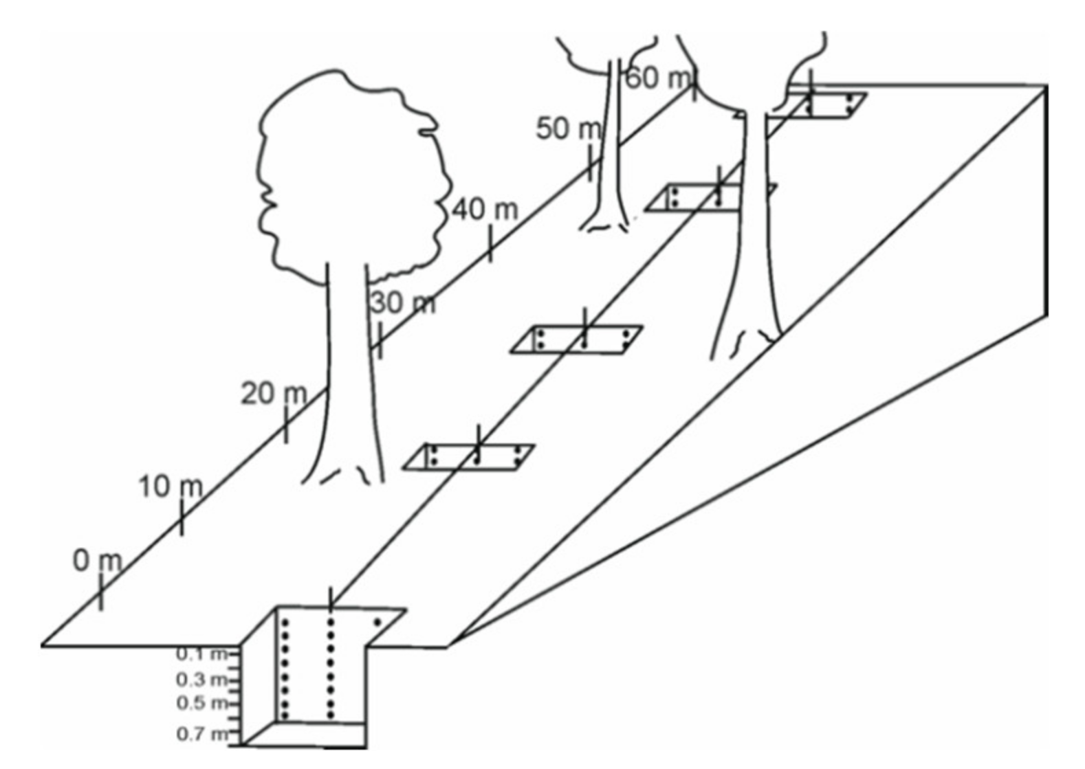
Soil samples were taken from soil profiles aligned along a 60 m long transect placed in segments featuring optimum stage of development, identified according to [54]. There was one 60 m transect in each locality, with five soil profiles excavated to 0.8 m depth or bedrock boundary (Figure 2).
Three 100 g soil samples were taken from the left, central, and right sections in every 0.1 m layer of each profile, i.e., 24 soil samples were collected from each soil of the five soil profiles, 1.0 m × 0.8 m in size. Thus, there were 120 soil samples taken from each locality transect for individual analysis. Soil samples were air-dried, ground, and passed through a 2-mm mesh sieve. Soil pH was determined in water and 1 M KCl suspension of air-dried soil (1:2.5 ratio) using a calibrated electrode after 24 h. The C and N contents in the fine earth (<2 mm) were determined by Vario MACRO Elemental Analyzer (CNS Version, Elementar GmbH, Hanau, Germany), which employs the dry combustion method. Because elemental analyzer provides total carbon contents, inorganic C content was measured separately for each sample by a volumetric device and subtracted from the total carbon in order to obtain SOC mass concentration (g kg−1). C:N ratio was calculated and assessed with regard to the presence of particulate organic matter (>10) as opposed to minerally associated organic matter (<13) [55]. Ammonium oxalate, citrate bicarbonate dithionite, and sodium pyrophosphate solutes were used for the determination of extractable iron oxides. The concentration of Fe oxides was measured by atomic absorption spectrophotometer (Thermo ICE 3000). The concentration of amorphous inorganic Fe (g kg−1) represents the difference between ammonium oxalate- and sodium pyrophosphate extractable Fe, while the concentration of crystalline Fe (g kg−1) represents the difference between citrate bicarbonate dithionite- and ammonium oxalate-extractable Fe. The presence of allophane in Dystric Andosol was determined by the Fieldes and Perrott test [56]. Soil bulk density (SBD) was determined from undisturbed soil samples (200 cm3) collected from the soil profile by metal cylinders. Stoniness was established as the sum of the coarse fraction (>20 mm) volume, derived from its relative area on the soil profile wall [57], determined by image analysis, and the volume of gravel (2−20 mm) measured in the undisturbed soil samples. Root growth limiting soil bulk density was calculated based on soil textural compositions using [58].

2.2. Statistical Analyses

Owing to heteroscedasticity of the SOCC data, revealed by the Levene test (p = 0.002), Welch’s one-way analysis of variance and the Games–Howell post-hoc multiple comparisons test [59,60] were used to assess SOCC differences caused by lithology, climate, and forest site productivity, defined as the potential of a particular forest stand to produce aboveground wood volume [61], that were treated together as a single fixed effect determining SOCC in the respective localities. The proportion of SOCC variability explained by locality was assessed as 1—SSW/SST in analogy to classic one-way ANOVA [62], where SSW and SST are the within-group and total sums of squares, respectively. However, this estimate had to be taken with caution due to the violation of data homoscedasticity. The input for the Welch’s ANOVA consisted of 30 average SOCC values, each representing one whole soil profile, five for each locality. SOCC average for each profile was calculated from values in 0.1 m soil layers, from 0.10 to 0.80 m depth, determined from three soil samples in each individual layer (Figure 2). Data representing certain points from which soil samples could not be obtained due to the presence of boulders or solid bedrock outcrops were imputed by means of the Expectation-Maximization (EM) algorithm [62].
The normality of SOCC distribution was verified by the two-sample Kolmogorov–Smirnov test. Association between SOCC on the one hand and the annual heat:moisture index AHM = (MAT+10)/(MAP/1000), and forest stand volume (FSV) as a proxy value in lieu of forest productivity, on the other hand, were assessed by multivariate stepwise regression and Pearson’s coefficient of correlation. Soil bulk density (SBD) was not regarded as an independent variable in relation to SOCC because the two properties mutually affect each other, e.g., SBD tends to decrease with rising SOM concentration [17,63]. MAT and MAP were compiled from literature sources quoting mean values from local stations or their interpolations (Table 1). Results were considered statistically significant if p < 0.05. Excel software and the Real Statistics Resource Pack software (Release 4.3) were used to run the analyses [62].

3. Results

3.1. Soil Physical and Chemical Properties

The results of soil physical and chemical analyses for all localities are provided in Table 3. The prevailing soil textural class was loam. Val Cervara was the only locality with a strongly skeletal subsoil. The coefficient of variation for SBD was 27.71% and 22.55% in topsoil and subsoil, respectively. The growth of tree roots was likely unrestricted by either stony soil content (except for Val Cervara) or the calculated growth-limiting SBD (1400–1600 kg m−3). Soil reaction was strongly acid or acid in four cases; only the subsoil at Val Cervara and Rajcë had a neutral pH. The amount of crystalline Fe was highest in the Rajcë soil derived from ophiolite substrate. The subsoil in Havešová bore signs of mottling due to episodic waterlogging and capillary fringe formation on a poorly pervious clay-bearing substrate.

3.2. Soil Organic Carbon Variability

Soil organic carbon concentration varied considerably among localities (Figure 3, Table 4), with an average of 59.77 g kg−1, but its distribution did not significantly deviate from normality assumption. The coefficient of variation (CV) among sites (99.72%) was several times higher than that for individual sites (6.77–27.35%), MAT (23.03%), MAP (25.02%), AHM (22.53%), and FSV (16.63%). Also, CV among sites in the subsoil was nominally higher (117.59%) than in the topsoil (74.88%). Separate correlation between SOCC and AHM (R = 0.07, R2 = 0.01, p = 0.72) was negligible, while that between SOCC and FSV (R = −0.53, R2 = 0.29, p = 0.00) was modest and clearly spurious since it implied SOCC decrease with increasing aboveground biomass. Results of separate analyses were paralleled by multivariate stepwise regression, whereby it did not identify explanatory climatic or FSV variables. The C:N ratio > 10 indicated the presence of particulate organic matter (POM) in the majority of localities (except for Havešová and Uholka).

3.3. Differences among Localities

Welch’s ANOVA indicated the presence of significant SOCC differences among localities (F5, 10.51 = 112.67, p < 0.0001), and the proportion of SOCC variability explained by the locality factor was estimated at ca 90%. In the absence of a strong or moderate SOCC relationship with climate, the significant pair-wise differences identified by the Games–Howell test (Table 5) were associated with distinct fine earth fractions (<2 mm), derived from diverse parent material in the respective localities. When ordered according to SOCC in the individual localities as the expression of their SOC-binding and -stabilising capacity, flysch-derived phyllosilicates (Havešová, Uholka) and crystalline Fe oxides from an iron-bearing ophiolitic substrate (Rajcë) ranked lowest, followed by mica-schists-derived sand fraction partaking in the origin of macroaggregates (Izvoarele Nerei), and calcium/carbonates from limestone (Val cervara). The highest SOCC was associated with short-range order alumino-silicate minerals represented by andesite-supplied allophane (Vtáčnik).

4. Discussion

In all but one locality, their average SOCC values were similar or slightly to moderately higher than in other old-growth or managed European beech stands and from colline to mountain sites when compared to the same depth [64,65,66,67,68]. In Havešová, the average SOCC value was exceptionally low, only 12.53 g kg−1, despite high FSV.

4.1. Predictive Ability of Soil Classification

In the presented study, significant SOCC differences from approx. 130 g kg−1 to 25 g kg−1 were determined not only among members of separate soil groups acc. to WRB [53], but also within a group (Cambisols). On the one hand, the positive effects of allophane on SOCC in Vtáčnik and carbonates in Val Cervara were expected as characteristic properties of humus-rich Andosols and Rendzic Leptosols [53,69]. On the other hand, significant differences within the Cambisol group imply that SOCC could not be explained by soil classification alone. Soil units predicted high SOCC only in cases where the presence of specific SOC-binding and -stabilising agents was characteristic of the respective soil unit properties.

4.2. Role of Parent Material

Because multiple comparison tests identified highly significant SOCC differences among investigated localities, it was possible to rank the dominant mineral fractions derived from their parent material. Overall, SOCC showed a positive skew towards relatively lower values but did not significantly deviate from the normal distribution. On the long-tailed part of the observed distribution, SOCC in Vtáčnik was significantly higher than in all remaining localities due to andesite-derived allophane, in line with its exceptional SOC-binding and -stabilising properties [70]. Because C:N > 10 is typical of POM [55], it is very likely that the allophane effect included preferential POM accumulation. POM was also represented in Val Cervara, whose second-highest SOCC was sustained by carbonates and Ca cations from limestone. Although they both provide for substantial OC binding and stabilization through bridging, condensation, or microaggregate formation [71,72], SOCC at Val Cervara was almost 66 g kg−1 lower than in Vtáčnik. This result contradicts the suggested near-equivalence of allophane and calcium/carbonates [73] and supports the superiority of allophane in terms of SOC binding and stabilising capacity. We hypothesize that the proximity (in 102 m) of andesite and limestone bedrock in the latter study might have smoothed out the difference through lateral mixing of slope deposits.
In contrast to Vtáčnik and Val Cervara, a relatively high SOCC was determined even in the absence of strong SOC-binding and -stabilising agents, combined with the lowest proportion of clay fraction (Table 3). Under such circumstances, clay- and microaggregate-protected SOC pools play only a minor role and SOC is largely stored as POM in macroaggregates (>250 µm). Macroaggregates form in conditions featuring abundant sand fraction, litter- or root-derived POM, and the presence of microaggregates [33,74]. The evidence of substantial POM presence was provided by the relatively high C:N ratio, especially in the subsoil. The case of Izvoarele Nerei supports the emerging notion that SOC sequestration is not invariably proportional to fine fraction-associated OC [75] and that some forest soils may store more carbon in the form of POM [76]. In terms of their positive effect on SOCC, macroaggregates did not compare with short-range order alumino-silicate minerals and carbonates since the average value for Izvoarele Nerei was approx. 50 g kg−1 lower than in Val Cervara. Also, POM is more vulnerable to mineralisation due to its lack of association with clay fraction minerals [33]. At the same time, they outperformed phyllosilicates and crystalline Fe oxides in all the remaining Cambisols by ca 20–25 g kg−1.
In particular, the noticeable gap in SOCC between Izvoearele Nerei and Rajcë was striking because Fe oxides, including Fe-bearing crystalline secondary minerals, are supposed to provide an important mechanism for long-term carbon storage, especially compared to the less important role of phyllosilicates [77,78]. Other studies suggested that only weakly crystalline or amorphous Fe oxides were positively correlated with SOCC or that low SOC content observed in ophiolitic soils resulted from their weak evolution and thus a variety of bedrock-inherited compositional features [79,80]. In view of our results, we speculate that one of such compositional features in Rajcë was the high magnesium content and its prevalence over calcium because Mg2+ ions are less effective in aggregating soils than Ca2+ [81,82]. Indeed, even a very high amount of crystalline Fe, similar to that in Ferralsols, did not produce higher SOCC in the Rajcë soil when compared to other members of the Cambisol group.
In contrast, it was practically identical to that in Uholka, in which only phyllosilicates accounted for mineral SOC bonding and stabilisation. The difference between SOCC in Havešová on the one hand and Uholka or Rajcë, on the other hand, was ca 8 g kg−1. Very low SOCC in Havešová indicated that the relatively weakest effect of phyllosilicates as SOC-binding agent was diminished by episodic waterlogging that left signs of mottling on the Havešová profiles. Fluctuating capillary fringes have the potential to deplete SOC content through enhanced C mineralization [83,84]. Also, the low C:N ratio in both Uholka and Havešová (<10) implies that without abundant sand fraction, flysch claystone-derived soil phyllosilicates were unable to accommodate POM.
Thus, results of the presented research conducted on regional scale support indices that the fine mineral fraction is the determining factor of SOC stabilization in a majority of soils [37]. They show that under the same type of vegetation and within the climate envelope of European beech [85], the binding and stabilisation agents derived from their respective parent materials assume different ranks according to SOCC associated with their presence. Given the centuries-long, continuous organic matter supply of the concerned soils and their current SOCC levels, being mostly only slightly higher than in comparable managed or old-growth forests, it is likely that SOCC in the concerned localities represents asymptotic maxima for similar site conditions. Therefore, attention and efforts should primarily focus on the preservation of vulnerable SOC stocks, e.g., those associated with phyllosilicates derived from flysch rock, which are also significantly threatened by erosion.

5. Conclusions

To the best of our knowledge, the presented research was the first to study SOC concentration not only in topsoil but also in the subsoil to the depth of 0.8 m under monodominant primeval forests of European beech at a regional scale. Practically, it captured SOCC values and their variability under rare and largely undisturbed beech forests and established that, in general, they were similar or slightly higher than values reported from managed or old-growth forests in similar conditions. The presented research also produced further and partly new evidence to explain established SOCC differences with regard to the need to discern between the predictive ability of soil units and parent material for SOCC, as well as realistic baseline, target, and range of variability values for forest soil conservation and management of comparable forest ecosystems. Significant SOCC differences produced by the respective SOC-binding and -stabilising agents and mechanisms enabled their ranking according to SOCC. The ranking could be used in assessing SOC vulnerability and preventing potential SOC loss caused by disturbance, mainly in soils from parent materials primarily associated with the weakest capacity for SOC binding and stabilising under similar conditions. The protection of SOC in soils featuring low SOCC and weak stabilisation is particularly critical for maintaining soil functions and forest ecosystem resilience.

Author Contributions

Conceptualization, V.P., E.G. and C.L.; methodology, V.P., E.G., C.L., M.H. and K.S.; formal analysis, V.P. and M.H.; investigation, M.H., M.P., E.G., K.S.; resources, V.P., I.V.A. and A.D.F.; data curation, V.P. and M.H.; writing—original draft preparation, V.P.; writing—review and editing, E.G., C.L., I.V.A., A.D.F. and M.P.; visualization, V.P. and R.S.; project administration, V.P.; funding acquisition, V.P. and E.G. All authors have read and agreed to the published version of the manuscript.

Funding

This research was funded by Scientific Grant Agency of the Ministry of Education, Science, Research and Sport of the Slovak Republic (VEGA), grant number 1/0836/18 (70%) and APVV-19-0142 (30%).

Data Availability Statement

The data presented in this study are available on request from the corresponding author.

Acknowledgments

The logistical support and help from Ramiz Metalija and Juraj Bebej are gratefully acknowledged.

Conflicts of Interest

The authors declare no conflict of interest. The funders had no role in the design of the study, in the collection, analyses, or interpretation of data, in the writing of the manuscript, or in the decision to publish the results.

References

  1. Sposito, G. The Chemistry of Soils, 3rd ed.; Oxford University Press: New York, NY, USA, 2016; p. 272. [Google Scholar]
  2. James, J.; Harrison, R. The Effect of Harvest on Forest Soil Carbon: A Meta-Analysis. Forests 2016, 7, 308. [Google Scholar] [CrossRef]
  3. Blaschek, M.; Roudier, P.; Poggio, M.; Hedley, C.B. Prediction of soil available water-holding capacity from visible near-infrared reflectance spectra. Sci. Rep. 2019, 9, 12833. [Google Scholar] [CrossRef] [PubMed]
  4. Lal, R.; Delgado, J.A.; Groffman, P.M.; Millar, N.; Dell, C.; Rotz, A. Management to mitigate and adapt to climate change. J. Soil Water Conserv. 2011, 66, 276–285. [Google Scholar] [CrossRef]
  5. Lal, R. Beyond COP 21: Potential and challenges of the “4 per Thousand” initiative. J. Soil Water Conserv. 2016, 71, 20A–25A. [Google Scholar] [CrossRef]
  6. Minasny, B.; Malone, B.P.; McBratney, A.B.; Angers, D.A.; Arrouays, D.; Chambers, A.; Chaplot, V.; Chen, Z.-S.; Cheng, K.; Das, B.S.; et al. Soil carbon 4 per mille. Geoderma 2017, 292, 59–86. [Google Scholar] [CrossRef]
  7. Nunes, L.J.; Meireles, C.I.; Pinto Gomes, C.J.; Almeida Ribeiro, N.M. Forest Contribution to Climate Change Mitigation: Management Oriented to Carbon Capture and Storage. Climate 2020, 8, 21. [Google Scholar] [CrossRef]
  8. Bossio, D.A.; Cook-Patton, S.C.; Ellis, P.W.; Fargione, J.; Sanderman, J.; Smith, P.; Wood, S.; Zomer, R.J.; von Unger, M.; Emmer, I.M.; et al. The role of soil carbon in natural climate solutions. Nat. Sustain. 2020, 3, 391–398. [Google Scholar] [CrossRef]
  9. Mayer, M.; Prescott, C.E.; Abaker, W.E.; Augusto, L.; Cécillon, L.; Ferreira, G.W.; James, J.; Jandl, R.; Katzensteiner, K.; Laclau, J.-P.; et al. Influence of forest management activities on soil organic carbon stocks: A knowledge synthesis. For. Ecol. Manag. 2020, 466, 118127. [Google Scholar] [CrossRef]
  10. Warren, K.L.; Ashton, M.S. Change in soil and forest floor carbon after shelterwood harvests in a New England oak-hardwood forest, USA. Int. J. For. Res. 2014, 2014, 27236. [Google Scholar] [CrossRef]
  11. Haas, J.; Schack-Kirchner, H.; Lang, F. Modeling soil erosion after mechanized logging operations on steep terrain in the Northern Black Forest, Germany. Eur. J. For. Res. 2020, 139, 549–565. [Google Scholar] [CrossRef]
  12. Gross, C.D.; Harrison, R.B. The Case for Digging Deeper: Soil Organic Carbon Storage, Dynamics, and Controls in Our Changing World. Soil Syst. 2019, 3, 28. [Google Scholar] [CrossRef]
  13. Li, J.; Pei, J.; Pendall, E.; Reich, P.B.; Noh, N.J.; Li, B.; Fang, C.; Nie, M. Rising temperature may trigger deep soil carbon loss across forest ecosystems. Adv. Sci. 2020, 7, 2001242. [Google Scholar] [CrossRef]
  14. Fontaine, S.; Barot, S.; Barré, P.; Bdioui, N.; Mary, B.; Rumpel, C. Stability of organic carbon in deep soil layers controlled by fresh carbon supply. Nature 2007, 450, 277–280. [Google Scholar] [CrossRef]
  15. Achat, D.L.; Fortin, M.; Landmann, G.; Ringeval, B.; Augusto, L. Forest soil carbon is threatened by intensive biomass harvesting. Sci. Rep. 2015, 5, 15991. [Google Scholar] [CrossRef]
  16. Moffat, A.J. Indicators of soil quality for UK forestry. Forestry 2003, 76, 547–568. [Google Scholar] [CrossRef][Green Version]
  17. Perie, C.; Ouimet, R. Organic carbon, organic matter and bulk density relationships in boreal forest soils. Can. J. Soil Sci. 2008, 88, 315–325. [Google Scholar] [CrossRef]
  18. Montréal Process. Criteria and Indicators for the Conservation and Sustainable Management of Temperate and Boreal Forests. 2015. Available online: https://montrealprocess.org/documents/publications/techreports/MontrealProcessSeptember2015.pdf (accessed on 3 September 2020).
  19. Schleuss, P.M.; Heitkamp, F.; Leuschner, C.; Fender, A.C.; Jungkunst, H.F. Higher subsoil carbon storage in species-rich than species-poor temperate forests. Environ. Res. Lett. 2014, 9, 014007. [Google Scholar] [CrossRef]
  20. Pandey, D. Carbon Stocks of World Heritage Forest Sites; UNESCO, World Heritage Centre: Paris, France, 2012; p. 9. [Google Scholar]
  21. Bauhus, J.; Khanna, P.K.; Hopmans, P.; Weston, C. Is soil carbon a useful indicator of sustainable forest soil management? A case study from native eucalypt forests of south-eastern Australia. For. Ecol. Manag. 2002, 171, 59–74. [Google Scholar] [CrossRef]
  22. UNESCO. Ancient and Primeval Beech Forests of the Carpathians and Other Regions of Europe. Available online: https://whc.unesco.org/en/list/1133/ (accessed on 12 September 2020).
  23. Tabaku, V.; Meyer, P. Lückenmuster albanischer und mitteleuropäischer Buchenwälder unterschiedlicher Nutzungsintensität. Forstarchiv 1999, 70, 87–97. [Google Scholar]
  24. Meyer, P.; Tabaku, V.; Burghard, V.L. Die Struktur albanischer Rotbuchen-Urwälder—Ableitungen für eine naturnahe Buchenwirtschaft. Forstwiss. Centralbl. 2003, 122, 47–58. [Google Scholar] [CrossRef]
  25. Markgraf, F. Aus den südosteuropäischen Urwäldern. I. Die Wälder Albaniens. Z. For. Jagdwes 1931, 63, 1–19. [Google Scholar]
  26. Jovanović, I.; Dragišić, A.; Ostojić, D.; Krsteski, B. Beech forests as world heritage in aspect to the next extension of the ancient and primeval beech forests of the Carpathians and other regions of Europe world heritage site. Zaštita Prirode 2019, 69, 15–32. [Google Scholar] [CrossRef]
  27. Walter, H. Vegetation of the Earth in Relation to Climate and the Eco-Physiological Conditions; Springer: New York, NY, USA, 1973; p. 237. [Google Scholar]
  28. Jobbágy, E.G.; Jackson, R.B. The vertical distribution of soil organic carbon and its relation to climate and vegetation. Ecol. Appl. 2000, 10, 423–436. [Google Scholar] [CrossRef]
  29. Newcomb, C.J.; Qafoku, N.P.; Grate, J.W.; Bailey, V.L.; De Yoreo, J.J. Developing a molecular picture of soil organic matter-mineral interactions by quantifying organo-mineral binding. Nat. Commun. 2017, 8, 396. [Google Scholar]
  30. Yang, S.; Jansen, B.; Kalbitz, K.; Chunga Castro, F.O.; van Hall, R.L.; Cammeraat, E.L.H. Lithology controlled soil organic carbon stabilization in an alpine grassland of the Peruvian Andes. Environ. Earth Sci. 2020, 79, 66. [Google Scholar] [CrossRef]
  31. Zinn, Y.L.; Lal, R.; Bigham, J.M.; Resck, D.V.S. Edaphic Controls on Soil Organic Carbon Retention in the Brazilian Cerrado: Texture and Mineralogy. Soil Sci. Soc. Am. J. 2007, 71, 1204–1214. [Google Scholar] [CrossRef]
  32. Angst, G.; Messinger, J.; Greiner, M.; Häusler, W.; Hertel, D.; Kirfel, K.; Kögel-Knabner, I.; Leuschner, C.; Rethemeyer, J.; Mueller, C.W. Soil organic carbon stocks in topsoil and subsoil controlled by parent material, carbon input in the rhizosphere, and microbial-derived compounds. Soil Biol. Biochem. 2018, 122, 19–30. [Google Scholar] [CrossRef]
  33. Six, J.; Conant, R.T.; Paul, E.A.; Paustian, K. Stabilization mechanisms of soil organic matter: Implications for C-saturation of soils. Plant Soil 2002, 241, 155–176. [Google Scholar] [CrossRef]
  34. Barré, P.; Fernandez-Ugalde, O.; Virto, I.; Velde, B.; Chenu, C. Impact of phyllosilicate mineralogy on organic carbon stabilization in soils: Incomplete knowledge and exciting prospects. Geoderma 2014, 235–236, 382–395. [Google Scholar] [CrossRef]
  35. Sanchez, F.G. 1998: Soil organic matter and soil productivity: Searching for the missing link. In The Productivity and Sustainability of Southern Ecosystems in a Changing Environment; Mickler, R.A., Fox, S., Eds.; Springer: New York, NY, USA, 1998; pp. 543–556. [Google Scholar]
  36. Grigal, D.F.; Vance, E.D. Influence of soil organic matter on forest productivity. N. Z. J. For. Sci. 2000, 30, 169–205. [Google Scholar]
  37. Wiesmeier, M.; Urbanski, L.; Hobley, E.; Lang, B.; von Lützow, M.; Marin-Spiotta, E.; van Wesemael, B.; Rabot, E.; Ließ, M.; Garcia-Franco, N.; et al. Soil Organic Carbon Storage as a Key Function of Soils—A Review of Drivers and Indicators at Various Scales. Geoderma 2019, 333, 149–162. [Google Scholar] [CrossRef]
  38. Baritz, R.; Seufert, G.; Montanarella, L.; Van Ranst, E. Carbon concentrations and stocks in forest soils of Europe. For. Ecol. Manag. 2010, 260, 262–277. [Google Scholar] [CrossRef]
  39. Leuschner, C.; Meier, I.C.; Hertel, D. On the niche breadth of Fagus sylvatica: Soil nutrient status in 50 Central European beech stands on a broad range of bedrock types. Ann. For. Sci. 2006, 63, 355–368. [Google Scholar] [CrossRef]
  40. Bolte, A.; Czajkowski, T.; Kompa, T. The north-eastern distribution range of European beech—A review. Forestry 2007, 80, 413–429. [Google Scholar] [CrossRef]
  41. Udvardy, M.D.F. A Classification of the Biogeographical Provinces of the World; International Union for Conservation of Nature and Natural Resources: Morges, Switzerland, 1975; Volume 8. [Google Scholar]
  42. Faško, P.; Šťastný, P. Average Annual Precipitation. In Landscape Atlas of the Slovak Republic, 1st ed.; Miklós, L., Hrnčiarová, T., Eds.; Slovak Environmental Agency: Bratislava, Slovakia, 2002; p. 99. [Google Scholar]
  43. Hamor, F.; Brändli, U.B. The Uholka-Shrokyi Luh Protected Massif—An overview. In Inventory of the Largest Primeval Beech Forest in Europe—A Swiss-Ukrainian Scientific Adventure; Commarmot, B., Brändli, U.-B., Hamor, F., Lavnyy, V., Eds.; Swiss Federal Research Institute WSL: Birmensdorf, Switzerland; Ukrainian National Forestry University: Ľviv, Ukraine; Carpathian Biosphere Reserve: Rakhiv, Ukraine, 2013; pp. 13–17. [Google Scholar]
  44. Standovár, T.; Kenderes, K. A review of natural stad dynamics in beechwoods of East Central Europe. Appl. Ecol. Environ. Res. 2003, 1, 19–46. [Google Scholar] [CrossRef]
  45. Tognetti, R.; Lombardi, F.; Lasserre, B.; Cherubini, P.; Marchetti, M. Tree-ring stable isotopes reveal twentieth-century increases in water-use efficiency of Fagus sylvatica and Nothofagus spp. in Italian and Chilean mountains. PLoS ONE 2014, 9, e113136. [Google Scholar] [CrossRef]
  46. Biely, A.; Bezák, V.; Elečko, M.; Gross, P.; Kaličiak, M.; Konečný, V.; Lexa, J.; Mello, J.; Nemčok, J.; Polák, M.; et al. 1. Geological structure. In Landscape Atlas of the Slovak Republic, 1st ed.; Miklós, L., Hrnčiarová, T., Eds.; Slovak Environmental Agency: Bratislava, Slovakia, 2002; pp. 74–75. [Google Scholar]
  47. Drößler, L.; von Lüpke, B. Canopy gaps in two virgin beech forest reserves in Slovakia. J. For. Sci. 2005, 51, 446–457. [Google Scholar] [CrossRef]
  48. Giurgiu, V.; Doniţă, N.; Bândiu, C.; Radu, S.; Cenuşă, R.; Dissescu, R.; Stoiculescu, C.; Biriş, I.A. Les Forêts Vierges de Roumanie; ASBL Forêt Wallone: Louvainla-Neuve, Belgium, 2001; p. 206. [Google Scholar]
  49. Piovesan, G.; Di Filippo, A.; Alessandrini, A.; Biondi, F.; Schirone, B. Structure, dynamics and dendroecology of an old-growth Fagus forest in the Apennines. J. Veg. Sci. 2005, 16, 13–28. [Google Scholar] [CrossRef]
  50. Commarmot, B. Structures of virgin and managed beech forests in Uholka (Ukraine) and Sihlwald (Switzerland): A comparative study. For. Snow Landsc. Res. 2005, 79, 45–56. [Google Scholar]
  51. Saniga, M.; Jaloviar, P.; Kucbel, S.; Vencurik, J. The changes of structure, necromass and the regeneration processes in NNR Havešová. Acta Fac. For. Zvolen 2011, 53, 49–59. [Google Scholar]
  52. Pittner, J.; Saniga, M. The structure, coarse woody debris volume, and regeneration processes of a beech natural forest in the National Nature Reserve Vtáčnik. Acta Fac. For. Zvolen 2006, 48, 95–109. [Google Scholar]
  53. IUSS Working Group WRB. World Reference Base or Soil Resources 2014, Update 2015 International Soil Classification System for Naming Soils and Creating Legends for Soil Maps; World Soil Resources Reports No. 106; FAO: Rome, Italy, 2005. [Google Scholar]
  54. Korpel, S. Die Urwälder der Westkarpaten; Gustav Fischer: Stuttgart, Germany, 1995; p. 310. [Google Scholar]
  55. Lavallee, J.M.; Soong, J.L.; Cotrufo, M.F. Conceptualizing soil organic matter into particulate and mineral-associated forms to address global change in the 21st century. Glob. Chang. Biol. 2019, 261–273. [Google Scholar] [CrossRef] [PubMed]
  56. Fieldes, M.; Perrott, K.W. The nature of allophane in soils. Part 3. Rapid field and laboratory test for allophane. N. Z. J. Sci. 1966, 9, 623–629. [Google Scholar]
  57. Alexander, E.B. Volume estimates of coarse fragments in soils: A combination of visual and weighing procedures. J. Soil Water Conserv. 1982, 37, 62–63. [Google Scholar]
  58. Daddow, R.L.; Warrington, G.E. Growth-Limiting Soil Bulk Densities as Influenced by Soil Texture; In WSDG Technical Report; USDA Forest Service: Fort Collins, CO, USA, 1983; p. 17. [Google Scholar]
  59. Day, R.W.; Quinn, G.P. Comparisons of treatments after an analysis of variance in ecology. Ecol. Monogr. 1989, 59, 433–463. [Google Scholar] [CrossRef]
  60. McDonald, J.H. Handbook of Biological Statistics, 3rd ed.; Sparky House Publishing: Baltimore, MD, USA, 2014; Available online: http://www.biostathandbook.com/ (accessed on 12 September 2020).
  61. Skovsgaard, J.P.; Vanclay, J.K. Forest site productivity: A review of the evolution of dendrometric concepts for even-aged stands. Forestry 2008, 81, 13–31. [Google Scholar] [CrossRef]
  62. Zaiontz, C. Real Statistics Using Excel. 2020. Available online: http://www.real-statistics.com/ (accessed on 12 December 2020).
  63. Curtis, R.O.; Post, B.W. Estimating bulk density from organic matter content in some Vermont forest soils. Soil Sci. Soc. Am. Proc. 1964, 28, 285–286. [Google Scholar] [CrossRef]
  64. Grüneberg, E.; Schöning, I.; Kalko, E.K.V.; Weisser, W.W. Regional organic carbon stock variability: A comparison between depth increments and soil horizons. Geoderma 2010, 155, 426–433. [Google Scholar] [CrossRef]
  65. Sabatini, F.M.; Zanini, M.; Dowgiallo, G.; Burrascano, S. Multiscale heterogeneity of topsoil properties in southern European old-growth forests. Eur. J. For. Res. 2015, 134, 911–925. [Google Scholar] [CrossRef]
  66. Merino, A.; Real, C.; Rodriguez-Guitian, M.A. Nutrient status of managed and natural forest fragments of Fagus sylvatica in southern Europe. For. Ecol. Manag. 2008, 255, 3691–3699. [Google Scholar] [CrossRef]
  67. Cremer, M.; Kern, N.V.; Prietzel, J. Soil organic carbon and nitrogen stocks under pure and mixed stands of European beech, Douglas fir and Norway spruce. For. Ecol. Manag. 2016, 367, 30–40. [Google Scholar] [CrossRef]
  68. Schrumpf, M.; Schulze, E.D.; Kaiser, K.; Schumacher, J. How accurately can soil organic carbon stocks and stock changes be quantified by soil inventories? Biogeosci. Discuss. 2011, 8, 723–769. [Google Scholar]
  69. Chesworth, W. Encyclopedia of Soil Science; Encyclopedia of Earth Sciences Series; Springer: Dordrecht, The Netherlands, 2008; p. 902. [Google Scholar]
  70. Dahlgren, R.A.; Saigusa, M.; Ugolini, F.C. The nature, properties and management of volcanic soils. Adv. Agron. 2004, 82, 113–182. [Google Scholar]
  71. Oades, J.M. The retention of organic matter in soils. Biogeochemistry 1988, 5, 35–70. [Google Scholar] [CrossRef]
  72. Rowley, M.C.; Grand, S.; Verrecchia, E.P. Calcium-mediated stabilisation of soil organic carbon. Biogeochemistry 2018, 137, 27–49. [Google Scholar] [CrossRef]
  73. Homolák, M.; Kriaková, E.; Pichler, V.; Gömöryová, E.; Bebej, J. Isolating the soil type effect on the organic carbon content in a Rendzic Leptosol and an andosol on alimestone plateau with andesite protrusions. Geoderma 2017, 302, 1–5. [Google Scholar] [CrossRef]
  74. Sandén, T.; Lair, G.J.; van Leeuwen, J.P.; Gísladóttir, G.; Bloem, J.; Ragnarsdóttir, K.V.; Steffens, M.; Blum, W.E. Soil aggregation and soil organic matter in conventionally and organically farmed Austrian Chernozems. Die Bodenkult. J. Land Manag. Food Environ. 2017, 68, 41–55. [Google Scholar] [CrossRef]
  75. Yang, X.M.; Drury, C.F.; Reynolds, W.D.; Yang, J.Y. How do changes in bulk soil organic carbon content affect carbon concentrations in individual soil particle fractions? Sci. Rep. 2016, 6, 27173. [Google Scholar] [CrossRef]
  76. Cotrufo, M.F.; Ranalli, M.G.; Haddix, M.L.; Six, J.; Lugato, E. Soil carbon storage informed by particulate and mineral-associated organic matter. Nat. Geosci. 2019, 12, 989–994. [Google Scholar] [CrossRef]
  77. Kramer, M.G.; Chadwick, O.A. Climate-driven thresholds in reactive mineral retention of soil carbon at the global scale. Nat. Clim. Chang. 2018, 8, 1104–1108. [Google Scholar] [CrossRef]
  78. Eusterhues, K.; Rumpel, C.; Kogel-Knabner, I. Organo-mineral associations in sandy acid forest soils: Importance of specific surface area, iron oxides and micropores. Eur. J. Soil Sci. 2005, 56, 753–763. [Google Scholar] [CrossRef]
  79. Moni, C.; Chabbi, A.; Nunan, N.; Rumpel, C.; Chenu, C. Spatial dependance of organic carbon–metal relationship Fe-bearing crystalline secondary minerals: A multi-scale statistical analysis, from horizon to field. Geoderma 2010, 158, 120–127. [Google Scholar] [CrossRef]
  80. Vaselli, O.; Buccianti, A.; De Siena, C.; Bini, C.; Coradossi, N.; Angelone, M. Geochemical characterization of ophiolitic soils in a temperate climate: A multi-variate statistical approach. Geoderma 1997, 75, 117–133. [Google Scholar] [CrossRef]
  81. Dontsova, K.; Norton, L.D. Effects of exchangeable Ca: Mg ratio on soil clay flocculation, infiltration and erosion. In Sustaining the Global Farm; Stott, D.E., Mohtar, R.H., Steinhardt, G.C., Eds.; USDA-ARS National Soil Erosion Research Laboratory: West Lafayette, IN, USA, 2001; pp. 580–585. [Google Scholar]
  82. Bani, A.; Echevarria, G.; Montarges-Pelletier, E.; Gjoka, F.; Sulce, S.; Morel, J.L. Pedogenesis and nickel biogeochemistry in a typical Albanian ultramafic toposequence. Environ. Monit. Assess. 2014, 186, 4431–4442. [Google Scholar] [CrossRef] [PubMed]
  83. Holden, P.A.; Fierer, N. Microbial Processes in the Vadose Zone. Vadose Zone J. 2005, 4, 1–21. [Google Scholar] [CrossRef]
  84. Xiang, S.-R.; Doyle, A.; Holden, P.A.; Schimel, J.P. Drying and rewetting effects on C and N mineralization and microbial activity in surface and subsurface California grassland soils. Soil Biol. Biochem. 2008, 40, 2281–2289. [Google Scholar] [CrossRef]
  85. Houston Durrant, T.; de Rigo, D.; Caudullo, G. Fagus sylvatica and Other Beeches in Europe: Distribution, Habitat, Usage and Threats. In European Atlas of Forest Tree Species; San-Miguel-Ayanz, J., de Rigo, D., Caudullo, G., Houston Durrant, T., Mauri, A., Eds.; The Publication Office of the European Union: Luxembourg, 2016; pp. 94–96. [Google Scholar]
Figure 1. Position of primeval beech forests (marked by black concentric circles) in East-Central, South-Eastern, and Southern Europe.
Figure 1. Position of primeval beech forests (marked by black concentric circles) in East-Central, South-Eastern, and Southern Europe.
Forests 12 00405 g001
Figure 2. Soil sampling scheme along a 60-m long transect.
Figure 2. Soil sampling scheme along a 60-m long transect.
Forests 12 00405 g002
Figure 3. Average and median soil organic carbon concentration (SOCC) in both topsoil (TS: 0.00–0.20 m) and subsoil (SS: 0.20–0.80 m) for each locality. The vertical axis is in a logarithmic scale.
Figure 3. Average and median soil organic carbon concentration (SOCC) in both topsoil (TS: 0.00–0.20 m) and subsoil (SS: 0.20–0.80 m) for each locality. The vertical axis is in a logarithmic scale.
Forests 12 00405 g003
Table 1. Geographical location and climatic characteristics of the research localities. Climate characteristics were collected from [23,24,42,43,44,45]. They were adjusted based on the gradient of +50 mm in precipitation, and −0.5 °C per 100 m gain in altitude in cases where only data from a nearby meteorological station were available. Abbreviations: MAT—mean annual temperature, MAP—mean annual precipitation, AHM—annual heat:moisture index.
Table 1. Geographical location and climatic characteristics of the research localities. Climate characteristics were collected from [23,24,42,43,44,45]. They were adjusted based on the gradient of +50 mm in precipitation, and −0.5 °C per 100 m gain in altitude in cases where only data from a nearby meteorological station were available. Abbreviations: MAT—mean annual temperature, MAP—mean annual precipitation, AHM—annual heat:moisture index.
LocalityCountryOrographic UnitGeographical CoordinatesElevation (m a.s.l.)AspectSlope (°)MAT (°C)MAP (mm)AHM
VtáčnikSlovakiaWest 48°37’351’ N, 18°38’700’ E1150S194105013.3
Carpathians
HavešováSlovakiaEast49°00’645’ N, 22°19’538’ E650SE20690017.8
Carpathians
UholkaUkraineEast48°16’080’ N, 23°37’341’ E800SE225.5130011.9
Carpathians
Izvoarele NereiRomaniaSouth45°07.364’ N, 22°04.596’ E1250SW214115012.2
Carpathians
RajcëAlbaniaNorthern41°09.971’ N, 20°31.847’ E1350E20618008.9
Albanides
Val CervaraItalyCentral41° 49.641’N,
13° 43.933’ E
1800NNW237.2121114.2
Apennines
Table 2. Geological, soil, and vegetation characteristics of the research localities. Data were collected from [46,47,48,49,50,51,52]. Soils are presented according to [53].
Table 2. Geological, soil, and vegetation characteristics of the research localities. Data were collected from [46,47,48,49,50,51,52]. Soils are presented according to [53].
LocalityParent MaterialSoilHumus FormPlant CommunityForest Stand
Volume (m3 ha−1)
VtáčnikAndesiteCambicModerDentario bulbiferae-Fagetum645
Andosol
HavešováSandstones, claystone (flysch)DystricModerDentario glandulosae-Fagetum701
Cambisol
UholkaSandstones, marlstones (flysch)DystricModerFagetum dentariosum Fagetum asperulosum770
Cambisol
IzvoareleCrystalline schists (mica-schists)DystricModerHieracio rotundati-Fagetum620
NereiCambisol
RajcëSerpentinite, gabbro, dolomiteEutricModerFagetum asperuletosum807
Cambisol
Val CervaraLimestonesRendzicModerPolysticho-Fagetum497
Leptosol
Table 3. Soil physical and chemical properties. Abbreviations: BD—bulk density, SF—stony fraction, Alp—allophane, Mot—mottling, P—presence, A—absence, Sn—sand, Sl—silt, Cl—clay, Cr—crystalline Fe oxides, Am—amorphous Fe oxides.
Table 3. Soil physical and chemical properties. Abbreviations: BD—bulk density, SF—stony fraction, Alp—allophane, Mot—mottling, P—presence, A—absence, Sn—sand, Sl—silt, Cl—clay, Cr—crystalline Fe oxides, Am—amorphous Fe oxides.
LocalityDepth (m)BD (kg m−3)SF (m m−3)Texture (%)pHFe (g kg−1)CaCO3AlpMot
SnSlClH2OKClCrAm
Vtáčnik0.18700.1121.650.927.55.054.558.820.24APA
0.510100.2529.151.319.65.254.8510.330.02APA
Havešová0.19700.1310.171.618.34.773.349.970.88AAA
0.511400.2415.462.921.753.43130.58AAP
Uholka0.18300.25.859.434.84.683.4515.571.65AAA
0.513000.269.458.532.14.753.615.922.56AAA
IzvoareleNerei0.15800.0749.632.917.54.053.519.790.57AAA
0.58900.365427.818.34.594.1510.840.45AAA
Rajcë0.110000.113.662.324.15.564.4895.640.52AAA
0.512100.145.440.953.76.295.19161.113.76AAA
Val Cervara0.15930.124.168.327.65.844.7819.660.56PAA
0.55220.664.866.528.76.966.2120.031.52PAA
Table 4. Average soil organic carbon concentration (SOCC) for each locality and plot, calculated from 24 values in each soil profile. The coefficient of variation (CV) was calculated from plot averages in each locality. Abbreviations: Avg.—average.
Table 4. Average soil organic carbon concentration (SOCC) for each locality and plot, calculated from 24 values in each soil profile. The coefficient of variation (CV) was calculated from plot averages in each locality. Abbreviations: Avg.—average.
LocalitySOCC (g kg−1)CV (%)C:N Ratio
Profile NoAvg.TSSS
12345
Vtáčnik112.18154.99171.96179.26155.41154.7616.8214.816.6
Havešová14.3410.4312.9411.2113.7412.5313.278.55
Uholka22.0825.7520.510.9820.5119.9627.359.36.4
Izvoarele Nerei47.4643.0134.0929.939.7638.8517.9814.114.4
Rajcë21.1720.1118.7621.3722.4820.786.7716.810.7
Val Cervara78.889689.0294.9883.5288.488.313.713.1
Table 5. Games–Howell post-hoc multiple comparison test of soil organic carbon concentration (SOCC) differences between localities, characterized by main SOC-binding agents and mechanisms: ALP—allophane, PHS—phyllosilicates, MS—micaceous sand, FOX—iron oxides, CAC—Ca2+ and carbonates. PHS+ represents the higher proportion of phyllosilicates in Uholka compared to Havešová (PHS).
Table 5. Games–Howell post-hoc multiple comparison test of soil organic carbon concentration (SOCC) differences between localities, characterized by main SOC-binding agents and mechanisms: ALP—allophane, PHS—phyllosilicates, MS—micaceous sand, FOX—iron oxides, CAC—Ca2+ and carbonates. PHS+ represents the higher proportion of phyllosilicates in Uholka compared to Havešová (PHS).
Locality and Main Local SOC-Binding AgentMean Difference in SOCC (A–B) (g kg−1)Std. Error95% Confidence Interval for MDp-Value
ABLower BoundUpper Bound
Vtáčnik (ALP)Havešová (PHS)142.238.2587.14197.310.001
Vtáčnik (ALP)Uholka (PHS+)134.88.4180.69188.910.001
Vtáčnik (ALP)Izvoarele Nerei (MS)115.918.5262.36169.470.002
Vtáčnik (ALP)Rajcë (FOX)133.988.2478.87189.10.002
Vtáčnik (ALP)Val Cervara (CAC)66.288.5512.86119.70.022
Havešová (PHS)Uholka (PHS+)7.431.81−3.7318.590.189
Havešová (PHS)Izvoarele Nerei (MS)26.312.2711.8740.760.005
Havešová (PHS)Rajcë (FOX)8.240.694.6611.830
Havešová (PHS)Val Cervara (CAC)75.952.3860.7291.180
Uholka (PHS+)Izvoarele Nerei (MS)18.882.84.1833.590.014
Uholka (PHS+)Rajcë (FOX)0.811.78−10.4512.080.999
Uholka (PHS+)Val Cervara (CAC)68.522.953.2383.80
Izvoarele Nerei (MS)Rajcë (FOX)18.072.253.5332.60.023
Izvoarele Nerei (MS)Val Cervara (CAC)49.633.2133.0666.210
Rajcë (FOX)Val Cervara (CAC)67.72.3752.3883.020
Publisher’s Note: MDPI stays neutral with regard to jurisdictional claims in published maps and institutional affiliations.

Share and Cite

MDPI and ACS Style

Pichler, V.; Gömöryová, E.; Leuschner, C.; Homolák, M.; Abrudan, I.V.; Pichlerová, M.; Střelcová, K.; Di Filippo, A.; Sitko, R. Parent Material Effect on Soil Organic Carbon Concentration under Primeval European Beech Forests at a Regional Scale. Forests 2021, 12, 405. https://doi.org/10.3390/f12040405

AMA Style

Pichler V, Gömöryová E, Leuschner C, Homolák M, Abrudan IV, Pichlerová M, Střelcová K, Di Filippo A, Sitko R. Parent Material Effect on Soil Organic Carbon Concentration under Primeval European Beech Forests at a Regional Scale. Forests. 2021; 12(4):405. https://doi.org/10.3390/f12040405

Chicago/Turabian Style

Pichler, Viliam, Erika Gömöryová, Christoph Leuschner, Marián Homolák, Ioan Vasile Abrudan, Magdaléna Pichlerová, Katarína Střelcová, Alfredo Di Filippo, and Roman Sitko. 2021. "Parent Material Effect on Soil Organic Carbon Concentration under Primeval European Beech Forests at a Regional Scale" Forests 12, no. 4: 405. https://doi.org/10.3390/f12040405

APA Style

Pichler, V., Gömöryová, E., Leuschner, C., Homolák, M., Abrudan, I. V., Pichlerová, M., Střelcová, K., Di Filippo, A., & Sitko, R. (2021). Parent Material Effect on Soil Organic Carbon Concentration under Primeval European Beech Forests at a Regional Scale. Forests, 12(4), 405. https://doi.org/10.3390/f12040405

Note that from the first issue of 2016, this journal uses article numbers instead of page numbers. See further details here.

Article Metrics

Back to TopTop