A BeiDou Signal Acquisition Approach Using Variable Length Data Accumulation Based on Signal Delay and Multiplication
Abstract
1. Introduction
- The noise performance of the signal after DAM operation is analysed. The delay in DAM operation is optimized to minimize the noise power, maximize signal power, and optimize the correlation performance of ranging codes.
- The VLDA method is proposed to improve the signal strength after DAM operation.
- The simulation results show that the proposed VLDA method has better acquisition sensitivity than traditional NCH method under the same calculation amount. The VLDA method requires only about 27.5% of calculations to achieve the same acquisition sensitivity (35 dB-Hz).
2. Principles and Methods
2.1. The Principle of DAM Method
2.1.1. Correlation Performance of the New Ranging Code
2.1.2. Noise Performance
2.1.3. The Optimal Delay τ
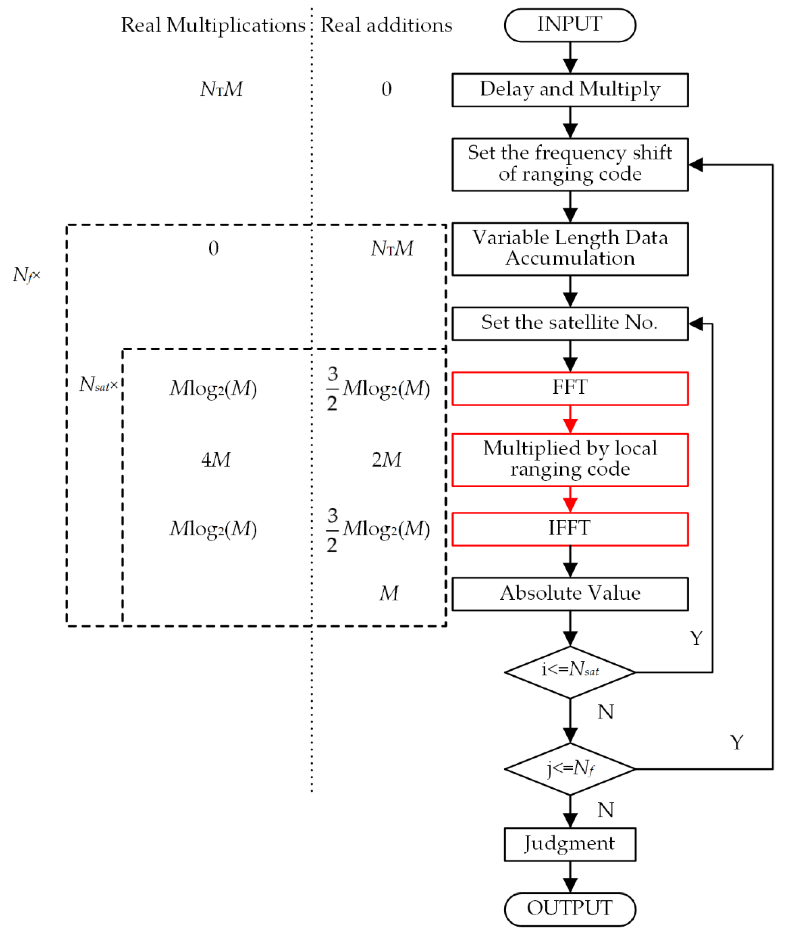
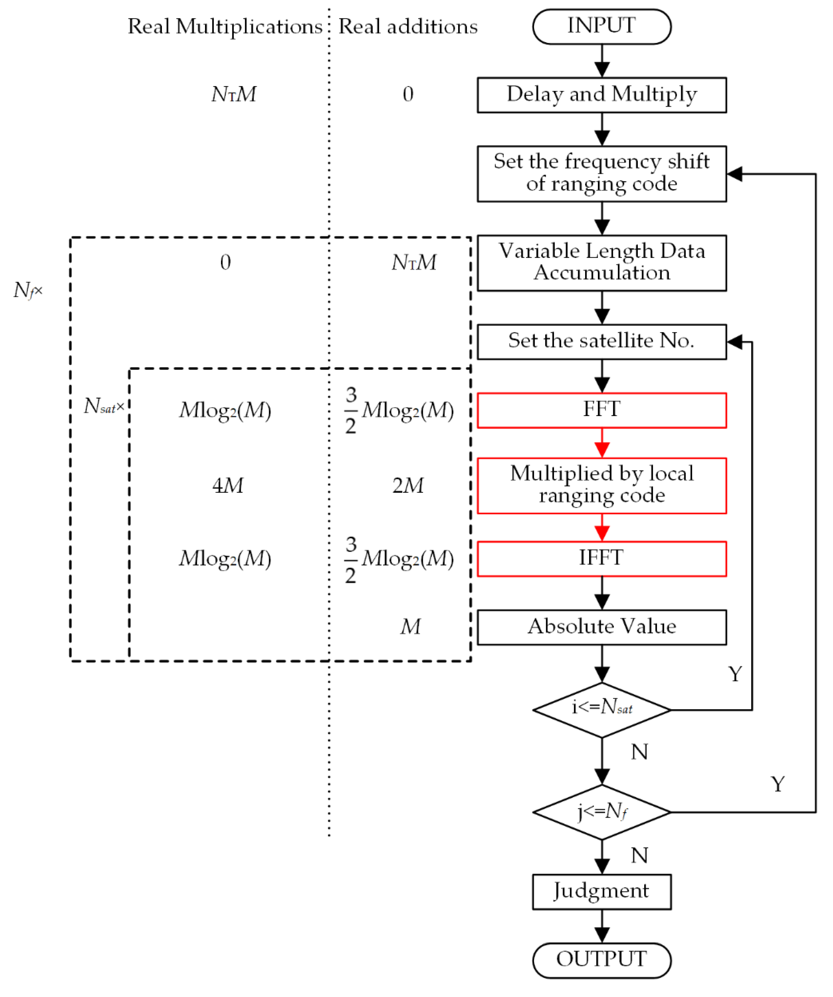
2.2. Acquistion Scheme of VLDA
2.2.1. The Doppler Search Bins
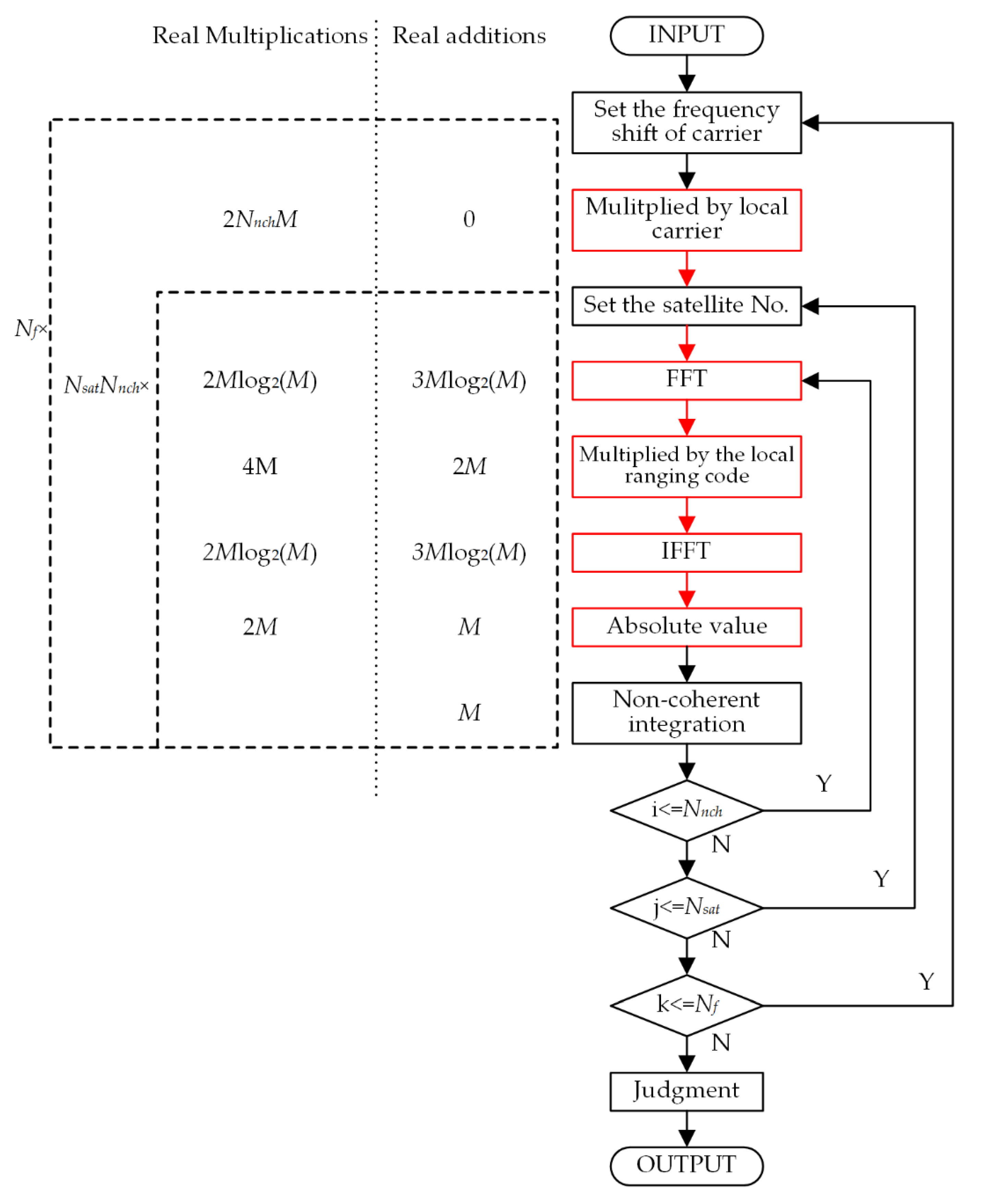
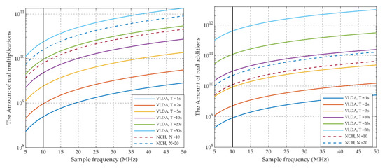
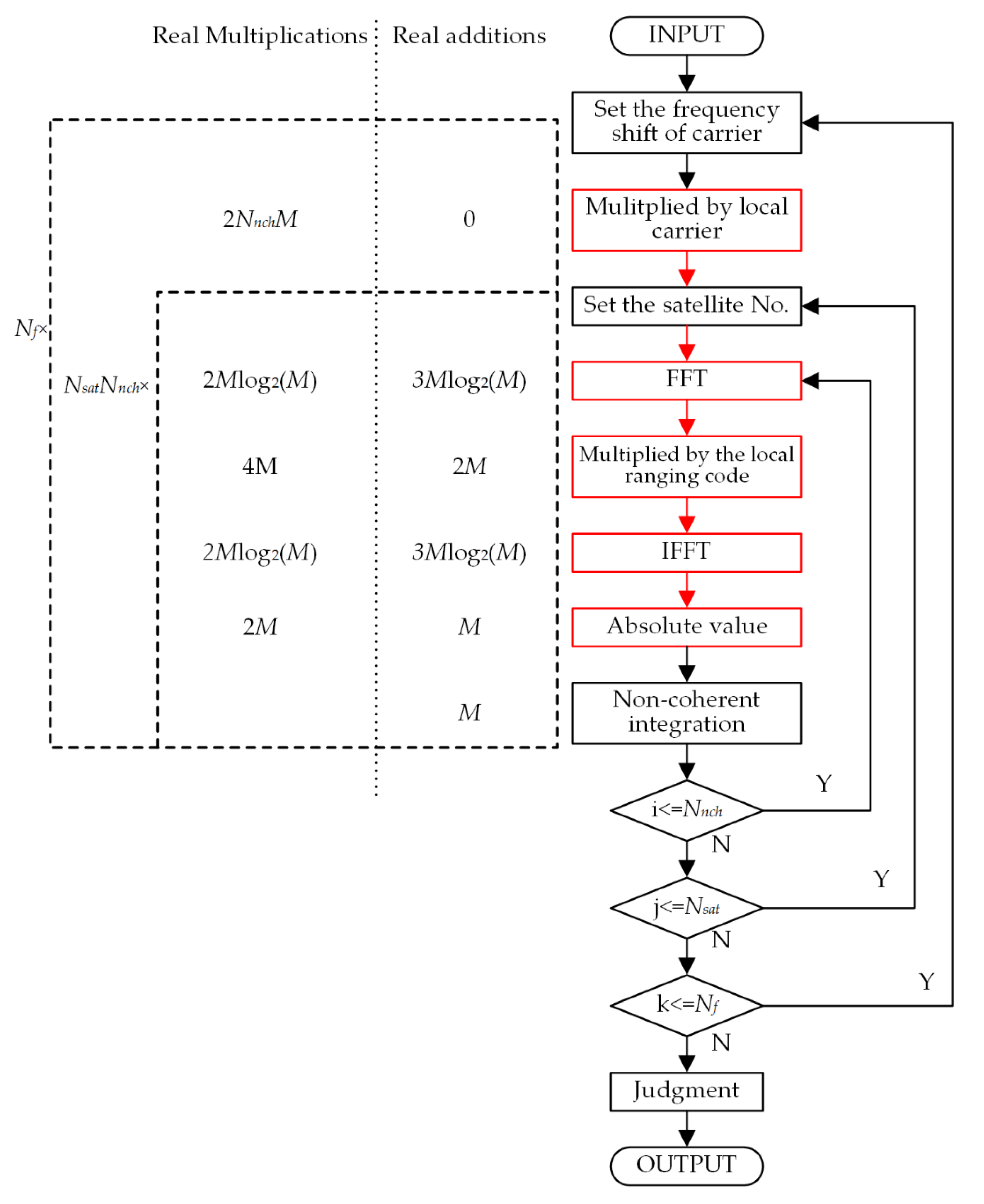
2.2.2. Analysis of the Computational Complexity
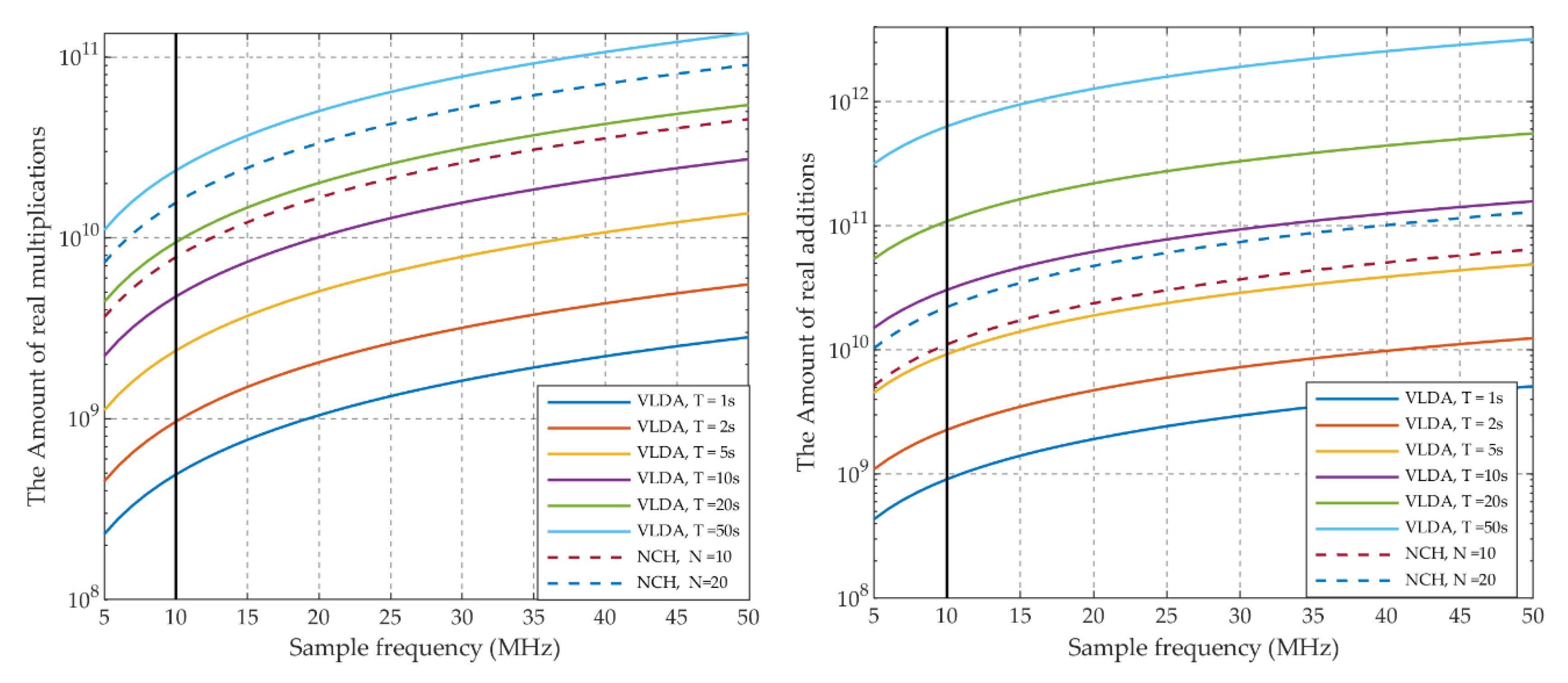
- The calculation amount of two methods increases as the sampling rate increases.
- The calculation amount of VLDA methods (T ≤ 5 s) is definitely less than the NCH method (Nnch = 10)
- It can be approximated that the calculation amount of the VLDA method (T = 10 s) is approximately the same as the NCH method (Nnch = 20). For example, the operations of VLDA method (T = 10 s) are 4.74 × 109 multiplication and 3.04 × 1010 addition if the sampling frequency is 10 MHz (black lines in the figures), while those of the NCH method (Nnch = 20) are 1.57 × 1010 multiplication and 2.21 × 1010 addition. The amount of multiplications is decreased by 1.10 × 1010, while that of additions are increased by 8.3 × 109. The amount of increase and decrease is roughly equal.
- All in all, the descending order of calculation amount is: VLDA (T = 50 s) > VLDA (T = 20 s) > VLDA (T = 10 s) ≈ NCH (N = 20) > NCH (N = 10) > VLDA (T = 5 s) > VLDA (T = 2 s) > VLDA (T = 1 s).
3. Results
3.1. Simulation Results
3.2. Actual Experimental Verification
4. Discussion
- High probability of detection. As long as the C/N0 is greater than a threshold, the VLDA method can successfully acquire signals with 100% probability. As a comparison, the performance of NCH method is related to the initial phase of ranging code and the secondary code, which might lead to acquisition failure, even at high C/N0.
- Low computational complexity. The VLDA method can fulfill the acquisition with a pretty low amount of calculation. This only works for strong signals (C/N0 > 35 dB-Hz).
- Universal applicable to various GNSS signals. The experiment in Section 3.2 validates the effectiveness of the proposed VLDA method for BeiDou GEO/IGSO/MEO satellites. In fact, this method is applicable to various GNSS signals and it can effectively solve the bit sign transition in DSSS systems.
- Long-time signal required. When compared to the NCH method, which requires a few milliseconds of signal, the VLDA method usually requires several seconds of signal.
- Impractical for very weak signal. Theoretically, the VLDA method can detect any faint signal after a long period of signal accumulation. However, the amount of calculation will increase to an intolerable level. In practice, the VLDA method is not recommended if the C/N0 is less than 28 dB-Hz.
5. Conclusions
Author Contributions
Funding
Conflicts of Interest
References
- Yang, Y.; Mao, Y.; Sun, B. Basic performance and future developments of BeiDou global navigation satellite system. Satell. Navig. 2020, 1, 1–8. [Google Scholar] [CrossRef]
- China Satellite Navigation Office. China Successfully Launched the 52nd and 53rd BDS Satellites. Available online: http://en.beidou.gov.cn/WHATSNEWS/201912/t20191216_19691.html (accessed on 19 February 2020).
- Test and Assessment Research Center of China Satellite Navigation Office. Constellation Status. Available online: http://www.csno-tarc.cn/en/system/constellation (accessed on 19 February 2020).
- China Satellite Navigation Office. BeiDou Navigation Satellite System Signal in Space Interface Control Document Open Service Signal B1I (Version 3.0). Available online: http://en.beidou.gov.cn/SYSTEMS/ICD/201902/P020190227702348791891.pdf (accessed on 16 January 2020).
- China Satellite Navigation Office. BeiDou Navigation Satellite System Signal in Space Interface Control Document Open Service Signal B3I (Version 1.0). Available online: http://en.beidou.gov.cn/SYSTEMS/ICD/201806/P020180608516798097666.pdf (accessed on 16 January 2020).
- GPS Directorate Missile Systems Center. NAVSTAR GPS Space Segment/User Segment L5 Interfaces (IS-GPS-705F). Available online: https://www.gps.gov/technical/icwg/IS-GPS-705F.pdf (accessed on 16 January 2020).
- European Union. European GNSS (Galileo) Open Service Signal-in-Space Interface Control Document Issue 1.3. Available online: https://www.gsc-europa.eu/sites/default/files/sites/all/files/Galileo-OS-SIS-ICD.pdf (accessed on 16 January 2020).
- Russian Space Systems, JSC. Code Division Multiple Access Open Service Navigation Signal in L3 frequency band (Edition 1.0). Available online: http://russianspacesystems.ru/wp-content/uploads/2016/08/ICD-GLONASS-CDMA-L3.-Edition-1.0-2016.pdf (accessed on 16 January 2020).
- Bhuiyan, M.Z.H.; Soderholm, S.; Thombre, S.; Ruotsalainen, L.; Kuusniemi, H. Overcoming the Challenges of BeiDou Receiver Implementation. Sensors 2014, 14, 22082–22098. [Google Scholar] [CrossRef] [PubMed]
- Zhu, C.; Fan, X.N. Weak global navigation satellite system signal acquisition with bit transition. IET Radar Sonar Navig. 2015, 9, 38–47. [Google Scholar] [CrossRef]
- Borio, D. M-Sequence and Secondary Code Constraints for GNSS Signal Acquisition. IEEE Trans. Aerosp. Electr. Syst. 2011, 47, 928–945. [Google Scholar] [CrossRef]
- Presti, L.L.; Zhu, X.; Fantino, M.; Mulassano, P. GNSS signal acquisition in the presence of sign transition. IEEE J. Sel. Top. Signal Process. 2009, 3, 557–570. [Google Scholar] [CrossRef]
- Meng, Q.; Liu, J.Y.; Zeng, Q.H.; Feng, S.J.; Chen, R.Z. Neumann-Hoffman Code Evasion and Stripping Method For BeiDou Software-defined Receiver. J. Navig. 2017, 70, 101–119. [Google Scholar] [CrossRef]
- Meng, Q.; Liu, J.Y.; Zeng, Q.H.; Feng, S.J.; Xu, R. Efficient BeiDou DBZP-based weak signal acquisition scheme for software-defined receiver. IET Radar Sonar Navig. 2018, 12, 654–662. [Google Scholar] [CrossRef]
- Smidt, J.; Ozafrain, S.; Roncagliolo, P.; Muravchik, C. New technique for weak GNSS signal acquisition. IEEE Lat. Am. Trans. 2014, 12, 889–894. [Google Scholar] [CrossRef]
- Lin, D.M.; Tsui, J. Comparison of acquisition methods for software GPS receiver. In Proceedings of the ION GPS 2000, Salt lake City, UT, USA, 19–22 September 2000; pp. 2385–2390. [Google Scholar]
- Van Nee, D.J.R.; Coenen, A.J.R.M. New Fast GPS code-acquisition technique using FFT. Electron. Lett. 1991, 27, 158–160. [Google Scholar] [CrossRef]
- Tang, P.; Wang, S.; Li, X.; Jiang, Z. A low-complexity algorithm for fast acquisition of weak DSSS signal in high dynamic environment. GPS Solut. 2017, 21, 1427–1441. [Google Scholar] [CrossRef]
- Qiu, J.; Qian, Y.; Zheng, R. Non-coherent, differentially coherent and quasi-coherent integration on GNSS pilot signal acquisition or assisted acquisition. In Proceedings of the 2012 IEEE/ION Position, Location and Navigation Symposium, Myrtle Beach, SC, USA, 23–26 April 2012. [Google Scholar]
- Jin, T.; Lu, F.; Liu, Y.; Qin, H.; Luo, X. Double differentially coherent pseudorandom noise code acquisition method for code-division multiple access system. IET Signal Process. 2013, 7, 587–597. [Google Scholar] [CrossRef]
- Guo, Y.C.; Huan, H.; Tao, R.; Wang, Y. Long-term integration based on two-stage differential acquisition for weak direct sequence spread spectrum signal. IET Commun. 2017, 11, 878–886. [Google Scholar] [CrossRef]
- Lin, J. Differentially coherent PN code acquisition with full-period correlation in chip-synchronous DS/SS receivers. IEEE Trans. Commun. 2002, 50, 698–702. [Google Scholar]
- Jin, T.; Yang, J.; Huang, Z.; Qin, H.; Xue, R. Multi-correlation strategies fusion acquisition method for high data rate global navigation satellite system signals. IET Signal Process. 2015, 9, 623–630. [Google Scholar] [CrossRef]
- Li, H.; Lu, M.; Feng, Z. Partial-correlation-result reconstruction technique for weak global navigation satellite system long pseudo-noise-code acquisition. IET Radar Sonar Navig. 2011, 5, 731–740. [Google Scholar] [CrossRef]
- Wu, F.; Fu, Y.; Jan, T.; Liang, Y. Weak BeiDou signal acquisition in the presence of sign transition over multiple periods. Int. J. Satell. Commun. Netw. 2018, 36, 542–552. [Google Scholar] [CrossRef]
- Ziedan, N.I.; Garrison, J.L. Unaided acquisition of weak GPS signals using circular correlation or double-block zero padding. In Proceedings of the PLANS 2004. Position Location and Navigation Symposium (IEEE Cat. No.04CH37556), Monterey, CA, USA, 26–29 April 2004. [Google Scholar]
- Zhang, W.; Ghogho, M. Computational Efficiency Improvement for Unaided Weak GPS Signal Acquisition. J. Navig. 2012, 65, 363–375. [Google Scholar] [CrossRef]
- Lin, D.; Tsui, J. September. Acquisition Schemes for Software GPS Receiver. Available online: gps-ttff.tripod.com/Schemes.pdf (accessed on 16 January 2020).
- Tsui, J.B.Y. Fundamentals of Global Positioning System Receivers: A Software Approach, 2nd ed.; Wiley Series in Microwave and Optical Engineering; John Wiley & Sons, Inc.: Hoboken, NJ, USA, 2004. [Google Scholar]
- Sharma, R.K.; Wallace, J.W. Improved Spectrum Sensing by Utilizing Signal Autocorrelation. In Proceedings of the VTC Spring 2009—IEEE 69th Vehicular Technology Conference, Barcelona, Spain, 26–29 April 2009. [Google Scholar]
- Peng, S.; Morton, Y. A USRP2-based reconfigurable multi-constellation multi-frequency GNSS software receiver front end. GPS Solut. 2013, 17, 89–102. [Google Scholar] [CrossRef]
- Peng, S.; Morton, Y. A USRP2-Based multi-constellation and multi-frequency GNSS software receiver for ionosphere scintillation studies. In Proceedings of the 2011 International Technical Meeting of The Institute of Navigation, San Diego, CA, USA, 24–26 January 2011. [Google Scholar]









| GNSS System | BDS * | GPS | GLONASS | Galileo | ||||||
|---|---|---|---|---|---|---|---|---|---|---|
| Service signal | B1I | B2a | B3I | L5C | L3OC | E1 OS | ||||
| Signal component | data | data | pilot | data | data | pilot | data | pilot | data | pilot |
| ranging code length | 2046 | 10,230 | 10,230 | 10,230 | 10,230 | 10,230 | 10,230 | 10,230 | 4092 | 4092 |
| ranging code rate, Mcps | 2.046 | 10.23 | 10.23 | 10.23 | 10.23 | 10.23 | 10.23 | 10.23 | 1.023 | 1.023 |
| Secondary code length | 20 | 5 | 100 | 20 | 10 | 20 | 5 | 10 | ― | 25 |
| Secondary code rate, Kcps | 1 | 1 | 1 | 1 | 1 | 1 | 1 | 1 | ― | 250 |
| Symbol rate, kbps | 1 | 1 | 1 | 1 | 1 | 1 | 1 | 1 | ― | 250 |
| Data rate, bps | 50 | 200 | ― | 50 | 50 | ― | 100 | ― | 250 | ― |
| Satellite Type | GEO | IGSO | MEO |
|---|---|---|---|
| BeiDou B1 signal | 0.09 Hz | 2.89 Hz | 5.89 Hz |
| BeiDou B3 signal | 0.92 Hz | 28.9 Hz | 58.9 Hz |
| Coherent Integration Length | 1 s | 2 s | 5 s | 10 s | 20 s | 50 s |
|---|---|---|---|---|---|---|
| Acquisition sensitivity (Pd = 0.9, Pf = 10−2) | 38.3 dB-Hz | 36.8 dB-Hz | 35 dB-Hz | 33.8 dB-Hz | 31.1 dB-Hz | 28.7 dB-Hz |
| Computation time | 0.13 s | 0.31 s | 1.47 s | 5.51 s | 21.94 s | 136.65 s |
| Non-Coherent Integration Times | 10 | 20 |
|---|---|---|
| Acquisition sensitivity (Pd = 0.9, Pf = 10−2) | 37.8 dB-Hz | 35.5 dB-Hz |
| Computation time | 2.67 s | 5.35 s |
| PRN | Peak | Second Peak | Ratio | Code Phase | Code Frequency (Hz) | Satellite Type |
|---|---|---|---|---|---|---|
| 1 | 256653903 | 27601841 | 9.30 | 3187 | 0.03 | GEO |
| 2 | 76448758 | 32714670 | 2.34 | 2469 | 0.00 | GEO |
| 3 | 177831744 | 32714670 | 5.98 | 2640 | 0.04 | GEO |
| 4 | 105355209 | 32714670 | 3.70 | 6677 | 0.03 | GEO |
| 6 | 55694215 | 32714670 | 3.61 | 2295 | −2.29 | IGSO |
| 7 | 81700227 | 16471847 | 4.96 | 7452 | 0.22 | IGSO |
| 8 | 108572256 | 15557184 | 6.98 | 4391 | 2.40 | IGSO |
| 9 | 50969053 | 13229359 | 3.85 | 7936 | −2.55 | IGSO |
| 10 | 77302355 | 23460561 | 3.29 | 2870 | 0.50 | IGSO |
| 16 | 107220060 | 16684840 | 6.43 | 8341 | −2.42 | IGSO |
| 18 | 107949090 | 27920476 | 3.87 | 8341 | 0.01 | GEO |
| 27 | 623957220 | 44717638 | 13.95 | 4857 | −0.25 | MEO |
| 30 | 623957220 | 28491772 | 14.60 | 6752 | 3.37 | MEO |
| 37 | 682503125 | 44266559 | 15.42 | 7019 | −3.09 | MEO |
| 38 | 682503125 | 23388864 | 10.12 | 2668 | 2.31 | IGSO |
| 39 | 71746708 | 15864686 | 4.52 | 9032 | −2.47 | IGSO |
| 46 | 484922105 | 36872921 | 13.15 | 3657 | 0.47 | MEO |
| 56 | 113757292 | 23939812 | 4.75 | 2667 | 0.54 | IGSO |
| 59 | 288631377 | 28870015 | 10.00 | 4766 | −0.09 | GEO |
© 2020 by the authors. Licensee MDPI, Basel, Switzerland. This article is an open access article distributed under the terms and conditions of the Creative Commons Attribution (CC BY) license (http://creativecommons.org/licenses/by/4.0/).
Share and Cite
Yang, M.; Wu, H.; Wang, Q.; Zhao, Y.; Liu, Z. A BeiDou Signal Acquisition Approach Using Variable Length Data Accumulation Based on Signal Delay and Multiplication. Sensors 2020, 20, 1309. https://doi.org/10.3390/s20051309
Yang M, Wu H, Wang Q, Zhao Y, Liu Z. A BeiDou Signal Acquisition Approach Using Variable Length Data Accumulation Based on Signal Delay and Multiplication. Sensors. 2020; 20(5):1309. https://doi.org/10.3390/s20051309
Chicago/Turabian StyleYang, Menghuan, Hong Wu, Qiqi Wang, Yingxin Zhao, and Zhiyang Liu. 2020. "A BeiDou Signal Acquisition Approach Using Variable Length Data Accumulation Based on Signal Delay and Multiplication" Sensors 20, no. 5: 1309. https://doi.org/10.3390/s20051309
APA StyleYang, M., Wu, H., Wang, Q., Zhao, Y., & Liu, Z. (2020). A BeiDou Signal Acquisition Approach Using Variable Length Data Accumulation Based on Signal Delay and Multiplication. Sensors, 20(5), 1309. https://doi.org/10.3390/s20051309

